Migration and Transformation of Ofloxacin by Free Chlorine in Water Distribution System
Abstract
:1. Introduction
2. Materials and Methods
2.1. Test Materials and Instruments
2.2. Experimental Methods
2.2.1. Decomposition of OFL in the Pipe Network
2.2.2. Degradation of OFL in Beaker Deionized Water
2.3. Analytical Methods
2.3.1. The Analysis Method of Chlorine and OFL
2.3.2. LC-MS Analysis Method of OFL Chlorination Products
2.3.3. The Analytical Method for THMs and HAAs
3. Results and Analysis
3.1. Kinetics of the Degradation of OFL by Free Chlorine
3.1.1. Degradation of OFL at Different Free Chlorine Concentrations
3.1.2. Degradation of OFL at Different pH Conditions
3.1.3. Degradation of OFL under Different Pipe Conditions
3.1.4. Degradation of OFL at Different Flow Rates
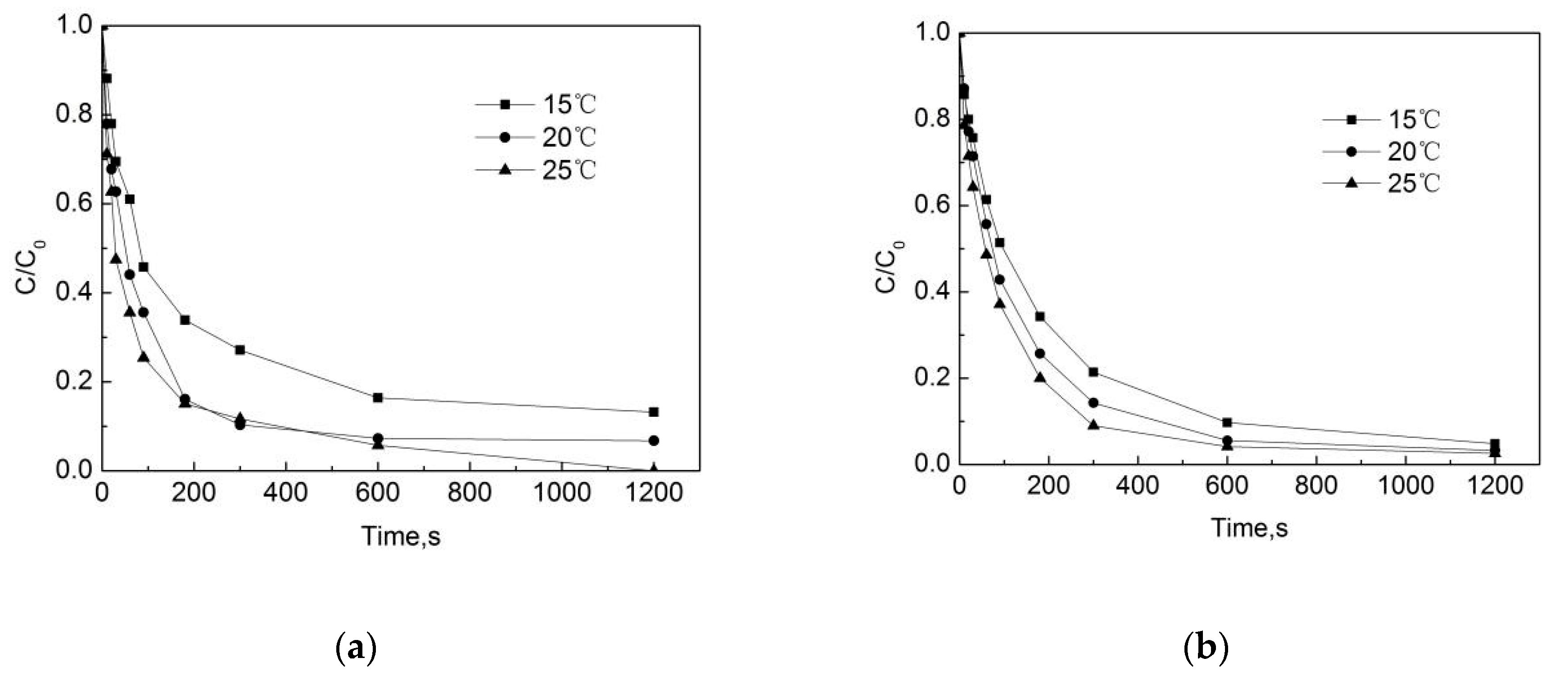
3.1.5. Degradation of OFL at Different Temperatures
3.2. Analysis of the Production Law of Intermediary Products.
3.3. Analysis of the Formation Law of THMs and HAAs
4. Conclusion
- The reaction rate of OFL in the pipe networks and deionized water increases with the increase of the free chlorine concentration and temperature. The degradation rate of OFL under the neutral conditions is the fastest. The removal efficiency is lower under acidic conditions, and the removal efficiency is the lowest under alkaline conditions.
- The degradation of OFL in the pipe network does not change significantly with the different flow rates, while it is affected by different pipe materials. Under the combined effect of the iron ions and pipe scale, the degradation rate of OFL in the stainless-steel pipe is similar to that in the PE pipe, but both are greater than the ductile cast iron pipe.
- As the reaction time increases, the concentrations of THMs and HAAs will gradually increase. THMs mainly exist in the form of TCM, and HAAs mainly exist in the form of MCAA.
- Further analysis of the intermediate chlorination product shows that the piperazine ring is one of the main groups involved in the reaction, and that the main point involved in the chlorination reaction is the N4 atom on the piperazine ring, which is mainly responsible for dealkylation and hydroxylation, and which produces intermediate chlorination products.
Author Contributions
Funding
Conflicts of Interest
References
- Janecko, N.; Pokludova, L.; Blahova, J.; Svobodova, Z.; Literak, I. Implications of fluoroquinolone contamination for the aquqtic environment—A review. Environ. Toxicol. Chem. 2016, 35, 2647–2656. [Google Scholar] [CrossRef] [PubMed]
- Snowberger, S.; Adejumo, H.; He, K.; Mangalgiri, K.P.; Hopanna, M.; Soares, A.D.; Blaney, L. Direct photolysis of fluoroquinolone antibiotics at 253.7 nm: Specific reaction kinetics and formation of equally potent fluoroquinolone antibiotics. Environ. Sci. Technol. 2016, 50, 9533–9542. [Google Scholar] [CrossRef] [PubMed]
- Serna-Galvis, E.A.; Berrio-Perlaza, K.E.; Torres-Palma, R.A. Electrochemical treatment of penicillin, cephalosporin, and fluoroquinolone antibiotics via active chlorine: Evaluation of antimicrobial activity, toxicity, matrix, and their correlation with the degradation pathways. Environ. Sci. Pollut. Res. 2017, 24, 23771–23782. [Google Scholar] [CrossRef] [PubMed]
- El Najjar, N.H.; Deborde, M.; Journel, R.; Leitner, N.K. Aqueous chlorination of levofloxacin: Kinetic and mechanistic study, transformation product identification and toxicity. Water Res. 2013, 47, 121–129. [Google Scholar] [CrossRef] [PubMed]
- Liu, X.; Wang, Z.; Wang, X.L.; Li, Z.; Yang, C.; Li, E.H.; Wei, M.H. Status of antibiotic contamination and ecological risks assessment in Chinese Several typical surface-water environment. Environ. Sci. 2019, 5, 1–13. (In Chinese) [Google Scholar]
- Wang, X.; Li, Y.; Li, R.; Yang, H.; Zhou, B.; Wang, X.; Xie, Y. Comparison of chlorination behaviors between norfloxacin and ofloxacin: Reaction kinetics, oxidation products and reaction pathways. Chemosphere 2019, 215, 124–132. [Google Scholar] [CrossRef] [PubMed]
- Yassine, M.H.; Rifai, A.; Hoteit, M.; Mazellier, P. Study of the degradation process of ofloxacin with free chlorine by using ESI-LCMSMS: Kinetic study, by-products formation pathways and fragmentation mechanisms. Chemosphere 2017, 189, 46–54. [Google Scholar] [CrossRef] [PubMed]
- Zhu, L.; Santiago-Schübel, B.; Xiao, H.; Hollert, H.; Kueppers, S. Electrochemical oxidation of fluoroquinolone antibiotics: Mechanism, residual antibacterial activity and toxicity change. Water Res. 2016, 102, 52–62. [Google Scholar] [CrossRef] [PubMed]
- Ding, C.S.; Zou, B.W.; Miao, J.; Fu, Y.P.; Shen, J.C. Formation process of nitrogenous disinfection byproduct trichloronitromethane in drinking water and its influencing factors. Environ. Sci. 2013, 34, 3113–3118. (In Chinese) [Google Scholar]
- Tay, K.S.; Madehi, N. Ozonation of ofloxacin in water: By-products, degradation pathway and ecotoxicity assessment. Sci. Total Environ. 2015, 520, 23–31. [Google Scholar] [CrossRef] [PubMed]
- Lin, Y.Z.; Liu, X.Y. Research progress of chlorination and disinfection by-products in drinking water. China Resour. Compr. Util. 2017, 35, 128–130. (In Chinese) [Google Scholar]
- Frade, V.M.; Dias, M.; Teixeira, A.C.; Palma, M.S. Environmental contamination by fluoroquinolones. Braz. Pharm. Sci. 2014, 50, 41–54. [Google Scholar] [CrossRef]
- Zhang, Q.; Zheng, F.; Duan, H.-F.; Jia, Y.; Zhang, T.; Guo, X. Efficient numerical approach for simultaneous calibration of pipe roughness coefficients and nodal demands for water distribution systems. J. Water Resour. Plan. Manag. 2018, 144, 04018063. [Google Scholar] [CrossRef]
- Qi, Z.; Zheng, F.; Guo, D.; Maier, H.R.; Zhang, T.; Yu, T.; Shao, Y. Better understanding of the capacity of pressure sensor systems to detect pipe burst within water distribution networks. J. Water Resour. Plan. Manag. 2018, 144, 04018035. [Google Scholar] [CrossRef]
- Qi, Z.; Zheng, F.; Guo, D.; Zhang, T.; Shao, Y.; Yu, T.; Zhang, K.; Maier, H.R. A Comprehensive framework to evaluate hydraulic and water quality impacts of pipe breaks on water distribution systems. Water Resour. Res. 2018, 54, 8174–8195. [Google Scholar] [CrossRef]
- Zheng, F.; Zecchin, A.C.; Newman, J.P.; Maier, H.R.; Dandy, G.C. An adaptive convergence-trajectory controlled ant colony optimization algorithm with application to water distribution system design problems. IEEE Trans. Evol. Comput. 2017, 21, 773–791. [Google Scholar] [CrossRef]
- Zhang, S.; Wang, X.; Yang, H.; Xie, Y.F. Chlorination of oxybenzone: Kinetics, transformation, disinfection byproducts formation, and genotoxicity changes. Chemosphere 2016, 154, 521–527. [Google Scholar] [CrossRef] [PubMed]
- Pérez-Moya, M.; Graells, M.; Castells, G.; Amigó, J.; Ortega, E.; Buhigas, G.; Pérez, L.M.; Mansilla, H.D. Characterization of the degradation performance of the sulfamethazine antibiotic by photo-Fenton process. Water Res. 2010, 44, 2533–2540. [Google Scholar] [CrossRef] [PubMed]
- Li, C.; Wang, Z.; Yang, Y.J.; Liu, J.; Mao, X.; Zhang, Y. Transformation of bisphenol in water distribution systems: A pilot-scale study. Chemosphere 2015, 125, 86–93. [Google Scholar] [CrossRef] [PubMed]

















| Name Abbreviations | Mass–Charge Ratio | Molecular Weight | Production Structure |
|---|---|---|---|
| 1. M-139 | 223.1 | 223.1 | ![]() |
| 2. M-108 | 254.1 | 254.1 | ![]() |
| 3. M-101 | 261.1 | 261.1 | ![]() |
| 4. M-61 | 301.1 | 301.1 | ![]() |
| 5. M-17 | 345.2 | 345.2 | ![]() |
| 6. M-12 | 348.1 | 348.1 | ![]() |
| 7. M+14 | 386.1 | 386.1 | ![]() |
© 2019 by the authors. Licensee MDPI, Basel, Switzerland. This article is an open access article distributed under the terms and conditions of the Creative Commons Attribution (CC BY) license (http://creativecommons.org/licenses/by/4.0/).
Share and Cite
Bi, W.; Jin, Y.; Wang, H. Migration and Transformation of Ofloxacin by Free Chlorine in Water Distribution System. Water 2019, 11, 817. https://doi.org/10.3390/w11040817
Bi W, Jin Y, Wang H. Migration and Transformation of Ofloxacin by Free Chlorine in Water Distribution System. Water. 2019; 11(4):817. https://doi.org/10.3390/w11040817
Chicago/Turabian StyleBi, Weiwei, Yi Jin, and Hongyu Wang. 2019. "Migration and Transformation of Ofloxacin by Free Chlorine in Water Distribution System" Water 11, no. 4: 817. https://doi.org/10.3390/w11040817
APA StyleBi, W., Jin, Y., & Wang, H. (2019). Migration and Transformation of Ofloxacin by Free Chlorine in Water Distribution System. Water, 11(4), 817. https://doi.org/10.3390/w11040817







