Application of WOA–SVR in Seed Vigor of High-Voltage Electric Field Treatment on Aged Cotton (Gossypium spp.) Seeds
Abstract
:1. Introduction
2. Materials and Methods
2.1. Raw Material
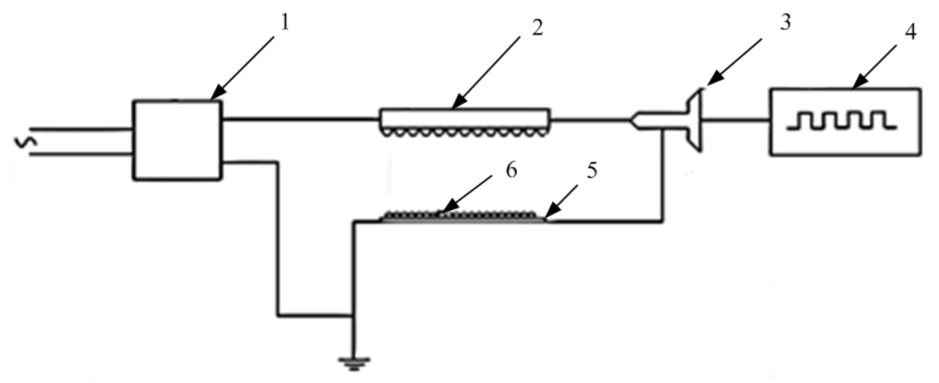
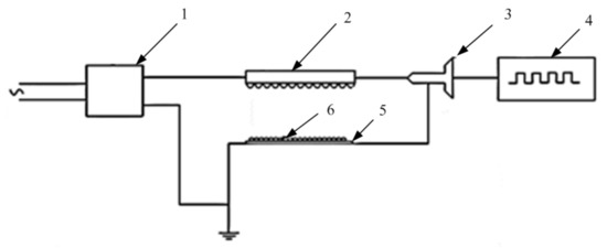
2.2. Experiment Instruments
2.3. Experiment Methods
2.3.1. Pulsed Electric Field Treatment Experiment
2.3.2. Seed Germination Experiment
2.4. Creating Cotton Seeds Germination Data Set
2.4.1. Method of Establishing Seed Vigor Model
2.4.2. Kernel Function of SVR
2.4.3. Parameter Optimization of SVR Regression Model
3. Results
3.1. Orthogonal Test on the Effect of HVEF on the Aged Cotton Seed Vigor
3.2. Kernel Function Selection of SVR
3.3. Predictive Analysis of Hybrid WOA–SVR
3.4. Seed Germination Experimental Verification of WOA–SVR Prediction Parameters
4. Discussion
5. Conclusions
Author Contributions
Funding
Institutional Review Board Statement
Informed Consent Statement
Data Availability Statement
Conflicts of Interest
References
- Mei, H.X.; Liu, Y.Y.; Wu, K.; Du, Z.W.; Zheng, Y.Z. Changes of physiological characteristics and appropriate detection method of seed vigor in aging treatment of sesame seeds. North China J. Agric. 2013, 28, 169–174. [Google Scholar]
- Yu, B.; Du, S.G.; Luo, L.P. Determination method of seed vigor. Sci. Sin. Life Sci. 2015, 45, 709–713. [Google Scholar]
- Tan, M.; Xu, J.; Li, F.D.; Zhang, C.Q. Physiological mechanisms of improving rice (Oryza sativa L.) seed vigor through arc-tooth-shaped corona discharge field treatment. Aust. J. Crop Sci. 2014, 8, 1495–1502. [Google Scholar]
- Tan, M. Research of Effects and Physiology Mechanisms on Rice Seed Vigor with Corona Discharge Field Treatment. Master’s Dissertation, Shandong Agricultural University, Taian, China, 2014; pp. 1–48. [Google Scholar]
- Cai, X.W.; Wang, B. Study on the Biological Domino Effect on Eggplant Seeds in High Voltage Static Electricity Field. Seed 2003, 1, 19–20. [Google Scholar]
- Cakmak, T.; Cakmak, Z.E.; Dumlupinar, R.; Tekinay, T. Analysis of apoplastic and symplastic antioxidant system in shallot leaves: Impacts of weak static electric and magnetic field. J. Plant Physiol. 2012, 169, 1066–1073. [Google Scholar] [CrossRef] [PubMed] [Green Version]
- Liao, D.Q.; Zhang, H.L.; Li, Z.C.; John, B. Characterization of Evolution and Tissue-Expression of Rice (Oryza sativa L.) Amylase Genes. Acta Agron. Sin. 2010, 1, 17–27. [Google Scholar] [CrossRef]
- Stanley, D.; Famden, K.J.F.; Macrae, E.A. Plant α-amylases: Functions and roles in carbohydrate metabolism. Biol.-Sect. Cell. Mol. Biol. 2005, 16, 65–71. [Google Scholar]
- Katarzyna, D.; Petr, D.; Valentina, P.; Antonio, A.V.; Lars, W.; Christine, F.; Federico, G.G. Effect of pulsed electric field on the germination of barley seeds. LWT-Food Sci. Technol. 2012, 47, 161–166. [Google Scholar]
- Yan, Y.F.; Zhou, S.X.; Song, Z.H.; Li, F.D.; Zhang, C.Q.; Zhang, X.H.; Song, H.L. Effects of frequency and voltage of high voltage pulsed electric field on improving vigor of aged cotton seed. Trans. Chin. Soc. Agric. Eng. 2017, 33, 310–314. [Google Scholar]
- Xu, J.; Tan, M.; Guo, S.Z.; Yan, Y.F.; Song, H.L.; Zhang, C.Q.; Li, F.D. Difference of three kinds of corona discharge fields in processing paddy seeds. Trans. ASABE 2014, 57, 1729–1739. [Google Scholar]
- Xu, J.; Guo, S.Z.; Jia, G.L.; Zhang, N.; Song, Z.H.; Xu, G.H.; Zhang, C.Q.; Li, F.D. Effect of corona discharge field processing on vigor of three layers of paddy seeds. Trans. Chin. Soc. Agric. Eng. (Trans. CSAE) 2015, 31 (Suppl. 1), 307–314. [Google Scholar]
- Lynikiene, S.; Pozeliene, A.; Rutkauskas, G. Influence of corona discharge field on seed viability and dynamics of germination. Int. Agrophysics 2006, 20, 195–200. [Google Scholar]
- Marček, T.; Kovač, T.; Jukić, K.; Lončarić, A.; Ižaković, M. Application of high voltage electrical discharge treatment to improve wheat germination and early growth under drought and salinity conditions. Plants 2021, 10, 2137. [Google Scholar] [CrossRef] [PubMed]
- Huang, H.Y.; Du, N.; Han, Z. Effects of wheat seedling cold resistance through pretreatments of seeds with high voltage electrostatic field. Seed 2016, 8, 24–26. [Google Scholar]
- Yang, T.Q.; Zhu, H.Y.; Hua, H.G.; Liu, Y.; Hu, Y.F.; Wang, Z. Sensitivity to drought stress of the germination and seeding growth of caragana korshinskii from seeds treated with electric field. J. Desert Res. 2013, 33, 1717–1722. [Google Scholar]
- Zhong, J.N. The Effect of High-Voltage Prick Electrostatic Field on Saline-Alkali Stress Resistance of Leymus Chinensis Seedling. Master’s Dissertation, Northeast Normal University, Changchun, China, 2007; pp. 1–44. [Google Scholar]
- Lv, J.G.; Yang, T.Q.; Su, E.G.; Deng, Y.B.; Na, R. Effect of electric field treatment of wheat seeds on the salt resistance of growth in seedling stage. Acta Sci. Nat. Univ. NeiMongol 2001, 32, 707–710. [Google Scholar]
- Bormashenko, E.; Shapira, Y.; Grynyov, R.; Whyman, G.; Bormashenko, Y.; Drori, E. Interaction of cold radiofrequency plasma with seeds of beans (Phaseolus vulgaris). J. Exp. Bot. 2015, 66, 4013–4021. [Google Scholar] [CrossRef] [PubMed] [Green Version]
- Wang, J.; Song, H.; Song, Z.; Lu, Y.; Yan, Y.; Li, F. Effect of Positive and Negative Corona Discharge Field on Vigor of Millet Seeds. IEEE Access 2020, 8, 50268–50275. [Google Scholar] [CrossRef]
- Patwardhan, M.S.; Gandhare, W.Z. High voltage electric field effects on the germination rate of tomato seeds. Acta Agrophys. 2013, 20, 403–413. [Google Scholar]
- Bao, S.S.G.W.; Ma, Z.X. Correlation Between Crop Seed Growth and Electric Field Condition. Chin. Bull. Bot. 2010, 45, 384–391. [Google Scholar]
- Yan, Y.F.; Han, S.Q.; Zhou, S.X.; Song, Z.H.; Li, F.D.; Zhang, C.Q.; Zhang, X.H.; Wang, J. Parameter optimization of extremely low frequency and high voltage pulsed electric field to improve aged cotton seed vigor. Trans. Chin. Soc. Agric. Eng. 2017, 33, 301–307. [Google Scholar]
- Chen, J.Z.; Hu, J.F.; Du, H.L.; Wang, H.J.; Wang, Y.S. Response of endogenous hormone in germination of millet seeds to optimal high voltage electrostatic field. Trans. Chin. Soc. Agric. Eng. 2016, 32, 286–292. [Google Scholar]
- Xiao, Z.T. Development of Grain Moisture Detection Instrument Based on Near Infrared Spectroscopy. Master’s Dissertation, Nanchang Hangkong University, Nanchang, China, 2018; pp. 1–79. [Google Scholar]
- Lin, B.Y. Study on Prediction of Somatic Cell Count in Raw Milk and Inflammation Grade of Dairy Cattle Based on Dielectric Spectrum. Master’s Dissertation, Northwest A&F University, Yangling, China, 2017; pp. 1–65. [Google Scholar]
- Chapelle, O.; Vapnik, V.; Bousquet, O.; Mukherjee, S. Choosing multiple parameters for support vector machines. Mach. Learn. 2002, 46, 131–159. [Google Scholar] [CrossRef]
- Sun, J.; Mo, Y.N.; Dai, C.X.; Chen, Y.; Yang, N.; Tang, Y. Detection of moisture content of tomato leaves based on dielectric properties and IRIV-GWO-SVR algorithm. Trans. Chin. Soc. Agric. Eng. 2018, 34, 188–195. [Google Scholar]
- Mirjalili, S.; Lewis, A. The whale optimization algorithm. Adv. Eng. Softw. 2016, 95, 51–67. [Google Scholar] [CrossRef]
- Na, R.; Yang, S.; Xing, W.J.; Yang, T.Q. Effect of fields radiation on callus inductivity and differentiation of Hedysarum scoparium Fisch seed. J. Nucl. Agric. Sci. 2010, 24, 748–751. [Google Scholar]
- Zhou, S.X. Effects of High-Pressure Uniform Electric Field and Pulsed Electric Field on Cotton Seed Vigor. Master’s Dissertation, Shandong Agricultural University, Taian, China, 2017; pp. 1–51. [Google Scholar]
- Zhou, Y.R.; Cui, D.W. Prediction of annual runoff based on hybrid nuclear shts-svm. J. Water Resour. Water Eng. 2019, 30, 66–72. [Google Scholar]
- Zheng, M.M. Research on Hybrid Kernel Function Based on Support Vector Machine. Master’s Dissertation, East China Normal University, Wuhan, China, 2019; pp. 1–70. [Google Scholar]
- Liu, H.Y.; Zhen, C.G. WOA-LSSVM basedboiler NOx emission prediction model. J. North China Electr. Power Univ. (Nat. Sci.) 2019, 46, 84–91. [Google Scholar]
- Zhang, H.L.; Lv, J.G.; Cheng, L. Parameter Adjustment for Induction Drive System Controller of an Electric Vehicle on WOA. J. Shandong Agric. Univ. 2019, 50, 163–166. [Google Scholar]
- Diop, L.; Samadianfard, S.; Bodian, A.; Yaseen, Z.A.; Ghorbani, M.A.; Salimi, H. Annual rainfall forecasting using hybrid artificial intelligence model: Integration of multilayer perceptron with whale optimization algorithm. Water Resour. Manag. 2020, 34, 733–746. [Google Scholar] [CrossRef]
- Babak, M.; Saeid, M. Modeling daily reference evapotranspiration via a novel approach based on support vector regression coupled with whale optimization algorithm. Agric. Water Manag. 2020, 237, 106145–106157. [Google Scholar]
- Song, H.l.; Yan, Y.F.; Song, Z.H.; Sun, J.X.; Li, Y.D.; Li, F.D. Nondestructive testing model for maize grain moisture content established by screening dielectric parameters and variables. Trans. Chin. Soc. Agric. Eng. 2019, 35, 262–272. [Google Scholar]
- Xie, J.F.; Yi, W.S.; Xiong, G.; Zhang, B.S.; Chen, Z.Y. The effect of high electrostatic field on plant cellular transmembrane voltage and micro principles. J. Hubei Univ. (Nat. Sci. Ed.) 2002, 24, 235–237. [Google Scholar]
- Harrison, S.L.; Barbosacanovas, G.V.; Swanson, B.G. Saccharomyces cerevisiae structural changes induced by pulsed electric field treatment. LWT-Food Sci. Technol. 1997, 30, 236–240. [Google Scholar] [CrossRef]
- Bai, Y.X.; Hu, Y.C. Original mechanism of biological effects of electrostatic field on crop seeds. Trans. Chin. Soc. Agric. Eng. 2003, 19, 49–51. [Google Scholar]
- Zhang, B.H.; Li, C.H.; Wang, D.Y. Calculation and test of electric polarization force for rice seed dielectric separation. Trans. Chin. Soc. Agric. Eng. 2012, 28, 96–100. [Google Scholar]
- Zhang, L.; Shen, X.Y.; Yang, F. Influence of high voltage electrostatic field to the biological effect. J. Northeast Agric. Univ. 2000, 31, 307–312. [Google Scholar]
- Chen, B.; Zheng, K.L.; Wang, J.H. Research on multiple-kernel support vector regression method. Intell. Comput. Appl. 2019, 9, 188–191. [Google Scholar]
- Liu, Y.Z.; Lai, H.R.; Zhang, D.W.; Liu, F.P.; Jiang, X.L.; Cao, Q.A. Change detection of high resolution remote sensing image alteration based on multi-feature mixed kernel SVM model. Remote Sens. Land Resour. 2019, 31, 16–21. [Google Scholar]
- Liang, Y.D.; Luan, Y.C.; Liu, F.Y.; Ji, Z.L.; Zhuang, Y. Forecast of dam deformation by hybrid kernel function least squares support vector machine with improved adaptive particle swarm optimization. Sci. Technol. Eng. 2021, 21, 47–52. [Google Scholar]





| Level | Factor | ||
|---|---|---|---|
| HVEF Intensity (kV/cm) | Frequency (Hz) | Treatment Time (s) | |
| 1 | 2.4 | 1 | 20 |
| 2 | 2.6 | 5 | 40 |
| 3 | 3 | 10 | 60 |
| 4 | 3.4 | 20 | 80 |
| 5 | 3.6 | 50 | 100 |
| NO. | HVEF Intensity (kV/cm) | Frequency (Hz) | Treatment Time (s) | Germination Rate (%) | Germination Potential (%) | Germination Index | Vigor Index | Comprehensive Germination Index |
|---|---|---|---|---|---|---|---|---|
| CK | 0 | 0 | 0 | 63 ± 5 | 57 ± 2 | 46 ± 3 | 695 ± 39 | 232 |
| 1 | 2.4 | 1 | 20 | 74 ± 5 | 64 ± 5 | 53 ± 4 | 805 ± 56 | 294 |
| 2 | 2.4 | 5 | 40 | 75 ± 4 | 69 ± 5 | 55 ± 3 | 757 ± 45 | 253 |
| 3 | 2.4 | 10 | 60 | 69 ± 4 | 63 ± 2 | 51 ± 3 | 721 ± 38 | 241 |
| 4 | 2.4 | 20 | 80 | 84 ± 5 | 69 ± 1 | 57 ± 1 | 862 ± 21 | 288 |
| 5 | 2.4 | 50 | 100 | 69 ± 1 | 63 ± 2 | 50 ± 1 | 765 ± 16 | 255 |
| 6 | 2.6 | 1 | 40 | 75 ± 3 | 71 ± 2 | 55 ± 2 | 815 ± 36 | 272 |
| 7 | 2.6 | 5 | 60 | 71 ± 2 | 68 ± 0 | 53 ± 1 | 711 ± 15 | 237 |
| 8 | 2.6 | 10 | 80 | 69 ± 5 | 67 ± 5 | 57 ± 4 | 878 ± 57 | 293 |
| 9 | 2.6 | 20 | 100 | 75 ± 4 | 63 ± 4 | 53 ± 3 | 763 ± 47 | 255 |
| 10 | 2.6 | 50 | 20 | 75 ± 2 | 67 ± 2 | 54 ± 1 | 883 ± 11 | 295 |
| 11 | 3.0 | 1 | 60 | 78 ± 4 | 73 ± 2 | 58 ± 3 | 935 ± 44 | 312 |
| 12 | 3.0 | 5 | 80 | 73 ± 2 | 69 ± 2 | 54 ± 2 | 779 ± 25 | 260 |
| 13 | 3.0 | 10 | 100 | 75 ± 2 | 69 ± 2 | 55 ± 2 | 830 ± 29 | 277 |
| 14 | 3.0 | 20 | 20 | 71 ± 2 | 61 ± 5 | 51 ± 3 | 879 ± 47 | 293 |
| 15 | 3.0 | 50 | 40 | 65 ± 3 | 58 ± 7 | 47 ± 2 | 880 ± 38 | 294 |
| 16 | 3.4 | 1 | 80 | 72 ± 8 | 64 ± 6 | 49 ± 5 | 774 ± 66 | 258 |
| 17 | 3.4 | 5 | 100 | 77 ± 1 | 71 ± 1 | 56 ± 1 | 981 ± 10 | 328 |
| 18 | 3.4 | 10 | 20 | 67 ± 2 | 60 ± 2 | 48 ± 1 | 742 ± 19 | 248 |
| 19 | 3.4 | 20 | 40 | 65 ± 2 | 61 ± 3 | 48 ± 2 | 817 ± 28 | 273 |
| 20 | 3.4 | 50 | 60 | 78 ± 3 | 69 ± 4 | 56 ± 3 | 944 ± 46 | 315 |
| 21 | 3.6 | 1 | 100 | 69 ± 4 | 63 ± 3 | 51 ± 2 | 942 ± 43 | 314 |
| 22 | 3.6 | 5 | 20 | 73 ± 2 | 66 ± 2 | 53 ± 2 | 939 ± 29 | 314 |
| 23 | 3.6 | 10 | 40 | 69 ± 1 | 65 ± 9 | 52 ± 1 | 934 ± 26 | 312 |
| 24 | 3.6 | 20 | 60 | 74 ± 2 | 67 ± 6 | 54 ± 1 | 945 ± 21 | 316 |
| 25 | 3.6 | 50 | 80 | 66 ± 2 | 62 ± 3 | 49 ± 2 | 765 ± 34 | 255 |
| NO. | HVEF Intensity (kV/cm) | Frequency (Hz) | Treatment Time (s) | Comprehensive Germination Index |
|---|---|---|---|---|
| CK | 0 | 0 | 0 | 0.69 |
| 1 | 0.60 | 0.02 | 0.20 | 0.77 |
| 2 | 0.60 | 0.10 | 0.40 | 0.77 |
| 3 | 0.60 | 0.20 | 0.60 | 0.77 |
| 4 | 0.60 | 0.40 | 0.80 | 0.79 |
| 5 | 0.60 | 1.00 | 1.00 | 0.81 |
| 6 | 0.65 | 0.02 | 0.40 | 0.78 |
| 7 | 0.65 | 0.10 | 0.60 | 0.78 |
| 8 | 0.65 | 0.20 | 0.80 | 0.78 |
| 9 | 0.65 | 0.40 | 1.00 | 0.79 |
| 10 | 0.65 | 1.00 | 0.20 | 0.87 |
| 11 | 0.75 | 0.02 | 0.60 | 0.86 |
| 12 | 0.75 | 0.10 | 0.80 | 0.83 |
| 13 | 0.75 | 0.20 | 1.00 | 0.83 |
| 14 | 0.75 | 0.40 | 0.20 | 0.84 |
| 15 | 0.75 | 1.00 | 0.40 | 0.81 |
| 16 | 0.85 | 0.02 | 0.80 | 0.89 |
| 17 | 0.85 | 0.10 | 1.00 | 0.90 |
| 18 | 0.85 | 0.20 | 0.20 | 0.84 |
| 19 | 0.85 | 0.40 | 0.40 | 0.83 |
| 20 | 0.85 | 1.00 | 0.60 | 0.80 |
| 21 | 0.90 | 0.02 | 1.00 | 0.94 |
| 22 | 0.90 | 0.10 | 0.20 | 0.88 |
| 23 | 0.90 | 0.20 | 0.40 | 0.85 |
| 24 | 0.90 | 0.40 | 0.60 | 0.85 |
| 25 | 0.90 | 1.00 | 0.80 | 0.80 |
| Test Group | Germination Rate (%) | Germination Potential (%) | Germination Index | Vigor Index | Comprehensive Germination Index |
|---|---|---|---|---|---|
| Optimal HVEF Treatment | 90 | 67 | 58 | 1029 | 343 |
| CK | 63 | 56 | 45 | 695 | 232 |
Publisher’s Note: MDPI stays neutral with regard to jurisdictional claims in published maps and institutional affiliations. |
© 2021 by the authors. Licensee MDPI, Basel, Switzerland. This article is an open access article distributed under the terms and conditions of the Creative Commons Attribution (CC BY) license (https://creativecommons.org/licenses/by/4.0/).
Share and Cite
Song, Z.; Ma, J.; Peng, Q.; Liu, B.; Li, F.; Sun, X.; Liu, M.; Yan, Y. Application of WOA–SVR in Seed Vigor of High-Voltage Electric Field Treatment on Aged Cotton (Gossypium spp.) Seeds. Agronomy 2022, 12, 88. https://doi.org/10.3390/agronomy12010088
Song Z, Ma J, Peng Q, Liu B, Li F, Sun X, Liu M, Yan Y. Application of WOA–SVR in Seed Vigor of High-Voltage Electric Field Treatment on Aged Cotton (Gossypium spp.) Seeds. Agronomy. 2022; 12(1):88. https://doi.org/10.3390/agronomy12010088
Chicago/Turabian StyleSong, Zhanhua, Junxiang Ma, Qian Peng, Baoji Liu, Fade Li, Xiangyun Sun, Mochen Liu, and Yinfa Yan. 2022. "Application of WOA–SVR in Seed Vigor of High-Voltage Electric Field Treatment on Aged Cotton (Gossypium spp.) Seeds" Agronomy 12, no. 1: 88. https://doi.org/10.3390/agronomy12010088
APA StyleSong, Z., Ma, J., Peng, Q., Liu, B., Li, F., Sun, X., Liu, M., & Yan, Y. (2022). Application of WOA–SVR in Seed Vigor of High-Voltage Electric Field Treatment on Aged Cotton (Gossypium spp.) Seeds. Agronomy, 12(1), 88. https://doi.org/10.3390/agronomy12010088

