Review on Heat Generation of Rubber Composites
Abstract
1. Introduction
2. Reasons for Heat Generation
2.1. Viscoelasticity
2.2. Friction
3. Influencing Factors of Heat Generation
3.1. Payne Effect
3.2. Mullins Effect
3.3. Interface Interaction
3.4. Crosslink Density
3.5. Bound Rubber
3.6. Fillers
3.6.1. Effects of Filler Size and Loading
3.6.2. Effects of Coupling Agent
3.6.3. Synergistic Effect
4. Numerical Simulation of Temperature Rise
- (I)
- Fully coupled algorithm. The mechanical and thermal equations are solved simultaneously.
- (II)
- Fractional step algorithm. The thermomechanical equation is divided into two easier equations that are solved separately (first solve the mechanical equation and then solve the thermal equation).
- (III)
- Uncoupled algorithm. It consists of deformation, dissipation, and thermal modules. First of all, solve one cycle of the mechanical equation to evaluate the dissipation. Then solve the thermal equation for many cycles on one fixed geometry until the rise of temperature is significant. After that, use the actual temperature to update the mechanical equation.
4.1. Classical Model
4.2. New Models
4.3. FEM
5. Summary and Perspectives
Author Contributions
Funding
Acknowledgments
Conflicts of Interest
References
- Saleem, M.Z.; Akbar, M. Review of the Performance of High-Voltage Composite Insulators. Polymers 2022, 14, 431. [Google Scholar] [CrossRef] [PubMed]
- Schieppati, J.; Schrittesser, B.; Tagliabue, S.; Andena, L.; Holzner, A.; Poduska, J.; Pinter, G. Fatigue analysis and defect size evaluation of filled NBR including temperature influence. Materials 2022, 15, 3745. [Google Scholar] [CrossRef] [PubMed]
- Luo, W.B.; Li, M.; Huang, Y.J.; Yin, B.Y.; Hu, X.L. Effect of temperature on the tear fracture and fatigue life of carbon-black-filled rubber. Polymers 2019, 11, 768. [Google Scholar] [CrossRef] [PubMed]
- Burger, N.; Laachachi, A.; Ferriol, M.; Lutz, M.; Toniazzo, V.; Ruch, D. Review of thermal conductivity in composites: Mechanisms, parameters and theory. Prog. Polym. Sci. 2016, 61, 1–28. [Google Scholar] [CrossRef]
- Guo, Y.Q.; Ruan, K.R.; Gu, J.W. Controllable thermal conductivity in composites by constructing thermal conduction networks. Mater. Today Phys. 2021, 20, 100449. [Google Scholar] [CrossRef]
- Song, J.P.; Tian, K.Y.; Ma, L.X.; Li, W.; Yao, S.C. The effect of carbon black morphology to the thermal conductivity of natural rubber composites. Int. J. Heat Mass Transf. 2019, 137, 184–191. [Google Scholar] [CrossRef]
- Akutagawa, K.; Hamatani, S.; Nashi, T. The new interpretation for the heat build-up phenomena of rubbery materials during deformation. Polymer 2015, 66, 201–209. [Google Scholar] [CrossRef]
- Zhi, J.Y.; Wang, S.P.; Zhang, M.J.; Wang, H.Q.; Lu, H.L.; Lin, W.J.; Qiao, C.D.; Hu, C.X.; Jia, Y.X. Numerical analysis of the dependence of rubber hysteresis loss and heat generation on temperature and frequency. Mech. Time-Depend. Mater. 2018, 23, 427–442. [Google Scholar] [CrossRef]
- Wang, L.M.; Du, M.; Shan, G.R.; Lu, Q.; Song, Y.H. Research progress of rubber composite with low dynamic heat generation. CIESC J. 2021, 75, 863–875. [Google Scholar]
- Li, F.Z.; Liu, J.; Yang, H.B.; Lu, Y.L.; Zhang, L.Q. Numerical simulation and experimental verification of heat build-up for rubber compounds. Polymer 2016, 101, 199–207. [Google Scholar] [CrossRef]
- Xue, C.; Gao, H.G.; Hu, G.X. Viscoelastic and fatigue properties of graphene and carbon black hybrid structure filled natural rubber composites under alternating loading. Constr. Build. Mater. 2020, 265, 120299. [Google Scholar] [CrossRef]
- Montgomery, T.S.; William, J.M. Introduction to Polymer Viscoelasticity, 3rd ed.; Wiley: Hoboken, NJ, USA, 2005. [Google Scholar]
- Lei, W.W.; Zhou, X.X.; Russell, T.P.; Hua, K.C.; Yang, X.P.; Qiao, H.; Wang, W.C.; Li, F.Z.; Wang, R.G.; Zhang, L.Q. High performance bio-based elastomers: Energy efficient and sustainable materials for tires. J. Mater. Chem. A 2016, 4, 13058–13062. [Google Scholar] [CrossRef]
- Fang, Q.H.; Zhou, S.L.; Wang, N.; Zhang, X.B. The Research on Relationship between Heat Generation and Crosslinking Density of Vulcanized Rubber. Mater. Sci. Forum 2012, 704–705, 541–545. [Google Scholar] [CrossRef]
- Gent, A.N.; Campion, R.P. Engineering with Rubber—How to Design Rubber Components, 3rd ed.; Hanser Publishers: Munich, Gremany, 2001; pp. 22–109. [Google Scholar]
- Lin, Y.J.; Hwang, S.J. Temperature prediction of rolling tires by computer simulation. Math. Comput. Simul. 2004, 67, 235–249. [Google Scholar] [CrossRef]
- Luo, W.B.; Hu, X.L.; Wang, C.H.; Li, Q.F. Frequency- and strain-amplitude-dependent dynamical mechanical properties and hysteresis loss of CB-filled vulcanized natural rubber. Int. J. Mech. Sci. 2010, 52, 168–174. [Google Scholar] [CrossRef]
- KhiêmItskov, V.N.; Itskov, M. An averaging based tube model for deformation induced anisotropic stress softening of filled elastomers. Int. J. Plast. 2017, 90, 96–115. [Google Scholar]
- Tong, X.; Chen, X.; Xu, J.S.; Zheng, Y.; Zhi, S.J. The heat build-up of a polymer matrix composite under cyclic loading: Experimental assessment and numerical simulation. Int. J. Fatigue 2018, 116, 323–333. [Google Scholar] [CrossRef]
- Kar, K.K.; Bhowmick, A.K. Medium strain hysteresis loss of natural rubber and styrene-butadiene rubber vulcanizates a predictive model. Polymer 1999, 40, 683–694. [Google Scholar] [CrossRef]
- Guo, Q.; Zaïri, F.; Guo, X.L. A thermo-viscoelastic-damage constitutive model for cyclically loaded rubbers. Part I: Model formulation and numerical examples. Int. J. Plast. 2018, 101, 106–124. [Google Scholar] [CrossRef]
- Stadlbauer, F.; Koch, T.; Archodoulaki, V.M.; Planitzer, F.; Fidi, W.; Holzner, H. Influence of Experimental Parameters on Fatigue Crack Growth and Heat Build-Up in Rubber. Materials 2013, 6, 5502–5516. [Google Scholar] [CrossRef]
- Cheng, S.S.; Duan, X.D.; Zhang, Z.Y.; An, D.; Zhao, G.Z.; Liu, Y.Q. Preparation of a natural rubber with high thermal conductivity, low heat generation and strong interfacial interaction by using NS-modified graphene oxide. J. Mater. Sci. 2021, 56, 4034–4050. [Google Scholar] [CrossRef]
- Zhang, L.Q. Rubber Nanocomposites: Basics and Applications; Chemical Industry Press: Beijing, China, 2018. [Google Scholar]
- Ajalesh, B.N.; Neena, G.; Joseph, R. Non-linear viscoelastic behaviour of rubber-rubber blend composites and nanocomposites: Effect of spherical, layered and tubular fillers. Adv. Polym. Sci. 2014, 264, 85–134. [Google Scholar]
- Yao, B.B.; Xia, L.J.; Wang, H.; Kan, Z. The effects of natural astaxanthin-modified silica on properties of natural rubber. J. Appl. Polym. Sci. 2018, 136, 47287. [Google Scholar] [CrossRef]
- Shi, X.Y.; Sun, S.H.; Zhao, A.; Zhang, H.M.; Zuo, M.; Song, Y.H.; Zheng, Q. Influence of carbon black on the payne effect of filled natural rubber compounds. Compos. Sci. Technol. 2021, 203, 108586. [Google Scholar] [CrossRef]
- Roland, C.M. Network recovery from uniaxial extension II. The origin of the mullins effect. Rubber Chem. Technol. 1989, 62, 880–895. [Google Scholar] [CrossRef]
- Wei, L.W.; Fu, X.; Luo, M.C.; Xie, Z.T.; Huang, C.; Zhou, J.J.; Zhu, Y.; Huang, G.S.; Wu, J.R. Synergistic effect of CB and GO/CNT hybrid fillers on the mechanical properties and fatigue behavior of NR composites. RSC Adv. 2018, 8, 10573–10581. [Google Scholar] [CrossRef]
- Judson, B.T. Fatigue, Stress, and Strain of Rubber Components: A Guide for Design Engineers; Hanser Publishers: Munich, Germany, 2008; pp. 9–13. [Google Scholar]
- Xue, C.; Gao, H.Y.; Hu, Y.C.; Hu, G.X. Experimental test and curve fitting of creep recovery characteristics of modified graphene oxide natural rubber and its relationship with temperature. Polym. Test. 2020, 87, 106509. [Google Scholar] [CrossRef]
- Mora-Barrantes, I.; Rodríguez, A.; Ibarra, L.; González, L.; Valentín, J.L. Overcoming the disadvantages of fumed silica as filler in elastomer composites. J. Mater. Chem. 2011, 21, 7381–7392. [Google Scholar] [CrossRef]
- Zhang, X.G.; Loo, S.L. Study of glass transition and reinforcement mechanism in polymer/layered silicate nanocomposites. Macromolecules 2009, 42, 5196–5207. [Google Scholar] [CrossRef]
- Kaliyathan, A.V.; Rane, A.V.; Huskic, M.; Kunaver, M.; Kalarikkal, N.; Rouxel, D.; Thomas, S. Carbon black distribution in natural rubber/butadiene rubber blend composites: Distribution driven by morphology. Compos. Sci. Technol. 2020, 200, 108484. [Google Scholar] [CrossRef]
- Zhang, F.; Feng, Y.Y.; Feng, W. Three-dimensional interconnected networks for thermally conductive polymer composites: Design, preparation, properties, and mechanisms. Mater. Sci. Eng. R Rep. 2020, 142, 100580. [Google Scholar] [CrossRef]
- Weng, G.S.; Huang, G.S.; Qu, L.L.; Zhang, P.; Nie, Y.J.; Wu, J.R. Natural rubber with low heat generation achieved by the inclusion of boron carbide. J. Appl. Polym. Sci. 2010, 118, 2050–2055. [Google Scholar] [CrossRef]
- Katueangngan, K.; Tulyapitak, T.; Saetung, A.; Soontaranon, S.; Nithi-Uthai, N. Interfacial interactions of silica and natural rubber enhanced by hydroxyl telechelic natural rubber as interfacial modifier. J. Vinyl Addit. Technol. 2020, 26, 291–303. [Google Scholar] [CrossRef]
- Liu, J.; Lu, Y.L.; Tian, M.; Li, F.; Shen, J.X.; Gao, Y.Y.; Zhang, L.Y. The Interesting Influence of Nanosprings on the Viscoelasticity of Elastomeric Polymer Materials: Simulation and Experiment. Adv. Funct. Mater. 2013, 23, 1156–1163. [Google Scholar] [CrossRef]
- Zhan, Y.H.; Wei, Y.C.; Zhang, H.F.; Luo, M.C.; Zheng, T.T.; Liao, S.Q. Analysis of the thermogenesis mechanism of natural rubber under high speed strain. Polym. Adv. Technol. 2020, 31, 1994–2006. [Google Scholar] [CrossRef]
- Lim, L.P.; Juan, J.C.; Huang, N.M.; Goh, L.K.; Leng, F.P.; Loh, Y.Y. Enhanced tensile strength and thermal conductivity of natural rubber graphene composite properties via rubber-graphene interaction. Mater. Sci. Eng. B 2019, 246, 112–119. [Google Scholar] [CrossRef]
- Park, D.M.; Hong, W.H.; Kim, S.G.; Kim, H.J. Heat generation of filled rubber vulcanizates and its relationship with vulcanizate network structures. Eur. Polym. J. 2000, 36, 2429–2436. [Google Scholar] [CrossRef]
- Yue, Y.L.; Zhong, H.; Zhang, Z.; Chen, Y.F. Polymer–filler interaction of fumed silica filled polydimethylsiloxane investigated by bound rubber. Compos. Sci. Technol. 2013, 86, 1–8. [Google Scholar] [CrossRef]
- Mirizzi, L.; Carnevale, M.; D’Arienzo, M.; Milanese, C.; Di Credico, B.; Mostoni, S.; Scotti, R. Tailoring the thermal conductivity of rubber nanocomposites by inorganic systems: Opportunities and challenges for their application in tires formulation. Molecules 2021, 26, 3555. [Google Scholar] [CrossRef]
- Inoue, G.; Kawase, M. Effect of porous structure of catalyst layer on effective oxygen diffusion coefficient in polymer electrolyte fuel cell. J. Power Sources 2016, 327, 1–10. [Google Scholar] [CrossRef]
- Aghajan, M.H.; Hosseini, S.M.; Razzaghi-Kashani, M. Particle packing in bimodal size carbon black mixtures and its effect on the properties of styrene-butadiene rubber compounds. Polym. Test. 2019, 78, 106002. [Google Scholar] [CrossRef]
- Inoue, G.; Ohnishi, T.; So, M.; Park, K.; Ono, M.; Tsuge, K. Simulation of carbon black aggregate and evaluation of ionomer structure on carbon in catalyst layer of polymer electrolyte fuel cell. J. Power Sources 2019, 439, 227060. [Google Scholar] [CrossRef]
- Xu, Z.J.; Song, Y.H.; Zheng, Q. Payne effect of carbon black filled natural rubber compounds and their carbon black gels. Polymer 2019, 185, 121953. [Google Scholar] [CrossRef]
- Wongwitthayakool, P.; Saeoui, P.; Sirisinha, C. Prediction of heat build-up behaviour under high load by use of conventional viscoelastic results in carbon black filled hydrogenated nitrile rubber. Plast. Rubber Compos. 2011, 40, 234–239. [Google Scholar] [CrossRef]
- Kang, H.L.; Tang, Y.Y.; Yao, L.; Yang, F.; Fang, Q.H.; Hui, D. Fabrication of graphene/natural rubber nanocomposites with high dynamic properties through convenient mechanical mixing. Compos. Part B Eng. 2017, 112, 1–7. [Google Scholar] [CrossRef]
- Moh, R.R.I.; MohammadAhmad, A.W.A.; Ahmad, R.Z. Effect of carbon black structures towards heat build-up measurements and its dynamic properties. Adv. Mater. Res. 2015, 1134, 131–137. [Google Scholar]
- Zhang, H.; Zhang, Z.; Zhao, G.Z.; Liu, Y.Q. Influence of carbon black with different concentration on dynamic properties and heat buildup of semi-efficient natural rubber composites. Micro Nano Lett. 2016, 11, 402–406. [Google Scholar] [CrossRef]
- Sookyung, U.; Nakason, C.; Thaijaroen, W.; Vennemann, N. Effect of organoclay loading level on mechanical properties, thermomechanical behavior, and heat build-up of natural rubber/organoclay nanocomposites. Polym. Compos. 2016, 37, 1735–1743. [Google Scholar] [CrossRef]
- Yang, H.L.; Cai, F.; Luo, Y.L.; Ye, X.; Zhang, C.; Wu, S.Z. The interphase and thermal conductivity of graphene oxide/butadiene-styrene-vinyl pyridine rubber composites: A combined molecular simulation and experimental study. Compos. Sci. Technol. 2020, 188, 107971. [Google Scholar] [CrossRef]
- Fu, W.; Wang, L.; Huang, J.N.; Liu, C.W.; Peng, W.L.; Xiao, H.T.; Li, S.L. Mechanical properties and mullins effect in natural rubber reinforced by grafted carbon black. Adv. Polym. Technol. 2019, 2019, 4523696. [Google Scholar] [CrossRef]
- Yang, B.; An, D.; Liu, Y.Q.; Cheng, S.S.; Zhang, Z.Y. Dodecanol and KH-592 oo-modify silica to prepare low heat build-up and high performance natural rubber composites. Nano 2020, 15, 2050078. [Google Scholar] [CrossRef]
- Xiao, Y.K.; Zou, H.; Zhang, L.Q.; Ye, X.; Han, D.L. Surface modification of silica nanoparticles by a polyoxyethylene sorbitan and silane coupling agent to prepare high-performance rubber composites. Polym. Test. 2020, 81, 106195. [Google Scholar] [CrossRef]
- Guo, Y.Q.; Ruan, K.P.; Yang, X.T.; Ma, T.B.; Kong, J.; Wu, N.N.; Zhang, J.X.; Gu, J.W.; Guo, Z.H. Constructing fully carbon-based fillers with a hierarchical structure to fabricate highly thermally conductive polyimide nanocomposites. J. Mater. Chem. C 2019, 7, 7035–7044. [Google Scholar] [CrossRef]
- Song, J.P.; Li, X.T.; Tian, K.Y.; Ma, L.X.; Li, W.; Yao, S.C. Thermal conductivity of natural rubber nanocomposites with hybrid fillers. Chin. J. Chem. Eng. 2019, 27, 928–934. [Google Scholar] [CrossRef]
- Dominic, M.; Joseph, R.; Begum, P.M.S.; Bipinbal, P.K.; Chandra, J.; Thomas, S. Green tire technology: Effect of rice husk derived nanocellulose (RHNC) in replacing carbon black (CB) in natural rubber (NR) compounding. Carbohydr. Polym. 2020, 230, 115620. [Google Scholar] [CrossRef]
- Erfan, J.; Akbar, S.; Farhad, A. High-performance styrene-butadiene rubber nanocomposites based on carbon nanotube/nanodiamond hybrid with synergistic thermal conduction characteristics and electrically insulating properties. Polymer 2020, 196, 122470. [Google Scholar]
- Tang, Z.H.; Zhang, C.F.; Wei, Q.Y.; Weng, P.J.; Guo, B.C. Remarkably improving performance of carbon black-filled rubber composites by incorporating MoS2 nanoplatelets. Compos. Sci. Technol. 2016, 132, 93–100. [Google Scholar] [CrossRef]
- Mohanty, T.R.; Bhandari, V.; Chandra, A.K.; Chattopadhyay, P.K.; Chattopadhyay, S. Role of calcium stearate as a dispersion promoter for new generation carbon black-organoclay based rubber nanocomposites for tyre application. Polym. Compos. 2013, 34, 214–224. [Google Scholar] [CrossRef]
- Li, H.Y.; Yang, L.; Weng, G.S.; Xing, W.; Wu, J.R.; Huang, G.S. Toughening rubbers with a hybrid filler network of graphene and carbon nanotubes. J. Mater. Chem. A 2015, 3, 22385–22392. [Google Scholar] [CrossRef]
- Zhang, H.; Gao, Y.; Li, F.; Zhang, Z.; Liu, Y.; Zhao, G. Influence of silane coupling agents on vulcanised natural rubber: Dynamic properties and heat buildup. Plast. Rubber Compos. 2016, 45, 9–15. [Google Scholar] [CrossRef]
- Zhang, H.; Wei, Y.T.; Kang, Z.R.; Zhao, G.Z.; Liu, Y.Q. Influence of graphene oxide and multiwalled carbon nanotubes on the dynamic mechanical properties and heat buildup of natural rubber/carbon black composites. J. Elastomers Plast. 2017, 50, 403–418. [Google Scholar] [CrossRef]
- Zhang, H.; Zhang, Z.Y.; Zhao, G.Z.; Liu, Y.Q.; Li, Y.; Shou, J.Q.; Bai, L.Z. Influence of fillers on semi-efficient vulcanized natural rubber dynamic properties and heat buildup. Rubber Chem. Technol. 2015, 88, 412–420. [Google Scholar] [CrossRef]
- Sreelekshmi, R.V.; Sudha, J.D.; Menon, A.R.R. Novel organomodified kaolin/silica hybrid fillers in natural rubber and its blend with polybutadiene rubber. Polym. Bull. 2016, 74, 783–801. [Google Scholar] [CrossRef]
- Guo, Y.Q.; Ruan, K.P.; Shi, X.T.; Yang, X.T.; Gu, J.W. Factors affecting thermal conductivities of the polymers and polymer composites: A review. Compos. Sci. Technol. 2020, 193, 108134. [Google Scholar] [CrossRef]
- Liu, P.; Li, X.; Min, P.; Chang, X.; Shu, C.; Ding, Y.; Yu, Z.Z. 3D lamellar-structured graphene aerogels for thermal interface composites with high through-plane thermal conductivity and fracture toughness. Nanomicro Lett. 2020, 13, 22. [Google Scholar] [CrossRef] [PubMed]
- Ouyang, Y.G.; Li, X.F.; Ding, F.; Bai, L.Y.; Yuan, F.L. Simultaneously enhance thermal conductive property and mechanical properties of silicon rubber composites by introducing ultrafine Al2O3 nanospheres prepared via thermal plasma. Compos. Sci. Technol. 2020, 190, 108019. [Google Scholar] [CrossRef]
- Luo, F.B.; Yan, P.P.; Li, H.Z.; Qian, Q.R.; Huang, B.Q.; Chen, Q.H.; Kun, W.; Lu, M.G. Ultrahigh thermally conductive graphene filled liquid crystalline epoxy composites: Preparation assisted by polyethylene glycol. Compos. Sci. Technol. 2020, 200, 108473. [Google Scholar] [CrossRef]
- Premarathna, W.A.A.S.; Jayasinghe, J.A.S.C.; Gamage, P.; Senanayake, C.D.; Wijesundara, K.K.; Ranatunga, R.R.M.S.K. Analysis of factors influencing on performance of solid tires: Combined approach of Design of Experiments and thermo-mechanical numerical simulation. Eur. J. Mech.-A Solids 2022, 96, 104680. [Google Scholar] [CrossRef]
- Le Saux, V.; Marco, Y.; Calloch, S.; Charrier, P.; Taveau, D. Heat build-up of rubber under cyclic loadings: Validation of an efficient demarch to predict the temperature fields. Rubber Chem. Technol. 2013, 86, 38–56. [Google Scholar] [CrossRef]
- Li, F.Z.; Liu, F.; Liu, J.; Gao, Y.Y.; Lu, Y.L.; Chen, J.F.; Yang, H.B.; Zhang, L.Q. Thermo-mechanical coupling analysis of transient temperature and rolling resistance for solid rubber tire: Numerical simulation and experimental verification. Compos. Sci. Technol. 2018, 167, 404–410. [Google Scholar] [CrossRef]
- Luo, W.B.; Yin, B.Y.; Hua, X.L.; Zhou, Z.; Deng, Y.; Song, K. Modeling of the heat build-up of carbon black filled rubber. Polym. Test. 2018, 69, 116–124. [Google Scholar] [CrossRef]
- Hua, X.L.; He, R.Z.; Huang, Y.J.; Yin, B.Y.; Luo, W.B. A method to predict the dynamical behaviors of carbon black filled natural rubber at different temperatures. Polym. Test. 2019, 79, 106067. [Google Scholar] [CrossRef]
- Guo, Q.; Zaïri, F.; Guo, X.L. A thermo-viscoelastic-damage constitutive model for cyclically loaded rubbers. Part II: Experimental studies and parameter identification. Int. J. Plast. 2018, 101, 58–73. [Google Scholar] [CrossRef]
- Rodas, C.O.; Zaïri, F.; Naït-Abdelaziz, M. A finite strain thermo-viscoelastic constitutive model to describe the self-heating in elastomeric materials during low-cycle fatigue. J. Mech. Phys. Solids 2014, 64, 396–410. [Google Scholar] [CrossRef]
- Rodas, C.O.; Zaïri, F.; Naït-Abdelaziz, M.; Charrier, P. Temperature and filler effects on the relaxed response of filled rubbers: Experimental observations on a carbon-filled SBR and constitutive modeling. Int. J. Solids Struct. 2015, 58, 309–321. [Google Scholar] [CrossRef]
- Rodas, C.O.; Zaïri, F.; Naït-Abdelaziz, M.; Charrier, P. A thermo-visco-hyperelastic model for the heat build-up during low-cycle fatigue of filled rubbers: Formulation, implementation and experimental verification. Int. J. Plast. 2016, 79, 217–236. [Google Scholar] [CrossRef]
- Lea, T.H.; Yoshikawa, T.; Kurokawa, Y.; Inoue, H. A quantitative study on temperature variation of rubber under steady state uniaxial tensile cyclic loading. Mech. Mater. 2020, 148, 103523. [Google Scholar] [CrossRef]
- Rangarajan, S.E.; Kumar, K.R. Viscoelastic properties of natural rubber with fatigue damage. Int. J. Fatigue 2021, 150, 106344. [Google Scholar] [CrossRef]
- Schröder, J.; Lion, A.; Johlitz, M. Numerical studies on the self-heating phenomenon of elastomers based on finite thermoviscoelasticity. J. Rubber Res. 2021, 24, 237–248. [Google Scholar] [CrossRef]
- Banić, M.S.; Milošević, M.S.; Stamenković, D.S.; Miltenović, V.D.; Miltenović, A.V.; Djekić, P.S.; Rackov, M.J. Prediction of heat generation in rubber or rubber-metal springs. Therm. Sci. 2012, 16, 527–539. [Google Scholar] [CrossRef]
- Kaliske, M.; RanjanGhosh, A.S.; Ghosh, S. Prediction of rolling resistance for truck bus radial tires with nanocomposite based tread compounds using finite element simulation. Rubber Chem. Technol. 2014, 87, 276–290. [Google Scholar]
- Goldstein, A.A.; Futamura, S. Prediction and simulation of tire performance characteristics based on deformation index concept. Rubber Chem. Technol. 2016, 89, 1–21. [Google Scholar]
- He, H.; Liu, J.; Zhang, Y.R.; Han, X.; Mars, W.V.; Zhang, L.Q.; Li, F.Z. Heat build-up and rolling resistance analysis of a solid tire: Experimental observation and numerical simulation with thermo-mechanical coupling method. Polymers 2022, 14, 2210. [Google Scholar] [CrossRef] [PubMed]




















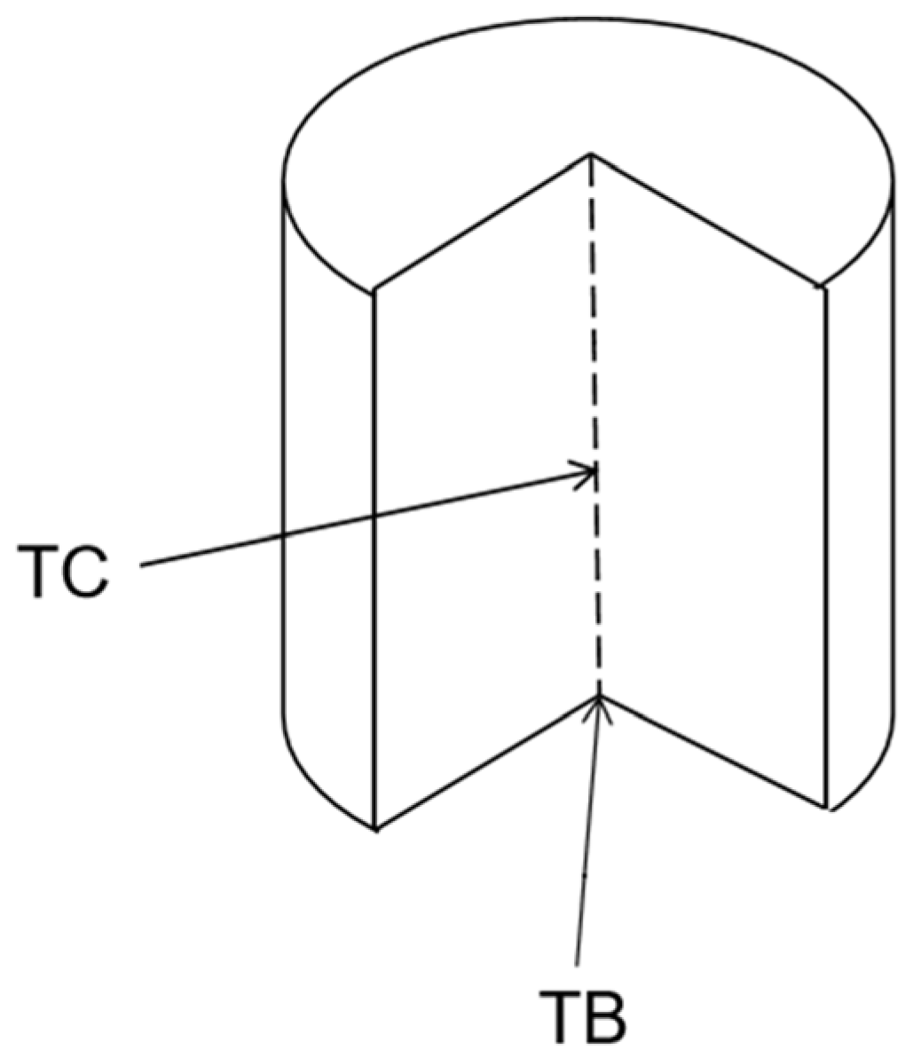
| Polymer | Filler | Loading | Temperature Rise/°C | Tensile Strength/MPa | Test Position | Reference |
|---|---|---|---|---|---|---|
| NR | SiO2 | 50 phr | 15.4 | 27.7 | TC | [26] |
| NR | SiO2 | 70 phr | 21.2 | 21 | TC | [56] |
| NR | CB/SiO2 | 40/20 phr | 22.7 | 18 | TC | [64] |
| NR | SiO2 | 30 phr | 13 | 21.5 | TC | [55] |
| NR | B4C | 14 vol% | 7 | 13.3 | TB | [36] |
| NR | CB | 30 phr | 11.5 | 18.5 | TC | [51] |
| NR | CB/GO | 40 phr | 9 | 27 | TC | [65] |
| NR | CB | 60 phr | 4.7 | 19 | TC | [66] |
| NR | CB/MoS2 | 50 phr | 36 | 23 | TC | [61] |
| NR | rGO | 0.42 vol% | 4.6 | - | TC | [23] |
| NR | CB/SiO2 | 25/25 phr | 27 | - | TC | [14] |
| NR | CB | 42 phr | 56.11 | 25.3 | TC | [62] |
| NR | CB/GO/CNTs | - | 15 | - | TB | [29] |
| NR | GO/CNTs | 0.5/3 phr | 7 | - | TB | [29] |
| NR | CB | 40 phr | 80 | - | TB | [10] |
| NR | SiO2 | 30 phr | 11.7 | 19.25 | TC | [37] |
| NR | kaolin | 6 phr | 11 | - | TC | [67] |
Disclaimer/Publisher’s Note: The statements, opinions and data contained in all publications are solely those of the individual author(s) and contributor(s) and not of MDPI and/or the editor(s). MDPI and/or the editor(s) disclaim responsibility for any injury to people or property resulting from any ideas, methods, instructions or products referred to in the content. |
© 2022 by the authors. Licensee MDPI, Basel, Switzerland. This article is an open access article distributed under the terms and conditions of the Creative Commons Attribution (CC BY) license (https://creativecommons.org/licenses/by/4.0/).
Share and Cite
Liu, Y.; Chen, W.; Jiang, D. Review on Heat Generation of Rubber Composites. Polymers 2023, 15, 2. https://doi.org/10.3390/polym15010002
Liu Y, Chen W, Jiang D. Review on Heat Generation of Rubber Composites. Polymers. 2023; 15(1):2. https://doi.org/10.3390/polym15010002
Chicago/Turabian StyleLiu, Ying, Wenduo Chen, and Dazhi Jiang. 2023. "Review on Heat Generation of Rubber Composites" Polymers 15, no. 1: 2. https://doi.org/10.3390/polym15010002
APA StyleLiu, Y., Chen, W., & Jiang, D. (2023). Review on Heat Generation of Rubber Composites. Polymers, 15(1), 2. https://doi.org/10.3390/polym15010002

