Abstract
This study addresses the challenge of through-hole defects in ZM6 cast magnesium alloy components by proposing an innovative repair strategy using ultrasonic-assisted Tungsten Inert Gas (U-TIG) welding. The microstructure and mechanical properties of the repaired joint were systematically characterized through optical microscopy, scanning electron microscopy (SEM), X-ray diffraction (XRD), and room-temperature tensile testing. The results indicate that, assisted by the ultrasonic energy field, the repair zone successfully reconstitutes a typical and optimized triple-phase microstructure: (1) the matrix: α-Mg solid solution (dark gray), supersaturated with Nd and Zr; (2) the strengthening phase: a eutectic Mg12Nd phase (light gray), rich in Nd, distributed along grain boundaries acting as the primary strengthening component; (3) the grain refiner: dispersed Zr-rich particles (bright white spots), which effectively pin grain boundaries. Crucially, the application of ultrasound significantly refined the α-Mg grains and transformed the continuous network of the Mg12Nd phase into a more fragmented and uniform dispersion. This refined microstructure synergistically integrates the strengthening mechanisms of solid solution, precipitation hardening, and grain refinement. Consequently, the repaired joint exhibits excellent mechanical properties, achieving over 90% of the base metal’s tensile strength and elongation at room temperature. This work not only validates the feasibility of U-TIG welding for repairing ZM6 alloys but also provides a solid theoretical foundation and a promising technical pathway for the in-service repair and remanufacturing of high-performance magnesium alloy components.
1. Introduction
In the pursuit of green and lightweight manufacturing, magnesium alloys—recognized as the lightest structural metallic materials—have been widely regarded as the “green engineering materials of the 21st century”. Owing to their high specific strength and stiffness, magnesium alloys are extensively used in aerospace, automotive, and transportation industries [1]. China possesses abundant magnesium resources, ranking first globally in both reserves and production, thus providing a solid foundation for the research and development of magnesium alloy processing technologies.
However, the high chemical reactivity of magnesium makes it prone to oxidation, combustion, and defect formation during processing, which has hindered the advancement of reliable welding technologies. Consequently, welding remains one of the major technological bottlenecks limiting the large-scale application of magnesium alloys. Among high-performing rare earth magnesium alloys, ZM6 exhibits outstanding heat resistance and creep strength, making it particularly suitable for high-temperature service components such as aero-engine casings [2,3,4,5]. After solution and aging treatment, ZM6 can maintain high strength at temperatures up to 300 °C, enabling lightweight design and improved energy efficiency. Nevertheless, as a load-bearing component, the casing demands exceptional welding reliability. During welding, magnesium alloys are highly susceptible to thermal cracks, porosity, and oxide inclusions, which significantly deteriorate joint integrity and service safety.
Currently, alternating-current tungsten inert gas (AC-TIG) welding remains the predominant joining method for magnesium alloys. However, its limited control over heat input makes it difficult to fully eliminate internal defects, which may serve as initiation sites for fatigue cracks under cyclic loading, thus threatening component safety in harsh environments [6,7]. Therefore, the development of more advanced welding techniques capable of achieving high-quality, defect-free repair of ZM6 magnesium alloys is urgently required.
Li et al. [8] developed a quantitative model correlating process parameters and geometric characteristics in arc additive manufacturing of magnesium alloys using quadratic regression and response surface methodology. Their results revealed that the base current suppresses layer height while promoting layer width; in contrast, wire feeding speed significantly increases layer height but has a negligible effect on width, while higher travel speeds reduce both parameters simultaneously. Wu et al. [9] successfully repaired through-thickness defects in A7N01 aluminum alloy joints using hybrid laser welding, which, despite inducing some coarsening of precipitates and mild softening of the joint, significantly refined the grains and eliminated pre-existing defects—improving fatigue performance by 33.8%. Similarly, Wang et al. [10] employed laser repair on Fe-Co-Cr-Ni-V high-entropy alloy, effectively eliminating V-rich precipitate defects and achieving uniform elemental distribution, although grain coarsening in the repaired region led to reduced hardness. Hou et al. [11] reported that the use of a Zr-containing VW63K filler wire effectively refined the grain structure in Mg–Gd–Y alloy repair zones, indicating that optimizing filler composition to introduce nucleation agents can significantly enhance the mechanical properties of repaired magnesium alloys. Thomä et al. [12] innovatively introduced ultrasonic energy via a roller to improve interfacial bonding between aluminum and steel, demonstrating that ultrasound can promote interfacial plastic flow and enhance material mixing, providing a novel strategy for interfacial control in dissimilar metal joining.
Despite these advances, the application of ultrasonic-assisted TIG welding (U-TIG) in the repair of ZM6 magnesium alloys has received limited attention. In this technique, ultrasonic energy is coupled into the conventional TIG welding process, and its primary mechanisms are governed by two fundamental physical effects occurring during ultrasonic wave propagation in liquid metals—the acoustic streaming effect and the cavitation effect [13]. The acoustic streaming effect induces strong convection in the molten pool, enhancing uniform heat and mass transfer and optimizing the temperature field distribution. Meanwhile, the cavitation effect occurs when microbubbles form during the negative pressure phase of the sound wave and collapse violently, generating localized high-temperature and high-pressure shock waves [14].
For magnesium alloys, ultrasonic assistance has been shown to produce remarkable microstructural refinement and defect suppression effects [15]. The intense vibration breaks up the dendritic growth front and increases the density of heterogeneous nucleation sites, thereby refining grains and transforming coarse columnar structures into fine equiaxed grains. Moreover, ultrasonic agitation promotes the coalescence and escape of gas bubbles from the molten pool, effectively reducing hydrogen solubility and suppressing porosity formation [16]. In rare earth-containing magnesium alloys such as ZM6, ultrasound can also promote the uniform dispersion and precipitation of rare earth compounds, further strengthening the alloy through precipitation hardening. Reported results show that the incorporation of ultrasonic vibration can reduce the grain size of welded magnesium alloys by approximately 30–50%, significantly lower the porosity rate, and enhance both tensile strength and ductility—raising the ultimate tensile strength by about 15–20% and the elongation by 25–30% [17,18,19].
Therefore, in this study, ultrasonic vibration was introduced near the welding zone and synchronized with the TIG welding process to address the challenges of poor weld formation and defect susceptibility in ZM6 magnesium alloy. The effects of ultrasonic vibration on the weld microstructure and mechanical properties were systematically investigated, aiming to optimize the welding process and provide a theoretical foundation for achieving high-quality joining and repair of magnesium alloy components.
2. Materials and Methods
2.1. Experimental Materials
The ZM6 magnesium alloy plates used in this study were supplied by an industrial partner. The specimens were machined into dimensions of 50 mm × 50 mm × 10 mm, A 45° conical through-hole with a base diameter of 20 mm was machined into the test block using a milling cutter, and the burrs were subsequently removed to simulate defect geometries encountered in practical engineering applications.
The weldability of ZM6 magnesium alloy is strongly influenced by its main alloying elements. Zn enhances strength but may reduce molten pool fluidity if present in excess, while Zr acts as a grain refiner, improving weld zone microstructure and thermal stability. Rare earth (RE) elements enhance high-temperature performance and resistance to cracking. As the base element, Mg governs the melting point and thermal conductivity, making careful control of heat input critical to avoid defects. The filler material used was a homogeneous ZM6 welding wire (Harbin Dong’an Engine Co., Ltd., Harbin, China), whose nominal chemical composition is presented in Table 1.
Table 1.
Chemical composition of ZM6 filler wire and base metal (wt.%).
2.2. Welding Methods and Equipment
The repair welding of ZM6 magnesium alloy castings was conducted to eliminate typical defects such as lack of fusion and porosity. Prior to welding, the specimens were preheated to 200 °C to reduce thermal gradients and improve weldability. An industrial-grade pure argon (Ar) atmosphere was employed as the shielding gas, and a ZM6 homogeneous filler wire with a diameter of 3 mm was selected. During the welding process, the arc length was maintained at approximately 3–6 mm above the specimen surface. In addition, the ambient temperature of the working environment was kept above 15 °C, and air flow or drafts were strictly avoided to prevent oxidation and contamination. The repaired component is shown in Figure 1.
Figure 1.
The cross-sectional schematic of the repaired region.
Figure 2 presents a schematic of the overall welding system developed in this study. A tungsten inert gas (TIG) welding process was adopted to investigate the microstructural characteristics of ZM6 magnesium alloy joints. The experiments were performed using a Fronius MagicWave 2200 system (Fronius, Pettenbach, Austria), equipped with a self-designed ultrasonic assistance module. Based on preliminary trials and guidance from the relevant literature, the welding parameters finally selected for this study were as follows: a welding current of 160 A, a shielding gas flow rate of 15 L/min, a surface vibration amplitude of 20 μm, and an ultrasonic power of 1500 W. The ultrasonic-assisted system was further specified as follows: the ultrasonic frequency was 20 kHz, the operating mode was continuous wave, and the ultrasonic energy was coupled into the molten pool via a sonotrode placed directly in contact with the workpiece, ensuring effective transmission of acoustic energy throughout the weld volume.
Figure 2.
Repair System Diagram.
To minimize the occurrence of repair-related defects such as cracks or inclusions, the surfaces of the filler wire, groove, and surrounding areas were thoroughly cleaned before welding using both mechanical and chemical methods to remove oxides and contaminants.
2.3. Microstructural Characterization
Prior to testing, metallographic specimens were prepared using a wire-cut electrical discharge machine. The sample surfaces were first ground with 80-grit sandpaper, followed by sequential polishing with finer grades of sandpaper to achieve a smooth finish. Final polishing was performed on a polishing machine using W0.25 diamond paste, and the specimens were subsequently etched with picric acid solution for 6–8 s. After etching, the surfaces were cleaned with anhydrous ethanol, air-dried with a blower, and then observed using an optical metallographic microscope.
Detailed microstructural and fracture analyses were carried out using a Gemini 300 scanning electron microscope (SEM, Carl Zeiss, Oberkochen, Germany) equipped with an energy dispersive spectrometer (EDS) for compositional analysis. Owing to its large depth of field, SEM enables in-depth observation of microstructural morphologies and fracture features of metallic materials. Morphology images were obtained through secondary electron detection, while EDS analysis was employed to identify the precipitated phases and local compositional distributions on the specimen surface. Elemental distribution within the alloy was analyzed by both line scanning and area mapping modes.
Phase identification of the ZM6 magnesium alloy in different conditions—including as-received, preheated, and heat-treated states—was performed using an X-ray diffractometer (XRD, X’Pert PRO, PANalytical B.V., Almelo, The Netherlands). The specimens were carefully machined by wire cutting to ensure parallelism of the tested surfaces. The XRD parameters were set as follows: operating voltage of 40 kV, scanning speed of 3°/min, and 2θ range from 10° to 90°. The phase compositions of ZM6 alloy in different conditions were analyzed using Jade 6.0 software, based on the main alloying elements of ZM6. This allowed for the identification of dominant phases and the determination of phase evolution under varying thermal conditions.
2.4. Mechanical Property Testing
The mechanical tests were conducted to evaluate the mechanical properties and verify the effectiveness of the welding repair process. The microhardness distribution across the welded joints was measured using an HXD-1000 Vickers hardness tester (Shanghai Guangmi Instrument Co., Ltd., Shanghai, China). Measurements were taken along the central line of the metallographic cross-section to obtain the hardness profile. The tests were performed under a load of 200 gf, with a dwell time of 15 s. Indentation points were made perpendicular to the weld seam, starting from the base metal (BM), passing through the weld metal (WM), and extending back into the base metal region.
Tensile properties of the joints were determined using a CSS-44300 electronic universal testing machine (Changchun Testing Machine Research Institute, Changchun, China) at room temperature. Specimens were extracted from both the base metal and welded joint regions. The tensile tests were carried out at a crosshead speed of 2 mm/min. The specimen dimensions and sampling locations were designed in accordance with standard metallurgical testing requirements to ensure comparability and reliability of the results.
3. Results
3.1. Microstructural Characteristics
Figure 3 illustrates the microstructural morphology of the TIG-welded ZM6 magnesium alloy joint. The upper part of the figure shows a schematic of the weld cross-section, while the lower part presents optical micrographs corresponding to the base metal (BM, a), heat-affected zone (HAZ, b), and weld metal (WM, c). Significant differences in grain morphology and size are observed among these regions, reflecting the pronounced influence of welding thermal cycles on microstructural evolution.
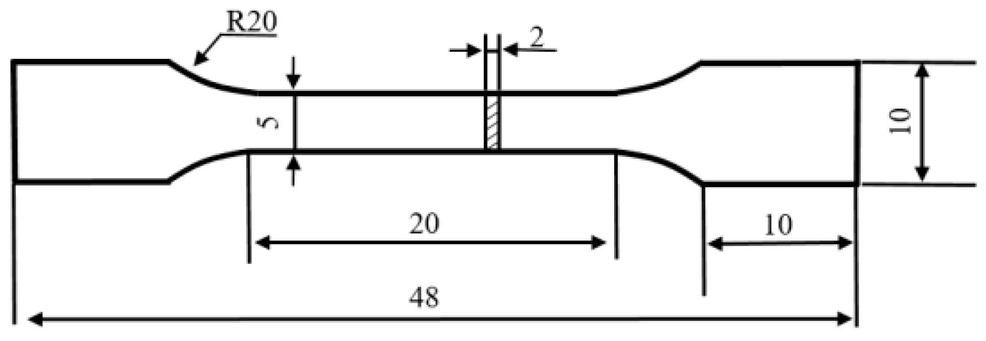
Figure 3.
Dimensions and sampling locations of tensile specimens.
As shown in Figure 4a, the BM primarily consists of equiaxed α-Mg grains, which are relatively uniform and regularly shaped, with an average grain size of approximately 60–80 μm. This region remains largely unaffected by the welding thermal cycle, retaining its original cast structure, with only minor β-phase precipitates visible along grain boundaries. The relatively large grain size indicates a low cooling rate and minimal recrystallization, exhibiting the typical microstructure of deformed magnesium alloy base material.
Figure 4.
Optical micrographs of the repaired region in ZM6 magnesium alloy. (a) Weld metal; (b) heat affected zone; (c) based metal.
Figure 4b depicts the transition zone between the BM and WM, corresponding to the HAZ and part of the fusion line. The microstructure in this region changes significantly: grains near the weld are notably refined, whereas grains closer to the BM are slightly coarser. The average grain size across the HAZ ranges from 30 to 50 μm, forming a gradient that reflects the complex thermal history. Regions near the weld experience higher peak temperatures, leading to partial recrystallization and fine grain formation, while areas at lower temperatures but longer exposure durations undergo grain coarsening. This clearly identifies the HAZ as the zone with the most pronounced microstructural transition, directly influencing the mechanical performance of the joint.
Figure 4c shows the WM, which underwent complete melting and solidification. The microstructure is characterized by fine equiaxed grains, with an average grain size of 10–20 μm. Grains within the weld are uniform and free of obvious segregation or porosity defects, indicating a well-controlled heat input and cooling rate during welding. The significant grain refinement in the WM is attributed to the rapid solidification of the molten pool and solute redistribution, which suppresses grain growth and forms a strengthened fine-grained structure.
Overall, the ZM6 TIG-welded joint exhibits a typical “fine-grained weld metal—gradient HAZ—coarse-grained base metal” microstructural pattern. The WM shows the strongest grain refinement and associated strengthening effect, the HAZ exhibits a pronounced microstructural gradient that may serve as a potential weak link in the joint, and the BM maintains coarse but stable grains. The observed microstructural non-uniformity observed by welding thermal cycles is a key factor influencing the mechanical behavior of the joint. Optimizing heat input and cooling conditions is expected to further enhance microstructural uniformity and joint performance.
3.2. SEM and EDS Analysis
Figure 5 presents the SEM images and EDS mapping of the partially melted region in ZM6. Figure 5 shows the SEM micrograph, in which the grain size difference between the weld zone (left) and base metal (right) is clearly visible. The fine-grained region in the middle corresponds to the partially melted zone (PMZ).
Figure 5.
SEM analysis of the Heat-Affected Zone and Weld Metal. (a) The SEM image; (b) distribution of Nd; (c) distribution of Zr; (d) distribution of Zn.
Along the grain boundaries in Figure 5a, blocky phases are observed. Based on XRD peaks (Figure 6), these phases are identified as Mg12Nd. EDS mapping confirms that Nd is relatively uniformly distributed along the grain boundaries, but localized enrichment occurs in some regions, indicating that Nd primarily forms secondary phases or intermetallic compounds. Zr, on the other hand, is distributed in a discrete manner, appearing as point-like or small blocky particles. This suggests that Zr is not fully dissolved in the matrix, existing instead as Zr-rich particles or intermetallic.
Figure 6.
XRD analysis of the Heat-Affected Zone and Weld Metal.
The SEM-EDS analysis provides insight into the distribution of secondary phases and the role of rare earth and refractory elements in microstructural evolution. The presence of fine, uniformly dispersed precipitates along the grain boundaries contributes to grain refinement, inhibits coarsening, and enhances the mechanical performance of the TIG-welded ZM6 joint.
Figure 5 shows the SEM micrographs of the heat-affected zone (HAZ) in the ZM6 TIG-welded joint. Figure 6 presents the SEM and corresponding EDS mapping of the weld metal (WM). As seen in Figure 7a, the weld zone primarily consists of relatively uniform equiaxed grains with sizes ranging from approximately 20–50 μm, indicating a finer microstructure compared to both the partially melted zone (PMZ) and the base metal (BM).
Figure 7.
SEM micrographs of weld metal (WM) in ZM6 TIG-welded joints. (a) SEM image; (b) distribution of Nd; (c) distribution of Zr; (d) distribution of Zn.
Within the grains and along the grain boundaries, two distinct contrast phases can be observed: bright white and gray–white. The bright white phase typically appears as irregular blocky or particulate morphologies, ranging in size from a few micrometers to over ten micrometers. Figure 7d shows the Zr elemental distribution, clearly indicating that these bright white particles correspond to Zr-rich regions. In magnesium alloys, Zr exhibits very low solubility and generally exists as pure Zr particles or ZrH2. These particles primarily act as grain refiners rather than contributing directly to load bearing.
Figure 7b presents the Nd elemental distribution, which is not uniform but highly concentrated along the grain boundaries in skeletal or network-like regions. These Nd-enriched regions correspond to the gray–white phases observed in Figure 7a and are identified as Nd-rich intermetallic compounds. In Mg-Nd-based alloys, the most common equilibrium phase is Mg12Nd, typically formed via a non-equilibrium eutectic reaction during casting and located along grain boundaries. In the SEM images, these intermetallic phases appear as a uniform dark gray matrix, while EDS mapping shows weak signals of Nd and Zr in these regions, confirming that the surrounding α-Mg matrix contains Nd and Zr in solid solution.
Overall, SEM-EDS analysis demonstrates that the weld metal microstructure consists of fine equiaxed grains reinforced by Zr-rich particles, with Nd-rich intermetallic compounds concentrated at grain boundaries. This distribution contributes to grain refinement and mechanical strengthening, while maintaining the α-Mg solid solution as the primary load-bearing matrix. The combination of fine grains and controlled intermetallic dispersion indicates effective microstructural control in the ultrasonic-assisted TIG-welded ZM6 joints.
The brightest white skeletal/network-like phases observed in the SEM images are primarily distributed along the grain boundaries, as shown in Figure 8. This morphology is characteristic of the last-solidified eutectic phase commonly found in cast magnesium alloys.
Figure 8.
Schematic of point-scan positions for EDS analysis in repaired region of ZM6 magnesium alloy. (a) The area of WZ away from the center; (b) the area near to the center.
As summarized in Table 2, the point-scan analysis indicates the following compositions (wt.%):
Table 2.
EDS point-scan results of repaired ZM6 magnesium alloy (wt.%).
- B1: Mg = 93.72, Nd = 3.54, Zr = 1.29.
- B2: Mg = 94.93, Nd = 4.58, Zr = 1.17.
The Nd content at B1 and B2 (~4.6–4.7 wt.%) is significantly higher than that in the matrix at A1 (Nd = 1.08 wt.%), confirming the strong segregation of Nd within this phase. In Mg-Nd-based alloys, such Nd-enriched phases along the grain boundaries are typically identified as Mg12Nd. The slightly elevated Zr content in these phases is likely due to solute rejection during solidification, where Zr is pushed ahead of the solid–liquid interface and becomes enriched in the eutectic phase at the grain boundaries. This phase serves as the primary strengthening constituent in ZM6 alloy.
The matrix composition at A1 is as follows: Mg = 97.72, Nd = 1.08, Zr = 0.86, Zn = 0.34 wt.%. Nd and Zr are in solid solution within α-Mg, providing significant solid solution strengthening and forming the basis of the alloy’s inherent strength.
An intermediate point, A2, exhibits Mg = 93.37, Nd = 4.68, and Zr = 1.36 wt.%, indicating a composition between the matrix and the typical Mg12Nd eutectic. Its Nd and Zr contents suggest partial enrichment, likely representing regions of early-stage eutectic formation or transitional microstructural features.
3.3. Mechanical Properties
The mechanical properties of the TIG-welded ZM6 joints were evaluated through microhardness measurements and tensile testing. Microhardness profiles along the cross-section of the welded joints reveal variations corresponding to the BM, HAZ, and WM, reflecting the influence of microstructural heterogeneity on local hardness. Tensile tests were performed at room temperature using a crosshead speed of 2 mm/min, with specimens extracted from both the weld and the base metal regions. The results provide insights into the strength, ductility, and overall integrity of the repaired joints under service-relevant loading conditions.
As shown in Figure 9a, the microhardness profile of the U-TIG repaired joint, obtained as the average of three parallel measurements, exhibits characteristics typical of a welded structure, with the BM maintaining an average hardness of ~63 HV while the WM in the repaired region shows a noticeable decrease to ~53 HV. The tensile behavior of the three specimens was also assessed, and the average stress–strain curve is presented in Figure 9b. This reduction in hardness is a direct consequence of the thermal cycling during welding, which causes dissolution of the original dispersion–strengthening phases, such as β-Mg12Nd precipitates, in the base material. Under the subsequent non-equilibrium rapid solidification conditions, these strengthening phases fail to reprecipitate sufficiently or uniformly, resulting in an overall softening effect in the repaired region. Although ultrasonic vibration promotes grain refinement and introduces grain boundary strengthening via the Hall–Petch mechanism, this contribution is insufficient to fully offset the loss of precipitation strengthening, leading to a net decrease in hardness.
Figure 9.
Average hardness profile (a), stress–strain curve (b), and tensile fracture morphology of repair area (c,d). Fracture location in welded joint (e,f).
As shown in Figure 9b, room-temperature tensile tests indicate that specimens repaired via the U-TIG process achieve an ultimate tensile strength of 180 MPa, a yield strength of 140 MPa, and an elongation at fracture of 5.1%. Fracture surface analysis conducted using scanning electron microscopy (SEM), as illustrated in Figure 9c,d, reveals a mixed-mode fracture mechanism characterized by the coexistence of shallow dimples and localized cleavage facets. The presence of dimples reflects microvoid nucleation and coalescence at refined β-phase particles, confirming some degree of plastic deformation and consistent with the measured elongation. Conversely, the appearance of cleavage facets suggests localized brittle fracture, which is attributed to the inherent limited slip systems of the hexagonal close-packed magnesium matrix, as well as the presence of process-induced micro-defects such as pores, oxide inclusions, or continuous brittle eutectic phases that facilitate crack propagation.
As shown in Figure 9e,f, fracture occurred in the heat-affected zone (HAZ) rather than in the weld metal, indicating that the weld metal was not the mechanically weakest region of the joint. The weld metal exhibited higher load-bearing capacity and good metallurgical continuity, demonstrating that the joints produced by the present process possess high welding quality.
For comparison, Zhang et al. reported that preheating a cast ZM6 magnesium alloy to 200 °C for 1 h prior to TIG welding, combined with a welding current of 160 A, could produce defect-free repair joints across groove diameters from 10 mm to 40 mm [20]. Under these conditions, the weld zone exhibited fine equiaxed grains, while the heat-affected zone showed grain growth and decreased hardness, and tensile fracture occurred predominantly in the HAZ, with ultimate tensile strength and elongation reaching ~93.7% and ~95.1% of the base material, respectively. In contrast, our ultrasonic-assisted repair method further refines the weld microstructure, suppresses HAZ grain coarsening, and improves both strength and ductility of the repaired joints, demonstrating superior performance compared with conventional TIG repair welding.
The mixed fracture morphology results from the competing effects of microstructural evolution and defect formation during U-TIG processing. On one hand, grain refinement induced by ultrasonic vibration enhances plasticity and strength, contributing to dimple formation. On the other hand, welding-induced softening and unavoidable micro-defects promote localized brittle failure. The measured mechanical properties thus represent a balance between these opposing factors. These findings suggest that while U-TIG effectively modifies the microstructure, further improvements in mechanical performance—particularly in ductility and fracture toughness—may be achieved through parameter optimization or post-weld heat treatments to regulate second-phase precipitation and minimize defect formation.
4. Conclusions
In summary, the ZM6 alloy exhibits a characteristic three-phase as-cast microstructure, which forms the foundation of its mechanical properties. This structure comprises the following:
(1) A matrix of α-Mg solid solution, alloyed with Nd and Zr, appearing dark gray.
(2) The primary strengthening phase of a Nd-enriched Mg12Nd eutectic network, distributed along the grain boundaries (gray–white).
(3) Dispersed Zr-rich particles (bright white spots), which act as potent grain refiners.
This specific microstructural configuration synergistically integrates multiple strengthening mechanisms. The solid solution of Nd and Zr in the α-Mg matrix provides baseline strengthening, while the continuous Mg12Nd eutectic network contributes significantly via precipitation hardening. Concurrently, the Zr-rich particles effectively pin grain boundaries, imparting considerable grain refinement.
Consequently, this integrated strengthening effect directly yields the alloy’s foundational mechanical properties, achieving an ultimate tensile strength of ~180 MPa, a yield strength of ~140 MPa, an elongation of ~5.2%, and a hardness of ~53 HV. The balanced combination of strength and ductility is attributed to this optimal synergy between the ductile α-Mg matrix and the hard intermetallic phases.
Author Contributions
Conceptualization, F.S.; Methodology, F.S., Z.C. (Zhaoxiang Chang), Y.L., G.L. and Y.X.; Validation, G.L.; Investigation, Z.C. (Zhien Chen), M.C., Z.C. (Zhaoxiang Chang), X.Q. and M.Z.; Resources, F.S. and M.C.; Data curation, Y.L.; Writing—original draft, F.S.; Writing—review & editing, Z.C. (Zhien Chen); Visualization, X.Q.; Supervision, Y.X. and S.L.; Project administration, S.L.; Funding acquisition, S.L. All authors have read and agreed to the published version of the manuscript.
Funding
This research was funded by National Natural Science Foundation of China, grant number: 52175296.
Data Availability Statement
The original contributions presented in this study are included in the article. Further inquiries can be directed to the corresponding authors.
Conflicts of Interest
The authors Faming Shen, Ming Che, Xin Qiao, Yongjun Li, Guihua Li, and Mingyue Zhao are employed by the company AECC Harbin Dong’an Engine Co., Ltd. The authors declare no conflicts of interest. The funders had no role in the design of the study; in the collection, analyses, or interpretation of data; in the writing of the manuscript; or in the decision to publish the results.
References
- Fang, N.W.; Wang, L.P.; Li, L.S.; Lin, X.H. Current status and development trends of magnesium alloy welding technology. Weld. Join. 2017, 5, 22–26+69. [Google Scholar]
- Liu, B.; Yang, J.; Zhang, X.Y.; Yang, Q.; Zhang, J.; Li, X. Development and application of magnesium alloy parts for automotive OEMs: A review. J. Magnes. Alloys 2023, 11, 15–47. [Google Scholar] [CrossRef]
- Wu, G.H.; Tong, X.; Jiang, R.; Ding, W. Grain Refinement of As-Cast Mg-RE Alloys: Research Progress and Future Prospect. Acta Metall. Sin. 2022, 58, 385–399. [Google Scholar]
- Kumar, A.; Choudhari, A.; Gupta, A.K.; Kumar, A. Rare-Earth based magnesium alloys as a potential biomaterial for the future. J. Magnes. Alloys 2024, 12, 3841–3897. [Google Scholar] [CrossRef]
- Aghion, E.; Gueta, Y.; Moscovitch, N.; Bronfin, B. Effect of yttrium additions on the properties of grain-refined Mg-3%Nd alloy. J. Mater. Sci. 2008, 43, 4870–4875. [Google Scholar]
- Dash, S.S.; Fernandes, C.R.; Shang, X.; Zou, Y.; Peng, H.; Jiang, X.; Fang, X.; Ma, N.; Li, D.; Chen, D. Fatigue and deformation mechanisms of ultrasonic spot-welded dissimilar joints of a magnesium alloy to a clad aluminum alloy. J. Magnes. Alloys 2025, 13, 1939–1952. [Google Scholar] [CrossRef]
- Cai, L.; Qi, Z.; Cong, B.; Yang, Q.; Zhou, Y.; Chen, Z.; Lu, L.; Liang, Z.; Yang, J.; Xiong, J.; et al. The effects of ultrasonic frequency pulse arc on deposit and bimetallic interface of wire-arc directed energy deposited Inconel 690 component. Mater. Sci. Eng. A 2025, 941, 148601. [Google Scholar] [CrossRef]
- Li, J.W.; Qiu, Y.M.; Yang, J.J.; Sheng, Y.; Yi, Y.; Zeng, X.; Chen, L.; Yin, F.; Su, J.; Zhang, T.; et al. Effect of grain refinement induced by wire and arc additive manufacture (WAAM) on the corrosion behaviors of AZ31 magnesium alloy in NaCl solution. J. Magnes. Alloys 2023, 11, 217–229. [Google Scholar] [CrossRef]
- Guo, Y.Y.; Li, J.C.; Ren, L.B.; Yi, C.B.; Lian, Z.X. Research progress and prospect in wire arc additive manufacturing magnesium alloy. Hot Work. Technol. 2024, 53, 9–17. [Google Scholar]
- Li, B.; Gu, H.; Wan, Y.; Xu, A.; Song, X. Effect of laser shock peening on microstructure and fatigue behavior of laser welded 7075 aluminum alloy. Theor. Appl. Fract. Mech. 2025, 138, 104908. [Google Scholar] [CrossRef]
- Wang, C.; Huang, H.; Zhang, H.; Zhang, L.; Yan, J. Laser repairing of FeCoCrNiV high-entropy alloy and its mechanical and cutting characteristics. J. Mater. Process. Technol. 2023, 317, 118003. [Google Scholar] [CrossRef]
- Wang, Q.M.; Tong, X.; Wu, G.H.; Zhan, J.; Qi, F.; Zhang, L.; Liu, W. Microstructure and strengthening mechanism of TIG welded joints of a Mg-Nd-Gd alloy: Effects of heat input and pulse current. Mater. Sci. Eng. A 2023, 869, 144816. [Google Scholar] [CrossRef]
- Hou, G.; Xu, Y.; Wang, S.; Zhang, Y.; She, J.; Li, C.; Xiao, L.; Tang, A.; Pan, F. Effects of welding wire composition on the repair welds of sand-cast Mg-Gd-Y alloy: Microstructure and mechanical properties. Vacuum 2022, 199, 110919. [Google Scholar] [CrossRef]
- Thomä, M.; Wagner, G.; Straß, B.; Wolter, B.; Benfer, S.; Fürbeth, W. Ultrasound enhanced friction stir welding of aluminum and steel: Process and properties of EN AW 6061/DC04-joints. J. Mater. Sci. Technol. 2018, 34, 163–172. [Google Scholar] [CrossRef]
- Zhu, Z.; Wu, Z.; Fan, J. Current status and prospects of ultrasonic metal welding. Weld. Technol. 2010, 39, 1–6. [Google Scholar]
- Meng, D.; Zhu, C.; Dong, Y.; Zhao, S.D. Research progress on vibration-assisted plastic forming processes and mechanisms. Forg. Stamp. Technol. 2022, 47, 1–13. [Google Scholar]
- Langenecker, B. Effects of ultrasound on deformation characteristics of metals. IEEE Trans. Sonics Ultrason. 1966, 13, 1–8. [Google Scholar] [CrossRef]
- Zhao, D.S.; Li, Y.F.; Fan, S.Q. Current status analysis of ultrasonic vibration plastic processing technology. Chin. Mech. Eng. 2013, 24, 835–840. [Google Scholar]
- Xia, Y.; Dong, B.; Cai, X.; Chen, Q.; Fan, Y.; Lin, S. Ultrasonic-driven grain refinement in high-frequency pulsed welding of Inconel 690 alloy: Interplay between ultrasonic and molten pool dynamic. J. Manuf. Process. 2025, 146, 172–190. [Google Scholar] [CrossRef]
- Zhang, X.; Wang, W.; Zheng, X.; Chen, J.; Shen, F.; Li, H.; Sun, D. Repair welding characteristics, microstructure and mechanical properties of ZM6 cast magnesium alloy joints welded by TIG welding. Electr. Weld. Mach. 2023, 53, 23–28. [Google Scholar]
Disclaimer/Publisher’s Note: The statements, opinions and data contained in all publications are solely those of the individual author(s) and contributor(s) and not of MDPI and/or the editor(s). MDPI and/or the editor(s) disclaim responsibility for any injury to people or property resulting from any ideas, methods, instructions or products referred to in the content. |
© 2026 by the authors. Licensee MDPI, Basel, Switzerland. This article is an open access article distributed under the terms and conditions of the Creative Commons Attribution (CC BY) license.








