Enhanced Wet Oxidation of Excess Sludge from Pharmaceutical Wastewater Treatment by NaOH
Abstract
1. Introduction
2. Results and Discussion
2.1. Effect of Additional Amount of NaOH
2.2. Effect of Reaction Temperature
2.3. Effect of Reaction Time
2.4. Effect of Initial Oxygen Pressure
2.5. Discussion
3. Material and Methods
3.1. Materials
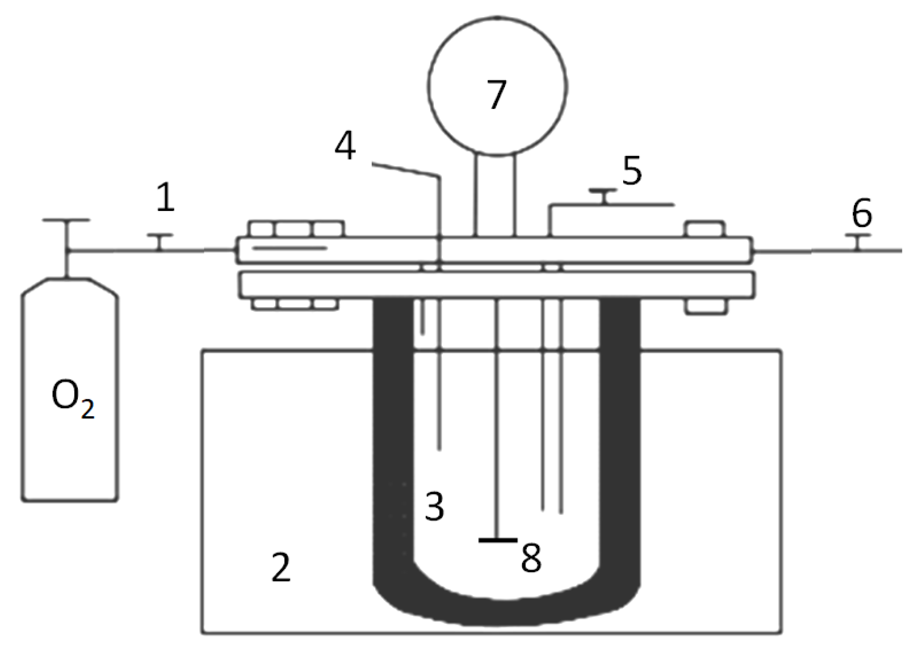
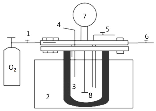
3.2. WO Reaction System
3.3. Analysis
4. Conclusions
Author Contributions
Funding
Data Availability Statement
Conflicts of Interest
References
- Wei, H.Z.; Yan, X.M.; Li, X.R. The degradation of Isophorone by catalytic wet air oxidation on Ru/TiZrO4. J. Hazard. Mater. 2013, 244, 478–488. [Google Scholar] [CrossRef] [PubMed]
- Arora, P.K.; Srivastava, A.; Singh, V.P. Diversity of 4-chloro-2-nitrophenol-degrading bacteria in a wastewater sample. J. Chem. 2016, 1, 7589068. [Google Scholar]
- Mayabhate, S.P.; Gupta, S.K.; Joshi, S.G. Biological treatment of pharmaceutical wastewater. Water Air Soil Pollut. 1998, 38, 189–198. [Google Scholar] [CrossRef]
- Kaya, Y.; Ersan, G.; Vergili, I. The treatment of pharmaceutical waste-water using in a submerged membrane bioreactor under different sludge retention times. J. Membr. Sci. 2013, 442, 72–78. [Google Scholar] [CrossRef]
- Yin, F.B.; Wang, D.L.; Li, Z.F. Study on anaerobic digestion treatment of hazardous colistin sulphate contained pharmaceutical sludge. Bioresour. Technol. 2011, 775, 188–193. [Google Scholar] [CrossRef]
- Yu, H.; Nie, E.; Xu, J. Degradation of diclofenac by advanced oxidation and reduction processes: Kinetic studies, degradation pathways and toxicity assessments. Water Res. 2013, 47, 1909–1918. [Google Scholar] [CrossRef]
- Bustillo, C.; Mehrvar, M. Cost-effectiveness analysis of TOC removal from slaughterhouse wastewater using combined anaerobiceaerobic and UV/H2O2 processes. J. Environ. Manag. 2014, 134, 145–152. [Google Scholar] [CrossRef]
- Pike, P.; Wilson, D.; Baroutian, S. A kinetic model of municipal sludge degradation during non-catalytic wet oxidation. Water Res. 2015, 87, 225–236. [Google Scholar] [CrossRef]
- Robert, R.; Barbati, S.; Ricq, N. Intermediates in wet oxidation of cellulose: Identification of hydroxyl radical and characterization of hydrogen peroxide. Water Res. 2002, 36, 4821–4829. [Google Scholar] [CrossRef]
- Slavik, E.; Galessi, R.; Rapisardi, A. Wet Oxidation as an Advanced and Sustainable Technology for Sludge Treatment and Management: Results fromResearch Activities and Industrial-Scale Experiences. Dry. Technol. 2015, 33, 1309–1317. [Google Scholar] [CrossRef]
- Gasso, S.; Gonzalez, M.; Baldasano, J.M. Wet oxidation of refractory organic compounds in industrial aqueous wastes via the oxyjet technology. Waste Manag. Res. 1995, 13, 37–46. [Google Scholar] [CrossRef]
- Chung, J.; Lee, M.; Lee, Y.; Ahn, J.; Bea, W.; Shim, H. Effects of operational conditions on sludge degradation and organic acids formation in low-critical wet air oxidation. J. Hazard. Mater. 2009, 162, 10–16. [Google Scholar] [CrossRef] [PubMed]
- Strong, P.; McDonald, B.; Gapes, D. Combined thermochemical and fermentative destruction of municipal biosolids: A comparison between thermal hydrolysis and wet oxidative pre-treatment. Bioresour. Technol. 2011, 102, 5520–5526. [Google Scholar] [CrossRef]
- Stuber, F.; Smith, K.M.; Mendoza, M.B. Sewage sludge based carbons for catalytic wet air oxidation of phenolic compounds in batch and trickle bed reactors. Appl. Catal. B Environ. 2011, 110, 81–89. [Google Scholar] [CrossRef]
- Tu, Y.T.; Xiong, Y.; Tian, S.H.; Hong, L.J.; Descorme, C. Catalytic wet air oxidation of 2-chlorophenol over sewage sludge-derived carbon-based catalysts. J. Hazard. Mater. 2014, 276, 88–96. [Google Scholar] [CrossRef] [PubMed]
- Lefvre, S.; Boutin, O.; Ferrasse, J.H. Thermodynamic and kinetic study of phenol degradation by a non catalytic wet air oxidation process. Chemosphere 2011, 84, 1208–1215. [Google Scholar] [CrossRef] [PubMed]
- Ghafoori, S.; Mehrvar, M.; Chan, P. Photo assisted Fenton-like degradation of aqueous poly (acrylic acid): From mechanistic kinetic model to CFD modeling. Chem. Eng. Res. Des. 2013, 91, 2617–2629. [Google Scholar] [CrossRef]
- Peralta, Y.M.; Sanabria, N.R.; Carriazo, J.G. Catalytic wet hydrogen peroxide oxidation of phenolic compounds in coffee wastewater using Al-Fe-pillared clay extrudates. Desal. Water Treat. 2015, 55, 647–654. [Google Scholar] [CrossRef]
- Kong, L.M.; Zhou, X.; Yao, Y. Catalytic wet peroxide oxidation of aniline in wastewater using copper modified SBA-15 as catalyst. Environ. Technol. 2016, 37, 422–429. [Google Scholar] [CrossRef]
- Luck, F. A review of industrial catalytic wet air oxidation processes. Catal. Today 1996, 27, 195–202. [Google Scholar] [CrossRef]
- Zeng, X.; Liu, J.; Zhao, J.F. Catalytic Wet Oxidation of Pharmaceutical Sludge by Molecular Sieve Loaded with Cu/Ce. Catalysts 2018, 8, 67. [Google Scholar] [CrossRef]
- Zeng, X.; Liu, J.; Zhao, J.F. Highly efficient treatment of pharmaceutical sludge by catalytic wet oxidation using CuO-CeO2/gamma-Al2O3 as a catalyst. PLoS ONE 2018, 13, e0199520. [Google Scholar] [CrossRef] [PubMed]
- Marco, B.; Didier, C.; Stephane, D. Performances of soluble metallic salts in the catalytic wet air oxidation of sewage sludge. Catal. Today 2010, 157, 420–424. [Google Scholar]
- Yuan, Z.F.; Zhao, W.N.; Liu, Z.P.; Xu, B.Q. NaOH alone can be a homogeneous catalyst for selective aerobic oxidation of alcohols in water. J. Catal. 2017, 353, 37–43. [Google Scholar] [CrossRef]
- Qin, J.; Akita, K. Catalytic wet air oxidation of ammonia over alumina supported metals. Appl. Catal. B Environ. 1998, 16, 261–268. [Google Scholar] [CrossRef]
- Thomsen, A. Degradation of quinoline by wet oxidation—Kinetic aspects and reaction mechanisms. Water Res. 1998, 32, 136–146. [Google Scholar] [CrossRef]
- Pintar, A.; Besson, M.; Gallezot, P. Catalytic wet air oxidation of Kraft bleach plant effluents in a trickle-bed reactor over a Ru/TiO2 catalyst. Appl. Catal. B Environ. 2001, 31, 275–290. [Google Scholar] [CrossRef]
- Yoshihiro, K.; Tadashi, F.; Takehisa, Y. Catalytic wet oxidation of o-chlorophenol at mild temperatures under alkaline conditions. Water Res. 2005, 39, 29–36. [Google Scholar]
- Ricq, N.; Barbati, S.; Ambrosio, M. Optimization of the degradation of sewage sludge by wet air oxidation. Study of the reaction mechanism on a cellulose model compound. Analusis 2001, 29, 872–877. [Google Scholar] [CrossRef]
- Li, L.; Chen, P.; Earnest, F. Generalized kinetic model for wet oxidation of organic compounds. AICHE J. 1991, 37, 1678–1697. [Google Scholar] [CrossRef]
- Ouyang, E.; Wang, W. The change of spectroscopic characterization and molecular weight distribution in sludge thermal hydrolysis process. China Environ. Sci. 2008, 28, 1062–1067. [Google Scholar]
- Urrea, J.; Collado, S.; Oulego, P.; Díaz, M. Wet oxidation of the structural sludge fractions. J. Clean. Prod. 2017, 168, 1163–1170. [Google Scholar] [CrossRef]
- Wang, F.W.; Wang, Y.Q.; Jin, F.M.; Yao, G.D.; Huo, Z.B.; Zeng, X.; Jing, Z.Z. One-Pot Hydrothermal Conversion of Cellulose into Organic Acids with CuO as an Oxidant. Ind. Eng. Chem. Res. 2014, 53, 7939–7946. [Google Scholar] [CrossRef]








Disclaimer/Publisher’s Note: The statements, opinions and data contained in all publications are solely those of the individual author(s) and contributor(s) and not of MDPI and/or the editor(s). MDPI and/or the editor(s) disclaim responsibility for any injury to people or property resulting from any ideas, methods, instructions or products referred to in the content. |
© 2023 by the authors. Licensee MDPI, Basel, Switzerland. This article is an open access article distributed under the terms and conditions of the Creative Commons Attribution (CC BY) license (https://creativecommons.org/licenses/by/4.0/).
Share and Cite
Zhu, Y.; Zeng, X.; Fang, K. Enhanced Wet Oxidation of Excess Sludge from Pharmaceutical Wastewater Treatment by NaOH. Catalysts 2023, 13, 1070. https://doi.org/10.3390/catal13071070
Zhu Y, Zeng X, Fang K. Enhanced Wet Oxidation of Excess Sludge from Pharmaceutical Wastewater Treatment by NaOH. Catalysts. 2023; 13(7):1070. https://doi.org/10.3390/catal13071070
Chicago/Turabian StyleZhu, Yuting, Xu Zeng, and Kaiyu Fang. 2023. "Enhanced Wet Oxidation of Excess Sludge from Pharmaceutical Wastewater Treatment by NaOH" Catalysts 13, no. 7: 1070. https://doi.org/10.3390/catal13071070
APA StyleZhu, Y., Zeng, X., & Fang, K. (2023). Enhanced Wet Oxidation of Excess Sludge from Pharmaceutical Wastewater Treatment by NaOH. Catalysts, 13(7), 1070. https://doi.org/10.3390/catal13071070
