Impact of 3D Printing Technique and TPE Material on the Endurance of Pneumatic Linear Peristaltic Actuators
Abstract
:1. Introduction
- Effect of the 3D printing technique on the PLPA endurance: ARBURG Plastic Freeforming 3D printing technique was used for manufacturing of the hose prototypes. This technique was chosen as it uses the droplet injection method, which appears to yield in more isotropic prototypes when compared to the FLM technique.
- Effect of the TPE material type (hardness) on the PLPA endurance: in this study, TPE materials with shore hardness levels of 60 A and 82 A were chosen for the printing material. TPE of 60 A is relatively more flexible when compared to 82 A. As such, circular hoses and the geometrically reinforced hoses were printed with both materials, and their corresponding endurances were tested in the PLPA setup.
2. Experimental Setup
2.1. Material
2.2. 3D Printer
- Feed rate part carrier:
- ○
- Speed of axes when moving from point to point without discharge of material.
- Feed rate, continuous extrusion:
- ○
- Speed of the axes when discharging the filling of the part.
- Feed rate, discrete extrusion:
- ○
- Maximum displacement speed of the axes when discharging the contour.
- Drop aspect ratio:
- ○
- This parameter describes the ratio of the width to the height of a droplet after it has been discharged.
- Material discharge:
- ○
- The material discharge is a nozzle flowrate parameter which determines the droplet volume.
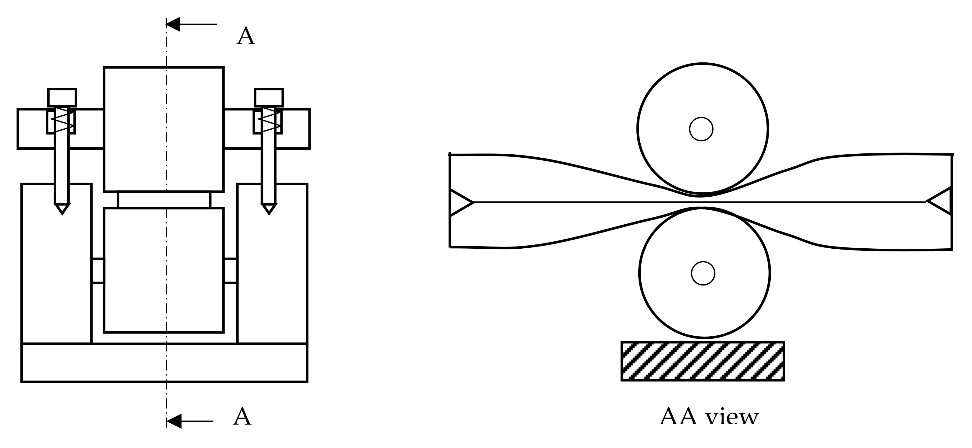
2.3. Pneumatic Test Bed
3. Procedure
4. Results and Discussion
5. Conclusions
Author Contributions
Funding
Acknowledgments
Conflicts of Interest
References
- Ni, F.; Rojas, D.; Tang, K.; Cai, L.; Asfour, T. A jumping robot using soft pneumatic actuator. In Proceedings of the 2015 IEEE International Conference on Robotics and Automation (ICRA), Seattle, WA, USA, 26–30 May 2015; pp. 3154–3159. [Google Scholar]
- Xavier, M.S.; Fleming, A.J.; Yong, Y.K. Design and Control of Pneumatic Systems for Soft Robotics: A Simulation Approach. IEEE Robot. Autom. Lett. 2021, 6, 5800–5807. [Google Scholar] [CrossRef]
- Elmoughni, H.M.; Yilmaz, A.F.; Ozlem, K.; Khalilbayli, F.; Cappello, L.; Tuncay Atalay, A.; Ince, G.; Atalay, O. Machine-Knitted Seamless Pneumatic Actuators for Soft Robotics: Design, Fabrication, and Characterization. Actuators 2021, 10, 94. [Google Scholar] [CrossRef]
- Zhalmuratova, D.; Chung, H. Reinforced Gels and Elastomers for Biomedical and Soft Robotics Applications. ACS Appl. Polym. Mater. 2020, 2, 1073–1091. [Google Scholar] [CrossRef]
- MacCurdy, R.; Katzschmann, R.; Kim, Y.; Rus, D. Printable hydraulics: A method for fabricating robots by 3D co-printing solids and liquids. In Proceedings of the 2016 IEEE International Conference on Robotics and Automation (ICRA), Stockholm, Sweden, 16–21 May 2016; pp. 3878–3885. [Google Scholar]
- Byrne, O.; Coulter, F.; Glynn, M.; Jones, J.; Annaidh, A.; O’Cearbhaill, E.; Holland, D. Additive Manufacture of Composite Soft Pneumatic Actuators. Soft Robot. 2018, 5, 726–736. [Google Scholar] [CrossRef] [PubMed]
- Fracczak, L.; Nowak, M.; Koter, K. Flexible push pneumatic actuator with high elongation. Sens. Actuators A Phys. 2021, 321, 112578. [Google Scholar] [CrossRef]
- Ren, L.; Li, B.; Song, Z.; Liu, Q.; Ren, L.; Zhou, X. 3D printing of structural gradient soft actuators by variation of bioinspired architectures. J. Mater. Sci. 2019, 54, 6542–6551. [Google Scholar] [CrossRef]
- Zolfagharian, A.; Kouzani, A.Z.; Khoo, S.Y.; Moghadam, A.A.A.; Gibson, I.; Kaynak, A. Evolution of 3D printed soft actuators. Sens. Actuators A Phys. 2016, 250, 258–272. [Google Scholar] [CrossRef]
- Qinghua, Y.; Libin, Z.; Guanjun, B.; Sheng, X.; Jian, R. Research on novel flexible pneumatic actuator FPA. In Proceedings of the IEEE Conference on Robotics, Automation and Mechatronics, Singapore, 1–3 December 2004; Volume 381, pp. 385–389. [Google Scholar]
- Mori, S.; Tanaka, K.; Nishikawa, S.; Niiyama, R.; Kuniyoshi, Y. High-Speed Humanoid Robot Arm for Badminton Using Pneumatic-Electric Hybrid Actuators. IEEE Robot. Autom. Lett. 2019, 4, 3601–3608. [Google Scholar] [CrossRef]
- Rouzbeh, B.; Bone, G.; Graham, A.; Li, E. Design, Implementation and Control of an Improved Hybrid Pneumatic-Electric Actuator for Robot Arms. IEEE Access 2018, 7, 14699–14713. [Google Scholar] [CrossRef]
- Li, S.; Vogt, D.; Bartlett, N.; Rus, D.; Wood, R. Tension Pistons: Amplifying Piston Force Using Fluid-Induced Tension in Flexible Materials. Adv. Funct. Mater. 2019, 29, 1901419. [Google Scholar] [CrossRef]
- Falcão Carneiro, J.; Pinto, J.B.; Gomes de Almeida, F.; Fateri, M. Improving Endurance of Pneumatic Linear Peristaltic Actuators. Actuators 2020, 9, 76. [Google Scholar] [CrossRef]
- Falcão Carneiro, J.; Pinto, J.B.; Gomes de Almeida, F.; Fateri, M. Model and Experimental Characteristics of a Pneumatic Linear Peristaltic Actuator. Information 2020, 11, 76. [Google Scholar] [CrossRef] [Green Version]
- Falcão Carneiro, J.; Pinto, J.B.; Gomes de Almeida, F. Accurate Motion Control of a Pneumatic Linear Peristaltic Actuator. Actuators 2020, 9, 63. [Google Scholar] [CrossRef]
- Fateri, M.; Falcão Carneiro, J.; Frick, A.; Pinto, J.B.; Gomes de Almeida, F. Additive Manufacturing of Flexible Material for Pneumatic Actuators Application. Actuators 2021, 10, 161. [Google Scholar] [CrossRef]
- Carneiro, J.F.; Gomes de Almeida, F.; Pinto, J.B. Endurance tests of a linear peristaltic actuator. Int. J. Adv. Manuf. Technol. 2019, 100, 2103–2114. [Google Scholar] [CrossRef]
- Harea, E.; Datta, S.; Stěnička, M.; Maloch, J.; Stoček, R. The Influence of Local Strain Distribution on the Effective Electrical Resistance of Carbon Black Filled Natural Rubber. Polymers 2021, 13, 2411. [Google Scholar] [CrossRef] [PubMed]









| Model | Design |
|---|---|
| A: Conventional hose design with circular cross-section | ![]() |
| B: Geometrically reinforced hose design at the hoses folding areas | ![]() |
| Material | 1 | 2 |
|---|---|---|
| Shore hardness/(DIN ISO 7619-1) | 60 A | 82 A |
| Tensile strength (MPa)/(DIN 53504-S2/ISO 37) | 27 | 45 |
| Elongation at break (%)/(DIN 53504-S2/ISO 37) | 750 | 600 |
| Stress at 20% elongation (MPa)/(DIN 53504-S2/ISO 37) | 1 | 2.5 |
| Stress at 100% elongation (MPa)/(DIN 53504-S2/ISO 37) | 2.5 | 6 |
| Parameter | Range | Interval | Optimum |
|---|---|---|---|
| Build chamber temperature (°C) | 0 and 60–100 | 20 | 60 |
| Feed rate part carrier (mm/s) | 100–250 | 50 | 200 |
| Feed rate, discrete extrusion (mm/s) | 10–20 | 15 | 5 |
| Feed rate, continuous extrusion (mm/s) | 40–65 | 5 | 50 |
| Drop aspect ratio | 1.28–1.36 | 0.02 | 1.30 |
| Material discharge (%) | 65, 67, 70 | - | 70 |
Publisher’s Note: MDPI stays neutral with regard to jurisdictional claims in published maps and institutional affiliations. |
© 2022 by the authors. Licensee MDPI, Basel, Switzerland. This article is an open access article distributed under the terms and conditions of the Creative Commons Attribution (CC BY) license (https://creativecommons.org/licenses/by/4.0/).
Share and Cite
Fateri, M.; Carneiro, J.F.; Schuler, C.; Pinto, J.B.; Gomes de Almeida, F.; Grabmeier, U.; Walcher, T.; Salinas, M. Impact of 3D Printing Technique and TPE Material on the Endurance of Pneumatic Linear Peristaltic Actuators. Micromachines 2022, 13, 392. https://doi.org/10.3390/mi13030392
Fateri M, Carneiro JF, Schuler C, Pinto JB, Gomes de Almeida F, Grabmeier U, Walcher T, Salinas M. Impact of 3D Printing Technique and TPE Material on the Endurance of Pneumatic Linear Peristaltic Actuators. Micromachines. 2022; 13(3):392. https://doi.org/10.3390/mi13030392
Chicago/Turabian StyleFateri, Miranda, João Falcão Carneiro, Constantin Schuler, João Bravo Pinto, Fernando Gomes de Almeida, Udo Grabmeier, Tobias Walcher, and Michael Salinas. 2022. "Impact of 3D Printing Technique and TPE Material on the Endurance of Pneumatic Linear Peristaltic Actuators" Micromachines 13, no. 3: 392. https://doi.org/10.3390/mi13030392
APA StyleFateri, M., Carneiro, J. F., Schuler, C., Pinto, J. B., Gomes de Almeida, F., Grabmeier, U., Walcher, T., & Salinas, M. (2022). Impact of 3D Printing Technique and TPE Material on the Endurance of Pneumatic Linear Peristaltic Actuators. Micromachines, 13(3), 392. https://doi.org/10.3390/mi13030392



