Synchronization of Chaotic Systems and Its Application in Security Terminal Sensing Node of Internet of Things
Abstract
1. Introduction
2. Research Methods
2.1. Generalized Lorenz Chaotic System
2.2. PID Controller Synchronizing Generalized Lorenz Chaotic Systems
2.3. Rössler Chaotic System
2.4. Quasi-Sliding Mode Controller
3. Information Security
3.1. Chaotic System Encryption Architecture for the Information Security
3.2. Information Security
3.3. Simulation of Information Security
3.4. QSMC Synchronized Chaotic System Encryption Architecture for the Information Security
4. Implement
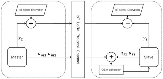
4.1. IoT Signal/Information
4.2. IoT Communication Channel
4.3. Implementation of the Chaotic Encryption System in IoT Information Security
5. Conclusions
Funding
Data Availability Statement
Acknowledgments
Conflicts of Interest
References
- Somani, U.; Lakhani, K.; Mundra, M. Implementing digital signature with RSA encryption algorithm to enhance the Data Security of cloud in Cloud Computing. In Proceedings of the 2010 First International Conference On Parallel, Distributed and Grid Computing (PDGC 2010), Solan, India, 28–30 October 2010; pp. 211–216. [Google Scholar] [CrossRef]
- ElGamal, T. A public key cryptosystem and a signature scheme based on discrete logarithms. IEEE Trans. Inf. 1985, IT-31, 469–472. [Google Scholar] [CrossRef]
- Paillier, P. Public-key cryptosystems based on composite degree residuosity classes. In Proceedings of the International Conference on the Theory and Application of Cryptographic Techniques, Prague, Czech Republic, 1 January 1999; pp. 223–238. [Google Scholar]
- Mughees, A.; Mohsin, S.A. Design and Control of Magnetic Levitation System by Optimizing Fractional Order PID Controller Using Ant Colony Optimization Algorithm. IEEE Access 2020, 8, 116704–116723. [Google Scholar] [CrossRef]
- Utkin, V.; Poznyak, A.; Orlov, Y.; Polyakov, A. Conventional and high order sliding mode control. J. Frankl. Inst. 2020, 357, 10244–10261. [Google Scholar] [CrossRef]
- Wang, J.; Yang, C.; Shen, H.; Cao, J.; Rutkowski, L. Sliding-Mode Control for Slow-Sampling Singularly Perturbed Systems Subject to Markov Jump Parameters. IEEE Trans. Syst. Man Cybern. Syst. 2020, 51, 7579–7586. [Google Scholar] [CrossRef]
- Ott, E.; Grebogi, C.; Yorke, J.A. Theory of 1st order phase-transitions for chaotic attractors of nonlinear dynamical-systems. Phys. Lett. A 1989, 135, 343–348. [Google Scholar] [CrossRef]
- Pecora, L.M.; Carroll, T.L. Synchronization in chaotic systems. Phys. Rev. Lett. 1990, 64, 821–824. [Google Scholar] [CrossRef] [PubMed]
- Lorenz, E.N. Deterministic non-periodic flows. J. Atmos. Sci. 1963, 20, 130–141. [Google Scholar] [CrossRef]
- Azar, A.T.; Vaidyanathan, S. Advances in Chaos Theory and Intelligent Control; Springer International Publishing AG: Chem, Switzerland, 2016. [Google Scholar]
- Wu, J.H.; Liao, X.F.; Yang, B. Image encryption using 2D Hénon-Sine map and DNA approach. Signal Process. 2018, 153, 11–23. [Google Scholar] [CrossRef]
- Rössler, O. An equation for continuous chaos. Phys. Lett. A 1976, 57, 397–398. [Google Scholar] [CrossRef]
- Rössler, O.E. Continuous chaos–four prototype equations, Bifurcation Theory and Applications in Scientific Disciplines. Ann. N. Y. Acad. Sci. 1979, 316, 376–392. [Google Scholar] [CrossRef]
- Jaeger, H.; Haas, H. Harnessing Nonlinearity: Predicting Chaotic Systems and Saving Energy in Wireless Communication. Science 2004, 304, 78–80. [Google Scholar] [CrossRef] [PubMed]
- Liao, T.-L.; Tsai, S.-H. Adaptive synchronization of chaotic systems and its application to secure communications. Chaos Solitons Fractals 2000, 11, 1387–1396. [Google Scholar] [CrossRef]
- Leonov, G.A.; Kuznetsov, N.V. On differences and similarities in the analysis of Lorenz, Chen, and Lu systems. Appl. Math. Comput. 2015, 256, 334–343. [Google Scholar] [CrossRef]
- Liao, T.-L.; Chen, C.-Y.; Chen, H.-C.; Chen, Y.-Y.; Hou, Y.-Y. Realization of a Secure Visible Light Communication System via Chaos Synchronization. Math. Probl. Eng. 2021, 2021, 5073562. [Google Scholar] [CrossRef]
- Glad, T.; Ljung, L. Control Theory; CRC Press: Boca Raton, FL, USA, 2000. [Google Scholar]
- DeJesus, E.X.; Kaufman, C. Routh-Hurwitz criterion in the examination of eigenvalues of a system of nonlinear ordinary differential equations. Phys. Rev. A 1987, 35, 5288–5290. [Google Scholar] [CrossRef] [PubMed]
- Ahmed, E.; El-Sayed, A.M.A.; El-Saka, H.A.A. On some Routh–Hurwitz conditions for fractional order differential equations and their applications in Lorenz, Rössler, Chua and Chen systems. Phys. Lett. A 2006, 358, 1–4. [Google Scholar] [CrossRef]
- Chang, Y.C.; Nima, R.; Gao, S. Neural lyapunov control. arXiv 2020, arXiv:2005.00611. [Google Scholar]
- Liu, L.; Liu, Y.-J.; Chen, A.; Tong, S.; Chen, C.L.P. Integral Barrier Lyapunov function-based adaptive control for switched nonlinear systems. Sci. China Inf. Sci. 2020, 63, 132203. [Google Scholar] [CrossRef]


















| Distance (m) | Delay Time (ms) | Reception Rate |
|---|---|---|
| 10 | 100 | 95.3% |
| 125 | 96.6% | |
| 150 | 97.4% | |
| 175 | 100% | |
| 200 | 100% | |
| 20 | 100 | 93.3% |
| 125 | 94.1% | |
| 150 | 96.8% | |
| 175 | 100% | |
| 200 | 100% | |
| 30 | 100 | 80% |
| 125 | 91.1% | |
| 150 | 94.4% | |
| 175 | 100% | |
| 200 | 100% | |
| 40 | 100 | 77.2% |
| 125 | 81.0% | |
| 150 | 88.2% | |
| 175 | 100% | |
| 200 | 100% |
Publisher’s Note: MDPI stays neutral with regard to jurisdictional claims in published maps and institutional affiliations. |
© 2022 by the author. Licensee MDPI, Basel, Switzerland. This article is an open access article distributed under the terms and conditions of the Creative Commons Attribution (CC BY) license (https://creativecommons.org/licenses/by/4.0/).
Share and Cite
Hou, Y.-Y. Synchronization of Chaotic Systems and Its Application in Security Terminal Sensing Node of Internet of Things. Micromachines 2022, 13, 1993. https://doi.org/10.3390/mi13111993
Hou Y-Y. Synchronization of Chaotic Systems and Its Application in Security Terminal Sensing Node of Internet of Things. Micromachines. 2022; 13(11):1993. https://doi.org/10.3390/mi13111993
Chicago/Turabian StyleHou, Yi-You. 2022. "Synchronization of Chaotic Systems and Its Application in Security Terminal Sensing Node of Internet of Things" Micromachines 13, no. 11: 1993. https://doi.org/10.3390/mi13111993
APA StyleHou, Y.-Y. (2022). Synchronization of Chaotic Systems and Its Application in Security Terminal Sensing Node of Internet of Things. Micromachines, 13(11), 1993. https://doi.org/10.3390/mi13111993

