High-Precision Joint TDOA and FDOA Location System
Abstract
1. Introduction
- We improved the PW-ZFFT algorithm. In the process of calculating the mixing product, the time-domain convolution operation of the signal was replaced by frequency-domain multiplication to achieve a fast calculation of cross-ambiguity functions. For long signals, the frequency-domain method can save more calculations, which is especially important for real-time signal processing.
- To balance the computational efficiency and accuracy of the joint time–frequency difference estimation algorithm, we investigated and adopted the quadratic surface fitting method. This method reduces errors caused by numerical discontinuities near the peak of the cross-ambiguity function without significantly increasing the computational load, thus achieving high precision and rapid estimation of time–frequency differences.
- We constructed a heterogeneous signal processing platform based on FPGA and multi-core DSP for implementing the time–frequency difference localization method. By allocating algorithms rationally on this platform and fully utilizing its architectural advantages, we achieved both software and hardware design implementation for joint time–frequency difference localization.
- We proposed a development optimization method based on multi-core DSP, aimed at enhancing program performance and the real-time nature of data processing. This includes EDMA optimization, cache optimization, and inline functions. Through these optimization strategies, we were able to utilize the resources of the DSP multi-core system more effectively, thus enhancing the real-time processing capability of the time–frequency difference localization algorithm.
2. Related Works
3. Passive Localization System
3.1. Time–Frequency Difference Location Theory
3.2. TDOA and FDOA Estimation
3.2.1. Cross-Ambiguity Function
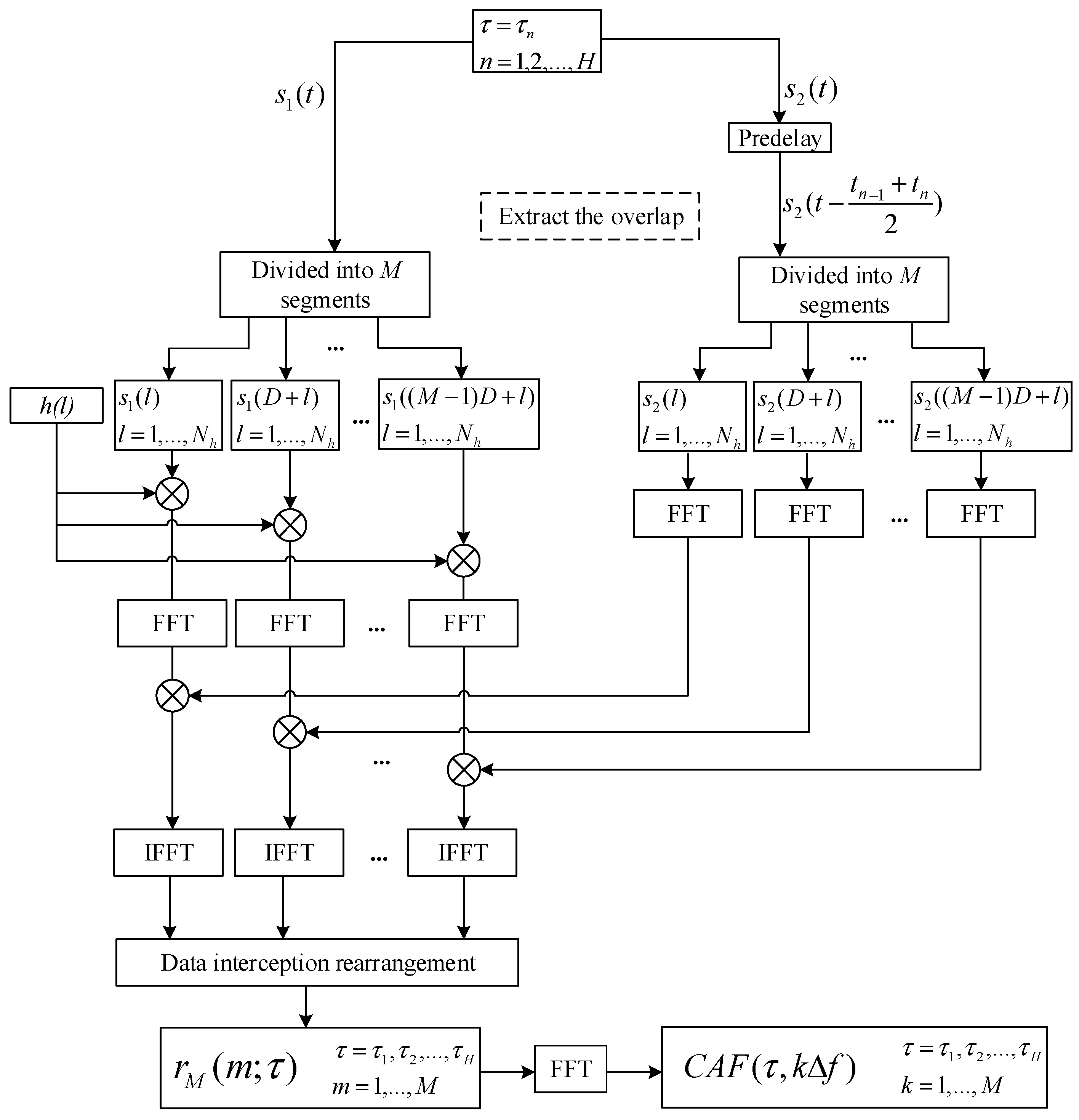
3.2.2. Fast Calculation for CAF
3.3. Quadratic Surface Fitting
3.4. Joint Time–Frequency Difference Localization Method
3.4.1. Time–Frequency Difference Localization Model
3.4.2. Newton’s Method
4. Hardware Platform Design and Algorithm Implementation
4.1. Signal Processing Platform Design
4.2. Algorithm Implementation
4.3. DSP Program Optimizing
- EDMA transfer optimization: EDMA defines data transfers in three dimensions: ACNT, BCNT, and CCNT. In our program design, EDMA is employed for the continuous movement of mixing product matrices. We use the AB synchronous data transfer mode, with ACNT and BCNT playing crucial roles. As the size of ACNT determines the data block size for a single burst transfer in EDMA, we opt for a larger ACNT parameter to enhance the efficiency of EDMA data transfers.
- Inline function and loop unrolling: The “#pragma UNROLL(n)” directive is used to specify that a particular loop needs to be unrolled n times by the compiler. This allows multiple iterations of the loop body to be copied into the program, folding the loop and improving instruction-level parallelism in the code. In the calculation process of time–frequency difference positioning, operations such as fixed-point to floating-point conversion and spectrum shifting are optimized using inline functions and loop unrolling to reduce the overall execution time.
- Cache optimization: During the calculation of the CAF, data from each segment of frequency difference in the mixing product is sequentially moved into the L2 SRAM for FFT and modulus calculations. The DSP kernel needs to access the L2 SRAM multiple times, and the read and write performance of the L2 SRAM highly depends on L1D. Therefore, we configure the entire L1D as cache to improve the efficiency of data retrieval by the kernel. When the kernel accesses the L2 SRAM multiple times, instruction pipelining can help reduce additional overhead, and the cache coherence of the L2 SRAM is automatically maintained by hardware, eliminating the need for manual maintenance.
5. System Validation
5.1. Time–Frequency Difference Estimation Results
- Data format: MATLAB’s data format comprises double-precision floating-point numbers, while hardware (DSP and FPGA) uses fixed-point numbers and single-precision floating-point numbers.
- Programming language characteristics: The underlying logic of the programming language used by DSP and FPGA is different from that used by a MATLAB simulation, which also affects their different rounding and truncation strategies when processing numerical values, resulting in cumulative errors.
5.2. Real-Time Performance Analysis
6. Conclusions
Author Contributions
Funding
Data Availability Statement
Acknowledgments
Conflicts of Interest
References
- Devi, M.; Dhabale, N.R. Active and Passive Radar-Location Systems for the Calculation of Coordinates. In Proceedings of the 2017 International Conference on Innovative Mechanisms for Industry Applications (ICIMIA) 2017, Bengaluru, India, 21–23 February 2017; pp. 770–773. [Google Scholar]
- Antonyuk, V.; Prudyus, I.; Nichoga, V.; Kawalec, A. Integration of Passive Coherent Radar System into the Passive TDOA System. In Proceedings of the 2012 13th International Radar Symposium, Warsaw, Poland, 23–25 May 2012; pp. 354–358. [Google Scholar]
- Zhu, Y.; Zhang, S. Passive Location Based on an Accurate Doppler Measurement by Single Satellite. In Proceedings of the 2017 IEEE Radar Conference (RadarConf), Seattle, WA, USA, 8–12 May 2017; pp. 1424–1427. [Google Scholar]
- Wu, H.; Wu, Z.-H.; Shi, Z.-S.; Sun, S.-Y. Research on Multi-Moving Target Location Algorithm Based on Improved TDOA/FDOA. Meas. Control 2023, 56, 938–952. [Google Scholar] [CrossRef]
- Sun, P.; Zhang, G.; Qu, D.; Ji, H.; Guo, H. Cross Ambiguity Function Interpolation Algorithm for FDOA Estimation of Signal Location. In Proceedings of the 2019 IEEE 11th International Conference on Communication Software and Networks (ICCSN), Chongqing, China, 12–15 June 2019; pp. 202–205. [Google Scholar]
- A Joint TDOA, FDOA and Doppler Rate Parameters Estimation Method and Its Performance Analysis|IEEE Conference Publication|IEEE Xplore. Available online: https://ieeexplore.ieee.org/document/8855429 (accessed on 19 December 2023).
- Huang, L.; Zhang, Y.; Li, Q.; Pan, C.; Song, J. Fast Calculation for Cross Ambiguity Function in Passive Detection Systems. In Proceedings of the 2018 International Conference on Sensing, Diagnostics, Prognostics, and Control (SDPC), Xi’an, China, 15–17 August 2018; pp. 690–694. [Google Scholar]
- Junjie, L.; You, H.; Jie, S. The Algorithms and Performance Analysis of Cross Ambiguity Function. In Proceedings of the 2009 IET International Radar Conference, Guilin, China, 20–22 April 2009; pp. 1–4. [Google Scholar]
- Kim, D.-G.; Park, G.-H.; Kim, H.-N.; Park, J.-O.; Park, Y.-M.; Shin, W.-H. Computationally Efficient TDOA/FDOA Estimation for Unknown Communication Signals in Electronic Warfare Systems. IEEE Trans. Aerosp. Electron. Syst. 2018, 54, 77–89. [Google Scholar] [CrossRef]
- Shin, D.C.; Nikias, C.L. Complex Ambiguity Functions Using Nonstationary Higher Order Cumulant Estimates. IEEE Trans. Signal Process. 1995, 43, 2649–2664. [Google Scholar] [CrossRef]
- Ulman, R.; Geraniotis, E. Wideband TDOA/FDOA Processing Using Summation of Short-Time CAF’s. IEEE Trans. Signal Process. 1999, 47, 3193–3200. [Google Scholar] [CrossRef] [PubMed]
- Ho, K.C.; Xu, W. An Accurate Algebraic Solution for Moving Source Location Using TDOA and FDOA Measurements. IEEE Trans. Signal Process. 2004, 52, 2453–2463. [Google Scholar] [CrossRef]
- Yu, H.; Huang, G.; Gao, J.; Liu, B. An Efficient Constrained Weighted Least Squares Algorithm for Moving Source Location Using TDOA and FDOA Measurements. IEEE Trans. Wirel. Commun. 2012, 11, 44–47. [Google Scholar] [CrossRef]
- Sun, X.; Li, J.; Huang, P.; Pang, J. Total Least-Squares Solution of Active Target Localization Using TDOA and FDOA Measurements in WSN. In Proceedings of the 22nd International Conference on Advanced Information Networking and Applications—Workshops (aina workshops 2008), Gino-wan, Japan, 25–28 March 2008; pp. 995–999. [Google Scholar]
- Zheng, L.; Wang, X. Super-Resolution Delay-Doppler Estimation for OFDM Passive Radar. IEEE Trans. Signal Process. 2017, 65, 2197–2210. [Google Scholar] [CrossRef]
- Fuyang, G.U.O.; Zijing, Z.; Linsen, Y. TDOA/FDOA estimation algorithm for linear frequency modulated signals. Chin. J. Radio Sci. 2016, 31, 166–172. [Google Scholar]
- Hu, D.; Huang, Z.; Liang, K.; Zhang, S. Coherent TDOA/FDOA Estimation Method for Frequency-Hopping Signal. In Proceedings of the 2016 8th International Conference on Wireless Communications & Signal Processing (WCSP), Yangzhou, China, 13–15 October 2016; pp. 1–5. [Google Scholar]
- Kumarasiri, R.; Alshamaileh, K.; Tran, N.H.; Devabhaktuni, V. An Improved Hybrid RSS/TDOA Wireless Sensors Localization Technique Utilizing Wi-Fi Networks. Mobile Netw. Appl. 2016, 21, 286–295. [Google Scholar] [CrossRef]
- Zhang, R.; Xia, W.; Yan, F.; Shen, L. A Single-Site Positioning Method Based on TOA and DOA Estimation Using Virtual Stations in NLOS Environment. China Commun. 2019, 16, 146–159. [Google Scholar]
- Wang, Y.; Ho, K.C. Unified Near-Field and Far-Field Localization for AOA and Hybrid AOA-TDOA Positionings. IEEE Trans. Wireless Commun. 2018, 17, 1242–1254. [Google Scholar] [CrossRef]
- Feng, C.; Au, W.S.A.; Valaee, S.; Tan, Z. Received-Signal-Strength-Based Indoor Positioning Using Compressive Sensing. IEEE Trans. on Mobile Comput. 2012, 11, 1983–1993. [Google Scholar] [CrossRef]
- Zhao, C.; Zhao, Y. One Recurrent Neural Networks Solution for Passive Localization. Neural Process Lett. 2019, 49, 787–796. [Google Scholar] [CrossRef]
- Huang, G.; Xi, Z.; Zhou, Y.; Zhou, J. A Novel TDOA Location Algorithm for Passive Radar. In Proceedings of the 2006 CIE International Conference on Radar, 2006, Shanghai, China, 16–19 October 2006; pp. 1–4. [Google Scholar]
- Qu, F.; Guo, F.; Jiang, W.; Meng, X. Constrained Location Algorithms Based on Total Least Squares Method Using TDOA and FDOA Measurements. In Proceedings of the International Conference on Automatic Control and Artificial Intelligence (ACAI 2012), Xiamen, China, 3–5 March 2012; pp. 689–692. [Google Scholar]
- Shilong, W.; Jingqing, L.; Liangliang, G. Joint FDOA and TDOA Location Algorithm and Performance Analysis of Dual-Satellite Formations. In Proceedings of the 2010 2nd International Conference on Signal Processing Systems, Dalian, China, 5–6 July 2010; Volume 2, pp. V2-339–V2-342. [Google Scholar]
- Wang, K.; Chen, Z.; Yan, Q. Research on Multi-Platform Time Difference of Arrival and Frequency Difference of Arrival Joint Location Technology. In Proceedings of the 2021 IEEE 6th International Conference on Signal and Image Processing (ICSIP), Nanjing, China, 22–24 October 2021; pp. 563–567. [Google Scholar]
- Overfield, J.; Biskaduros, Z.; Buehrer, R.M. Geolocation of MIMO Signals Using the Cross Ambiguity Function and TDOA/FDOA. In Proceedings of the 2012 IEEE International Conference on Communications (ICC), Ottawa, ON, Canada, 10–15 June 2012. [Google Scholar]
- One Intelligent Algorithm for Estimation of TDOA and FDOA|IEEE Conference Publication|IEEE Xplore. Available online: https://ieeexplore.ieee.org/document/7065099 (accessed on 22 December 2023).
- Research on Fast Computation of Ambiguity Function|IEEE Conference Publication|IEEE Xplore. Available online: https://ieeexplore.ieee.org/document/4566145 (accessed on 22 December 2023).
- A Fast Method for Time Delay, Doppler Shift and Doppler Rate Estimation|IEEE Conference Publication|IEEE Xplore. Available online: https://ieeexplore.ieee.org/document/4148486 (accessed on 22 December 2023).
- Wei-qiang, Z.; Rau, T.; Yong-feng, M. Fast Computation of the Ambiguity Function. In Proceedings 7th International Conference on Signal Processing, 2004. Proceedings. ICSP ’04. 2004, Beijing, China, 31 August–4 September 2004; IEEE: Beijing, China, 2004; Volume 3, pp. 2124–2127. [Google Scholar]
- Deng, L.; Leng, K. Application of Two Spectrum Refinement Methods in Frequency Estimation. J. Phys. Conf. Ser. 2022, 2290, 012070. [Google Scholar] [CrossRef]
- Stein, S. Algorithms for Ambiguity Function Processing. IEEE Trans. Acoust. Speech Signal Process. 1981, 29, 588–599. [Google Scholar] [CrossRef]
- Tao, R.; Zhang, W.-Q.; Chen, E.-Q. Two-Stage Method for Joint Time Delay and Doppler Shift Estimation. IET Radar Sonar Amp Navig. 2008, 2, 71–77. [Google Scholar] [CrossRef]
- Jiang, F.; Zhang, Z.; Esmaeili Najafabadi, H.; Yang, Y. Underwater TDOA/FDOA Joint Localisation Method Based on Cross-Ambiguity Function. IET Radar Sonar Navig. 2020, 14, 1256–1266. [Google Scholar] [CrossRef]
- Target Location Based on Quasi-Newton Algorithm in Multistatic Passive Radar|IET Conference Publication|IEEE Xplore. Available online: https://ieeexplore.ieee.org/document/7455659 (accessed on 22 December 2023).
- Joint Estimation of Time Delay and Doppler Shift for Band-Limited Signals|IEEE Journals & Magazine|IEEE Xplore. Available online: https://ieeexplore.ieee.org/document/5471174 (accessed on 22 December 2023).
- TMS320C6678 Optimizing Compiler v7.4 User’s Guide; Texas Instruments Incorporated: Dallas, TX, USA, 2012.







| Parameter | Value |
|---|---|
| Signal frequency | 10 |
| Sampling frequency | 200 |
| Signal duration | 0.05 |
| TDOA search scope | [−0.01, 0.01] |
| FDOA search scope | [−500, 500] |
| TDOA Estimation/ | FDOA Estimation/ | |
|---|---|---|
| Simulation result | 0.02 | −9.722598 × 10−5 |
| Hardware test result | 0.01999816 | −9.722599 × 10−5 |
| Calculation Modules | Before Optimization/ms | After Optimization/ms |
|---|---|---|
| Data type conversion | 1076.47 | 633.83 |
| CAF calculation | 1141.06 | 805.12 |
| Quadratic surface fitting | 537.30 | 430.50 |
| Positioning calculation | 581.66 | 446.72 |
Disclaimer/Publisher’s Note: The statements, opinions and data contained in all publications are solely those of the individual author(s) and contributor(s) and not of MDPI and/or the editor(s). MDPI and/or the editor(s) disclaim responsibility for any injury to people or property resulting from any ideas, methods, instructions or products referred to in the content. |
© 2024 by the authors. Licensee MDPI, Basel, Switzerland. This article is an open access article distributed under the terms and conditions of the Creative Commons Attribution (CC BY) license (https://creativecommons.org/licenses/by/4.0/).
Share and Cite
Xiao, G.; Dong, Q.; Liao, G.; Li, S.; Xu, K.; Quan, Y. High-Precision Joint TDOA and FDOA Location System. Remote Sens. 2024, 16, 693. https://doi.org/10.3390/rs16040693
Xiao G, Dong Q, Liao G, Li S, Xu K, Quan Y. High-Precision Joint TDOA and FDOA Location System. Remote Sensing. 2024; 16(4):693. https://doi.org/10.3390/rs16040693
Chicago/Turabian StyleXiao, Guoyao, Qianhui Dong, Guisheng Liao, Shuai Li, Kaijie Xu, and Yinghui Quan. 2024. "High-Precision Joint TDOA and FDOA Location System" Remote Sensing 16, no. 4: 693. https://doi.org/10.3390/rs16040693
APA StyleXiao, G., Dong, Q., Liao, G., Li, S., Xu, K., & Quan, Y. (2024). High-Precision Joint TDOA and FDOA Location System. Remote Sensing, 16(4), 693. https://doi.org/10.3390/rs16040693

