Ground Deformation Monitoring over Xinjiang Coal Fire Area by an Adaptive ERA5-Corrected Stacking-InSAR Method
Abstract
1. Introduction
2. Study Area and Datasets
2.1. Study Area
2.2. Datasets
2.2.1. ERA5 Dataset
2.2.2. Sentinel-1 Dataset
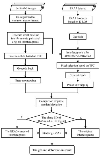
3. Methods
3.1. Direction-LOS (D-LOS) Phase Delay Calculation
- a.
- Determination of the sampling locations along the LOS path.
- b.
- Interpolation of atmospheric parameters.
3.2. Stacking-InSAR
3.3. An Adaptive ERA5-Corrected Stacking-InSAR
4. Results and Analysis
4.1. Atmospheric Correction Results and Analysis
4.2. Deformation Monitoring Result and Analysis
5. Discussion
5.1. Internal Accuracy
5.2. Comparison with GACOS-Corrected Stacking-InSAR Results
5.3. Coal Fire Related Ground Deformation Anomalies Identification
6. Conclusions
Author Contributions
Funding
Data Availability Statement
Acknowledgments
Conflicts of Interest
References
- Tan, Y. Disaster and control of spontaneous combustion in coal field, China. Meitiandizhi Kantan 2000, 28, 8–10. [Google Scholar]
- Rosema, A.; Guan, H.; Veld, H. Simulation of spontaneous combustion, to study the causes of coal fires in the Rujigou Basin. Fuel 2001, 80, 7–16. [Google Scholar] [CrossRef]
- Deng, J.; Ge, S.; Qi, H.; Zhou, F.; Shi, B. Underground coal fire emission of spontaneous combustion, Sandaoba coalfield in Xinjiang, China: Investigation and analysis. Sci. Total Environ. 2021, 777, 146080. [Google Scholar] [CrossRef] [PubMed]
- Qi, X.; Wang, D.; Xin, H.; Zhong, X. Environmental Hazards of Coal Fire and Their Prevention in China. Environ. Eng. Manag. J. (EEMJ) 2013, 12, 1915–1919. [Google Scholar] [CrossRef]
- Jianjun, W.; Weiguo, J.; Xiaochen, L.; Lei, G.; Jiahong, L. Innovative Technologies for Exploration, Monitoring and Extinction of Underground Coal Fires. J. China Coal Soc. 2009, 34, 1669–1674. [Google Scholar]
- Stracher, G.B. Coal fires burning around the world: A global catastrophe. Int. J. Coal Geol. 2004, 1, 1–152. [Google Scholar] [CrossRef]
- Zhou, B.; Wu, J.; Wang, J.; Wu, Y. Surface-based radon detection to identify spontaneous combustion areas in small abandoned coal mine gobs: Case study of a small coal mine in China. Process Saf. Environ. Prot. 2018, 119, 223–232. [Google Scholar] [CrossRef]
- Xueqing, Z.; Yu, Z.; Mingda, Y.; Xiaofei, L.; Tian, W.; Sherong, H. Damages and Cellenge for Governing of Coalfield Fires in Xinjiang. China Min. Mag. 2014, 23, 93–96. [Google Scholar]
- Tan, B.; Zhang, F.; Zhang, Q.; Wei, H.; Shao, Z. Firefighting of subsurface coal fires with comprehensive techniques for detection and control: A case study of the Fukang coal fire in the Xinjiang region of China. Environ. Sci. Pollut. Res. 2019, 26, 29570–29584. [Google Scholar] [CrossRef]
- Shao, Z.; Jia, X.; Zhong, X.; Wang, D.; Wei, J.; Wang, Y.; Chen, L. Detection, extinguishing, and monitoring of a coal fire in Xinjiang, China. Environ. Sci. Pollut. Res. 2018, 25, 26603–26616. [Google Scholar] [CrossRef]
- Xie, J.; Xue, S.; Cheng, W.; Wang, G. Early detection of spontaneous combustion of coal in underground coal mines with development of an ethylene enriching system. Int. J. Coal Geol. 2011, 85, 123–127. [Google Scholar] [CrossRef]
- Singh, A.K.; Singh, R.; Singh, M.P.; Chandra, H.; Shukla, N. Mine fire gas indices and their application to Indian underground coal mine fires. Int. J. Coal Geol. 2007, 69, 192–204. [Google Scholar] [CrossRef]
- Zhang, J.; Wagner, W.; Prakash, A.; Mehl, H.; Voigt, S. Detecting coal fires using remote sensing techniques. Int. J. Remote Sens. 2004, 25, 3193–3220. [Google Scholar] [CrossRef]
- Riyas, M.J.; Syed, T.H.; Kumar, H.; Kuenzer, C. Detecting and Analyzing the Evolution of Subsidence Due to Coal Fires in Jharia Coalfield, India Using Sentinel-1 SAR Data. Remote Sens. 2021, 13, 1521. [Google Scholar] [CrossRef]
- Yuan, G.; Wang, Y.; Zhao, F.; Wang, T.; Zhang, L.; Hao, M.; Yan, S.; Dang, L.; Peng, B. Accuracy assessment and scale effect investigation of UAV thermography for underground coal fire surface temperature monitoring. Int. J. Appl. Earth Obs. Geoinf. 2021, 102, 102426. [Google Scholar] [CrossRef]
- Liu, J.; Wang, Y.; Yan, S.; Zhao, F.; Li, Y.; Dang, L.; Liu, X.; Shao, Y.; Peng, B. Underground coal fire detection and monitoring based on Landsat-8 and Sentinel-1 data sets in Miquan fire area, XinJiang. Remote Sens. 2021, 13, 1141. [Google Scholar] [CrossRef]
- Wang, Y.; Yuan, G.; Wang, T.; Liu, J.; Zhao, F.; Feng, H.; Dang, L.; Peng, K.; Zhang, L. Research on Multi-Source Remote Sensing Detection of Concealed Fire Sources in Coalfields; Geomatics and Information Science of Wuhan University: Wuhan, China, 2022; pp. 1651–1661. [Google Scholar]
- Huo, H.; Jiang, X.; Song, X.; Li, Z.L.; Ni, Z.; Gao, C. Detection of coal fire dynamics and propagation direction from multi-temporal nighttime Landsat SWIR and TIR data: A case study on the Rujigou coalfield, Northwest (NW) China. Remote Sens. 2014, 6, 1234–1259. [Google Scholar] [CrossRef]
- Yan, S.; Shi, K.; Li, Y.; Liu, J.; Zhao, H. Integration of satellite remote sensing data in underground coal fire detection: A case study of the Fukang region, Xinjiang, China. Front. Earth Sci. 2020, 14, 1–12. [Google Scholar] [CrossRef]
- Wang, T.; Wang, Y.; Zhao, F.; Feng, H.; Liu, J.; Zhang, L.; Zhang, N.; Yuan, G.; Wang, D. A spatio-temporal temperature-based thresholding algorithm for underground coal fire detection with satellite thermal infrared and radar remote sensing. Int. J. Appl. Earth Obs. Geoinf. 2022, 110, 102805. [Google Scholar] [CrossRef]
- Mansor, S.B.; Cracknell, A.P.; Shilin, B.; Gornyi, V. Monitoring of underground coal fires using thermal infrared data. Int. J. Remote Sens. 1994, 15, 1675–1685. [Google Scholar] [CrossRef]
- Kuenzer, C.; Zhang, J.; Jing, L.; Huadong, G.; Dech, S. Thermal infrared remote sensing of surface and underground coal fires. In Thermal Infrared Remote Sensing: Sensors, Methods, Applications; Springer: Berlin/Heidelberg, Germany, 2013; pp. 429–451. [Google Scholar]
- Shao, Z.; Li, Y.; Deng, R.; Wang, D.; Zhong, X. Three-dimensional-imaging thermal surfaces of coal fires based on UAV thermal infrared data. Int. J. Remote Sens. 2021, 42, 672–692. [Google Scholar] [CrossRef]
- Gao, Y.; Hao, M.; Wang, Y.; Dang, L.; Guo, Y. Multi-scale coal fire detection based on an improved active contour model from Landsat-8 Satellite and UAV images. ISPRS Int. J. Geo-Inf. 2021, 10, 449. [Google Scholar] [CrossRef]
- Ferretti, A.; Prati, C.; Rocca, F. Permanent scatterers in SAR interferometry. IEEE Trans. Geosci. Remote Sens. 2001, 39, 8–20. [Google Scholar] [CrossRef]
- Berardino, P.; Fornaro, G.; Lanari, R.; Sansosti, E. A new algorithm for surface deformation monitoring based on small baseline differential SAR interferograms. IEEE Trans. Geosci. Remote Sens. 2002, 40, 2375–2383. [Google Scholar] [CrossRef]
- Polcari, M.; Montuori, A.; Bignami, C.; Moro, M.; Stramondo, S.; Tolomei, C. Using multi-band InSAR data for detecting local deformation phenomena induced by the 2016–2017 Central Italy seismic sequence. Remote Sens. Environ. 2017, 201, 234–242. [Google Scholar] [CrossRef]
- Camacho, A.G.; Fernández, J.; Samsonov, S.V.; Tiampo, K.F.; Palano, M. 3D multi-source model of elastic volcanic ground deformation. Earth Planet. Sci. Lett. 2020, 547, 116445. [Google Scholar] [CrossRef]
- Zhang, X.; Feng, M.; Zhang, H.; Wang, C.; Tang, Y.; Xu, J.; Yan, D.; Wang, C. Detecting Rock Glacier Displacement in the Central Himalayas Using Multi-Temporal InSAR. Remote Sens. 2021, 13, 4738. [Google Scholar] [CrossRef]
- Zhao, F.; Mallorqui, J.J.; Iglesias, R.; Gili, J.A.; Corominas, J. Landslide monitoring using multi-temporal SAR interferometry with advanced persistent scatterers identification methods and super high-spatial resolution TerraSAR-X images. Remote Sens. 2018, 10, 921. [Google Scholar] [CrossRef]
- Escayo, J.; Marzan, I.; Martí, D.; Tornos, F.; Farci, A.; Schimmel, M.; Carbonell, R.; Fernández, J. Radar Interferometry as a Monitoring Tool for an Active Mining Area Using Sentinel-1 C-Band Data, Case Study of Riotinto Mine. Remote Sens. 2022, 14, 3061. [Google Scholar] [CrossRef]
- Jiang, L.; Lin, H.; Ma, J.; Kong, B.; Wang, Y. Potential of small-baseline SAR interferometry for monitoring land subsidence related to underground coal fires: Wuda (Northern China) case study. Remote Sens. Environ. 2011, 115, 257–268. [Google Scholar] [CrossRef]
- Liu, J.; Wang, Y.; Li, Y.; Dang, L.; Liu, X.; Zhao, H.; Yan, S. Underground coal fires identification and monitoring using time-series InSAR with persistent and distributed scatterers: A case study of Miquan coal fire zone in Xinjiang, China. IEEE Access 2019, 7, 164492–164506. [Google Scholar] [CrossRef]
- Kai, P. Research on Surface Deformation Monitoring Using DS-InSAR in Fukang Coal fire Area, Xinjiang. Master’s Thesis, China University of Mining and Technology, Beijing, China, 2021. [Google Scholar]
- Chatterjee, R.; Thapa, S.; Singh, K.; Varunakumar, G.; Raju, E. Detecting, mapping and monitoring of land subsidence in Jharia Coalfield, Jharkhand, India by spaceborne differential interferometric SAR, GPS and precision levelling techniques. J. Earth Syst. Sci. 2015, 124, 1359–1376. [Google Scholar] [CrossRef]
- Ferretti, A.; Fumagalli, A.; Novali, F.; Prati, C.; Rocca, F.; Rucci, A. A new algorithm for processing interferometric data-stacks: SqueeSAR. IEEE Trans. Geosci. Remote Sens. 2011, 49, 3460–3470. [Google Scholar] [CrossRef]
- Zhao, F.; Mallorqui, J.J. SMF-POLOPT: An adaptive multitemporal pol (DIn) SAR filtering and phase optimization algorithm for PSI applications. IEEE Trans. Geosci. Remote Sens. 2019, 57, 7135–7147. [Google Scholar] [CrossRef]
- Zhao, F.; Mallorqui, J.J. Coherency matrix decomposition-based polarimetric persistent scatterer interferometry. IEEE Trans. Geosci. Remote Sens. 2019, 57, 7819–7831. [Google Scholar] [CrossRef]
- Zhao, F.; Wang, T.; Zhang, L.; Feng, H.; Yan, S.; Fan, H.; Xu, D.; Wang, Y. Polarimetric Persistent Scatterer Interferometry for Ground Deformation Monitoring with VV-VH Sentinel-1 Data. Remote Sens. 2022, 14, 309. [Google Scholar] [CrossRef]
- Yu, C.; Li, Z.; Penna, N.T. Interferometric synthetic aperture radar atmospheric correction using a GPS-based iterative tropospheric decomposition model. Remote Sens. Environ. 2018, 204, 109–121. [Google Scholar] [CrossRef]
- Bekaert, D.; Walters, R.; Wright, T.; Hooper, A.; Parker, D. Statistical comparison of InSAR tropospheric correction techniques. Remote Sens. Environ. 2015, 170, 40–47. [Google Scholar] [CrossRef]
- Shamshiri, R.; Motagh, M.; Nahavandchi, H.; Haghighi, M.H.; Hoseini, M. Improving tropospheric corrections on large-scale Sentinel-1 interferograms using a machine learning approach for integration with GNSS-derived zenith total delay (ZTD). Remote Sens. Environ. 2020, 239, 111608. [Google Scholar] [CrossRef]
- Dong, J.; Zhang, L.; Liao, M.; Gong, J. Improved correction of seasonal tropospheric delay in InSAR observations for landslide deformation monitoring. Remote Sens. Environ. 2019, 233, 111370. [Google Scholar] [CrossRef]
- González, P.J.; Tiampo, K.F.; Camacho, A.G.; Fernández, J. Shallow Flank Deformation at Cumbre Vieja Volcano (Canary Islands): Implications on the Stability of Steep-Sided Volcano Flanks at Oceanic Islands; Elsevier: Amsterdam, The Netherlands, 2010. [Google Scholar]
- Carmon, N.; Berk, A.; Bohn, N.; Brodrick, P.G.; Kalashnikova, O.; Nguyen, H.; Thompson, D.R.; Turmon, M. Unified Topographic and Atmospheric Correction for Remote Imaging Spectroscopy. Front. Remote Sens. 2022, 3, 916155. [Google Scholar] [CrossRef]
- Jolivet, R.; Agram, P.S.; Lin, N.Y.; Simons, M.; Doin, M.P.; Peltzer, G.; Li, Z. Improving InSAR geodesy using global atmospheric models. J. Geophys. Res. Solid Earth 2014, 119, 2324–2341. [Google Scholar] [CrossRef]
- Jolivet, R.; Grandin, R.; Lasserre, C.; Doin, M.P.; Peltzer, G. Systematic InSAR tropospheric phase delay corrections from global meteorological reanalysis data. Geophys. Res. Lett. 2011, 38. [Google Scholar] [CrossRef]
- Hu, Z.; Mallorqui, J.J. A direct method to estimate atmospheric phase delay for InSAR with global atmospheric models. In Proceedings of the IGARSS 2018-2018 IEEE International Geoscience and Remote Sensing Symposium, Valencia, Spain, 22–27 July 2018; IEEE: New York, NY, USA, 2018; pp. 2196–2199. [Google Scholar]
- Hu, Z. Atmospheric Artifacts Correction for InSAR Using Empirical Model and nUmerical Weather Prediction Models; Universitat Politècnica de Catalunya: Barcelona, Spain, 2019. [Google Scholar]
- Hu, Z.; Mallorquí, J.J. An accurate method to correct atmospheric phase delay for insar with the era5 global atmospheric model. Remote Sens. 2019, 11, 1969. [Google Scholar] [CrossRef]
- Fernández, J.; Escayo, J.; Hu, Z.; Camacho, A.G.; Samsonov, S.V.; Prieto, J.F.; Tiampo, K.F.; Palano, M.; Mallorquí, J.J.; Ancochea, E. Detection of volcanic unrest onset in La Palma, Canary Islands, evolution and implications. Sci. Rep. 2021, 11, 2540. [Google Scholar] [CrossRef]
- Fernández, J.; Escayo, J.; Camacho, A.G.; Palano, M.; Prieto, J.F.; Hu, Z.; Samsonov, S.V.; Tiampo, K.F.; Ancochea, E. Shallow magmatic intrusion evolution below La Palma before and during the 2021 eruption. Sci. Rep. 2022, 12, 20257. [Google Scholar] [CrossRef]
- Hersbach, H. The ERA5 Atmospheric Reanalysis. In Proceedings of the AGU fall Meeting Abstracts, Francisco, CA, USA, 12–16 December 2016; Volume 2016, p. NG33D–01. [Google Scholar]
- Hersbach, H.; Bell, B.; Berrisford, P.; Hirahara, S.; Horányi, A.; Muñoz-Sabater, J.; Nicolas, J.; Peubey, C.; Radu, R.; Schepers, D.; et al. The ERA5 global reanalysis. Q. J. R. Meteorol. Soc. 2020, 146, 1999–2049. [Google Scholar] [CrossRef]
- Xiao, R.; Yu, C.; Li, Z.; He, X. Statistical assessment metrics for InSAR atmospheric correction: Applications to generic atmospheric correction online service for InSAR (GACOS) in Eastern China. Int. J. Appl. Earth Obs. Geoinf. 2021, 96, 102289. [Google Scholar] [CrossRef]
- Smith, E.K.; Weintraub, S. The constants in the equation for atmospheric refractive index at radio frequencies. Proc. IRE 1953, 41, 1035–1037. [Google Scholar] [CrossRef]
- Sandwell, D.T.; Price, E.J. Phase gradient approach to stacking interferograms. J. Geophys. Res. Solid Earth 1998, 103, 30183–30204. [Google Scholar] [CrossRef]
- Li, Z. Locating the Small 1999 Frenchman Flat, Nevada Earthquake with InSAR Stacking. J. Geod. Geoinf. Sci. 2022, 5, 39. [Google Scholar]
- Zhang, L.; Dai, K.; Deng, J.; Ge, D.; Liang, R.; Li, W.; Xu, Q. Identifying potential landslides by stacking-InSAR in southwestern China and its performance comparison with SBAS-InSAR. Remote Sens. 2021, 13, 3662. [Google Scholar] [CrossRef]
- Kang, Y.; Zhao, C.; Zhang, Q.; Lu, Z.; Li, B. Application of InSAR techniques to an analysis of the Guanling landslide. Remote Sens. 2017, 9, 1046. [Google Scholar] [CrossRef]
- Xu, Y.; Li, T.; Tang, X.; Zhang, X.; Fan, H.; Wang, Y. Research on the Applicability of DInSAR, Stacking-InSAR and SBAS-InSAR for Mining Region Subsidence Detection in the Datong Coalfield. Remote Sens. 2022, 14, 3314. [Google Scholar] [CrossRef]
- Xiao, R.; Yu, C.; Li, Z.; Song, C.; He, X. General Survey of Large-scale Land Subsidence by GACOS-Corrected InSAR Stacking: Case Study in North China Plain. Proc. Int. Assoc. Hydrol. Sci. 2020, 382, 213–218. [Google Scholar] [CrossRef]
- Zhao, F.; Mallorqui, J.J. A temporal phase coherence estimation algorithm and its application on DInSAR pixel selection. IEEE Trans. Geosci. Remote Sens. 2019, 57, 8350–8361. [Google Scholar] [CrossRef]
- Ge, D. Research on the Key Techniques of SAR Interferometry for Reg ional Land Subsidence Monitoring; China University of Geosciences Beijing: Beijing, China, 2013. [Google Scholar]
- Murray, K.D.; Bekaert, D.P.; Lohman, R.B. Tropospheric corrections for InSAR: Statistical assessments and applications to the Central United States and Mexico. Remote Sens. Environ. 2019, 232, 111326. [Google Scholar] [CrossRef]
- Wang, Q.; Yu, W.; Xu, B.; Wei, G. Assessing the use of GACOS products for SBAS-INSAR deformation monitoring: A case in Southern California. Sensors 2019, 19, 3894. [Google Scholar] [CrossRef]
- Yang, J. Study on Mining Subsidence Law of Whole Basin in Shilawusu Mine Based on InSAR Technology. Master’s Thesis, China University of Mining and Technology, Beijing, China, 2021. [Google Scholar]












| ifg. | Reference | Secondary | Phase SD | Correction Percentage/% | |
|---|---|---|---|---|---|
| Original | ERA5 Residual | ||||
| 1 | 3 May 2019 | 15 May 2019 | 0.7197 | 0.819 | −13.80 |
| 2 | 3 May 2019 | 27 May 2019 | 1.0875 | 0.8687 | 20.12 |
| 3 | 3 May 2019 | 8 June 2019 | 1.5488 | 0.9662 | 37.62 |
| 4 | 15 May 2019 | 27 May 2019 | 0.9027 | 0.7415 | 17.86 |
| 5 | 15 May 2019 | 8 June 2019 | 1.6538 | 1.0448 | 36.82 |
| 6 | 15 May 2019 | 20 June 2019 | 1.4149 | 1.2141 | 14.19 |
| 7 | 27 May 2019 | 8 June 2019 | 2.1456 | 1.0152 | 52.69 |
| 8 | 27 May 2019 | 20 June 2019 | 0.9351 | 1.1429 | −22.22 |
| 9 | 27 May 2019 | 2 July 2019 | 1.6791 | 1.4598 | 13.06 |
| 10 | 8 June 2019 | 20 June 2019 | 2.7458 | 0.9963 | 63.72 |
| ... | ... | ... | ... | ... | ... |
| 17 | 2 July 2019 | 26 July 2019 | 1.8197 | 1.3066 | 28.20 |
| ... | ... | ... | ... | ... | ... |
| 21 | 26 July 2019 | 7 August 2019 | 1.6325 | 1.5131 | 7.32 |
| ... | ... | ... | ... | ... | ... |
| 33 | 24 September 2019 | 6 October 2019 | 0.6633 | 1.0748 | −62.04 |
| ... | ... | ... | ... | ... | ... |
| 52 | 3 April 2020 | 15 April 2020 | 1.8175 | 0.7095 | 60.96 |
| 53 | 3 April 2020 | 27 April 2020 | 0.7391 | 1.3078 | −76.94 |
| 54 | 3 April 2020 | 9 May 2020 | 0.7281 | 0.9989 | −37.20 |
| 55 | 15 April 2020 | 27 April 2020 | 2.0743 | 1.483 | 28.50 |
| 56 | 15 April 2020 | 9 May 2020 | 2.1282 | 1.2939 | 39.20 |
| 57 | 27 April 2020 | 9 May 2020 | 0.6743 | 0.896 | −32.87 |
| Mean | 1.4305 | 1.2359 | 13.60 | ||
| Deformation Area ① | Deformation Area ② | Deformation Area ③ | ||
|---|---|---|---|---|
| Original Stacking-InSAR | 2.0764 | 1.8943 | 2.9254 | |
| ERA5-Corrected Stacking-InSAR | Original ERA5-Corrected | 1.5697 | 1.4391 | 1.8363 |
| Effective ERA5-Corrected | 2.0869 | 1.7874 | 2.1903 | |
| Adaptive ERA5-Corrected | 1.5101 | 1.4220 | 1.6294 | |
| GACOS-Corrected Stacking-InSAR | 1.5214 | 1.4407 | 1.8645 | |
| Area of Abnormal Deformation/m² | Coincidence Area/m² | Validity/% | ||
|---|---|---|---|---|
| Original Stacking-InSAR | 61,182,730.54 | 1,810,926.175 | 2.96 | |
| ERA5-Corrected Stacking-InSAR | Original ERA5-Corrected | 60,468,157.06 | 1,819,869.388 | 3.01 (1.6) |
| Effective ERA5-Corrected | 59,531,085.59 | 2,493,108.873 | 4.19 (41.5) | |
| Adaptive ERA5-Corrected | 55,993,651.4 | 2,424,075.254 | 4.33 (46.3) | |
Disclaimer/Publisher’s Note: The statements, opinions and data contained in all publications are solely those of the individual author(s) and contributor(s) and not of MDPI and/or the editor(s). MDPI and/or the editor(s) disclaim responsibility for any injury to people or property resulting from any ideas, methods, instructions or products referred to in the content. |
© 2023 by the authors. Licensee MDPI, Basel, Switzerland. This article is an open access article distributed under the terms and conditions of the Creative Commons Attribution (CC BY) license (https://creativecommons.org/licenses/by/4.0/).
Share and Cite
Zhang, Y.; Wang, Y.; Huo, W.; Zhao, F.; Hu, Z.; Wang, T.; Song, R.; Liu, J.; Zhang, L.; Fernández, J.; et al. Ground Deformation Monitoring over Xinjiang Coal Fire Area by an Adaptive ERA5-Corrected Stacking-InSAR Method. Remote Sens. 2023, 15, 1444. https://doi.org/10.3390/rs15051444
Zhang Y, Wang Y, Huo W, Zhao F, Hu Z, Wang T, Song R, Liu J, Zhang L, Fernández J, et al. Ground Deformation Monitoring over Xinjiang Coal Fire Area by an Adaptive ERA5-Corrected Stacking-InSAR Method. Remote Sensing. 2023; 15(5):1444. https://doi.org/10.3390/rs15051444
Chicago/Turabian StyleZhang, Yuxuan, Yunjia Wang, Wenqi Huo, Feng Zhao, Zhongbo Hu, Teng Wang, Rui Song, Jinglong Liu, Leixin Zhang, José Fernández, and et al. 2023. "Ground Deformation Monitoring over Xinjiang Coal Fire Area by an Adaptive ERA5-Corrected Stacking-InSAR Method" Remote Sensing 15, no. 5: 1444. https://doi.org/10.3390/rs15051444
APA StyleZhang, Y., Wang, Y., Huo, W., Zhao, F., Hu, Z., Wang, T., Song, R., Liu, J., Zhang, L., Fernández, J., Escayo, J., Cao, F., & Yan, J. (2023). Ground Deformation Monitoring over Xinjiang Coal Fire Area by an Adaptive ERA5-Corrected Stacking-InSAR Method. Remote Sensing, 15(5), 1444. https://doi.org/10.3390/rs15051444

