Emergy Synthesis and Regional Sustainability Assessment: Case Study of Pan-Pearl River Delta in China
Abstract
:1. Introduction
2. Methods
2.1. Study Area


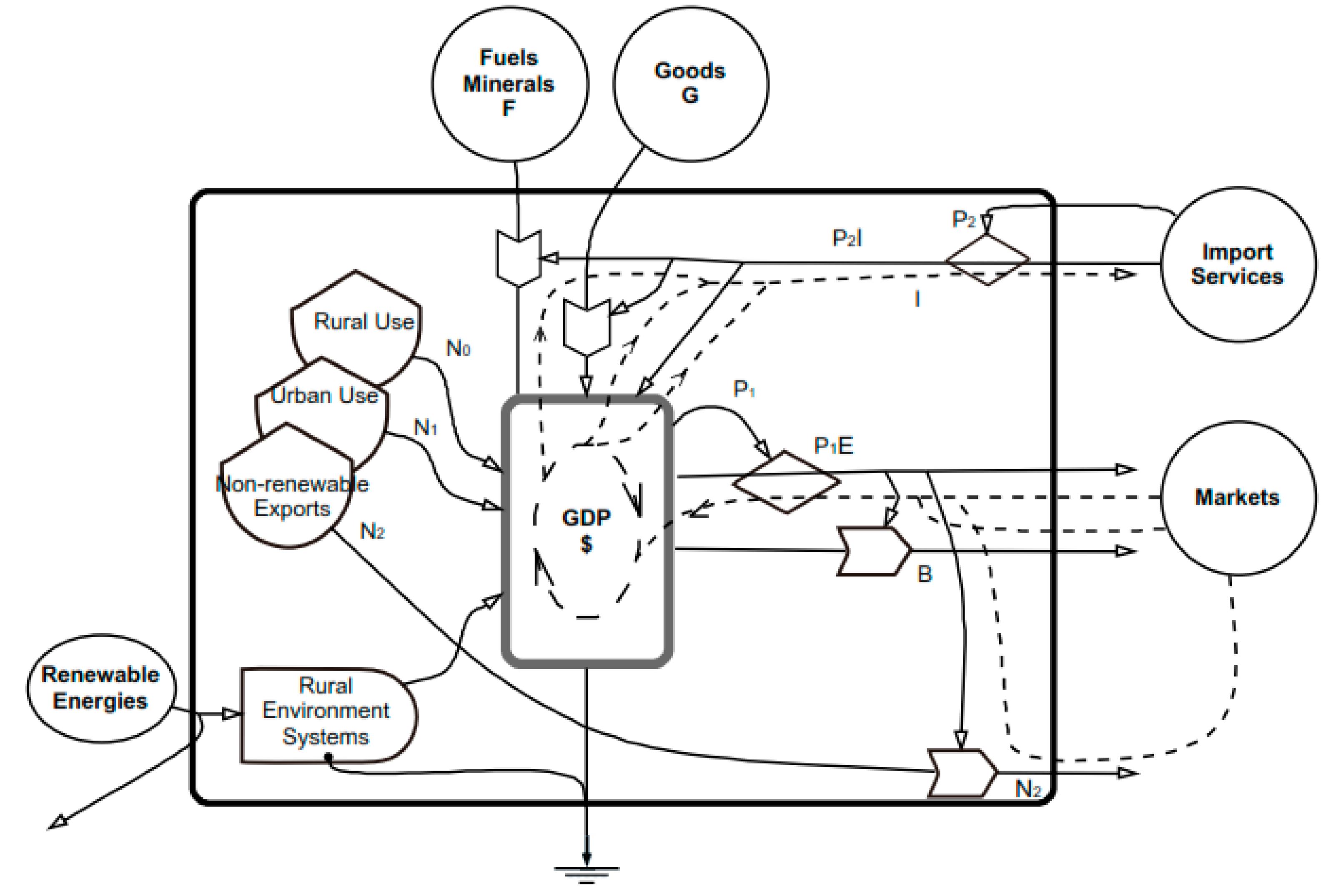
2.2. Emergy Synthesis

| No. | Item | Raw data | Unit | Transformity(sej/unit) | Reference | Solar Emergy (E20 sej) |
|---|---|---|---|---|---|---|
| Renewable Resources (R) | ||||||
| 1 | Sunlight | 1.32 × 1022 | J/year | 1.00 | [49] | 132.30 |
| 2 | Rain, chemical | 1.44 × 1019 | J/year | 3.05 × 104 | [49] | 4407.02 |
| 3 | Rain, geopotential | 5.05 × 1018 | J/year | 4.70 × 104 | [49] | 2372.65 |
| 4 | Wind, kinetic energy | 5.99 × 1019 | J/year | 2.45 × 103 | [49] | 1466.68 |
| 5 | Waves | 3.28 × 1018 | J/year | 5.10 × 104 | [49] | 1670.86 |
| 6 | Tide | 6.78 × 1018 | J/year | 7.39 × 104 | [49] | 5009.69 |
| 7 | Earth Cycle | 2.91 × 1018 | J/year | 5.80 × 104 | [49] | 1688.91 |
| Total R | 8450.53 | |||||
| Nonrenewable Resources From Within Country (N) | ||||||
| Dispersed Rural Source (N0) | ||||||
| 8 | Hydroelectricity | 1.55 × 1018 | J/year | 3.22 × 105 | [47] | 4995.65 |
| 9 | Agriculture Production | 8.38 × 1018 | J/year | 3.22 × 105 | [50] | 26,985.59 |
| 10 | Livestock Production | 1.31 × 1017 | J/year | 3.22 × 106 | [50] | 4206.04 |
| 11 | Fisheries Production | 1.01 × 1017 | J/year | 3.22 × 106 | [50] | 3256.14 |
| 12 | Fuelwood Production | 2.14 × 1016 | J/year | 2.21 × 104 | [51] | 4.73 |
| 13 | Forest Extraction | 7.61 × 1017 | J/year | 2.21 × 104 | [51] | 168.08 |
| 14 | Soil losses | 4.05 × 1014 | g/year | 1.61 × 109 | [47] | 6523.66 |
| 15 | Topsoil losses | 2.75 × 1017 | J/year | 7.40 × 104 | [52] | 203.33 |
| Total N0 | 10,155.94 | |||||
| Concentrated Use (N1) | ||||||
| 16 | Natural Gas | 6.85 × 1017 | J/year | 5.88 × 104 | [51] | 402.61 |
| 17 | Oil | 9.40 × 1018 | J/year | 8.53 × 104 | [47] | 8025.05 |
| 18 | Coal | 1.41 × 1019 | J/year | 6.41 × 104 | [47] | 9043.14 |
| 19 | Minerals | 9.43 × 1014 | g/year | 1.11 × 109 | [47] | 10,516.74 |
| 20 | Metals | 2.31 × 1014 | g/year | 1.03 × 109 | [47,53] | 2380.58 |
| Total N1 | 30,368.12 | |||||
| Imports and Outside Sources (F’): | ||||||
| Imported Fuels and Minerals (F) | ||||||
| 21 | Fuels | 2.42 × 1019 | J/year | 8.03 × 104 | [47,51] | 19,439.21 |
| 22 | Metals | 3.92 × 1013 | g/year | 9.85 × 109 | [47,53,54] | 3857.79 |
| 23 | Minerals | 4.21 × 1011 | g/year | 7.41 × 1010 | [47,54] | 312.15 |
| Total F | 23,609.15 | |||||
| Imported Goods (G) | ||||||
| 24 | Food and ag. products | 3.90 × 1017 | J/year | 3.22 × 105 | [50] | 1255.82 |
| 25 | Livestock, meat, fish | 1.19 × 1015 | J/year | 3.22 × 106 | [50] | 38.24 |
| 26 | Plastics and rubber | 1.55 × 1017 | J/year | 1.06 × 105 | [47] | 164.45 |
| 27 | Chemicals | 1.29 × 1013 | g/year | 1.48 × 101° | [55] | 1908.78 |
| 28 | Finished materials | 1.89 × 1013 | g/year | 2.72 × 109 | [54,56] | 514.07 |
| 29 | Mach. and trans equip. | 3.94 × 109 | $ | 2.70 × 1012 | [57] | 106.28 |
| Total G | 3987.65 | |||||
| Emergy of Services in Imported Goods & Fuels (P2I) | ||||||
| 30 | Service in imports | 4.99 × 1011 | $ | 2.70 × 1012 | [57] | 13,479.08 |
| Exports | ||||||
| Exported production (B) | ||||||
| 31 | Food and ag. products | 2.05 × 1017 | J/year | 3.22 × 105 | [50] | 658.61 |
| 32 | Livestock, meat, fish | 1.00 × 1017 | J/year | 3.22 × 106 | [50] | 3,235.04 |
| 33 | Finished materials | 7.36 × 1012 | g/year | 3.74 × 109 | [54,56] | 275.36 |
| 34 | Mach. and trans equip. | 2.58 × 1011 | $ | 3.83 × 1012 | this study | 9,876.74 |
| 35 | Plastics & rubber | 1.31 × 1017 | J/year | 1.06 × 105 | [47] | 139.07 |
| Total B | 14,184.83 | |||||
| Exported without Use (N2) | ||||||
| 36 | Fuels | 5.04 × 1018 | J/year | 8.04 × 104 | [47,51] | 4,055.00 |
| 37 | Metals | 5.13 × 1012 | g/year | 2.08 × 101° | [47,53,54] | 1,066.26 |
| 38 | Minerals | 5.18 × 1012 | g/year | 8.87 × 109 | [47,54] | 458.97 |
| 39 | Chemicals | 6.87 × 1011 | g/year | 1.48 × 101° | [55] | 101.70 |
| Total N2 | 5,681.93 | |||||
| Emergy Value of Service Exports (P1E) | ||||||
| 40 | Service in exports | 6.25 × 1011 | $ | 3.83 × 1012 | this study | 23,927.55 |
| Item/Units | Guang-dong | Fu-jian | Jiang-xi | Hu-nan | Gui-zhou | Guang-xi | Hain-an | Yun-nan | Si-chuan | PPRD | |
|---|---|---|---|---|---|---|---|---|---|---|---|
| R | Renewable emergy/1023 sej/year | 1.37 | 0.86 | 0.32 | 0.33 | 0.32 | 0.63 | 1.68 | 1.26 | 1.67 | 8.45 |
| N0 | Dispersed rural source/1023 sej/year | 1.69 | 1.02 | 1.07 | 1.45 | 0.72 | 1.27 | 0.34 | 1.03 | 1.57 | 10.16 |
| N1 | Concentrated use (fuels, etc.)/1023 sej/year | 3.36 | 1.86 | 2.06 | 3.67 | 7.24 | 2.04 | 0.37 | 3.99 | 5.78 | 30.37 |
| N2 | Fuels exported without use/1023 sej/year | 1.26 | 0.60 | 0.49 | 0.53 | 0.72 | 0.81 | 0.52 | 0.33 | 0.41 | 5.68 |
| F | Imported minerals/1023 sej/year | 8.36 | 2.66 | 1.67 | 2.18 | 0.43 | 3.19 | 1.05 | 2.42 | 1.64 | 23.61 |
| G | Imported goods/1023 sej/year | 1.68 | 0.98 | 0.11 | 0.13 | 0.01 | 0.27 | 0.08 | 0.28 | 0.45 | 3.99 |
| P2I | Imported services/1023 sej/year | 10.30 | 1.37 | 0.26 | 0.25 | 0.05 | 0.29 | 0.28 | 0.18 | 0.51 | 13.48 |
| I | Dollars paid for imports/1010 $/year | 38.15 | 5.07 | 0.96 | 0.91 | 0.19 | 1.09 | 1.02 | 0.66 | 1.87 | 49.92 |
| B | Exported productions/1023 sej/year | 9.02 | 2.55 | 4.95 | 1.41 | 1.04 | 5.97 | 1.41 | 2.51 | 8.86 | 14.18 |
| P1E | Exported services, total/1023 sej/year | 17.28 | 2.99 | 0.66 | 0.26 | 0.30 | 0.53 | 0.25 | 0.63 | 1.04 | 23.93 |
| E | Dollars paid for all exports/1010 $/year | 53.18 | 9.28 | 2.19 | 0.99 | 0.30 | 1.25 | 0.25 | 0.95 | 2.90 | 71.29 |
| P1 | PPRD EMR/1012 sej/$ | 3.25 | 3.22 | 3.03 | 2.63 | 9.95 | 4.23 | 9.70 | 6.65 | 3.57 | 3.83 |
| P2 | World EMR/1012 sej/$ | 2.70 | 2.70 | 2.70 | 2.70 | 2.70 | 2.70 | 2.70 | 2.70 | 2.70 | 2.70 |
| Index name/Units/Calculation | Guang-dong | Fu-jian | Jiang-xi | Hu-nan | Gui-zhou | Guang-xi | Hai-nan | Yun-nan | Si-chuan | PPRD |
|---|---|---|---|---|---|---|---|---|---|---|
| Non-renewable emergy/1023 sej/year/N = N0 + N1 | 5.05 | 2.89 | 3.13 | 5.12 | 7.96 | 3.30 | 0.70 | 5.02 | 7.35 | 40.52 |
| Imported emergy/1023 sej/year/F’ = F + G + P2I | 20.35 | 5.01 | 2.04 | 2.56 | 0.50 | 3.75 | 1.41 | 2.88 | 2.60 | 41.08 |
| Total emergy used/1023 sej/year/U = R + N + F + G + P2I | 26.76 | 8.76 | 5.49 | 8.01 | 8.78 | 7.68 | 3.79 | 9.15 | 11.62 | 90.05 |
| Exported emergy/1023 sej/year/N2 + P1E + B | 27.55 | 6.15 | 1.65 | 0.94 | 1.12 | 1.94 | 0.91 | 1.21 | 2.33 | 43.79 |
| Ratio of exports to imports/(N2 + P1E + B)/(F + G + P2I) | 1.35 | 1.23 | 0.81 | 0.37 | 2.25 | 0.52 | 0.65 | 0.42 | 0.90 | 1.07 |
| Renewable percentage/%/R/U | 5.11 | 9.84 | 5.80 | 4.16 | 3.67 | 8.24 | 44.34 | 13.77 | 14.40 | 9.38 |
| Indigenous percentage/%/(R + N)/U | 23.97 | 42.80 | 62.89 | 68.08 | 94.35 | 51.25 | 62.87 | 68.56 | 77.66 | 54.39 |
| Electricity percentage/%/Electricity/U | 1.69 | 4.44 | 1.98 | 7.81 | 5.51 | 7.38 | 0.45 | 15.01 | 16.01 | 6.53 |
| Emergy-to-money ratio/1012 sej/$/U/GDP | 3.25 | 3.22 | 3.03 | 2.63 | 9.95 | 4.23 | 9.70 | 6.65 | 3.57 | 3.83 |
| Emergy density/1012 sej/year km2/U/Area | 14.88 | 7.22 | 3.29 | 3.78 | 4.98 | 3.23 | 10.70 | 2.32 | 2.40 | 4.48 |
| Emergy per person/.1016 sej capita/U/Population | 2.55 | 2.36 | 1.22 | 1.12 | 2.53 | 1.48 | 4.32 | 1.98 | 1.44 | 1.87 |
| Emergy investment ratio/EIR = (F + G + P2I)/(R + N) | 3.17 | 1.34 | 0.59 | 0.47 | 0.06 | 0.95 | 0.59 | 0.46 | 0.29 | 0.84 |
| Electricity percentage/%/Electricity/U | 1.69 | 4.44 | 1.98 | 7.81 | 5.51 | 7.38 | 0.45 | 15.01 | 16.01 | 6.53 |
| Emergy-to-money ratio/1012 sej/$/U/GDP | 3.25 | 3.22 | 3.03 | 2.63 | 9.95 | 4.23 | 9.70 | 6.65 | 3.57 | 3.83 |
| Emergy density/1012 sej/year km2/U/Area | 14.88 | 7.22 | 3.29 | 3.78 | 4.98 | 3.23 | 10.70 | 2.32 | 2.40 | 4.48 |
| Emergy per person/1016 sej capita/U/Population | 2.55 | 2.36 | 1.22 | 1.12 | 2.53 | 1.48 | 4.32 | 1.98 | 1.44 | 1.87 |
| Emergy investment ratio/EIR = (F + G + P2I)/(R + N) | 3.17 | 1.34 | 0.59 | 0.47 | 0.06 | 0.95 | 0.59 | 0.46 | 0.29 | 0.84 |
| Emergy yield ratio/EYR = U/(F + G + P2I) | 1.32 | 1.75 | 2.70 | 3.13 | 17.69 | 2.05 | 2.69 | 3.18 | 4.48 | 2.19 |
| Environment loading ratio/ELR = N + F + G + P2I)/R | 18.57 | 9.16 | 16.25 | 23.03 | 26.26 | 11.13 | 1.26 | 6.26 | 5.94 | 9.66 |
| Emergy sustainability index/ESI = EYR/ELR | 0.071 | 0.191 | 0.166 | 0.136 | 0.674 | 0.184 | 2.145 | 0.508 | 0.753 | 0.227 |
2.3. Emergetic Ternary Diagrams
| Properties | Description | Illustration |
|---|---|---|
| Resource flow lines | Ternary combinations are represented by points within the triangle, the relative proportions of the elements being given by the lengths of the perpendiculars from the given point to the side of the triangle opposite the appropriate element. These lines are parallel to the triangle sides and are very useful for comparing the use of resource by-products or processes. | ![]() |
| Sensitivity lines | Any point along the straight line joining an apex to a point represents a change in the quantity of the flux associated with the apex. Any point along the line represents a condition in which the other two fluxes maintain in the same initial proportion. For example, the system illustrated on the right is progressively poorer in N, as it passes from A to B, but R and F maintain at the same initial proportion. | ![]() |
| Symergy point | When two different ternary compositions, represented by points A and B within the triangle, are mixed, the resulting composition will be represented by a point, S, called here the ‘‘symergy’’ point, which lies at some point on the segment, AB. | ![]() |
| Sustainability lines | The graphic tool permits one to draw lines indicating constant values of the sustainability index. The sustainability lines depart from the N apex in the direction of the RF side allowing the division of the triangle into sustainability areas, which are very useful to identify and compare the sustainability of products and processes. | ![]() |
3. Results and Discussion


3.1. Emergy Indices
3.1.1. Emergy Investment Ratio (EIR)
3.1.2. Emergy Yield Ratio (EYR)
3.1.3. Environment Loading Ratio (ELR)
3.1.4. Emergy Sustainability Index (ESI)
3.2. Emergy-Based Ternary Diagram Analysis

3.3. Emergy-Based Spatial Analysis
3.3.1. Emergy Maps


3.3.2. Emergy Density Map


4. Conclusions and Suggestions
Acknowledgments
Author Contributions
Appendix
| No. | Item | Raw data and Calculations | |||||
|---|---|---|---|---|---|---|---|
| Renewable Resources (R): | |||||||
| 1 | Solar Energy: | ||||||
| Continental Shelf Area = | 1.28 × 1012 | m2 | |||||
| Land Area = | 2.01 × 1012 | m2 | |||||
| Insolation = | 120 | Kcal/cm2/year | |||||
| Albedo = | 0.2 | (given as decimal) | |||||
| Energy (J) = | (area incl shelf) × (avg insolation) × (1-albedo) | ||||||
| = | (_ m2) × (_ Cal/cm2/year) × ( 1.0 × 104 cm2/m2) × | ||||||
| (1-albedo) × (4186 J/kcal) | |||||||
| = | 1.32 × 1022 | J/year | |||||
| 2 | Rain, Chemical Potential Energy: | ||||||
| Land Area = | 1.28 × 1012 | m2 | |||||
| Continental Shelf Area = | 2.01 × 1012 | m2 | |||||
| Rain (land) = | 1.51 | m/year | |||||
| Rain (shelf) = | 0.68 | m/year | (est. as 45% of tot. rain) | ||||
| Evapotrans rate= | 1.21 | m/year | (est. as 80% of tot. rain) | ||||
| Energy (land) (J)= | (area)(Evapotrans)(Gibbs No.) | ||||||
| = | (_ m2) × (_ m) × (1000 kg/m3) × (4.94 × 103 J/kg) | ||||||
| = | 7.69 × 1018 | J/year | |||||
| Energy (shelf) (J)= | (area of shelf)(Rainfall)(Gibbs No.) | ||||||
| = | 6.76 × 1018 | J/year | |||||
| Total energy (J) = | 1.44 × 1019 | J/year | |||||
| 3 | Rain, Geopotential Energy: | ||||||
| Area = | 1.28 × 1012 | m2 | |||||
| Rainfall = | 1.51 | m | |||||
| Average Elevation = | 1324.21 | m | |||||
| Runoff rate = | 0.2 | % | (percent, given as a decimal ) | ||||
| Energy (J) = | (area)(rainfall)(% runoff)( Average Elevation)(gravity) | ||||||
| = | (_ m2) × (_ m) × (_ %) × (1000 kg/m3) × (_ m) × (9.8 m/s2) | ||||||
| = | 5.05 × 1018 | J/year | |||||
| 4 | Wind Energy: | ||||||
| Area = | 1.28 × 1012 | m2 | |||||
| Density of Air = | 1.3 | kg/m3 | |||||
| Average annual wind velocity = | 6.27 | m/s | |||||
| Geostrophic wind = | 10.45 | m/s | observed winds are about 0.6 of | ||||
| Drag Coefficient = | 1.00 × 10−3 | geostrophic wind | |||||
| Energy (J) = | (area)(air density)(drag coefficient)(velocity3) | ||||||
| = | (_ m2)(1.3 kg/m3)(1.00 × 10−3)(_ m/s)(3.14 × 107 s/year) | ||||||
| Energy (J) = | 5.99 × 1019 | J/year | |||||
| 5 | Wave Energy: | ||||||
| Shore length = | 1.87 × 107 | m | |||||
| Wave height = | 1 | m | |||||
| Energy (J) = | (shore length)(1/8)(density)(gravity)(wave height2)(velocity) | ||||||
| = | (_ m)(1/8)(1.025 × 103 kg/m3)(9.8 m/s2)(_ m)2(_ m/s)(3.14 × 107 s/year) | ||||||
| Energy (J) = | 3.28 × 1018 | J/year | |||||
| 6 | Tidal Energy: | ||||||
| Continental Shelf Area = | 1.28 × 1012 | m2 | |||||
| Average Tide Range = | 1.2 | m | |||||
| Density = | 1025 | kg/m3 | |||||
| Tides/year = | 730 | (estimation of 2 tides/day in 365 days) | |||||
| Energy (J) = | (shelf) (0.5)(tides/year)(mean tidal range)2(density of seawater)(gravity) | ||||||
| = | (_ m2) × (0.5) × (_ /year) × (_ m)2 × (_ kg/m3) × (9.8m/s2) | ||||||
| = | 6.78 × 1018 | J/year | |||||
| 7 | Earth Cycle | ||||||
| Land Area = | 2.01 × 1012 | m2 | |||||
| Heat flow = | 1.45 × 106 | J/m2 | |||||
| Energy (J) = | (area)(Heat flow) | ||||||
| Energy (J) = | (_ m2)( 1.0 × 106 J/m2) | ||||||
| = | 2.91 × 1018 | J/year | |||||
| Nonrenewable Resources from within Country(N) | |||||||
| Dispersed Rural Source (N0) | |||||||
| 8 | Hydroelectricity: | ||||||
| Kilowatt h/year = | 4.31 × 1011 | KwH/year (assume 80% load) | |||||
| Energy (J) = | (Energy production)(energy content) | ||||||
| Energy (J) = | (_ KwH/year) × (3.6 × 106 J/KwH) | ||||||
| = | 1.55 × 1018 | J/year | |||||
| 9 | Agricultural Production: | ||||||
| Production = | 6.26 × 108 | MT | (dry mass, 20% humidity) | ||||
| Energy (J) = | (Total production)(energy content) | ||||||
| Energy (J) = | (_ MT) × (1.0 × 106 g/MT) × (80%) × (4.0 kcal/g) × (4186 J/kcal) | ||||||
| = | 8.38 × 1018 | J/year | |||||
| 10 | Livestock Production: | ||||||
| Livestock Production = | 3.12 × 107 | MT | (80% humidity) | ||||
| Energy (J) = | (Total production)(energy content) | ||||||
| Energy (J) = | (_ MT) × (1.0 × 106 g/MT) × (20%) × (5.0 KCal/g) × (4186 J/KCal) | ||||||
| = | 1.31 × 1017 | J/year | |||||
| 11 | Fisheries Production: | ||||||
| Fish Catch = | 2.42 × 107 | MT | (80% humidity) | ||||
| ENERGY (J) = | (Total production)(energy content) | ||||||
| Energy (J) = | (_ MT) × (1.0 × 106 g/MT) × (5.0 KCal/g) × (20%) × (4186 J/KCal) | ||||||
| = | 1.01 × 1017 | J/year | |||||
| 12 | Fuelwood Production: | ||||||
| Fuelwood Prod = | 3.55 × 106 | m3 | |||||
| Energy (J) = | (Total production)(energy content) | ||||||
| Energy (J) = | (_ m3)( 0.5 × 106 g/m3)(3.6 kcal/g)(80%)(4186 J/kcal) | ||||||
| = | 2.14 × 1016 | J/year | |||||
| 13 | Forest Extraction | ||||||
| wood Harvest = | 4.44 × 107 | m3 | |||||
| bamboo Harvest = | 4.09 × 107 | MT | |||||
| Energy (J) = | (Total production)(energy content) | ||||||
| wood Energy (J) = | (_ m3)(0.5 × 106 g/m3)(80%)(3.6 kcal/g)(4186 J/kcal) | ||||||
| = | 2.68 × 1017 | J/year | |||||
| bamboo Energy (J) = | (_ MT)(1.0 × 106 g/MT)(80%)(3.6 kcal/g)(4186 J/kcal) | ||||||
| = | 4.93 × 1017 | J/year | |||||
| Total = | 7.61 × 1017 | J/year | |||||
| 14/15 | Topsoil and Som: | ||||||
| Harvested cropland = | 4.82 × 1011 | m2 | |||||
| Soil loss = | 840 | g/m2/year | |||||
| Average organic content (%) = | 3 | % | |||||
| Energy (J) = | (_ g/m2/year) × (_ m2) × (% organic) × (5.4 Kcal/g)(4186 J/Kcal) | ||||||
| = | 2.75 × 1017 | J/year | |||||
| Mass (g) = | 4.05 × 1014 | g/year | |||||
| Concentrated Use (N1) | |||||||
| 16 | Natural Gas | ||||||
| Consumption = | 1.82 × 1010 | m3/year | |||||
| Energy (J) = | (_ m3/year)(energy content) | ||||||
| Energy (J) = | (_ m3/year) × (8,966 kcal/m3) × (4186 J/kcal) | ||||||
| = | 6.85 × 1017 | J/year | |||||
| 17 | Oil | ||||||
| Consumption = | 1.97 × 1011 | L/year | |||||
| Energy (J) = | (_ L/year)(energy content) | ||||||
| Energy (J) = | (_ L/year) × (1.14 × 104 kcal/L) × (4186 J/kcal) | ||||||
| = | 9.40 × 1018 | J/year | |||||
| 18 | Coal | ||||||
| Consumption = | 4.87 × 108 | MT/year | |||||
| Energy (J) = | (_ MT/year)(energy content) | ||||||
| Energy (J) = | (_ MT/year) × (2.9 × 1010 J/Mt) | ||||||
| = | 1.41 × 1019 | J/year | |||||
| 19 | Minerals (Including Limestone and Fertilizers) | ||||||
| Consumption | Transformity | ||||||
| Limestone = | 9.06 × 108 | MT/year | 1.61 × 109 | sej/g | |||
| Phosphorus = | 2.50 × 107 | MT/year | 1.40 × 1010 | sej/g | |||
| Potash = | 0.00 | MT/year | 2.80 × 109 | sej/g | |||
| Nitrogen = | 1.25 × 107 | MT/year | 7.41 × 109 | sej/g | |||
| Total Consumption = | 9.43 × 108 | MT/year | |||||
| Mass (g) = | (_ MT/year) × (1.0 × 106 g/MT) | ||||||
| = | 9.43 × 1014 | g/year | |||||
| Transformity(weighted) = | 2.01 × 109 | sej/g | |||||
| 20 | Metals (Mined-Al, Au, Cu, Fe, others) | Transformity | |||||
| Aluminum = | 5.95 × 106 | MT/year | 1.37 × 109 | sej/g | |||
| Iron = | 2.19 × 108 | MT/year | 1.44 × 109 | sej/g | |||
| Copper = | 2.69 × 105 | MT/year | 1.55 × 108 | sej/g | |||
| Gold = | 3.35 | MT/year | 4.04 × 108 | sej/g | |||
| Others = | 5.78 × 106 | MT/year | 1.61 × 109 | sej/g | |||
| Consumption = | 2.31 × 108 | MT/year | |||||
| Mass (g) = | (_ MT) × (1.0 × 106 g/MT) | ||||||
| = | 2.31 × 1014 | g/year | |||||
| Transformity(weighted) = | 7.57 × 107 | sej/g | |||||
| Imports and Outside Sources (F’): | |||||||
| Imported Fuels and Minerals (F) | |||||||
| 21 | Fuels: | ||||||
| Natural gas = | 1.82 × 1010 | m3/year | |||||
| Energy (J) = | (_ m3/year) × (8966 kcal/m3) × (4186 J/kcal) | ||||||
| Oil derived fuels = | 1.97 × 1011 | L/year | |||||
| Energy (J) = | (_ L/year) × (1.14 × 104 kcal/L) × (4186 J/kcal) | ||||||
| Coal = | 4.87 × 108 | MT/year | |||||
| Energy (J) = | (_ MT/year) × (2.9 × 1010 J/Mt) | Transformity | |||||
| Natural gas = | 6.85 × 1017 | J/year | 5.88 × 104 | sej/j | |||
| Oil derived fuels = | 9.40 × 1018 | J/year | 1.06 × 105 | sej/j | |||
| Coal = | 1.41 × 1019 | J/year | 6.41 × 104 | sej/j | |||
| = | 2.42 × 1019 | J/year | |||||
| Transformity(weighted) = | 8.03 × 104 | sej/j | |||||
| 22 | Metals: | Transformity | |||||
| Aluminum ore (Bauxite) = | 3.13 × 103 | MT/year | 1.37 × 109 | sej/g | |||
| Aluminum = | 4.90 × 105 | MT/year | 1.25 × 1010 | sej/g | |||
| Iron ore = | 2.74 × 107 | MT/year | 1.38 × 109 | sej/g | |||
| Steel = | 5.88 × 106 | MT/year | 4.13 × 109 | sej/g | |||
| Copper wire = | 1.96 × 106 | MT/year | 1.59 × 1011 | sej/g | |||
| Gold = | 3.92 | MT/year | 4.04 × 108 | sej/g | |||
| Others = | 3.42 × 106 | MT/year | 1.61 × 109 | sej/g | |||
| Imports = | 3.92 × 107 | MT/year | |||||
| Mass (g) = | (_ MT/year) × (1.0 × 106 g/MT) | ||||||
| = | 3.92 × 1013 | g/year | |||||
| Transformity(weighted) = | 9.85 × 109 | sej/g | |||||
| 23 | Minerals: | Transformity | |||||
| Cement = | 6.41 × 103 | MT/year | 1.97 × 109 | sej/g | |||
| Phosphorus = | 1.28 × 104 | MT/year | 2.87 × 1010 | sej/g | |||
| Potash = | 2.89 × 106 | MT/year | 2.80 × 109 | sej/g | |||
| Nitrogen = | 2.95 × 106 | MT/year | 7.41 × 109 | sej/g | |||
| Others = | 5.58 × 105 | MT/year | 1.61 × 109 | sej/g | |||
| Imports = | 4.21 × 105 | MT/year | |||||
| Mass (g) = | (_ MT/year) × (1.0 × 106 g/MT) | ||||||
| = | 4.21 × 1011 | g/year | |||||
| Transformity(weighted) = | 7.41 × 1010 | sej/g | |||||
| Imported Goods (G) | |||||||
| 24 | Food and Agricultural Products | ||||||
| Imports = | 3.33 × 107 | MT/year | |||||
| Energy (J) = | (_ MT/year) × (1.0 × 106 g/MT) × (3.5 Kcal/g) × (4186 J/Kcal) × (80%) | ||||||
| = | 3.90 × 1017 | J/year | |||||
| 25 | Livestock, Meat, Fish | ||||||
| Imports = | 2.58 × 105 | MT/year | |||||
| Energy (J) = | (_ MT/year) × (1.0 × 106 g/MT) × (5 Kcal/g) × (4186 J/Kcal) × (0.22 protein) | ||||||
| = | 1.19 × 1015 | J/year | |||||
| 26 | Plastics and Rubber | ||||||
| Imports = | 5.16 × 106 | MT/year | |||||
| Energy (J) = | (_ MT/year) × (1000 Kg/MT) × (30.0×106J/kg) | ||||||
| = | 1.55 × 1017 | ||||||
| 27 | Chemicals | ||||||
| Imports = | 1.29 × 107 | MT/year | |||||
| Mass (g) = | (_ MT/ year)×(1.0 × 106 g/MT) | ||||||
| = | 1.29 × 1013 | g/year | |||||
| 28 | Finished Materials (lumber, paper, textiles, glass, others) | Transformity | |||||
| Lumber = | 9.46 × 106 | MT/year | 8.80 × 108 | sej/g | |||
| Paper = | 5.68 × 106 | MT/year | 3.69 × 109 | sej/g | |||
| Others = | 3.78 × 106 | MT/year | 5.85 × 109 | sej/g | |||
| Imports = | 1.89 × 107 | MT/year | |||||
| Energy (J) = | (_ MT/year) × (1.0 × 106 g/MT) | ||||||
| = | 1.89 × 1013 | g/year | |||||
| Transformity(weighted) = | 2.72 × 109 | sej/g | |||||
| 29 | Machinery, Transportation, Equipment | ||||||
| Imports = | 3.94 × 109 | $US | |||||
| Emergy of Services in Imported Goods and Fuels (P2I): | |||||||
| 30 | Imported Services: | ||||||
| Dollar Value = | 4.99 × 1011 | $US | |||||
| EXPORTS: | |||||||
| Exported production (B) | |||||||
| 31 | Food and Agricultural Products | ||||||
| Exports: | 1.75 × 107 | MT/year | |||||
| Energy (J) = | (_ MT) × (1.0 × 106 g/MT) × (80%) × (3.5 Cal/g) × (4186 J/Cal) | ||||||
| = | 2.05 × 1017 | J/year | |||||
| 32 | Livestock, Meat, Fish | ||||||
| Exports = | 2.18 × 107 | MT/year | |||||
| Energy (J) = | (_ MT)(1.0 × 106 g/MT)(5 Cal/g)(4187 J/Cal)(.22 protein) | ||||||
| = | 1.00 × 1017 | J/year | |||||
| 33 | Finished Materials (lumber, paper, textiles, glass, others) | Transformity | |||||
| Lumber = | 1.84 × 106 | MT/year | 8.80 × 108 | sej/g | |||
| Paper = | 2.94 × 106 | MT/year | 3.69 × 109 | sej/g | |||
| Others = | 2.57 × 106 | MT/year | 5.85 × 109 | sej/g | |||
| Exports = | 7.36 × 106 | MT/year | |||||
| Energy (J) = | (_ Mt)(1.0 × 106 g/MT) | ||||||
| Total = | 7.36 × 1012 | g/year | |||||
| Transformity(weighted) = | 3.74 × 109 | sej/g | |||||
| 34 | Machinery, Transportation, Equipment | ||||||
| Exports = | 2.58 × 1011 | $US | |||||
| 35 | PLASTICS & RUBBER | ||||||
| Exports = | 4.36 × 106 | MT/year | |||||
| Energy (J) = | (_ MT/year) × (1000 Kg/MT) × (30.0 × 106 J/kg) | ||||||
| = | 1.31 × 1017 | ||||||
| Exported without Use(N2) | |||||||
| 36 | Fuels: | ||||||
| Natural gas = | 1.15 × 1010 | m3/year | |||||
| Energy (J) = | (_ m3/year) × (8966 kcal/m3) × (4186 J/kcal) | ||||||
| Oil derived fuels = | 4.21 × 1010 | L/y | |||||
| Energy (J) = | (_ L/y) × (1.14 × 104 kcal/L) × (4186 J/kcal) | ||||||
| Coal = | 8.96 × 107 | MT/year | |||||
| Energy (J) = | (_ MT/year) × (2.9 × 1010 J/Mt) | Transformity | |||||
| Natural gas = | 4.33 × 1017 | J/year | 5.88 × 104 | sej/j | |||
| Oil derived fuels = | 2.01 × 1018 | J/year | 1.06 × 105 | sej/j | |||
| Coal = | 2.60 × 1018 | J/year | 6.41 × 104 | sej/j | |||
| Total Fuels = | 5.04 × 1018 | J/year | |||||
| Transformity(weighted) = | 8.04 × 104 | sej/j | |||||
| 37 | Metals: | Transformity | |||||
| Aluminum ore (Bauxite) = | 0.00 | MT/year | 1.37 × 109 | sej/g | |||
| Aluminum = | 7.69 × 105 | MT/year | 1.25 × 1010 | sej/g | |||
| Iron ore = | 0.00 | MT/year | 1.38 × 109 | sej/g | |||
| Steel = | 3.59 × 106 | MT/year | 4.13 × 109 | sej/g | |||
| Copper wire = | 5.13 × 105 | MT/year | 1.59 × 1011 | sej/g | |||
| Gold = | 2.05 | MT/year | 4.04 × 108 | sej/g | |||
| Others = | 2.56 × 105 | MT/year | 1.61 × 109 | sej/g | |||
| Exports = | 5.13 × 106 | MT/year | |||||
| Mass (g) = | (_ MT) × (1.0 × 106 g/MT) | ||||||
| = | 5.13 × 1012 | g/year | |||||
| Transformity(weighted) = | 2.08 × 1010 | sej/g | |||||
| 38 | Minerals: | Transformity | |||||
| Cement = | 4.66 × 105 | MT/year | 1.97 × 109 | sej/g | |||
| Phosphorus = | 9.32 × 105 | MT/year | 2.87 × 1010 | sej/g | |||
| Potash = | 1.55 × 105 | MT/year | 2.80 × 109 | sej/g | |||
| Nitrogen = | 2.07 × 106 | MT/year | 7.41 × 109 | sej/g | |||
| Others = | 1.55 × 106 | MT/year | 1.61 × 109 | sej/g | |||
| Exports = | 5.18 × 106 | MT/year | |||||
| Mass (g) = | (_ Mt)(1.0 × 106 g/Mt) | ||||||
| = | 5.18 × 1012 | g/year | |||||
| Transformity(weighted) = | 8.87 × 109 | sej/g | |||||
| 39 | Chemicals: | ||||||
| Exports = | 6.87 × 105 | MT/year | |||||
| Mass (g) = | (_ MT)×(1.0 × 106 g/MT) | ||||||
| = | 6.87 × 1011 | g/year | |||||
| Emergy Value of Service Exports (P1E): | |||||||
| 40 | Services IN Exports: | ||||||
| Dollar Value = | 6.25 × 1011 | $US | |||||
Conflicts of Interest
References
- Zhu, L.P.; Li, H.T.; Chen, J.Q.; John, R.; Liang, T.; Yan, M.C. Emergy-based sustainability assessment of Inner Mongolia. J. Geogr. Sci. 2012, 22, 843–858. [Google Scholar] [CrossRef]
- Odum, H.T.; Odum, E.C. Energy analysis overview of nations; International Institute for Applied System Analysis: Laxenburg, Austria, 1983. [Google Scholar]
- Pulselli, R.M. Integrating emergy evaluation and geographic information systems for monitoring resource use in the Abruzzo region (Italy). J. Environ. Manag. 2010, 91, 2349–2357. [Google Scholar] [CrossRef]
- La Rosa, A.D.; Siracusa, G.; Cavallaro, R. Emergy evaluation of Sicilian red orange production. A comparison between organic and conventional farming. J. Clean. Prod. 2008, 16, 1907–1914. [Google Scholar]
- Zhang, L.X.; Song, B.; Chen, B. Emergy-based analysis of four farming systems: Insight into agricultural diversification in rural China. J. Clean. Prod. 2012, 28, 33–44. [Google Scholar] [CrossRef]
- Giannetti, B.F.; Bonilla, S.H.; Almeida, C.M.V.B. An emergy-based evaluation of a reverse logistics network for steel recycling. J. Clean. Prod. 2013, 46, 48–57. [Google Scholar] [CrossRef]
- Shi, X.Q.; Yang, J.X. A material flow-based approach for diagnosing urban ecosystem health. J. Clean. Prod. 2014, 64, 437–446. [Google Scholar] [CrossRef]
- Yang, D.W.; Gao, L.J.; Xiao, L.S.; Wang, R. Cross-boundary environmental effects of urban household metabolism based on an urban spatial conceptual framework: A comparative case of Xiamen. J. Clean. Prod. 2012, 27, 1–10. [Google Scholar] [CrossRef]
- Bastianoni, S.; Marchettini, N. The problem of co-production in environmental accounting by emergy analysis. Ecol. Model. 2000, 129, 187–193. [Google Scholar] [CrossRef]
- Brown, M.T.; Brandt-Williams, S.; Tilly, D.R.; Ulgiati, S. Emergy Synthesis: Theory and Applications of the Emergy Methodology; The Center for Environmental Policy, University of Florida: Gainesville, FL, USA, 2000. [Google Scholar]
- Brown, M.T.; Ulgiati, S. Emergy analysis and environmental accounting. In Encyclopedia of Energy; Cleveland, C.J., Ed.; Elsevier: New York, NY, USA, 2004; pp. 329–354. [Google Scholar]
- Cho, C.J. An exploration of reliable methods of estimating emergy requirements at the regional scale: Traditional emergy analysis, regional thermodynamic input-output analysis, or the conservation rule-implicit method. Ecol. Model. 2013, 251, 288–296. [Google Scholar]
- Giannetti, B.F.; Barrella, F.A.; Almeida, C.M.V.B. A combined tool for environmental scientists and decision makers: Ternary diagrams and emergy accounting. J. Clean. Prod. 2006, 14, 201–210. [Google Scholar]
- Hau, J.L.; Bakshi, B.R. Promise and problems of emergy analysis. Ecol. Model. 2004, 178, 215–225. [Google Scholar] [CrossRef]
- Herendeen, R.A. Energy analysis and emergy analysis—A comparison. Ecol. Model. 2004, 178, 227–237. [Google Scholar]
- Loiseau, E.; Junqua, G.; Roux, P.; Bellon-Maurel, V. Environmental assessment of a territory: An overview of existing tools and methods. J. Environ. Manag. 2012, 112, 213–225. [Google Scholar]
- Giannetti, B.F.; Almeida, C.M.V.B.; Bonilla, S.H. Comparing emergy accounting with well-known sustainability metrics: The case of Southern Cone Common Market, Mercosur. Energy Policy 2010, 38, 3518–3526. [Google Scholar] [CrossRef]
- Nourry, M. Measuring sustainable development: Some empirical evidence for France from eight alternative indicators. Ecol. Econ. 2008, 67, 441–456. [Google Scholar] [CrossRef]
- Wilson, J.; Tyedmers, P.; Pelot, R. Contrasting and comparing sustainable development indicator metrics. Ecol. Indic. 2007, 7, 299–314. [Google Scholar]
- Ascione, M.; Campanella, L.; Cherubini, F.; Ulgiati, S. Environmental driving forces of urban growth and development an emergy-based assessment of the city of Rome, Italy. Landsc. Urban Plan. 2009, 93, 238–249. [Google Scholar] [CrossRef]
- Campbell, D.E. Emergy analysis of human carrying capacity and regional sustainability: An example using the state of Maine. Environ. Monit. and Assess. 1998, 51, 531–569. [Google Scholar] [CrossRef]
- Campbell, D.E.; Brandt-Williams, S.L.; Meisch, M.E.A. Environmental Accounting Using Emergy: Evaluation of the State of West Virginia; Environmental Protection Agency: Narragansett, RI, USA, 2005. [Google Scholar]
- Campbell, D.E.; Garmestani, A.S. An energy systems view of sustainability: Emergy evaluation of the San Luis Basin, Colorado. J. Environ. Manag. 2012, 95, 72–97. [Google Scholar] [CrossRef]
- Gasparatos, A.; Gadda, T. Environmental support, energy security and economic growth in Japan. Energy Policy 2009, 37, 4038–4048. [Google Scholar] [CrossRef]
- Higgins, J.B. Emergy analysis of the oak openings region. Ecol. Eng. 2003, 21, 75–109. [Google Scholar]
- Hossaini, N.; Hewage, K. Emergy accounting for regional studies: Case study of Canada and its provinces. J. Environ. Manag. 2013, 118, 177–185. [Google Scholar] [CrossRef]
- Hu, S.; Mo, X.; Lin, Z.; Qiu, J. Emergy assessment of a wheat-maize rotation system with different water assignments in the north China plain. Environ. Manag. 2010, 46, 643–657. [Google Scholar]
- Huang, S.L.; Odum, H.T. Ecology and economy-emergy synthesis and public-policy in Taiwan. J. Environ. Manag. 1991, 32, 313–333. [Google Scholar] [CrossRef]
- Jiang, M.M.; Zhou, J.B.; Chen, B.; Chen, G.Q. Emergy-based ecological account for the Chinese economy in 2004. Comm. Nonlinear Sci. Numer. Simulat. 2008, 13, 2337–2356. [Google Scholar] [CrossRef]
- Lan, S.F.; Odum, H.T. Emergy synthesis of the environmental resource basis and economy in China. Ecol. Sci. 1994, 1, 63–67. [Google Scholar]
- Lomas, P.L.; Alvarez, S.; Rodriguez, M.; Montes, C. Environmental accounting as a management tool in the Mediterranean context: The Spanish economy during the last 20 years. J. Environ. Manag. 2008, 88, 326–347. [Google Scholar]
- Pulselli, R.M.; Rustici, M.; Marchettini, N. An integrated framework for regional studies: Emergy based spatial analysis of the province of Cagliari. Environ. Monit. Assess. 2007, 133, 1–13. [Google Scholar] [CrossRef]
- Pulselli, R.M.; Pulselli, F.M.; Rustici, M. Emergy accounting of the province of Siena: Towards a thermodynamic geography for regional studies. J. Environ. Manag. 2008, 86, 342–353. [Google Scholar] [CrossRef]
- Rydberg, T.; Jansen, J. Comparison of horse and tractor traction using emergy analysis. Ecol. Eng. 2002, 19, 13–28. [Google Scholar] [CrossRef]
- Su, M.R. Emergy-based urban ecosystem health evaluation of the Yangtze River Delta urban cluster in China. Energy Policy 2010. [Google Scholar] [CrossRef]
- Ulgiati, S.; Odum, H.T.; Bastianoni, S. Emergy use, environmental loading and sustainability an emergy analysis of Italy. Ecol. Model. 1994, 73, 215–268. [Google Scholar] [CrossRef]
- Wang, G.G.; Yang, D.G.; Zhang, X.H. Emergy evaluation of agriculture system in oasis-desert region: Tarim river basin case study. J. Food Agric. Environ. 2013, 11, 384–387. [Google Scholar]
- Bonilla, S.H.; Guarnetti, R.L.; Almeida, C.M.V.B.; Giannetti, B.F. Sustainability assessment of a giant bamboo plantation in Brazil: Exploring the influence of labour, time and space. J. Clean. Prod. 2010, 18, 83–91. [Google Scholar] [CrossRef]
- Agostinho, F.; Diniz, G.; Siche, R.; Ortega, E. The use of emergy assessment and the geographical information system in the diagnosis of small family farms in Brazil. Ecol. Model. 2008, 210, 37–57. [Google Scholar]
- Almeida, C.M.V.B.; Barrella, F.A.; Giannetti, B.F. Emergetic ternary diagrams: Five examples for application in environmental accounting for decision-making. J. Clean. Prod. 2007, 15, 63–74. [Google Scholar] [CrossRef]
- Liu, G.Y.; Yang, Z.F.; Chen, B.; Ulgiati, S. Emergy-based urban health evaluation and development pattern analysis. Ecol. Model. 2009, 220, 2291–2301. [Google Scholar] [CrossRef]
- Marantz, N.J. China’s pan-pearl river delta; regional cooperation and development. J. Am. Plan. Assoc. 2012, 78, 111–112. [Google Scholar] [CrossRef]
- String of pearls. Available online: http://www.economist.com/node/3403188 (accessed on 23 July 2014).
- Ye, X.; Chen, L. Pan-pearl River Delta regional development and cooperation in tourism. Available online: http://english.people.com.cn/102775/208085/8365808.html (accessed on 23 July 2014).
- Yeung, Y.M. Emergence of the Pan-Pearl River Delta. Available online: http://202.116.197.15/cadalcanton/Fulltext/20897_2014317_103644_13.pdf (accessed on 23 July 2014).
- Xi, X.X.; Wang, L.J. Factor decomposition of regional economic difference in Pan-Pearl River Delta. Geogr. Geo-inform. Sci. 2008, 24, 51–56, 65. [Google Scholar]
- Odum, H.T. Environmental Accounting:Emergy and Environmental Decision Making; Wiley: New York, NY, USA, 1996. [Google Scholar]
- Brown, M.T.; Ulgiati, S. Updated evaluation of exergy and emergy driving the geobiosphere: A review and refinement of the emergy baseline. Ecol. Model. 2010, 221, 2501–2508. [Google Scholar] [CrossRef]
- Odum, H.T.; Brown, M.T.; Brandt-Williams, S. Handbook of Emergy Evaluation Folio 1: Introduction and Global Budget; Center for Environmental Policy, University of Florida: Gainesville, FL, USA, 2000. [Google Scholar]
- Brown, M.T.; McClanahan, T.R. Emergy analysis perspectives of Thailand and Mekong river dam proposals. Ecol. Model. 1996, 91, 105–130. [Google Scholar] [CrossRef]
- Romitelli, M.S. Emergy analysis of the new Bolivia-Brazil gas pipeline. In Emergy Synthesis: Theory and Application of the Emergy Methodology; Brown, M.T., Ed.; Center for Environmental Policy, University of Florida: Gainesville, FL, USA, 2000; pp. 53–69. [Google Scholar]
- Brown, M.T.; Bardi, E. Folio#3: Emergy of ecosystems. In Handbook of Emergy Evaluation: A Compendium of Data for Emergy Computation Issued in a Series of Folios; Center for Environmental Policy, University of Florida: Gainesville, FL, USA, 2001. [Google Scholar]
- Odum, H.T.; Arding, J.E. Emergy Analysis of Shrimp Mariculture in Ecuador; Coastal Resources Center, University of Rhode Island: Narraganset, Poland, 1991. [Google Scholar]
- Brown, M.T.; Buranakam, V. Emergy evaluation of material cycles and recycle options. In Emergy Synthesis: Theory and Applications of the Emergy Methodology; Broen, M.T., Ed.; The Center for Environmental Policy, Univerdity of Florida: Gainesville, FL, USA, 2000; pp. 141–154. [Google Scholar]
- Brown, M.T.; Arding, J.E. Transformities Working Paper; University of Florida, Center for Wetlands: Gainesville, FL, USA, 1991. [Google Scholar]
- Luchi, F.; Ulgioati., S. Energy and emergy assessment of municipal waste collection. A case study. In Emergy Synthesis: Theory and Application of the Emergy Methodology; Brown, M.T., Ed.; The Center of Environmental Policy, University of Florida: Gainesville, FL, USA, 2000. [Google Scholar]
- Sweeney, S.; Cohen, M.J.; King, D.M.; Brown, M.T. Creation of a global emergy database for standardized national emergy synthesis. In Proceedings of the 4th Biennial Emergy Research Conference, Gainesville, FL, USA, 19–21 January 2006; Brown, M.T., Ed.;
- National Bureau of Statistics of the Peopl’s Republic of China. China Energy Statistical Yearbook 2012; China Statistics Press: Beijing, China, 2012.
- China’s State Forestry Administration. China Forestry Statistical Yearbook 2011; China Forestry Publishing House: Beijing, China, 2012.
- National Bureau of Statistics of the People’s Republic of China. China Trade and External Economic Statistical Yearbook 2012; China Statistics Press: Beijing, China, 2012.
- Ulgiati, S.; Brown, M.T. Monitoring patterns of sustainability in natural and man-made ecosystems. Ecol. Model. 1998, 108, 23–36. [Google Scholar] [CrossRef]
- Ulgiati, S.; Brown, M.T.; Bastianoni, S.; Marchettini, N. Emergy-based indices and ratios to evaluate the sustainable use of resources. Ecol. Eng. 1995, 5, 519–531. [Google Scholar] [CrossRef]
- Brown, M.T.; Ulgiati, S. Emergy evaluations and environmental loading of electricity production systems. J. Clean. Prod. 2002, 10, 321–334. [Google Scholar] [CrossRef]
- Zhang, X.H.; Jiang, W.J.; Deng, S.H.; Peng, K. Emergy evaluation of the sustainability of Chinese steel production during 1998–2004. J. Clean. Prod. 2009, 17, 1030–1038. [Google Scholar] [CrossRef]
- Dendler, L. Sustainability meta labelling: An effective measure to facilitate more sustainable consumption and production? J. Clean. Prod. 2014, 63, 74–83. [Google Scholar] [CrossRef]
- Goncalves Lima, J.S.; Rivera, E.C.; Focken, U. Emergy evaluation of organic and conventional marine shrimp farms in Guaraira Lagoon, Brazil. J. Clean. Prod. 2012, 35, 194–202. [Google Scholar] [CrossRef]
- Budeanu, A. Impacts and responsibilities for sustainable tourism: A tour operator’s perspective. J. Clean. Prod. 2005, 13, 89–97. [Google Scholar] [CrossRef]
© 2014 by the authors; licensee MDPI, Basel, Switzerland. This article is an open access article distributed under the terms and conditions of the Creative Commons Attribution license (http://creativecommons.org/licenses/by/3.0/).
Share and Cite
Li, G.; Kuang, Y.; Huang, N.; Chang, X. Emergy Synthesis and Regional Sustainability Assessment: Case Study of Pan-Pearl River Delta in China. Sustainability 2014, 6, 5203-5230. https://doi.org/10.3390/su6085203
Li G, Kuang Y, Huang N, Chang X. Emergy Synthesis and Regional Sustainability Assessment: Case Study of Pan-Pearl River Delta in China. Sustainability. 2014; 6(8):5203-5230. https://doi.org/10.3390/su6085203
Chicago/Turabian StyleLi, Guomin, Yaoqiu Kuang, Ningsheng Huang, and Xiangyang Chang. 2014. "Emergy Synthesis and Regional Sustainability Assessment: Case Study of Pan-Pearl River Delta in China" Sustainability 6, no. 8: 5203-5230. https://doi.org/10.3390/su6085203
APA StyleLi, G., Kuang, Y., Huang, N., & Chang, X. (2014). Emergy Synthesis and Regional Sustainability Assessment: Case Study of Pan-Pearl River Delta in China. Sustainability, 6(8), 5203-5230. https://doi.org/10.3390/su6085203




