Technologies for the Rational Use of Animal Waste: A Review
Abstract
1. Introduction
- -
- Analyze and discuss the most important types of technological equipment involved in animal waste processing technologies, particularly devices for drying, grinding, and mixing;
- -
- Analyze and discuss technologies for processing waste into useful products of animal origin.
2. Materials and Methods
3. Results and Discussion
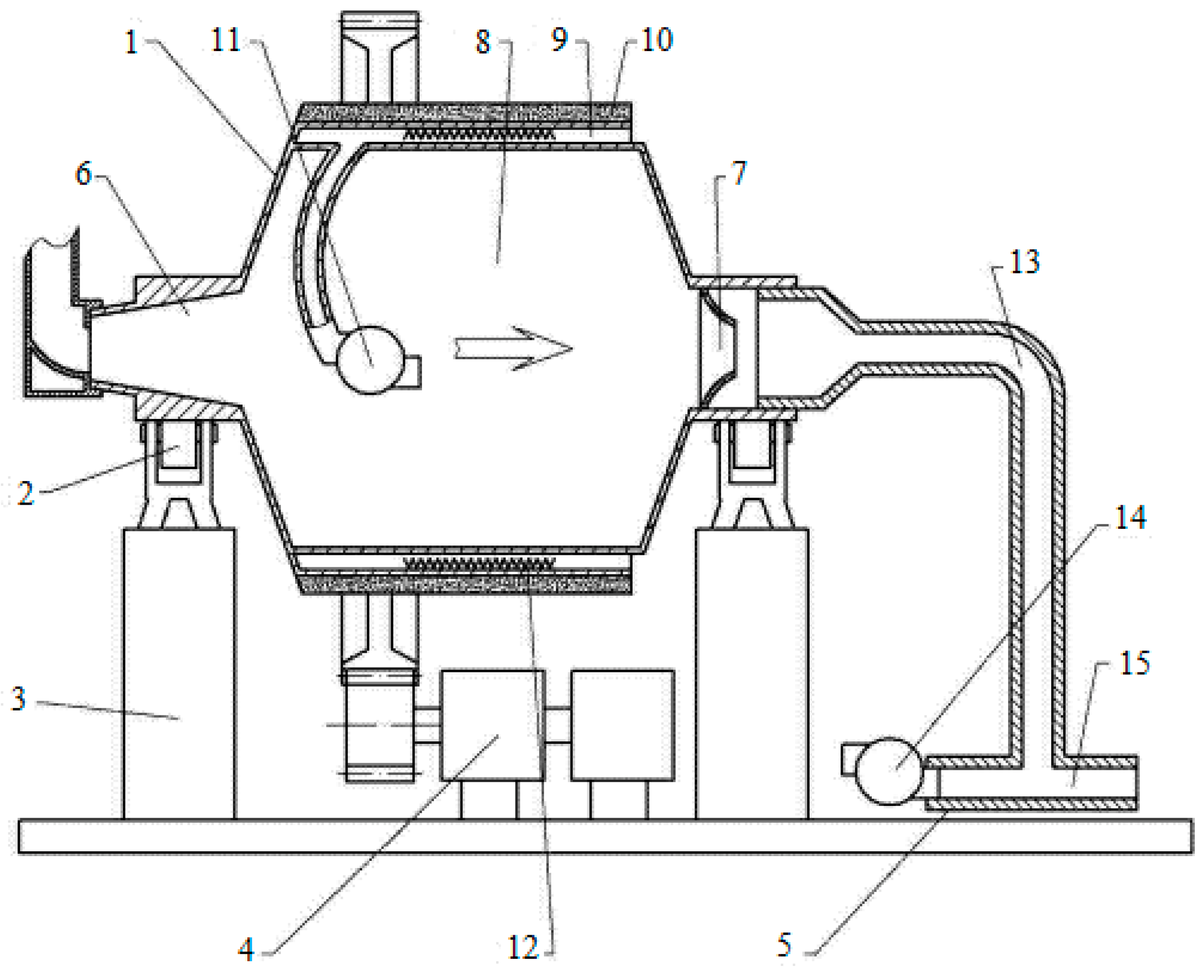
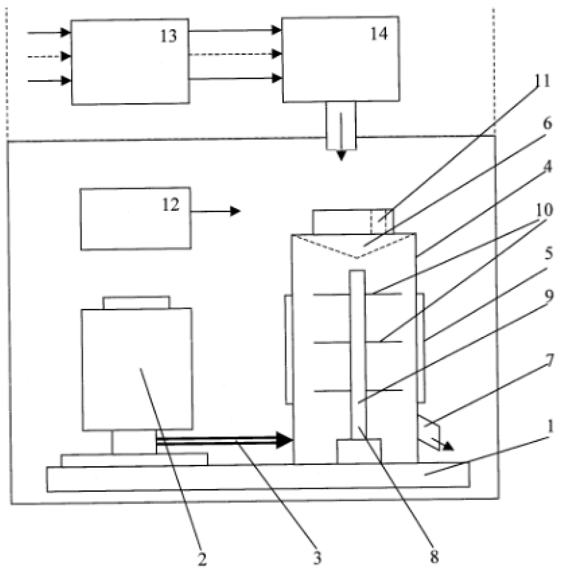
3.1. Devices for Drying, Grinding, and Mixing in the Processing of Animal Waste
3.2. Technologies for Processing Waste into Useful Animal Products
4. Conclusions
Author Contributions
Funding
Institutional Review Board Statement
Informed Consent Statement
Data Availability Statement
Conflicts of Interest
References
- Rajendran, D.; Ezhuthupurakkal, P.B.; Lakshman, R.; Gowda, N.K.S.; Manimaran, A.; Rao, S.B. Application of Encapsulated Nano Materials As Feed Additive in Livestock and Poultry: A review. Vet. Res. Commun. 2022, 46, 315–328. [Google Scholar] [CrossRef]
- Seidavi, A.; Azizi, M.; A Swelum, A.; El-Hack, M.E.A.; Naiel, M.A.E. Practical Application of Some Common Agro-Processing Wastes in Poultry Diets. World’s Poult. Sci. J. 2021, 77, 913–927. [Google Scholar] [CrossRef]
- Ramírez-Carmona, M.; Rendón-Castrillón, L.; Ocampo-López, C.; Sánchez-Osorno, D. Fish Food Production Using Agro-Industrial Waste Enhanced with Spirulina sp. Sustainability 2022, 14, 6059. [Google Scholar] [CrossRef]
- Staroń, P.; Kowalski, Z.; Staroń, A.; Seidlerová, J.; Banach, M. Residues From the Thermal Conversion of Waste From the Meat Industry As a Source of Valuable Macro- and Micronutrients. Waste Manag. 2016, 49, 337–345. [Google Scholar] [CrossRef]
- Ranjbari, M.; Saidani, M.; Esfandabadi, Z.S.; Peng, W.; Lam, S.S.; Aghbashlo, M.; Quatraro, F.; Tabatabaei, M. Two Decades of Research on Waste Management in the Circular Economy: Insights from Bibliometric, Text Mining, and Content Analyses. J. Clean. Prod. 2021, 314, 128009. [Google Scholar] [CrossRef]
- Jia, S.; Li, X.; He, W.; Wu, G. Protein-Sourced Feedstuffs for Aquatic Animals in Nutrition Research and Aquaculture. Adv. Exp. Med. Biol. 2022, 1354, 237–261. [Google Scholar] [CrossRef]
- European Commission (EC). Commission Regulation (EU) No 142/2011 of 25 February 2011 implementing Regulation (EC) No 1069/2009 of the European Parliament and of the Council laying down health rules as regards animal by-products and derived products not intended for human consumption and implementing Council Directive 97/78/EC as regards certain samples and items exempt from veterinary checks at the border under that Directive Text with EEA relevance. Off. J. Eur. Union 2011, 54, 1–54. [Google Scholar]
- European Commission (EC). Regulation (EC) No 1069/2009 of the European Parliament and of the Council of 21 October 2009 Laying Down Health Rules as Regards Animal By-Products and De-Rived Products not Intended for Human Consumption and Repealing Regulation (EC) No. 1774/2002. Available online: http://eur-lex.europa.eu/legal-content/EN/ALL/?uri=CELEX%3A32009R1069 (accessed on 24 December 2021).
- European Commission (EC). Regulation (EC) No 999/2001 of the European Parliament and of the Council of 22 May 2001 laying down rules for the prevention, control and eradication of certain transmissible spongiform encephalopathies. Off. J. Eur. Union 2001, 147, 1–40. [Google Scholar]
- European Commission (EC). Regulation (EC) No 183/2005 of the European Parliament and of the Council of 12 January 2005 laying down requirements for feed hygiene. Off. J. Eur. Union 2005, 35, 1–22. [Google Scholar]
- Ferreira, A.; Kunh, S.S.; Cremonez, P.A.; Dieter, J.; Teleken, J.G.; Sampaio, S.C.; Kunh, P.D. Brazilian Poultry Activity Waste: Destinations and Energetic Potential. Renew. Sustain. Energy Rev. 2018, 81, 3081–3089. [Google Scholar] [CrossRef]
- Franke-Whittle, I.H.; Insam, H. Treatment Alternatives of Slaughterhouse Wastes, and Their Effect on the Inactivation of Different Pathogens: A Review. Crit. Rev. Microbiol. 2013, 39, 139–151. [Google Scholar] [CrossRef]
- Iskakov, R.M.; Iskakova, A.M.; Issenov, S.S.; Beisebekova, D.M.; Khaimuldinova, A.K. Technology of Multi-stage Sterilization of Raw Materials With the Production of Feed Meal of High Biological Value. J. Pure Appl. Microbiol. 2019, 13, 307–312. [Google Scholar] [CrossRef]
- Iskakov, R.M.; Iskakova, A.M.; Nurushev, M.Z.; Khaimuldinova, A.K.; Karbayev, N.K. Method for the Production of Fat from Raw Materials and Animal Waste. J. Pure Appl. Microbiol. 2021, 15, 716–724. [Google Scholar] [CrossRef]
- Iskakov, R.M.; Iskakov, M.M.; Imasheva, A.S.; Isenov, S.S.; Bukganbaeva, Z.E.; Manapova, Z.K. Method for the Production of Meat and Bone Meal. Eurasian Invention Patent EA27826-B1, 2017. [Google Scholar]
- Yurchenko, P.A.; Okranchuk, O.K.; Evdokimov, V.N. New technological processes and technical means for the production of dry feed of animal origin, developed by UkrNIImyasomolprom. Express Inf. Agroniiteimmp 1987, 5, 53–54. (In Russian) [Google Scholar]
- Ivashov, V.I. Technological equipment of meat industry enterprises. Part 1. In Equipment for Slaughter and Primary Processing; Kolos: Moscow, Russia, 2001; pp. 418–432. (In Russian) [Google Scholar]
- Kondrashin, S.A. Improving the efficiency of the dry animal feed drying process. Meat Ind. 2004, 2, 53–54. (In Russian) [Google Scholar]
- Lisitsyn, A.B.; Kuznetsova, O.A.; Gorbatov, S.A.; Ermakov, Y.P.; Belozerov, G.A.; Titov, E.I.; Gushchin, V.V. History of the meat industry in Russia. In Monograph. T. 1; Federal Scientific Center for Food Systems Named after V.M. Gorbatov: Moscow, Russia, 2021; p. 296. (In Russian) [Google Scholar]
- Lisitsyn, A.B.; Kuznetsova, O.A.; Gorbatov, S.A.; Ermakov, Y.P.; Belozerov, G.A.; Titov, E.I.; Gushchin, V.V. History of the meat industry in Russia. In Monograph. T. 2; Federal Scientific Center for Food Systems Named after V.M. Gorbatov: Moscow, Russia, 2021; p. 392. (In Russian) [Google Scholar]
- Stork, D.B.V. Documentation for Agriculture, Meat and Poultry-Processing Industry; Peya Holding: Moscow, Russia, 1989; pp. 1–7. (In Russian) [Google Scholar]
- Faivishevsky, M.L.; Kuzmenko, N.P. A highly efficient way to process non-food waste from livestock slaughter. Meat Ind. 2003, 2, 35–37. (In Russian) [Google Scholar]
- Bolshukhin, A.Y. Drying-Grinding Plant. Russian Patent US9839661B2, 2010. [Google Scholar]
- Rakhyzhanov, O.R.; Umbetov, E.S. A Device for Grinding and Drying Raw Materials in the Production of Meat and Bone Meal. Kazakhstan Patent 815 KZ, 1994. [Google Scholar]
- Soonnam, B. The Device of the Mixing Part of the Grinder of Food Waste. Kazakhstan Patent KR10-1026463, 2011. [Google Scholar]
- Savinyh, P.; Isupov, A.; Ivanov, I.; Ivanovs, S. Research in Centrifugal Rotary Grinder of Forage Grain. Eng. Rural Dev. 2021, 20, 205–211. [Google Scholar]
- Laha, S.K.; Swarnakar, B.; Kansabanik, S.; Uke, K.J. Rub-Impact Fault Diagnosis of a Coal Crusher Machine by Using Ensemble Patch Transformation and Empirical Mode Decomposition. Appl. Cond. Monit. 2022, 18, 265–278. [Google Scholar]
- Scholl, S. Process Engineering Design of Evaporators. Chem. Ing. Technik. 2010, 82, 2179–2187. [Google Scholar] [CrossRef]
- Jin, H.; Guo, H.X.; Cao, G.Z.; Wei, S.N. Function Innovation Design Model and Its Application in Heating Equipment. Frontiers of Manufacturing Science and Measuring Technology III, PTS 1-3. Appl. Mech. Mater. 2013, 401, 371. [Google Scholar] [CrossRef]
- Warzecha, M.; Michalczyk, J. Calculation of Maximal Collision Force in Kinematic Chains Based on Collision Force Impulse. J. Theor. Appl. Mech. 2020, 58, 339–349. [Google Scholar] [CrossRef]
- Zhiltsov, A.P.; Vlasenko, D.A.; Levchenko, E.P. Research and Substantiation of Structural and Technological Parameters of the Process of Grinding Agglomeration Fluxes in a Hammer Mill. Chernye Met. 2019, 2019, 4–10. [Google Scholar]
- Leiva, A.; Granados-Chinchilla, F.; Redondo-Solano, M.; Arrieta-González, M.; Pineda-Salazar, E.; Molina, A. Characterization of the Animal By-Product Meal Industry in Costa Rica: Manufacturing Practices Through the Production Chain and Food Safety. Poult. Sci. 2018, 97, 2159–2169. [Google Scholar] [CrossRef]
- Farmanesh, A.; Mohtasebi, S.S.; Omid, M. Optimization of Rendering Process of Poultry by Products with Batch Cooker Model Monitored by Electronic Nose. J. Environ. Manag. 2019, 235, 194–201. [Google Scholar] [CrossRef]
- Kakuno, T.; Iwakiri, T. Producing Chicken Manure Feed by Performing Thermal Decomposition and Incineration of Chicken Manure in Processing Furnace without Supplying Oxygen. Japanese Patent WO2021010385-A1, 21 January 2021. [Google Scholar]
- Xun, Y. Chicken Earthworm Ring Breeding Method. CN Patent 108719177 A, 2 November 2018. [Google Scholar]
- Pan, S. A Kind of Worm Droppings that Use Chicken Manure to Raise Black Soldier Flies as Raw Materials. CN Patent 114538969 A, 27 May 2022. [Google Scholar]
- Lin, F.; Chen, D.; Chen, S.; Zheng, X. Feed Formula and Production Process that Can Regulate Sugar Metabolism of Yellow Mullet. CN Patent 113841810 A, 28 December 2021. [Google Scholar]
- He, Y. Feed Drying System. CN Patent 105423718 A, 23 March 2016. [Google Scholar]
- Darling, J.S.; Darling, D.S. Apparatus for Recycling of Protein Waste and Fuel Production. U.S. Patent 2007/0212776 A1, 13 September 2007. [Google Scholar]
- Zilberberg, V.S. Installation Drying-Grinding (USI). R.U. Patent 71860 U1, 27 March 2008. [Google Scholar]
- Available online: https://ozlib.com/1006618/agro/ispolzovanie_othodov_proizvodstv_pererabotke_syrya_zhivotnogo_proishozhdeniya (accessed on 24 December 2021).
- Awasthi, K.S.; Gopireddy, S.R.; Scherließ, R.; Urbanetz, N.A. Numerical Investigation of Screw Design Influence on Screw Feeding in a Roller Compactor. In Proceedings of the 6th International Conference on Particle-Based Methods, Fundamentals and Applications, Particles, Barcelona, Spain, 28–30 October 2019; pp. 444–455. [Google Scholar]
- Vasilenko, V.N.; Frolova, L.N.; Mikhailova, N.A.; Dragan, I.V. Innovative Technology to Obtain Forage Flour from Keratin-containing Waste by Extrusion. IOP Conf. Ser. Earth Environ. Sci. 2021, 640, 022010. [Google Scholar] [CrossRef]
- Tian, H.; Wang, H.; Huang, T.; Liu, F.; Han, B. Design of Combination Sieve for Hammer Feed Mill to Improve Crushing Performance. Nongye Gongcheng Xuebao Trans. Chin. Soc. Agric. Eng. 2018, 3, 45–52. [Google Scholar]
- Liu, B.; Zhang, D.X.; Zong, L.; Zhao, B.; Zhang, Y.D.; Wang, G.L.; Zhang, H.; Zhang, J.B.; Jiao, F. Investigation on the Motion States of the Ham-mers while Hammer Mill Steady Running by High-speed Photography. Hist. Mech. Technol. Mech. Des. 2011, 42, 317. [Google Scholar]
- Munkhbayar, B.; Bayaraa, N.; Rehman, H.; Kim, J.; Chung, H.; Jeong, H. Grinding Characteristic of Multi-walled Carbon Nanotubes-alumina Composite Particle. J. Wuhan Univ. Technol.-Mater. Sci. Ed. 2012, 27, 1009–1013. [Google Scholar] [CrossRef]
- Alpeissov, Y.; Iskakov, R.; Issenov, S.; Ukenova, A. Obtaining a Formula Describing the Interaction of Fine Particles With an Expanding Gas Flow in a Fluid Layer. East.-Eur. J. Enterp. Technol. 2022, 2, 87–97. [Google Scholar] [CrossRef]
- Issenov, S.; Iskakov, R.; Tergemes, K.; Issenov, Z. Development of Mathematical Description of Mechanical Characteristics of Integrated Multi-Motor Electrical Drive for Drying Plant. East.-Eur. J. Enterp. Technol. 2022, 1, 46–54. [Google Scholar] [CrossRef]
- Iskakov, R.M.; Issenov, S.S.; Iskakova, A.M.; Halam, S.; Beisebekova, D.M. Heat-and-Moisture Transfer at the Feed Meal Particles Drying and Grinding. Life Sci. J. 2013, 10, 497–502. [Google Scholar]
- Iskakov, R.M. Device for Drying Raw Materials in Production of Meat and Bone Meal. R.U. Utility Model Patent 182210 U1, 7 August 2018. [Google Scholar]
- Maratbekov, A.R.; Iskakov, R.M. Device for Crushing and Drying Raw Materials in the Production of Fodder Bone Meal. KZ. Utility Model Patent 5493, 30 October 2020. [Google Scholar]
- Iskakov, R.M.; Mamirbaeva, I.K.; Gulyarenko, A.A.; Silaev, M.Y.; Gusev, A.S. Improved Hammers for Crushers in Feed Production. Russ. Eng. Res. 2022, 42, 987–992. [Google Scholar] [CrossRef]
- Smits, M.; Kronbergs, E. Determination Centre of Percussion for Hammer Mill Hammers. In Proceedings of the 16th International Scientific Conference on Engineering for Rural Development Latvia, Jelgava, Lativa, 24–26 May 2017; pp. 364–368. Available online: https://www.tf.llu.lv/conference/proceedings2017/Papers/N072.pdf (accessed on 1 January 2020).
- Iskakov, R.M.; Issenov, S.S.; Iskakova, A.M.; Halam, S.; Beisebekova, D.M. Microbiological Appraisal of Feed Meal of Animal Origin, Produced by Drying and Grinding Installation. J. Pure Appl. Microbiol. 2015, 9, 587–592. [Google Scholar]
- Karpin, V.Y. Improving the Efficiency of the Technological Line for the Production of Dry Animal Feed by Modeling the Process of the Line and the Working Bodies of the Grinder of the Bones of Farm Animals. Ph.D. Thesis, Saint Petersburg State Agrarian University, Saint Petersburg, Russia, 2001. (In Russian). [Google Scholar]
- Liu, B.Q.; Sun, N.; Jin, Z.J.; Zhang, Y.K.; Sunden, B. Numerical Investigation and Estimating Correlation of Micromixing Performance of Coaxial Mixers. Ind. Eng. Chem. Res. 2019, 58, 22376–22388. [Google Scholar] [CrossRef]
- Li, X.N.; Yang, L.; Guo, J.H.; Li, W.; Zhou, M.L.; Zhang, J.L. Micromixing Performance of the Teethed High Shear Mixer Under Semi-Batch Operation. Front. Chem. Sci. Eng. 2021, 16, 546–559. [Google Scholar] [CrossRef]
- Ospanov, A.A. Improvement of Processes and Equipment for Grinding Food and Feed Raw Materials. Ph.D. Thesis, Moscow Technological Institute of the Food Industry, Moscow, Russia, 1992. (In Russian). [Google Scholar]
- Abd El-Wahab, A.; Chuppava, B.; Zeiger, A.L.; Visscher, C.; Kamphues, J. Nutrient Digestibility and Fecal Quality in Beagle Dogs Fed Meat and Bone Meal Added to Dry Food. Vet. Sci. 2022, 9, 164. [Google Scholar] [CrossRef]
- Castro-Bedriñana, J.; Chirinos-Peinado, D. Nutritional Value of Some Raw Materials for Guinea pigs (Cavia porcellus) Feeding. Transl. Anim. Sci. 2021, 5, txab019. [Google Scholar] [CrossRef]
- Li, S.; Li, H.; He, Z. Optimization of preparation process of nanometer rabbit bone meal by ball milling. Nongye Gongcheng Xuebao/Trans. Chin. Soc. Agric. Eng. 2017, 33, 300–306. [Google Scholar]
- Sánchez-Bascones, M.; Corrêa-Guimarães, A.; Requena, J.F.S.; Navas-Gracia, L.M.; Martín-Gil, J.; Díez-Gutiérrez, M.A.; Hernández-Navarro, S. Animal Solid Waste Management through Composting Techniques. Closed Semi-Continuous Composters as a New Approach for in-Situ Carcasses Disposal. Dyn. Soil Dyn. Plant 2008, 2, 25–34. Available online: https://www.researchgate.net/publication/257022254_Animal_Solid_Waste_Management_through_Composting_Techniques_Closed_Semi-Continuous_Composters_as_a_New_Approach_for_in-Situ_Carcasses_Disposal (accessed on 5 October 2008).
- Kowalski, Z.; Makara, A. Sustainable Systems for the Production of District Heating Using Meat-Bone Meal as Biofuel: A Polish Case Study. Energies 2022, 15, 3615. [Google Scholar] [CrossRef]
- Malaweera, B.O.; Wijesundara, W.M.N.M. Use of Seafood Processing By-Products in the Animal Feed Industry. In Seafood Processing By-Products: Trends and Applications; Springer: Berlin/Heidelberg, Germany, 2013; pp. 315–339. [Google Scholar]
- Londono-Zuluaga, C.; Jameel, H.; Gonzalez, R.W.; Lucia, L. Crustacean Shell-based Biosorption Water Remediation Platforms: Status and Perspectives. J. Environ. Manag. 2019, 231, 757–762. [Google Scholar] [CrossRef] [PubMed]
- Tibbetts, S.M.; Lall, S.P. Effect of Dietary Inclusion of Atlantic Snow Crab, Chionoecetes Opilio and Northern Pink Shrimp, Pandalis Borealis Processing by-Products on Nutrient Digestibility by Juvenile Haddock, Melanogrammus aeglefinus L. Anim. Feed. Sci. Technol. 2013, 182, 126–130. [Google Scholar] [CrossRef]
- da Silva Mendonça, D.; Lana, S.R.V.; Lana, G.R.Q.; Leão, A.P.A.; de Barros Júnior, R.F.; dos Anjos Lima, L.A.; de Barros Ayres, I.C.; Santos, D.S.; da Silva, W.A. Different Calcium Sources on the Productive Performance and Bone Quality of Meat Quail. Cienc. Rural 2022, 52, e20210446. [Google Scholar] [CrossRef]
- Al-Souti, A.; Gallardo, W.; Claereboudt, M.; Mahgoub, O. Attractability and Palatability of Formulated Diets Incorporated With Chicken Feather and Algal Meals for Juvenile Gilthead Seabream, Sparus Aurata. Aquac. Rep. 2019, 14, 100199. [Google Scholar] [CrossRef]
- Brandelli, A.; Sala, L.; Kalil, S.J. Microbial Enzymes for Bioconversion of Poultry Waste Into Added-Value Products. Food Res. Int. 2015, 73, 3–12. [Google Scholar] [CrossRef]
- Kantarli, I.C.; Kabadayi, A.; Ucar, S.; Yanik, J. Conversion of Poultry Wastes Into Energy Feedstocks. Waste Manag. 2016, 56, 530–539. [Google Scholar] [CrossRef]
- Kazemi-Bonchenari, M.; Alizadeh, A.; Javadi, L.; Zohrevand, M.; Odongo, N.E.; Salem, A.Z. Use of Poultry Pre-cooked Slaughterhouse Waste as Ruminant Feed to Prevent Environmental Pollution. J. Clean. Prod. 2017, 145, 151–156. [Google Scholar] [CrossRef]
- Guo, Z.; Usman, M.; Alsareii, S.A.; Harraz, F.A.; Al-Assiri, M.; Jalalah, M.; Li, X.; Salama, E.-S. Synergistic Ammonia and Fatty Acids Inhibition of Microbial Communities during Slaughterhouse Waste Digestion for Biogas Production. Bioresour. Technol. 2021, 337, 125383. [Google Scholar] [CrossRef] [PubMed]
- Dede, O.H.; Ozer, H. Enrichment of Poultry Manure with Biomass Ash to Produce Organomineral Fertiliser. Environ. Eng. Res. 2018, 23, 449–455. [Google Scholar] [CrossRef]
- Byung-Tae, J.; Wan-Seop, K.; Sung-Ki, K.; Sang-Moo, L.; Sang-Ho, M. Effects of Supplementary Levels of Deep-stacked Broiler Litter on Digestibility, Dry Matter Intake, and Nitrogen Balance by Male Spotted Deer (Cervus nippon). J. Anim. Sci. Technol. 2003, 45, 79–86. [Google Scholar]
- Levy, M.; Dewey, C.; Weersink, A.; Mutua, F.; Carter, N.; Poljak, Z. Evaluating Critical Factors to the Economic Feasibility of Semi-intensive Pig Rearing in Western Kenya. Trop. Anim. Health Prod. 2014, 46, 797–808. [Google Scholar] [CrossRef] [PubMed]
- Butu, M.; Rodino, S.; Pentea, M.; Negrea, A.; Petrache, P.; Butnariu, M. Ir Spectroscopy of the Flour From Bones of European Hare. Dig. J. Nanomater. Biostruct. 2014, 9, 1317–1322. [Google Scholar]
- He, Y.F.; Wang, W.J.; Tan, B.P.; Dong, X.H.; Yang, Q.H.; Liu, H.Y.; Chi, S.Y. Apparent Digestibility of Nutrients in Thirteen Animal-Based Feedstuffs by the Orange-spotted Grouper Epinephelus coioides. N. Am. J. Aquac. 2022, 84, 219–228. [Google Scholar] [CrossRef]
- Frempong, N.S.; Nortey, T.N.; Paulk, C.; Stark, C.R. Evaluating the Effect of Replacing Fish Meal in Broiler Diets With Either Soybean Meal or Poultry By-Product Meal on Broiler Performance and Total Feed Cost Per Kilogram of Gain. J. Appl. Poult. Res. 2019, 28, 912–918. [Google Scholar] [CrossRef]
- Lee, T.-Y.; Lee, Y.-S.; Yeh, R.-H.; Chen, K.-H.; Chen, K.-L. Bacillus Amyloliquefaciens CU33 Fermented Feather Meal-Soybean Meal Product Improves the Intestinal Morphology to Promote the Growth Performance of Broilers. Poult. Sci. 2022, 101, 102027. [Google Scholar] [CrossRef] [PubMed]
- Aquipuch, K.; Quispe, M.; Bellido, O.; Zegarra, J. Production of Bread with Eggshell Powder and the Increase of Calcium Content in the Body. Carpath. J. Food Sci. Technol. 2020, 12, 80–88. [Google Scholar] [CrossRef]
- Xu, D.F.; Cao, J.M.; Li, Y.X.; Howard, A.; Yu, K.W. Effect of Pyrolysis Temperature on Characteristics of Biochars Derived from Different Feedstocks: A Case Study on Ammonium Adsorption Capacity. Waste Manag. 2019, 87, 652–660. [Google Scholar] [CrossRef]
- Khoo, S.C.; Ma, N.L.; Peng, W.X.; Ng, K.K.; Goh, M.S.; Chen, H.L.; Tan, S.H.; Lee, C.H.; Luang-In, V.; Sonne, C. Valorisation of Biomass and Diaper Waste Into a Sustainable Production of the Medical Mushroom Lingzhi Ganoderma Lucidum. Chemosphere 2022, 286, 131477. [Google Scholar] [CrossRef]
- Zhou, Y.; Zeng, G.; Zhang, F.; Luo, J.; Li, X.; Li, J.; Fang, Z. Toward Utilization of Agricultural Wastes: Development of a Novel Keratin Reinforced Soybean Meal-based Adhesive. ACS Sustain. Chem. Eng. 2021, 9, 7630–7637. [Google Scholar] [CrossRef]
- Chen, H.; Gao, S.; Li, Y.; Xu, H.-J.; Li, W.; Wang, J.; Zhang, Y. Valorization of Livestock Keratin Waste: Application in Agricultural Fields. Int. J. Environ. Res. Public Health 2022, 19, 6681. [Google Scholar] [CrossRef]
- Swe, K.H.; Lay, K.K.; Aung, Y.L.; Thiri, T.; Oo, H.L.; Naing, H.T.H.; Lwin, T.; Maung, A.T. Effect of Animal By-Products on the Growth Performance of Broiler Chickens. J. Livest. Sci. 2022, 13, 58–66. [Google Scholar] [CrossRef]
- Khaleduzzaman, A.; Salim, H. Development of Local Calibrations for the Nutritional Evaluation of Fish Meal and Meat & Bone Meal by Using Near-Infrared Reflectance Spectroscopy. J. Appl. Anim. Res. 2020, 48, 257–263. [Google Scholar] [CrossRef]
- Ogunji, J.; Iheanacho, S. Alternative Protein Source: Acceptability of Cow Blood Meal in Place of Fish Meal Assessed Via Growth, Antioxidant Enzymes Functions and Haematological Response in Clarias gariepinus (Burchell, 1822). Aquac. Res. 2021, 52, 2651–2661. [Google Scholar] [CrossRef]
- Murthy, K.S.; Reddy, M.R.; Reddy, G.V.N. Utilization of Cage Layer Droppings and Poultry Litter As Feed Supplements for Lambs and Kids. Small Rumin. Res. 1995, 16, 221–225. [Google Scholar] [CrossRef]
- Kismiati, S.; Yuwanta, T.; Zuprizal, Z.; Supadmo, S.; Atmomarsono, U. Calcium Deposition in Egg Due to Substitution of Limestone by Eggshell Flour in Feed of Laying Hens. J. Indones. Trop. Anim. Agric. 2018, 43, 257–264. [Google Scholar] [CrossRef]
- Kyu, K.L. Feed Manufacturing Method Using Discarded Eggs. K.R. Patent 10-1516737, 6 May 2015. [Google Scholar]
- Khan, S.H. Recent Advances in Role of Insects As Alternative Protein Source in Poultry Nutrition. J. Appl. Anim. Res. 2018, 46, 1144–1157. [Google Scholar] [CrossRef]
- Allegretti, G.; Talamini, E.; Schmidt, V.; Bogorni, P.C.; Ortega, E. Insect As Feed: An Emergy Assessment of Insect Meal As a Sustainable Protein Source for the Brazilian Poultry Industry. J. Clean. Prod. 2018, 171, 403–412. [Google Scholar] [CrossRef]
- Siddiqui, S.A.; Ristow, B.; Rahayu, T.; Putra, N.S.; Yuwono, N.W.; Nisa’, K.; Mategeko, B.; Smetana, S.; Saki, M.; Nawaz, A.; et al. Black Soldier Fly Larvae (BSFL) and Their Affinity for Organic Waste Processing. Waste Manag. 2022, 140, 1–13. [Google Scholar] [CrossRef] [PubMed]
- Amrul, N.F.; Ahmad, I.K.; Basri, N.E.A.; Suja, F.; Jalil, N.A.A.; Azman, N.A. A Review of Organic Waste Treatment Using Black Soldier Fly (Hermetia illucens). Sustainability 2022, 14, 4565. [Google Scholar] [CrossRef]
- Zhao, J.; Kawasaki, K.; Miyawaki, H.; Hirayasu, H.; Izumo, A.; Iwase, S.-I.; Kasai, K. Egg Quality and Laying Performance of Julia Laying Hens Fed with Black Soldier Fly (Hermetia illucens) Larvae Meal As a Long-Term Substitute for Fish Meal. Poult. Sci. 2022, 101, 101986. [Google Scholar] [CrossRef]
- Ozdemir, S.; Yetilmezsoy, K. A Mini Literature Review on Sustainable Management of Poultry Abattoir Wastes. J. Mater. Cycles Waste Manag. 2020, 22, 11–21. [Google Scholar] [CrossRef]
- Arnaud, E.; Relkin, P.; Pina, M.; Collignan, A. Characterisation of Chicken Fat Dry Fractionation at the Pilot Scale. Eur. J. Lipid Sci. Technol. 2004, 106, 591–598. [Google Scholar] [CrossRef]
- Sommer, S.G. Effect of Composting on Nutrient Loss and Nitrogen Availability of Cattle Deep Litter. Eur. J. Agron. 2001, 14, 123–133. [Google Scholar] [CrossRef]
- Dedousi, A.; Kritsa, M.-Z.; Stojčić, M.; Sfetsas, T.; Sentas, A.; Sossidou, E. Production Performance, Egg Quality Characteristics, Fatty Acid Profile and Health Lipid Indices of Produced Eggs, Blood Biochemical Parameters and Welfare Indicators of Laying Hens Fed Dried Olive Pulp. Sustainability 2022, 14, 3157. [Google Scholar] [CrossRef]
- Salvia, R.; Falabella, P. Bioconverter insects: A good example of circular economy, the study case of hermetia illucens. In An Introduction to the Circular Economy; Springer Nature: Basingstoke, UK, 2021; pp. 261–280. [Google Scholar]
- Hwangbo, J.; Hong, E.C.; Jang, A.; Kang, H.K.; Oh, J.S.; Kim, B.W.; Park, B.S. Utilization of House Fly-maggots, a Feed Supplement in the Production of Broiler Chickens. J. Environ. Biol. 2009, 30, 609–614. [Google Scholar] [PubMed]






| Type of Animal Waste | Purpose of Animal Waste |
|---|---|
| Heads, skin, trimmings, fins, scales, entrails, and bones of fish [64] | Animal feed, biodiesel/biogas, diet foods (chitosan), food packaging (chitosan), cosmetics (collagen), and soil fertilizers [64] |
| Crustacean shells [64] | Animal feed, fertilizers, and for the removal of organic compounds from anionic metal compounds and heavy metal ions [65] |
| By-products of crab production [64] | Fish meal substitute [66] |
| Charru mussel, maçunim and oyster shell meals [67] | Source of calcium in the diet of European quails [67] |
| Processed chicken feathers (autoclaved with 0.5% NaOH) | The component in 2 mm granular granules intended for feeding fish [68] |
| Chicken fat | Feedstock for biodiesel production [69] |
| Bird meal | Biochar and bio-oil for use as heating and transport fuel [70] |
| Poultry slaughter waste | A ruminant feed with huge potential as cleaner animal feed for pollution prevention [71]; conversion to biogas by anaerobic digestion [72] |
| Bird droppings | Biochar and bio-oil for use as heating and transport fuel [70]. Raw material for fertilizer [73] |
| Broiler litter | Feed for male deer [74] |
| Bones of farm animals, bone food residues | Feed elements for creating diets for feeding pigs [75], glue [76] |
| Blood of farm animals | Feed blood meal [77] |
| Remains of bird feathers | Hydrolyzed feather meal [HFM] [77], bio-based glue [78] |
| Keratin waste from chickens, ducks, geese, turkeys (feathers, hair), goats, and sheep (wool, hooves, horns, nails) | Animal feed, fertilizers [79] |
| Egg shells, classified as waste by the food industry [79,80] | In the production of compound feed, in fish farming and feed for target animals, in the production of biochar [81], raw materials for growing Lingzhi mushrooms (Ganoderma lucidum) [82] |
| Type of Feed of Animal Origin | Type of Waste Raw Materials of Animal Origin | Purpose of Feed |
|---|---|---|
| Bone meal [61,76] | Feed elements for creating diets for feeding pigs [75]. Bones of agricultural animals, bone food remains [76]. Eggshell [84,85,86] | Broiler feed [83] |
| Meat and bone meal [77] | Heads, skin, trimmings, fins, scales, viscera, and bones of fish [64]; poultry slaughter waste | When compiling a diet for poultry [84] |
| Blood meal (dry hemoglobin meal, dried blood meal [DBM]) [77] | Blood of farm animals [77] | Fish food [85] |
| Fish feal [77] | Heads, skin, trimmings, fins, scales, entrails, and bones of fish [64] | When compiling the diet for poultry [84], in the diet of pigs [64] |
| Shrimp meal [64,77] | Dried shrimp production waste; consists of heads, appendages, and exoskeletons [64] | Broiler feed [64] |
| Chicken meal [77] (poultry meal) | By-products from butchering chickens (poultry) [77] | Broiler feed [78] |
| Pork meat meal [77] | Pig slaughter waste [77] | Food for orange-spotted grouper Epinephelus coioides [77] |
| Fermented feather meal [FFM] [77] | Remains of bird feathers [78] | Broiler feed [78] |
| Hydrolyzed feather meal [HFM] [77] | Keratin waste from chickens, ducks, geese, and turkeys (feathers, hair) [84] | Food for fish, including Cobia Rachycentron canadum, northern snakehead Channa argus, and halibut Scophthalmus maximus [77] |
| Feed for male deer [74] | Broiler litter [73] | Feed for male deer in the amount of up to 30% of broiler litter in the feed mixture [74] |
| Feed additives are processed into pellets along with other feed ingredients [87,88] | Cage laying litter, poultry litter [88], broiler litter [74] | Up to 30% of the cell droppings of laying hens in the feed mixture can be directed to Nellore lambs and kids [88]. Up to 30% broiler litter in the feed mixture can be fed to male deer [74] |
| Eggshell feed [89], compound feed component [90] | Waste of egg raw materials, including shells [90] | Feed for fish farming and target animals [90] |
| Insect meal, feed ingredient, substitute for fish meal (FM) and soy meal (SBM) in feed mixtures for poultry diets [91] | Insects of the orders Diptera (black lion fly, housefly), Coleoptera (mealworms), Megadrilacea (earthworm), Lepidoptera (silkworm and Ford Cyrinus), and Orthoptera (grasshoppers, locusts, and crickets) [91]. Black Soldier Fly Larvae (BSFL) [92,93,94] | Bird food [95] |
Disclaimer/Publisher’s Note: The statements, opinions and data contained in all publications are solely those of the individual author(s) and contributor(s) and not of MDPI and/or the editor(s). MDPI and/or the editor(s) disclaim responsibility for any injury to people or property resulting from any ideas, methods, instructions or products referred to in the content. |
© 2023 by the authors. Licensee MDPI, Basel, Switzerland. This article is an open access article distributed under the terms and conditions of the Creative Commons Attribution (CC BY) license (https://creativecommons.org/licenses/by/4.0/).
Share and Cite
Iskakov, R.; Sugirbay, A. Technologies for the Rational Use of Animal Waste: A Review. Sustainability 2023, 15, 2278. https://doi.org/10.3390/su15032278
Iskakov R, Sugirbay A. Technologies for the Rational Use of Animal Waste: A Review. Sustainability. 2023; 15(3):2278. https://doi.org/10.3390/su15032278
Chicago/Turabian StyleIskakov, Ruslan, and Adilet Sugirbay. 2023. "Technologies for the Rational Use of Animal Waste: A Review" Sustainability 15, no. 3: 2278. https://doi.org/10.3390/su15032278
APA StyleIskakov, R., & Sugirbay, A. (2023). Technologies for the Rational Use of Animal Waste: A Review. Sustainability, 15(3), 2278. https://doi.org/10.3390/su15032278

