Application of Rock Abrasiveness and Rock Abrasivity Test Methods—A Review
Abstract
1. Introduction
2. Rock Abrasiveness Test Methods
2.1. Böhme Abrasion Test
2.2. Wide Wheel Abrasion Test
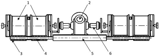
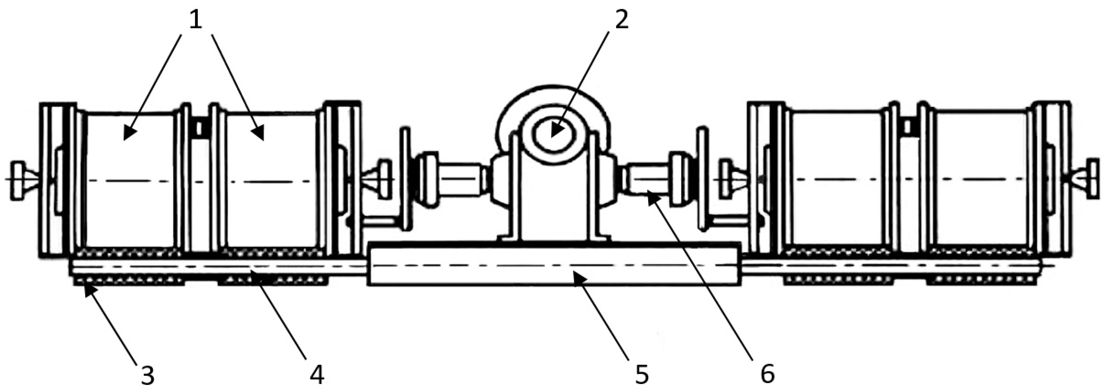
2.3. Amsler Abrasion Test
2.4. Micro-Deval Abrasion Test
2.5. Summary
3. Rock Abrasivity Test Methods
3.1. Cerchar Scratch Test
3.2. SHIMAZEK Coefficient
3.3. LCPC Abrasivity Test
3.4. SAT Abrasivity Test
3.5. RIAT Abrasivity Test
3.6. RSAI Abrasivity Test
3.7. AGH Abrasivity Test
3.8. Summary
4. Discussion
4.1. Rock Abrasiveness Test Methods Application
4.2. Rock Abrasivity Test Methods Application
5. Conclusions
Funding
Institutional Review Board Statement
Informed Consent Statement
Data Availability Statement
Conflicts of Interest
References
- Zhang, G.; Konietzky, H.; Song, Z.; Zhang, M. Study of Cerchar abrasive parameters and their relations to intrinsic properties of rocks for construction. Constr. Build. Mater. 2020, 244, 118327. [Google Scholar] [CrossRef]
- Figarska-Warchoł, B.; Rembiś, M. Lamination and Its Impact on the Physical and Mechanical Properties of the Permian and Triassic Terrestrial Sandstones. Resources 2021, 10, 42. [Google Scholar] [CrossRef]
- Valentini, F.; Pallecchi, P.; Relucenti, M.; Donfrancesco, O.; Sottili, G.; Pettiti, I.; Mussi, V.; De Angelis, S.; Scatigno, C.; Festa, G. SiO2 Nanoparticles as New Repairing Treatments toward the Pietraforte Sandstone in Florence Renaissance Buildings. Crystals 2022, 12, 1182. [Google Scholar] [CrossRef]
- Jonczy, I.; Wieczorek, A.; Filipowicz, K.; Mucha, K.; Kuczaj, M.; Pawlikowski, A.; Nuckowski, P.; Pieczora, E. Impact Identification of Carbon-Containing Carboniferous Clays on Surfaces of Friction Nodes. Energies 2021, 14, 1422. [Google Scholar] [CrossRef]
- Jonczy, I.; Mucha, K. Relationships between the Petrographic and Abrasive Properties of Sandstones in the Aspect of Their Cutting. Energies 2022, 15, 2692. [Google Scholar] [CrossRef]
- Alzahrani, A.M.; Lasheen, E.S.R.; Rashwan, M.A. Relationship of Mineralogical Composition to Thermal Expansion, Spectral Reflectance, and Physico-Mechanical Aspects of Commercial Ornamental Granitic Rocks. Materials 2022, 15, 2041. [Google Scholar] [CrossRef]
- Ye, Z.; Zhang, L.; Zhou, Z.; Pan, K.; Liu, X.; Liu, W.; Wu, Q. Mechanical Properties of the Combination of Surrounding Rock and Primary Support under Impacting Load. Sustainability 2023, 15, 4410. [Google Scholar] [CrossRef]
- Wang, X.; Wei, W.; Niu, Y.; Xia, C.; Song, L.; Han, G.; Zhu, Z. Triaxial Creep Mechanical Behaviors and Creep Damage Model of Dolomitic Limestone Material under Multi-Stage Incremental Loading. Materials 2023, 16, 1918. [Google Scholar] [CrossRef]
- Li, Z.; Zhu, Y.; Song, Q.; Wang, P.; Liu, D. Dynamic Mechanical Properties and Failure Characteristics of Sandstone with Pre-Flaws Parallel to the Loading Direction. Sustainability 2023, 15, 3587. [Google Scholar] [CrossRef]
- Zhang, S.; Che, C.; Zhao, C.; Du, S.; Liu, Y.; Li, J.; Yang, S. Effect of Fly Ash and Steel Fiber Content on Workability and Mechanical Properties of Roadway Side Backfilling Materials in Deep Mine. Energies 2023, 16, 1505. [Google Scholar] [CrossRef]
- Guidicini, G.; Nieble, C.M.; de Cornides, A.T. Analysis of point load test as a method for preliminary geotechnical classification of rocks. Bull. Int. Assoc. Eng. Geol. 1973, 7, 37–52. [Google Scholar] [CrossRef]
- Šporin, J.; Mrvar, P.; Janc, B.; Vukelić, Ž. Expression of the Self-Sharpening Mechanism of a Roller Cone Bit during Wear Due to the Influence of the Erosion Protection Carbide Coating. Coatings 2021, 11, 1308. [Google Scholar] [CrossRef]
- EN 14157:2017; Natural Stone Test Methods—Determination of the Abrasion Resistance. BSI Standards: London, UK, 2017.
- PN-EN 1341:2013-05; Płyty z Kamienia Naturalnego do Zewnętrznych Nawierzchni Drogowych—Wymagania i Metody Badań. Polski Komitet Normalizacyjny: Warsaw, Poland, 2013.
- Cobanoglu, I.; Celik, S.B.; Alkaya, D. Correlation between “Wide wheel abrasion (capon)” and “Bohme abrasion” test results for some carbonate rocks. Sci. Res. Essays 2010, 5, 3398–3404. [Google Scholar]
- FORM+TEST Seidner&Co. GmbH. Available online: http://www.formtest.de (accessed on 16 January 2023).
- Costa, A.V.; Gumieri, A.G.; Brandao, P.R.G. Interlocking concrete blocks produced with sinter feed tailings. IBRACON Struct. Mater. J. 2014, 7, 228–259. [Google Scholar]
- EN 1097-1:2011; Tests for Mechanical and Physical Properties of Aggregates—Part 1: Determination of the Resistance to Wear (Micro-Deval); European Standard. CEN: Stockholm, Sweden, 2011.
- Strzałkowski, P.; Kaźmierczak, U. Wear and Fragmentation Resistance of Mineral Aggregates—A Review of Micro-Deval and Los Angeles Tests. Materials 2021, 14, 5456. [Google Scholar] [CrossRef] [PubMed]
- Benjeddou, O.; Mashaan, N. Experimental Study of the Usability of Recycling Marble Waste as Aggregate for Road Construction. Sustainability 2022, 14, 3195. [Google Scholar] [CrossRef]
- EN 1097-2; Tests for Mechanical and Physical Properties of Aggregates—Part 2: Methods for the Determination of Resistance to Fragmentation; European Standard. CEN: Stockholm, Sweden, 2020.
- Plinninger, R.; Käsling, H.; Thuro, K.; Spaun, G. Testing conditions and geomechanical properties influencing the CERCHAR abrasiveness index (CAI) value. Int. J. Rock Mech. Min. Sci. 2003, 40, 259–263. [Google Scholar] [CrossRef]
- Plinninger, R.J.; Restner, U. Abrasivity Testing, Quo Vadis?—A Commented Overview of Abrasivity Testing Methods. Geomech. Tunelling 2008, 1, 61–70. [Google Scholar] [CrossRef]
- Yaralı, O.; Yaşar, E.; Bacak, G.; Ranjith, P. A study of rock abrasivity and tool wear in Coal Measures Rocks. Int. J. Coal Geol. 2008, 74, 53–66. [Google Scholar] [CrossRef]
- Torrijo, F.J.; Garzón-Roca, J.; Company, J.; Cobos, G. Estimation of Cerchar abrasivity index of andesitic rocks in Ecuador from chemical compounds and petrographical properties using regression analyses. Bull. Eng. Geol. Environ. 2019, 78, 2331–2344. [Google Scholar] [CrossRef]
- NF P94-430-1; Rock—Determination of the Rock Abrasiveness—Part 1: Schratching—Test with a Pointed Tool. AFNOR: Paris, France, 2000.
- ASTM D7625-10; Standard Test Method for Laboratory Determination of Abrasiveness of Rock Using the CERCHAR Method. ASTM International: West Conshohocken, PA, USA, 2010.
- West, G. A relation between abrasiveness and quartz content for some Coal Measures sediments. Geotech. Geol. Eng. 1986, 4, 73–78. [Google Scholar] [CrossRef]
- Alber, M.; Yaralı, O.; Dahl, F.; Bruland, A.; Käsling, H.; Michalakopoulos, T.N.; Cardu, M.; Hagan, P.; Aydın, H.; Özarslan, A. ISRM Suggested Method for Determining the Abrasivity of Rock by the CERCHAR Abrasivity Test. Rock Mech. Rock Eng. 2014, 47, 261–266. [Google Scholar] [CrossRef]
- SANDVIK Mining and Construction G.m.b.H. Available online: https://www.rocktechnology.sandvik/en/ (accessed on 10 February 2023).
- Schimazek, J.; Knatz, H. Der Einfluss des Gesteinsaubaus auf die Schnittgeschwindigkeit und Meisselverschleiss von Streckenvortriebsmaschinen. Gluckauf 1970, 6, 274–278. [Google Scholar]
- Ziaei, J.; Ghadernejad, S.; Jafarpour, A.; Mikaeil, R. A Modified Schimazek’s F-abrasiveness Factor for Evaluating Abrasiveness of Andesite Rocks in Rock Sawing Process. J. Min. Environ. (JME) 2020, 11, 563–575. [Google Scholar] [CrossRef]
- NF P18-579; Aggregate—Abrasiveness and Grindability Tests. AFNOR: Paris, France, 2013.
- Käsling, H.; Thuro, K. Determing abrasivity of rock and soil in the laboratory. In Geologically Active, Proceedings of the 11th IAEG Congress, Auckland, New Zealand, 5–10 September 2010; CRC Press: Leiden, The Netherlands, 2010. [Google Scholar]
- Janc, B.; Jovicić, V.; Vukelić, Z. Laboratory Test Methods for Assessing the Abrasivity of Rocks and Soils in Geotechnology and Mining Applications. Min. Environ. 2020, 67, 103–117. [Google Scholar] [CrossRef]
- Dahl, F.; Bruland, A.; Jakobsen, P.D.; Nilsen, B.; Grøv, E. Classification of properties influencing the drillability of rocks, based on the NTNU/SINTEF test method. Tunn. Undergr. Space Technol. 2012, 28, 150–158. [Google Scholar] [CrossRef]
- Jakobsen, P.D.; Bruland, A.; Dahl, F. Review and assessment of the NTNU/SINTEF Soil Abrasion Test (SATTM) for determination of abrasiveness of soil and soft ground. Tunn. Undergr. Space Technol. 2013, 37, 107–114. [Google Scholar] [CrossRef]
- Macias, F.J.; Dahl, F.; Bruland, A. New Rock Abrasivity Test Method for Tool Life Assessments on Hard Rock Tunnel Boring: The Rolling Indentation Abrasion Test (RIAT). Rock Mech. Rock Eng. 2016, 49, 1679–1693. [Google Scholar] [CrossRef]
- Mosleh, M.; Hu, W.; Rostami, J. Introduction to Rock and Soil Abrasivity Index (RSAI). Wear 2019, 432–433, 202953. [Google Scholar] [CrossRef]
- Mucha, K. Ścierność skał w Aspekcie Prognozowania Zużycia Noży Kombajnowych (Rock Abrasivity in Terms of Forecasting the Abrasive Wear of Cutting Picks). Ph.D. Thesis, AGH University of Science and Technology, Kraków, Poland, 2019. [Google Scholar]
- Mucha, K. The new method for assessing rock abrasivity in terms of wear of conical picks. New Trends Prod. Eng. 2019, 2, 186–194. [Google Scholar] [CrossRef]
- Karaca, Z.; Günes Yılmaz, N.; Goktan, R.M. Considerations on the European Standard EN 14157 Test Methods: Abrasion Resistance of Natural Stones Used for Flooring in Buildings. Rock Mech. Rock Eng. 2012, 45, 103–111. [Google Scholar] [CrossRef]
- Shagñay, S.; Ramón, L.; Fernández-Álvarez, M.; Bautista, A.; Velasco, F.; Torres-Carrasco, M. Eco-Efficient Hybrid Cements: Pozzolanic, Mechanical and Abrasion Properties. Appl. Sci. 2020, 10, 8986. [Google Scholar] [CrossRef]
- Bodnárová, L.; Ťažký, M.; Ťažká, L.; Hela, R.; Pikna, O.; Sitek, L. Abrasive Wear Resistance of Concrete in Connection with the Use of Crushed and Mined Aggregate, Active and Non-Active Mineral Additives, and the Use of Fibers in Concrete. Sustainability 2020, 12, 9920. [Google Scholar] [CrossRef]
- Alaskar, A.; Alabduljabbar, H.; Mohamed, A.M.; Alrshoudi, F.; Alyousef, R. Abrasion and skid resistance of concrete containing waste polypropylene fibers and palm oil fuel ash as pavement material. Constr. Build. Mater. 2021, 282, 122681. [Google Scholar] [CrossRef]
- Strzałkowski, P.; Köken, E. Assessment of Böhme Abrasion Value of Natural Stones through Artificial Neural Networks (ANN). Materials 2022, 15, 2533. [Google Scholar] [CrossRef] [PubMed]
- Copetti Callai, S.; Tataranni, P.; De Rose, M.; Natali Murri, A.; Vaiana, R.; Sangiorgi, C. A Preliminary Laboratory Evaluation of Artificial Aggregates from Alkali-Activated Basalt Powder. Sustainability 2022, 14, 16653. [Google Scholar] [CrossRef]
- Đokić, O.; Radević, A.; Zakić, D.; Đokić, B. Potential of Natural and Recycled Concrete Aggregate Mixtures for Use in Pavement Structures. Minerals 2020, 10, 744. [Google Scholar] [CrossRef]
- Courard, L.; Rondeux, M.; Zhao, Z.; Michel, F. Use of Recycled Fine Aggregates from C&DW for Unbound Road Sub-Base. Materials 2020, 13, 2994. [Google Scholar] [CrossRef]
- SPW CCT. Cahier des Charges Type Qualiroutes; Service Public de Wallonie: Namur, Belgium, 2016. [Google Scholar]
- De Witt, A.; Boston, K.; Leshchinsky, B. Predicting Aggregate Degradation in Forest Roads in Northwest Oregon. Forests 2020, 11, 729. [Google Scholar] [CrossRef]
- Zhou, X.; Kastiukas, G.; Lantieri, C.; Tataranni, P.; Vaiana, R.; Sangiorgi, C. Mechanical and Thermal Performance of Macro-Encapsulated Phase Change Materials for Pavement Application. Materials 2018, 11, 1398. [Google Scholar] [CrossRef]
- Celik, S.B.; Çobanoğlu, I. Modelling and estimation of Wide Wheel abrasion values of building stones by multivariate regression and artificial neural network analyses. J. Build. Eng. 2022, 45, 103443. [Google Scholar] [CrossRef]
- Kolgitti, T.; Çelik, S.B. Investigation of the usability of wide wheel abrasion test on rock core samples. Environ. Earth Sci. 2022, 81, 540. [Google Scholar] [CrossRef]
- Ko, T.Y.; Lee, S.S. Effect of Rock Abrasiveness on Wear of Shield Tunnelling in Bukit Timah Granite. Appl. Sci. 2020, 10, 3231. [Google Scholar] [CrossRef]
- Rostami, J.; Ghasemi, A.; Alavi Gharahbagh, E.; Dogruoz, C.; Dahl, F. Study of Dominant Factors Affecting Cerchar Abrasivity Index. Rock Mech. Rock Eng. 2014, 47, 1905–1919. [Google Scholar] [CrossRef]
- Jeong, H.; Choi, S.; Lee, Y.-K. Evaluation of Cutting Performance of a TBM Disc Cutter and Cerchar Abrasivity Index Based on the Brittleness and Properties of Rock. Appl. Sci. 2023, 13, 2612. [Google Scholar] [CrossRef]
- Dewangan, S.; Chattopadhyaya, S.; Hloch, S. Wear Assessment of Conical Pick used in Coal Cutting Operation. Rock Mech. Rock Eng. 2015, 48, 2129–2139. [Google Scholar] [CrossRef]
- Krauze, K.; Mucha, K.; Wydro, T.; Pawlik, J.; Wróblewska-Pawlik, A. Mass and Volumetric Abrasive Wear Measurements of the Mining Conical Picks. Sustainability 2023, 15, 850. [Google Scholar] [CrossRef]
- Bołoz, Ł.; Biały, W. Methods and Test Benches for Cutting Tools Testing—A Review. Energies 2023, 16, 445. [Google Scholar] [CrossRef]
- Alber, M. Stress dependency of the Cerchar abrasivity index (CAI) and its effects on wear of selected rock cutting tools. Tunn. Undergr. Space Technol. 2008, 23, 351–359. [Google Scholar] [CrossRef]
- Hamzaban, M.-T.; Memarian, H.; Rostami, J.; Ghasemi-Monfared, H. Study of rock–pin interaction in cerchar abrasivity test. Int. J. Rock Mech. Min. Sci. 2014, 72, 100–108. [Google Scholar] [CrossRef]
- Zhang, G.; Konietzky, H.; Frühwirt, T. Investigation of scratching specific energy in the Cerchar abrasivity test and its application for evaluating rock-tool interaction and efficiency of rock cutting. Wear 2020, 448–449, 203218. [Google Scholar] [CrossRef]
- Teymen, A. The usability of Cerchar abrasivity index for the estimation of mechanical rock properties. Int. J. Rock Mech. Min. Sci. 2020, 128, 104258. [Google Scholar] [CrossRef]
- Zhang, S.-R.; She, L.; Wang, C.; Wang, Y.-J.; Cao, R.-L.; Li, Y.-L.; Cao, K.-L. Investigation on the relationship among the Cerchar abrasivity index, drilling parameters and physical and mechanical properties of the rock. Tunn. Undergr. Space Technol. 2021, 112, 103907. [Google Scholar] [CrossRef]
- Capik, M.; Yilmaz, A.O. Correlation between Cerchar abrasivity index, rock properties, and drill bit lifetime. Arab. J. Geosci. 2017, 10, 15. [Google Scholar] [CrossRef]
- Larsen-Basse, J.; Perrott, C.M. Abrasive wear of tungsten carbide—Cobalt composites. Mater. Sci. Eng. 1974, 13, 93–100. [Google Scholar] [CrossRef]
- Di Giovanni, A.; Todaro, C.; Cardu, M.; Bianchini, S.; Forfori, B. Laboratory Test Campaign Aimed at the Analysis of an Uncommon Wear Phenomenon in a Marble Quarry. Appl. Sci. 2022, 12, 2264. [Google Scholar] [CrossRef]
- Majeed, Y.; Abu Bakar, M.Z. Statistical evaluation of CERCHAR Abrasivity Index (CAI) measurement methods and dependence on petrographic and mechanical properties of selected rocks of Pakistan. Bull. Eng. Geol. Environ. 2016, 75, 1341–1360. [Google Scholar] [CrossRef]
- Abu Bakar, M.Z.; Majeed, Y.; Rostami, J. Influence of moisture content on the LCPC test results and its implications on tool wear in mechanized tunneling. Tunn. Undergr. Space Technol. 2018, 81, 165–175. [Google Scholar] [CrossRef]
- de Azevedo Barbosa, P.; Bergerman, M.G.; da Fonseca, E.; Kwitko-Ribeiro, R. Determination of Abrasiveness in Copper-Gold Sulfide Ores: A Contribution to the Geometallurgical Model of the Sossego Deposit. Minerals 2021, 11, 1427. [Google Scholar] [CrossRef]
- Tang, S.-H.; Zhang, X.-P.; Liu, Q.-S.; Xie, W.-Q.; Wang, H.-J.; Li, X.-F.; Zhang, X.-Y. New soil abrasion testing method for evaluating the influence of geological parameters of abrasive sandy ground on scraper wear in TBM tunnelling. Tunn. Undergr. Space Technol. 2022, 128, 104604. [Google Scholar] [CrossRef]
- Rostami, J.; Gharahbagh, E.A.; Palomino, A.M.; Mosleh, M. Development of soil abrasivity testing for soft ground tunneling using shield machines. Tunn. Undergr. Space Technol. 2012, 28, 245–256. [Google Scholar] [CrossRef]
- Khoshouei, M.; Bagherpour, R.; Sadeghisorkhani, H.; Jalalian, M.H. A New Look at Hard Rock Abrasivity Evaluation Using Acoustic Emission Technique (AET). Rock Mech. Rock Eng. 2022, 55, 2425–2443. [Google Scholar] [CrossRef]
- Florea, V.A.; Itu, R.-B. Potential Methods for Limiting the Consumption of Machine Components Exposed to Abrasive Wear. Sustainability 2022, 14, 12819. [Google Scholar] [CrossRef]
- Kotwica, K. Atypical and innovative tool, holder and mining head designed for roadheaders used to tunnel and gallery drilling in hard rock. Tunn. Undergr. Space Technol. 2018, 82, 493–503. [Google Scholar] [CrossRef]
- Liu, J.; Zheng, H.; Kuang, Y.; Xie, H.; Qin, C. 3D Numerical Simulation of Rock Cutting of an Innovative Non-Planar Face PDC Cutter and Experimental Verification. Appl. Sci. 2019, 9, 4372. [Google Scholar] [CrossRef]














| CAI | Rock Abrasivity | FSCHIM Index |
|---|---|---|
| 4.50 ≤ CAI | extremely abrasive | 3.50 ≤ F |
| 3.0 ≤ CAI < 4.5 | highly abrasive | 1.00 ≤ F < 3.50 |
| 2.3 ≤ CAI < 3.0 | very abrasive | 0.50 ≤ F < 1.00 |
| 1.8 ≤ CAI < 2.3 | abrasive | 0.25 ≤ F < 0.50 |
| 1.3 ≤ CAI < 1.8 | considerably abrasive | 0.10 ≤ F < 0.25 |
| 1.0 ≤ CAI < 1.3 | moderately abrasive | 0.05 ≤ F < 0.10 |
| 0.5 ≤ CAI < 1.0 | slightly abrasive | 0.01 ≤ F < 0.05 |
| CAI < 0.5 | not abrasive | F < 0.01 |
| Specimen Weight Loss [mg] | Abrasivity |
|---|---|
| ≥22.0 | high |
| 7.0 ÷ 22.0 | medium |
| ≤7.7 | low |
Disclaimer/Publisher’s Note: The statements, opinions and data contained in all publications are solely those of the individual author(s) and contributor(s) and not of MDPI and/or the editor(s). MDPI and/or the editor(s) disclaim responsibility for any injury to people or property resulting from any ideas, methods, instructions or products referred to in the content. |
© 2023 by the author. Licensee MDPI, Basel, Switzerland. This article is an open access article distributed under the terms and conditions of the Creative Commons Attribution (CC BY) license (https://creativecommons.org/licenses/by/4.0/).
Share and Cite
Mucha, K. Application of Rock Abrasiveness and Rock Abrasivity Test Methods—A Review. Sustainability 2023, 15, 11243. https://doi.org/10.3390/su151411243
Mucha K. Application of Rock Abrasiveness and Rock Abrasivity Test Methods—A Review. Sustainability. 2023; 15(14):11243. https://doi.org/10.3390/su151411243
Chicago/Turabian StyleMucha, Kamil. 2023. "Application of Rock Abrasiveness and Rock Abrasivity Test Methods—A Review" Sustainability 15, no. 14: 11243. https://doi.org/10.3390/su151411243
APA StyleMucha, K. (2023). Application of Rock Abrasiveness and Rock Abrasivity Test Methods—A Review. Sustainability, 15(14), 11243. https://doi.org/10.3390/su151411243
