Estimating Seismic Demands of a Single-Door Electrical Cabinet System Based on the Performance Limit-State of Concrete Shear Wall Structures
Abstract
:1. Introduction
2. Experimental Test and Validation of Single-Door Electrical Cabinet
2.1. Shaking Table Test of Single-Door Electrical Cabinet
2.2. Validation of FE Model of Electrical Cabinet
3. Experimental Test and Validation of Concrete Shear Wall Structures
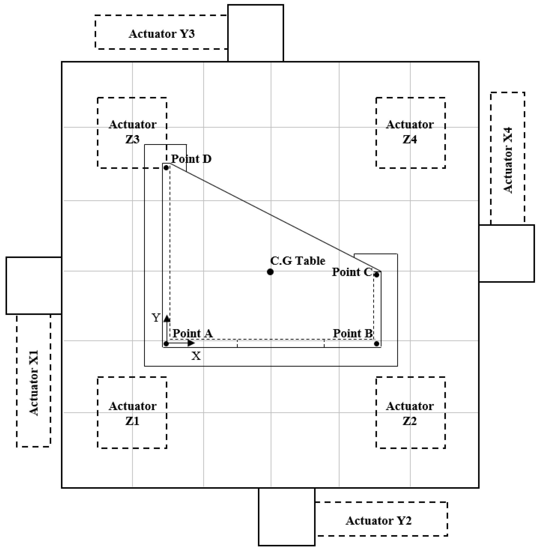
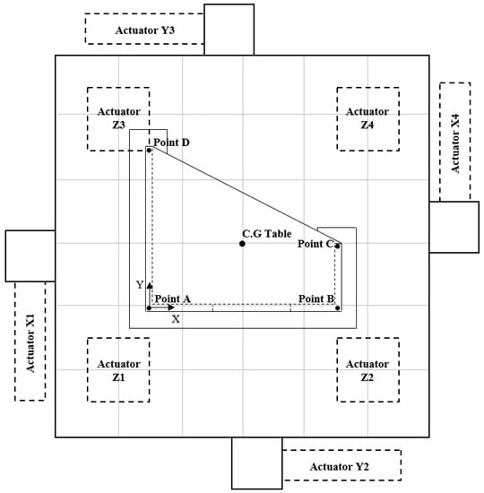
3.1. SMART-2013 Experiment and International Benchmark Program
3.2. Validation of Finite Element Model of SMART-2013 Structure
4. Building-Cabinet Interaction: Decoupled Analysis
5. Conclusions
- With the increase in the damage to the structure, the cabinet’s responses such as ZPA and MSA increased, but the corresponding amplification factor decreased. In addition, the cabinet’s response was higher at higher elevations, with the exception of the cabinet responses subjected to the first and second floor motions of EQ#19. However, the increase or decrease in the response does not seem to be linear.
- The difference in the amplification factor at a floor is not significant, and the deviation of the factor is considerably reduced as the damage to the structure increases.
- In the minor and moderate damage states, all measurement points in the cabinet mounted on the third floor show a functional failure. Some points, such as A10, A12, and A13 in the cabinet mounted on the second floor, also showed the functional failure. The first floor cabinet case shows the failure only at A10. However, in the major damage state, the functional failure occurs in most of the measurement points except for A9, A8, and A11 at the first floor cabinet.
- There are significant differences in the cabinet’s responses depending on measurement points in the cabinet. The measured responses at high positions (A10 and A9) tend to be greater than those at low positions (A8), and in particular, the A10 response shows a significantly larger response than the others. This is because A10 is located on a vertical panel perpendicular to the x-direction without any supports to resist movement in the x-direction. Thus, the seismic performance of the electrical equipment in the cabinet varies greatly depending on the location and mounting method of the electrical equipment in the cabinet.
- In the minor and moderate damage states, the difference in ZPA, MSA, and top displacement is not significant. However, a meaningful difference occurs in the degree of the major damage state. Thus, when the structure is under minor or moderate damage states, the responses in the cabinet are more sensitive to the installed floor level of the cabinet in the structure than to the intensity of seismic loadings.
Author Contributions
Funding
Institutional Review Board Statement
Informed Consent Statement
Data Availability Statement
Acknowledgments
Conflicts of Interest
References
- Choi, H. Preliminary strong ground motion simulation at seismic stations within nuclear power plant sites in South Korea by a scenario earthquake on the causative fault of 2016 Gyeongju earthquake. Nucl. Eng. Technol. 2022. In Press. [Google Scholar] [CrossRef]
- Korea Meteorological Administration. 9/12 earthquake. Available online: https://www.weather.go.kr/w/eqk-vol/archive/major-eqk/912.do# (accessed on 13 March 2022).
- Oh, S.H.; Shin, S.H. Correlation analysis of Gyeongju Earthquake waveform and structural damage scale. J. Archit. Inst. Korea Struct. Constr. 2016, 32, 33–44. [Google Scholar] [CrossRef]
- Lee, S.H.; Cho, T.G.; Lim, H.T.; Choi, B.J. Damage of Gyeongju 9.12 Earthquakes and Seismic Design Criteria for Nonstructural Elements. J. Earthq. Eng. Soc. Korea 2016, 20, 561–567. [Google Scholar] [CrossRef]
- Lee, G.H.; Kim, J.M.; Kim, S.Y. Seismic Retrofitting of Cabinet Structures in Nuclear Power Plant. J. Earthq. Eng. Soc. Korea 2003, 7, 31–37. [Google Scholar]
- Cho, S.G.; Cui, J.; Kim, D.-K. A procedure for generating in-cabinet response spectra based on state-space model identification by impact testing. Nucl. Eng. Technol. 2011, 43, 573–582. [Google Scholar] [CrossRef] [Green Version]
- Hur, J. Seismic Performance Evaluation of Switchboard Cabinets Using Nonlinear Numerical Models; Georgia Institute of Technology: Atlanta, GA, USA, 2012. [Google Scholar]
- Hur, J.; Althoff, E.; Sezen, H.; Denning, R.; Aldemir, T. Seismic assessment and performance of nonstructural components affected by structural modeling. Nucl. Eng. Technol. 2017, 49, 387–394. [Google Scholar] [CrossRef]
- Latif, A.; Salman, K.; Kim, D. Seismic response of electrical cabinets considering primary-secondary structure interaction with contact nonlinearity of anchors. J. Nucl. Sci. Technol. 2021, 757–767. [Google Scholar] [CrossRef]
- Cho, S.G.; Salman, K. Seismic demand estimation of electrical cabinet in nuclear power plant considering equipment-anchor-interaction. Nucl. Eng. Technol. 2022, 54, 1382–1393. [Google Scholar] [CrossRef]
- Mahdavi, G.; Nasrollahzadeh, K.; Hariri-Ardebili, M.A. Optimal FRP jacket placement in RC frame structures towards a resilient seismic design. Sustainability 2019, 11, 6985. [Google Scholar] [CrossRef] [Green Version]
- American Society of Civil Engineers. Seismic Design Criteria for Structures, Systems, and Components in Nuclear Facilities; American Society of Civil Engineers: Reston, VA, USA, 2021. [Google Scholar]
- Chokshi, N.; Budnitz, R.; Ravindra, M.K. A Proposed Alternative Risk-Informed and Performance-Based Regulatory Framework for Seismic Safety at NRC Regulated Nuclear Power Plants; Center for Nuclear Waste Regulatory Analyses Southwest Research Institute: San Antonio, TX, USA, 2020. [Google Scholar]
- Son, H.; Park, S.; Jeon, B.G.; Jung, W.Y.; Choi, J.; Ju, B.S. Seismic qualification of electrical cabinet using high-fidelity simulation under high frequency earthquakes. Sustainability 2020, 12, 8048. [Google Scholar] [CrossRef]
- Lee, S. Performance Based Characterization of Uncertainties for Nonlinear Seismic Analysis of Concrete Structures in Nuclear Power Plants. Ph.D. Thesis, North Carolina State University, Raleigh, NC, USA, 2022. [Google Scholar]
- Jeon, B.G.; Son, H.Y.; Eem, S.H.; Choi, I.K.; Ju, B.S. Dynamic characteristics of single door electrical cabinet under rocking: Source reconciliation of experimental and numerical findings. Nucl. Eng. Technol. 2021, 53, 2387–2395. [Google Scholar] [CrossRef]
- Dassault Systemes Simulia Corp. Manual, Abaqus User’s; Dassault Systemes Simulia Corp: Johnston, RI, USA, 2009. [Google Scholar]
- Richard, B.; Charbonnel, P.E. SMART-2013 International Benchmark Experimental Data for Stage# 2; French Alternative Energies and Atomic Commission: Gif-sur-Yvette, France, 2013. [Google Scholar]
- Richard, B.; Cherubini, S.; Voldoire, F.; Charbonnel, P.E.; Chaudat, T.; Abouri, S.; Bonfils, N. SMART 2013: Experimental and numerical assessment of the dynamic behavior by shaking table tests of an asymmetrical reinforced concrete structure subjected to high intensity ground motions. Eng. Struct. 2016, 109, 99–116. [Google Scholar] [CrossRef] [Green Version]
- Richard, B.; Chaudat, T. Presentation of the SMART 2013 International Benchmark; CEA/DEN Technical Report DEN/DANS/DM2S/SEMT/EMSI/ST/12-017/H; French Alternative Energies and Atomic Commission: Gif-sur-Yvette, France, 2014. [Google Scholar]
- US Nuclear Regulatory Commission. Regulatory Guide 1.60: Design Response Spectra for Seismic Design of Nuclear Power Plants; US NRC: Washington, DC, USA, 2014.
- EEM, S.H.; Choi, I.K.; Jeon, B.G.; Kwag, S. Seismic Response Amplification Factors of Nuclear Power Plants for Seismic Performance Evaluation of Structures and Equipment due to High-frequency Earthquakes. J. Earthq. Eng. Soc. Korea 2020, 24, 123–128. [Google Scholar] [CrossRef]
- Richard, B.; Fontan, M.; Mazars, J. SMART 2013: Overview, Synthesis and Lessons Learnt from the International Benchmark; French Alternative Energies and Atomic Commission: Gif-sur-Yvette, France, 2014. [Google Scholar]
- Bandyopadhyay, K.K.; Hofmayer, C.H. Seismic Fragility of Nuclear Power Plant Components. Phase I; No. NUREG/CR-4659-Vol. 1; BNL-NUREG-52007-Vol. 1; Brookhaven National Lab.: Upton, NY, USA, 1986.
- Nahar, T.T.; Rahman, M.M.; Kim, D. Variation of reliability-based seismic analysis of an electrical cabinet in different NPP location for Korean Peninsula. Nucl. Eng. Technol. 2022, 54, 926–939. [Google Scholar] [CrossRef]













| Frequency | 1st Mode (Global Mode) | 2nd Mode (Global Mode) | 3rd Mode (Local Mode) | 4th Mode (Local Mode) |
|---|---|---|---|---|
| Experiment | 16.00 Hz | 24.0 Hz | 30.5 Hz | 37.5 Hz |
| FE analysis | 16.12 Hz | 23.9 Hz | 30.6 Hz | 37.3 Hz |
| Experiment | EQ#13 | EQ#17 | EQ#19 |
|---|---|---|---|
| 0.0039 | 0.0055 | 0.0134 | |
| ASCE43 | Limit-State C (Limited permanent distortion) | Limit-State B (Moderate permanent distortion) | Limit-State A (Large permanent distortion) |
| 0.0039 | 0.0060 | 0.0080 |
| PGA in x-Direction (g) | PGA in y-Direction (g) | PGA | |
|---|---|---|---|
| EQ#13 | 0.40 | 0.21 | Scaled Northridge |
| EQ#17 | 0.60 | 0.40 | Scaled Northridge |
| EQ#19 | 1.10 | 1.00 | Real Northridge |
| Frequency | 1st Mode | 2nd Mode | 3rd Mode |
|---|---|---|---|
| Experiment | 6.28 Hz | 7.86 Hz | 16.50 Hz |
| FE analysis | 6.17 Hz | 8.58 Hz | 16.12 Hz |
Publisher’s Note: MDPI stays neutral with regard to jurisdictional claims in published maps and institutional affiliations. |
© 2022 by the authors. Licensee MDPI, Basel, Switzerland. This article is an open access article distributed under the terms and conditions of the Creative Commons Attribution (CC BY) license (https://creativecommons.org/licenses/by/4.0/).
Share and Cite
Ju, B.-S.; Son, H.; Lee, S.; Kwag, S. Estimating Seismic Demands of a Single-Door Electrical Cabinet System Based on the Performance Limit-State of Concrete Shear Wall Structures. Sustainability 2022, 14, 5480. https://doi.org/10.3390/su14095480
Ju B-S, Son H, Lee S, Kwag S. Estimating Seismic Demands of a Single-Door Electrical Cabinet System Based on the Performance Limit-State of Concrete Shear Wall Structures. Sustainability. 2022; 14(9):5480. https://doi.org/10.3390/su14095480
Chicago/Turabian StyleJu, Bu-Seog, Hoyoung Son, Sangwoo Lee, and Shinyoung Kwag. 2022. "Estimating Seismic Demands of a Single-Door Electrical Cabinet System Based on the Performance Limit-State of Concrete Shear Wall Structures" Sustainability 14, no. 9: 5480. https://doi.org/10.3390/su14095480
APA StyleJu, B.-S., Son, H., Lee, S., & Kwag, S. (2022). Estimating Seismic Demands of a Single-Door Electrical Cabinet System Based on the Performance Limit-State of Concrete Shear Wall Structures. Sustainability, 14(9), 5480. https://doi.org/10.3390/su14095480

