Sustainable Development of the Energy Sector in a Country Deficient in Mineral Resources: The Case of the Republic of Moldova
Abstract
1. Introduction
- (1)
- energy security, which means the efficient management of primary energy supply from domestic and foreign sources, the reliability of the energy infrastructure, and energy suppliers’ ability to meet current and future demand;
- (2)
- affordability and access, which means that all population groups have access to energy;
- (3)
- environmental sustainability, which means the development of energy supplies from renewable and other low-carbon sources.
- (1)
- To analyze energy and economic efficiency as well as the conditions for and problems of the functioning of the energy sector in countries with transition economies (using non-European Union countries as an example);
- (2)
- To present a substantiation of the directions for development of the energy sector in countries with transition economies that lack energy resources (using the Republic of Moldova as an example) taking into account the identified factors and principles of sustainable development;
- (3)
- To develop an economic and mathematical model for assessing the directions for the development of the energy sector in countries with transition economies using multiple-criteria decision analysis (MCDA).
2. Literature Review
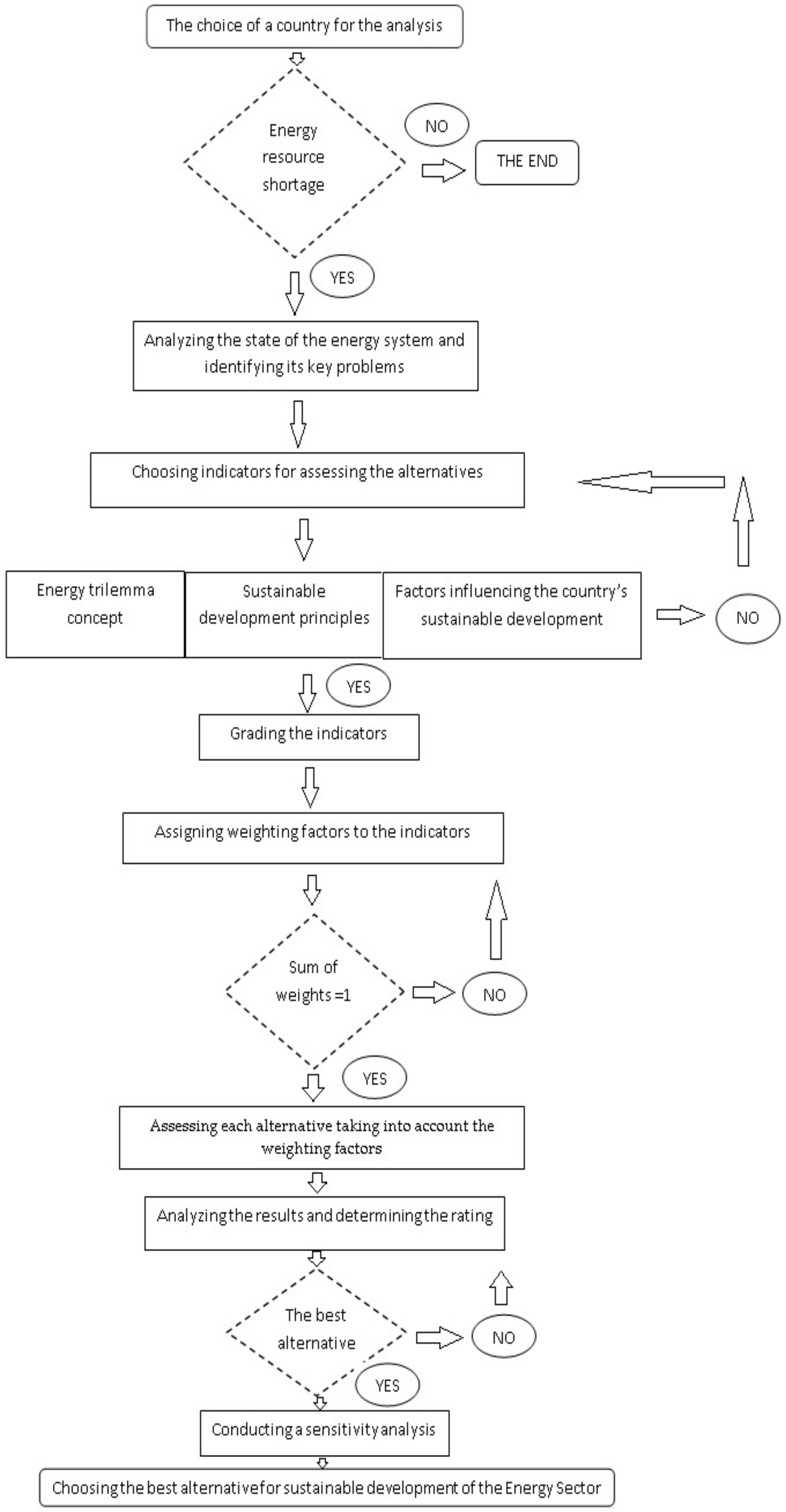
3. Methodology: MCDA and Economic and Mathematical Model
- (1)
- Current investment value for a 20-year period using a depreciation rate of 9%, (USD mln).
- (2)
- Normalized price for a 20-year period, (cent/kWh).
- (3)
- Energy security. This indicator was assessed using Simpson’s Diversity Index that reflects the variety of energy sources and power generation methods. These sources include both domestic energy generation and energy provided by other producers (Ukraine, Transnistria, and Romania). The closer the value of the index to 1, the greater the number of electricity generation options.
- (4)
- Level of competition. This indicator was assessed using the number of interconnections for each alternative. This index is equal to 0 for the alternatives within the self-sufficiency scenario, 1 for the alternatives within the synchronous interconnection scenario (with the exception of S-3, which implies two sources: Romania and the Moldavskaya GRES (Moldavian State District Power Plant)), and 3 for the asynchronous interconnection scenario (Romania, Ukraine, and the Moldavskaya GRES).
- (5)
- An opportunity for East-West (and West-East) power transmission, (MWt). All the alternatives within the asynchronous scenario imply energy transmission at a maximum load of 870 MW (the capacity required in 2033 if no new energy facilities are built). The two suppliers in the East are the Moldavskaya GRES and Ukraine. Of the alternatives within the synchronous scenario, S-3 includes only the Moldavskaya GRES. In the self-sufficiency alternatives, the transmission capacity is limited to 220 MW.
- (6)
- Environmental impact (million tons) was calculated based on greenhouse gas emissions for each scenario (t CO2 over 20 years). It is CO2 that is one of the main air pollutants in the Republic of Moldova. The levels of methane and nitrogen oxide do not exceed 1% in CO2 equivalent [55].
- (7)
- Operational issues include the number of existing power transmission lines that will need to be disconnected when implementing some alternative.
4. Results
- growing dependence on the import of energy resources, in particular natural gas, whose share exceeds 50%;
- insufficient power generation capacities covering only 30% of the total demand. The share of national electricity generation is constantly decreasing and is currently estimated at 25%, which does not meet energy security requirements;
- when electricity is imported, the power lines operate in the limit overload mode;
- low operating reserve and insufficient transmission capacity of internal and external high-voltage tie lines. Under the current energy balance, any internal or external disturbances cause emergencies and power failures in the Republic of Moldova;
- large electricity and heat losses;
- highly worn-out power equipment, buildings, and structures (with an average wear-and-tear value ranging from 60% to 70%).
- (1)
- self-sufficiency scenario, which implies the availability of facilities that will be sufficient to meet the country’s demand for energy; two alternatives (SS-1, SS-2).
- (2)
- synchronous interconnection scenario, which implies that the energy sector will be disconnected from Ukraine and the Moldavskaya GRES (except for the S-3 alternative) and simultaneously connected to the European Network of Transmission System Operators (ENTSO-E); four alternatives (S-1, S-2, S-3, S-4).
- (3)
- asynchronous interconnection scenario, which implies that the energy sector will be connected to the ENTSO-E system through Back-to-Back (BtB) stations while preserving links with Ukraine and the Moldavskaya GRES; two alternatives (A-1, A-2).
- (1)
- Diversification of electricity and fuel sources due to the fact that the electricity purchased at competitive prices from Romania is produced using various types of fuel (coal, natural gas, nuclear energy, and renewable energy sources). Also, Moldova will continue to have the opportunity to purchase electricity from the Moldavskaya GRES and Ukraine.
- (2)
- Competition in the energy market. There is no need to disconnect from the Moldavskaya GRES and Ukraine. Being connected in the asynchronous mode will allow Moldova to continue to use the ancillary services provided by Ukraine and the Moldavskaya GRES.
- (3)
- A shorter implementation period compared to the synchronous options [48].
- (1)
- higher costs compared to the synchronous interconnection scenario (however, they are not as high as in the self-sufficiency scenario);
- (2)
- Moldova will have an observer status in the ENTSO-E system but will not be able to become a full-fledged member due to the fact that its energy system will remain part of the IPS/UPS system (the system of synchronous power transmission in the CIS countries).
5. Discussion
- the principle of diversification of energy resources and energy generation sources is based on the constant development of the energy sector that is fostered by various energy resources and energy generation methods, which will reduce energy dependence and positively influence the energy security of the country. Diversification of energy resources and energy generation sources can be performed if a country holds different kinds of energy resources (natural gas, petroleum products, and coal) and is able to generate electricity and heat in various ways. In 2017, according to the National Bureau of Statistics (NBS), the energy demand in the Republic of Moldova was secured by its own energy resources by only 26.2%, with the rest of the energy being imported. The country has the opportunity to diversify its energy generation sources due to the potential for green energy production.
- the principle of ensuring energy efficiency is aimed at reducing the consumption of energy resources (or natural capital) and increasing the efficiency of how the reproduced capital functions (in order to create value added). Better energy efficiency is of particular importance for countries with transition economies, most of which are characterized by low or middle income. The Republic of Moldova belongs to the group of countries with income per capita below the average.
- the principle of ensuring energy affordability, which is associated with population growth in a number of developing countries, a decrease in energy production and consumption, and a decrease in purchasing power. In terms of kWh per average salary, the Republic of Moldova ranked lowest of all European countries in 2019.
- the principle of green energy production, which is necessary to reduce the anthropogenic impact of the sector on the environment. Green energy production is a tool for ensuring environmental safety that minimizes environmental risks and negative impact on the environment in the production of electricity and heat. In the Republic of Moldova, CO2 emissions have been demonstrating an upward trend since 2000.
6. Conclusions and Implications
Author Contributions
Funding
Institutional Review Board Statement
Informed Consent Statement
Data Availability Statement
Conflicts of Interest
Abbreviations
| MCDA | multiple-criteria decision analysis |
| SD | sustainable development |
| CIS countries | commonwealth of Independent States |
| EU | European Union |
| USSR | the Union of Soviet Socialist Republics |
| IRENA | Renewable Energy Agency |
| GW | Gigawatt |
| MWh | Megawatt |
| kWh | Kilowatt |
| BTU | British thermal unit |
| ESMAP | Energy Sector Management Assistance Program |
| SS-1, SS-2 | self-sufficiency scenario |
| S-3 | synchronous interconnection scenario |
| A-1 | asynchronous interconnection scenario |
| BtB stations | Back-to-Back stations |
| ENTSO-E | European Network of Transmission System Operators |
| PPP agreement | public–private partnership |
| Moldavskaya GRES | Moldavian State District Power Plant |
| IPS/UPS system | the Integrated Power System/Unified Power System of Russia |
| NBS | National Bureau of Statistics |
| AAA to DDD | The country’s AAA rating on the energy Sustainability index characterizes a country with a stable economy and high-quality energy policy. Country rating DDD-describes a country with an unstable economy and energy policy. |
Appendix A
| Albania | North Macedonia | Bosnia and Herzegovina | Serbia | Montenegro | The Republic of Moldova | |
|---|---|---|---|---|---|---|
| Population, million people (2018) | 2.866 | 2.083 | 3.324 | 6.982 | 0.622 | 3.546 |
| Area, sq. km | 27.400 | 25.220 | 51.200 | 87.460 | 13.450 | 32.890 |
| GDP per capita, USD, 2018 | 5 269 | 6 084 | 6 066 | 7 247 | 8 844 | 3 227 |
| World Energy Trilemma Index (place in the global ranking), 2019 | 73 DBAc | 71 CBCc | 79 BBCc | 70 BBCc | 64 CBBc | 107 DCDc |
| Electricity consumption per capita (MWh per person), 2017 | 2.2 | 3.2 | 3.8 | 4.7 | 5.0 | 1.6 |
| Primary energy production, quadrillion BTU, 2017 | 0.08 | 0.04 | 0.14 | 0.46 | 0.02 | 0.00 |
| Primary energy consumption, quadrillion BTU, 2017 | 0.11 | 0.1 | 0.25 | 0.64 | 0.04 | 0.13 |
| Primary energy intensity, MJ per dollar of GDP, 2015 | 2.89 | 4.23 | 8.72 | 6.56 | 4.45 | 8.39 |
| Net electricity generation, billion kWh | 4.48 (2017) | 5.33 (2017) | 15.69 (2017) | 35.54 (2018) | 3.68 (2018) | 4.68 (2017) |
| Net nuclear power generation, billion kWh, 2017 | 0.00 | 0.00 | 0.00 | 0.00 | 0.00 | 0.00 |
| Net hydropower generation, billion kWh, 2017 | 4.48 | 1.1 | 3.95 | 9.06 | 1.01 | 0.28 |
| Net geothermal power generation, billion kWh, 2017 | 0.00 | 0.00 | 0.00 | 0.00 | 0.00 | 0.00 |
| Net wind power generation, billion kWh, 2017 | 0.00 | 0.11 | 0.00 | 0.05 | 0.10 | 0.01 |
| Net biomass energy production and waste-to-energy production, billion kWh, | 0.00 | 0.05 | 0.04 | 0.08 | 0.00 | 0.02 |
| Net electricity consumption, billion kWh, 2017 | 5.03 | 6.31 | 12.50 | 30.41 | 3.00 | 5.24 |
| Electricity exports, billion kWh, 2017 | 0.49 | 0.31 | 5.19 | 5.72 | 0.42 | 0.00 |
| Electricity imports, billion kWh, 2017 | 2.92 | 2.29 | 3.35 | 6.55 | 1.54 | 1.13 |
| The share of fossil fuels in total energy consumption, %, 2014 | 61.4 | 79.4 | 77.5 | 83.9 | 64.7 | 88.7 |
| The share of alternative sources of energy and nuclear power in total energy consumption, % | 24.5 (2014) | 19.9 (2015) | 4.3 (2014) | 5.7 (2014) | 13.0 (2014) | 0.8 (2014) |
| CO2 intensity of the energy mix (t CO2/toe) | 1.8 (2017) | 2.7 (2017) | 3.3 (2017) | 3.0 (2017) | 2.2 (2017) | 2.0 (2018) |
| Household electricity price per 1kWh, in EUR (according to Eurostat), 2018 | 0.09 | 0.078 | 0.087 | 0.07 | 0.1 | 0.09 |
| Electricity affordability for individuals (the amount of electricity per average salary), kWh, 2019 | 3 861 | 5 018 | 5 293 | 5 926 | 4 961 | 3 069 |
References
- Litvinenko, V.S.; Tsvetkov, P.S.; Dvoynikov, M.V.; Buslayev, G.V. Baryery realizatsii vodorodnykh initsiativ v kontekste ustoychivogo razvitiya globalnoy energetiki. Zapiski Gornogo Instituta 2020, 244, 421–431. [Google Scholar]
- Yurak, V.V.; Dushin, A.V.; Mochalova, L.A. Protiv ustoychivogo razvitiya: Stsenarii budushchego. Zapiski Gornogo Instituta 2020, 242, 242–247. [Google Scholar]
- Knysh, V.A.; Ivanova, L.V. Cirkulyarnaya ekonomika: Ugroza dlya predpriyatij gornodobyvayushchego sektora ili drajver ih tekhnologicheskogo razvitiya? Gornyj Zhurnal 2020, 9, 33–41. [Google Scholar] [CrossRef]
- Greene, D.L. Measuring Energy Sustainability; MIT Press: Cambridge, MA, USA, 2009; pp. 354–373. [Google Scholar]
- Apolonskiy, O.Y. Globalnyye problemy ustoychivogo energeticheskogo razvitiya i mirovoy opyt ikh resheniya. Energeticheskaya Politika 2010, 4–5, 80–92. [Google Scholar]
- Zorina, T.G. Ustoychivoye razvitiye energetiki: Sushchnost i metodicheskiye podkhody k otsenke. Sovremennyye Tekhnologii Upravleniya 2015, 1, 4905. [Google Scholar]
- Chegis, R.; Pusinayte, R. Otritsatelnyye vneshniye effekty i ustoychivoye razvitiye v sfere energetiki. Baltiyskiy Region 2010, 1, 108–118. [Google Scholar]
- United Nations World Commission on Environment and Development. Report of the World Commission on Environment and Development: Our Common Future; Oxford University Press: Oxford, UK, 1987. [Google Scholar]
- Cîrstea, S.D.; Moldovan-Teselios, C.; Cîrstea, A.; Turcu, A.C.; Darab, C.P. Evaluating renewable energy sustainability by composite index. Sustainability 2018, 10, 811. [Google Scholar] [CrossRef]
- World Energy Trilemma Index. World Energy Council in Partnership with Oliver Wyman. Available online: https://www.worldenergy.org/publications/entry/world-energy-trilemma-index-2019 (accessed on 30 March 2020).
- Kaplunov, D.R.; Rylnikova, M.V.; Radchenko, D.N. Usloviya ustoychivogo razvitiya mineralno-syryevogo kompleksa Rossii. Gornyy Inf. Anal. Byulleten Nauchno-Tekhnicheskiy Zhurnal 2014, 6, 3–11. [Google Scholar]
- Pronin, E.M.; Vasilyev, V.E.; Tsvetkov, V.Y. Faktory, opredelyayushchiye ustoychivoye razvitiye predpriyatiy mineralno-syryevogo kompleksa, i ikh vliyaniye na otsenku rezultatov deyatelnosti predpriyatiy. Zap. Gorn. Inst. 2011, 191, 176–182. [Google Scholar]
- Brodny, J.; Tutak, M. Analyzing similarities between the european union countries in terms of the structure and volume of energy production from renewable energy sources. Energies 2020, 13, 913. [Google Scholar] [CrossRef]
- Tutak, M.; Brodny, J.; Siwiec, D.; Ulewicz, R.; Bindzár, P. Studying the level of sustainable energy development of the European Union countries and their similarity based on the economic and demographic potential. Energies 2020, 13, 6643. [Google Scholar] [CrossRef]
- World Energy Council. London. Available online: https://www.worldenergy.org/ (accessed on 30 March 2020).
- United Nations Conference on Environment and Development—UNCED. Agenda 21. Available online: http://www.un.org/esa/dsd/agenda21/ (accessed on 2 September 2020).
- Steger, U.; Achterberg, W.; Blok, K.; Bode, H.; Frenz, W.; Gather, C.; Hanekamp, G.; Imboden, D.; Jahnke, M.; Kost, M.; et al. Sustainable Development and Innovation in the Energy Sector; Springer: Berlin/Heidelberg, Germany, 2003. [Google Scholar]
- Pashke, M. Pravovyye aspekty novoy energeticheskoy politiki Germanii. Zapiski Gornogo Instituta 2017, 226, 487–496. [Google Scholar]
- Catrini, A.P.; Piacentino, A.; Markovska, N.; Guzović, Z.; Vad Mathiesen, B.; Ferrari, S.; Duić, N.; Lund, H. Sustainable development of energy, water and environment systems. Energy 2020, 190, 116432. [Google Scholar]
- Cioca, L.-I.; Ivascu, L.; Rada, E.C.; Torretta, V.; Ionescu, G. Sustainable development and technological impact on CO2 reducing conditions in Romania. Sustainability 2015, 7, 1637–1650. [Google Scholar] [CrossRef]
- Ulanov, V.L.; Ulanova, E.Y. Vliyaniye vneshnikh faktorov na natsionalnuyu energeticheskuyu bezopasnost. Zapiski Gornogo Instituta 2019, 238, 474–480. [Google Scholar]
- Bykova, E.V. Metodologiya analiza energeticheskoy bezopasnosti. Covremennaya Nauka Issled. Idei Rezult. Tekhnologii 2013, 2, 138–144. [Google Scholar]
- Bykova, E.V. Kratkosrochnyye prognozy toplivno-energeticheskikh balansov pri analize energeticheskoy bezopasnosti. Covremennaya Nauka Issled. Idei Rezult. Tekhnologii 2016, 1, 124–129. [Google Scholar]
- Bykova, E.V. Investicii kak instrument obespecheniya energeticheskoj bezopasnosti Moldovy. Ekonomiks 2013, 3, 47–61. [Google Scholar]
- Bykova, E.V.; Grodetskiy, M.V. Analiz i monitoring energeticheskoy bezopasnosti i prognozirovaniye znacheniy indikatorov metodom uslovnogo nelineynogo matematicheskogo programmirovaniya. Ekonomika Regiona 2011, 3, 234–240. [Google Scholar]
- Duka, G.G.; Postolatiy, V.M.; Bykova, E.V. Aspekty problemy energeticheskoy bezopasnosti Respubliki Moldova. Probl. Energeticii Reg. 2005, 1, 15. [Google Scholar]
- Cherepovitsyn, A.E.; Ilinova, A.A.; Smirnova, N.V. Ekonomicheskiye stimuly dlya energoeffektivnogo razvitiya i snizheniya emissii uglekislogo gaza: Opyt Avstralii. Ross. Ekon. Internet Zhurnal 2013, 4, 1–4. Available online: http://www.e-rej.ru/publications/151/?PAGEN_1=3 (accessed on 25 March 2020).
- Porfiryev, B.N. Alternativnaya energetika kak faktor modernizatsii ekonomiki v usloviyakh VTO. Kontury Glob. Transform. Politika Ekon. Pravo 2013, 6, 97–109. [Google Scholar]
- Olabi, A.G. Developments in sustainable energy and environmental protection. Energy 2012, 39, 2–5. [Google Scholar] [CrossRef]
- Chu, C.-T.; Hawkes, A.D. A geographic information system-based global variable renewable potential assessment using spatially resolved simulation. Energy 2020, 193, 116630. [Google Scholar] [CrossRef]
- Khoshnava, S.M.; Rostami, R.; Zin, R.M.; Kamyab, H.; Abd Majid, M.Z.; Yousefpour, A.; Mardani, A. Green efforts to link the economy and infrastructure strategies in the context of sustainable development. Energy 2020, 193, 116759. [Google Scholar] [CrossRef]
- Przychodzen, W.; Przychodzen, J. Determinants of renewable energy production in transition economies: A panel data approach. Energy 2020, 191, 116583. [Google Scholar] [CrossRef]
- Büyüközkan, G.; Karabulut, Y.; Mukul, E. A novel renewable energy selection model for United Nations’ sustainable development goals. Energy 2018, 165, 290–302. [Google Scholar] [CrossRef]
- Global Innovations from the Energy Sector 2010–2020. World Economic Forum, May 2020. Available online: https://www.weforum.org/whitepapers/global-innovations-from-the-energy-sector (accessed on 20 September 2020).
- Hoppe, T.; Butenko, A.; Heldeweg, M. Innovation in the European energy sector and regulatory responses to it: Guest editorial note. Sustainability 2018, 10, 416. [Google Scholar] [CrossRef]
- Schulze, M.; Nehler, H.; Ottosson, M.; Thollander, P. Energy management in industry—A systematic review of previous findings and an integrative conceptual framework. J. Clean. Prod. 2015, 112, 3692–3708. [Google Scholar] [CrossRef]
- Sa, A.; Thollander, P.; Rafiee, M. Industrial energy management systems and energy-related decision-making. Energies 2018, 11, 2784. [Google Scholar] [CrossRef]
- Shilets, E.; Kravchenko, V.; Luk’yanenko, T. Energeticheskaya trilemma—Osnova ustojchivogo razvitiya toplivno-energeticheskogo kompleksa. Vestn. Inst. Ekon. Issled. 2017, 3, 27–34. [Google Scholar]
- Tomei, J.; Gent, D. Equity and the Energy Trilemma: Delivering Sustainable Energy Access in Low-Income Communities; International Institute for Environment and Development: London, UK, 2015; ISBN 978-1-78431-215-2. [Google Scholar]
- Šprajc, P.; Bjegović, M.; Vasić, B. Energy security in decision making and governance—Methodological analysis of energy trilemma index. Renew. Sustain. Energy Rev. 2019, 114, 109341. [Google Scholar] [CrossRef]
- Maier, H.R.; Guillaume, J.; Van Delden, H.; Riddell, G.; Haasnoot, M.; Kwakkel, J.H. An uncertain future, deep uncertainty, scenarios, robustness and adaptation: How do they fit together? Environ. Model. Softw. 2016, 81, 154–164. [Google Scholar] [CrossRef]
- Soroudi, A.; Amraee, T. Decision making under uncertainty in energy systems: State of the art. Renew. Sustain. Energy Rev. 2013, 28, 376–384. [Google Scholar] [CrossRef]
- Foley, A.M.; Ó Gallachóir, B.P.; Hur, J.; Baldick, R.; McKeogh, E.J. A strategic review of electricity systems models. Energy 2010, 35, 4522–4530. [Google Scholar] [CrossRef]
- Ofitserov-Belsky, D. Problemy energeticheskoj bezopasnosti Respubliki Moldova. Ekon. Postsovetskih Stran 2020, 146–156. [Google Scholar] [CrossRef]
- Postolatij, V.M. Nekotorye aspekty obrazovaniya edinogo rynka ES “Evrelektrik” i Moldovy sredi stran SNG. Probl. Reg. Energetiki 2006, 1, 30–36. [Google Scholar]
- Postolatij, V.M.; Bykova, E.V.; Kiorsak, M.V. Sovremennye Problemy i Vozmozhnye napravleniya Dal’nejshego Razvitiya Elektroenergetiki Respubliki Moldova. Available online: http://www.ie.asm.md/assets/files/05-A01.pdf (accessed on 23 August 2020).
- Comendant, I. Impactul economic si de securitate a interconectarii sistemelor electroenergetice ai Republicii Moldova si cel Vest European. Probl. Energeticii Reg. 2017, 2, 148–158. [Google Scholar]
- Resniova, E.A.; Ponomarenko, T.V.; Moskera, A.P.U. Mnogokriterial’nyj analiz napravlenij strategicheskogo razvitiya energeticheskogo sektora. Internet-Zhurnal Vestnik Evrazijsk. Nauki 2020, 2, 1–12. Available online: https://esj.today/PDF/82ECVN220.pdf (accessed on 7 June 2020).
- Stewart, J. Strategic Energy Management (SEM) Evaluation Protocol. The Uniform Methods Project: Methods for Determining Energy Efficiency Savings for Specific Measures; National Renewable Energy Laboratoty, US Department of Energy, Office of Scientific and Technical Information: Oak Ridge, TN, USA, 2017. [Google Scholar]
- Massel, A.; Bakhvalov, K. Primeneniye intellektualnykh tekhnologiy dlya resheniya problemy nauchnogo obosnovaniya strategicheskikh resheniy po tsifrovoy transformatsii energetiki. Inf. Mat. Tekhnologii Nauke Upr. 2019, 1, 47–60. [Google Scholar] [CrossRef]
- Massel, L.; Kuzmin, V. Tools for strategic decision support in energy sector based on situation management and semantic modeling. In Proceedings of the 5th International Workshop Critical Infrastructures: Contingency Management, Intelligent, Agent-Based, Cloud Computing and Cyber Security (IWCI 2018), Baikalsk, Russia, 17–24 March 2018; pp. 129–135. [Google Scholar]
- Wang, J.J.; Jing, Y.Y.; Zhang, C.F.; Zhao, J.H. Review on multi-criteria decision analysis aid in sustainable energy decision-making. Renew. Sustain. Energy Rev. 2009, 13, 2263–2278. [Google Scholar] [CrossRef]
- Streimikiene, D.; Siksnelyte, I. Sustainability assessment of electricity market models in selected developed world countries. Renew. Sustain. Energy Rev. 2016, 57, 72–82. [Google Scholar] [CrossRef]
- ESMAP. 2015 Annual Report. Moldova Electric Power Market Options Sector Study. Available online: https://www.esmap.org/sites/default/files/esmap-files/102512-AR-PUBLIC-Box394832B-ESMAP-ANNUAL-REPORT-2015.pdf (accessed on 17 May 2020).
- Bykova, E.; Caranu, M.; Kirillova, T. Podhody k formirovaniyu sistemy ekologicheskih indikatorov kak sostavlyayushchej sistemy indikatorov energeticheskoj bezopasnosti. Probl. Reg. Energetiki 2006, 1, 49–58. [Google Scholar]
- Svidetel’stvo o gosudarstvennoj registracii programmy dlya EVM 2020615938 Rossijskaya Federaciya. Programma po primeneniyu MKAR pri vybore napravleniya razvitiya energeticheskogo sektora Respubliki Moldova: № 2020614398; zayavl. 15.05.2020; opubl. 04.06.2020 Byul. № 6/Reshnyova, E.; Ponomarenko, T.V.//zayavitel’ Sankt-Peterburgskij gornyj universitet.
- Worldbank. Available online: https://www.worldbank.org/ (accessed on 17 May 2020).
- World Bank. The Little Green Data Book 2017. World Development Indicators 2017; World Bank: Washington, DC, USA, 2017; 240p. [Google Scholar]
- Eurostat—Data Explorer. Available online: https://appsso.eurostat.ec.europa.eu/nui/show.do?dataset=nrg_pc_204&lang=en (accessed on 19 May 2020).
- International Renewable Energy Agency. Available online: http://renewnews.ru/irena/ (accessed on 15 May 2020).
- Mirovoy Atlas Dannykh. Available online: https://knoema.ru (accessed on 15 May 2020).
- Mirovaya Energeticheskaya Statistika. Available online: https://yearbook.enerdata.ru/ (accessed on 16 May 2020).




| Factor | Indicator | |
|---|---|---|
| 1. Need for investment to ensure development | ![]() | Current investment value for a 20-year period |
| 2. Price regulation | ![]() | Normalized price for a 20-year period |
| 3. Energy security requirements | ![]() | Energy security level |
| 4. Lack of local energy resources accompanied by green energy production potential | ![]() | Level of competition |
| 5. Power equipment and network health | ![]() | An opportunity for East-West (and West-East) power transmission |
| 6. Environmental sustainability | ![]() | Environmental impact |
| 7. Government regulation of cross-border interactions | ![]() | Operational issues |
| Characteristics | Current Investment Value for a 20-Year Period | Normalized Price for a 20-Year Period |
|---|---|---|
| Initial value of the indicator | 511 | 15.46 |
| Initial total value (point) | 79.1 | 79.1 |
| 1st % change | +20% | +7% |
| New total value 1 | 76.3 | 65.9 |
| % change in total value 1 | 3.54% | 16.69% |
| Sensitivity indicator 1 | 0.18 | 2.38 |
| 2nd % change | −10% | −15% |
| New total value 2 | 80.3 | 85.3 |
| % change in total value 2 | 1.52% | 7.84% |
| Sensitivity indicator 2 | 0.15 | 0.52 |
| 3d% change | +25% | +25% |
| New total value 3 | 75.7 | 65.3 |
| % change in total value 3 | 4.3% | 17.45% |
| Sensitivity indicator 3 | 0.17 | 0.70 |
| 4th% change | −5% | −5% |
| New total value 4 | 79.7 | 85.3 |
| % change in total value 4 | 0.76% | 7.84% |
| Sensitivity indicator 4 | 0.15 | 1.57 |
Publisher’s Note: MDPI stays neutral with regard to jurisdictional claims in published maps and institutional affiliations. |
© 2021 by the authors. Licensee MDPI, Basel, Switzerland. This article is an open access article distributed under the terms and conditions of the Creative Commons Attribution (CC BY) license (http://creativecommons.org/licenses/by/4.0/).
Share and Cite
Resniova, E.; Ponomarenko, T. Sustainable Development of the Energy Sector in a Country Deficient in Mineral Resources: The Case of the Republic of Moldova. Sustainability 2021, 13, 3261. https://doi.org/10.3390/su13063261
Resniova E, Ponomarenko T. Sustainable Development of the Energy Sector in a Country Deficient in Mineral Resources: The Case of the Republic of Moldova. Sustainability. 2021; 13(6):3261. https://doi.org/10.3390/su13063261
Chicago/Turabian StyleResniova, Ecaterina, and Tatiana Ponomarenko. 2021. "Sustainable Development of the Energy Sector in a Country Deficient in Mineral Resources: The Case of the Republic of Moldova" Sustainability 13, no. 6: 3261. https://doi.org/10.3390/su13063261
APA StyleResniova, E., & Ponomarenko, T. (2021). Sustainable Development of the Energy Sector in a Country Deficient in Mineral Resources: The Case of the Republic of Moldova. Sustainability, 13(6), 3261. https://doi.org/10.3390/su13063261

