Development of Sustainable Production Technology of Free-Form Concrete Panels Using a Multi-Point Press CNC Machine
Abstract
1. Introduction
- (1)
- A CNC machine suitable for producing variable molds was developed, and a prototype was manufactured;
- (2)
- Concrete panels were designed based on the curvature and size of existing free-form buildings;
- (3)
- A variable mold was produced using the CNC machine, and concrete panels were produced;
- (4)
- The error in the shape produced by the CNC machine was analyzed to verify the performance.
2. Consideration of Previous Studies
3. Design, Production, and Erection Process of FCPs
4. An Adjustable Mold for Production of Free-Form Concrete Panels
4.1. Operation of the CNC Machine
- : Screw lead (=3 mm);
- : Transmission distance (=100 mm);
- : Number of screws (=5 EA);
- : Motor RPM (=3000 rpm);
- : Gear ratio (=1:1).
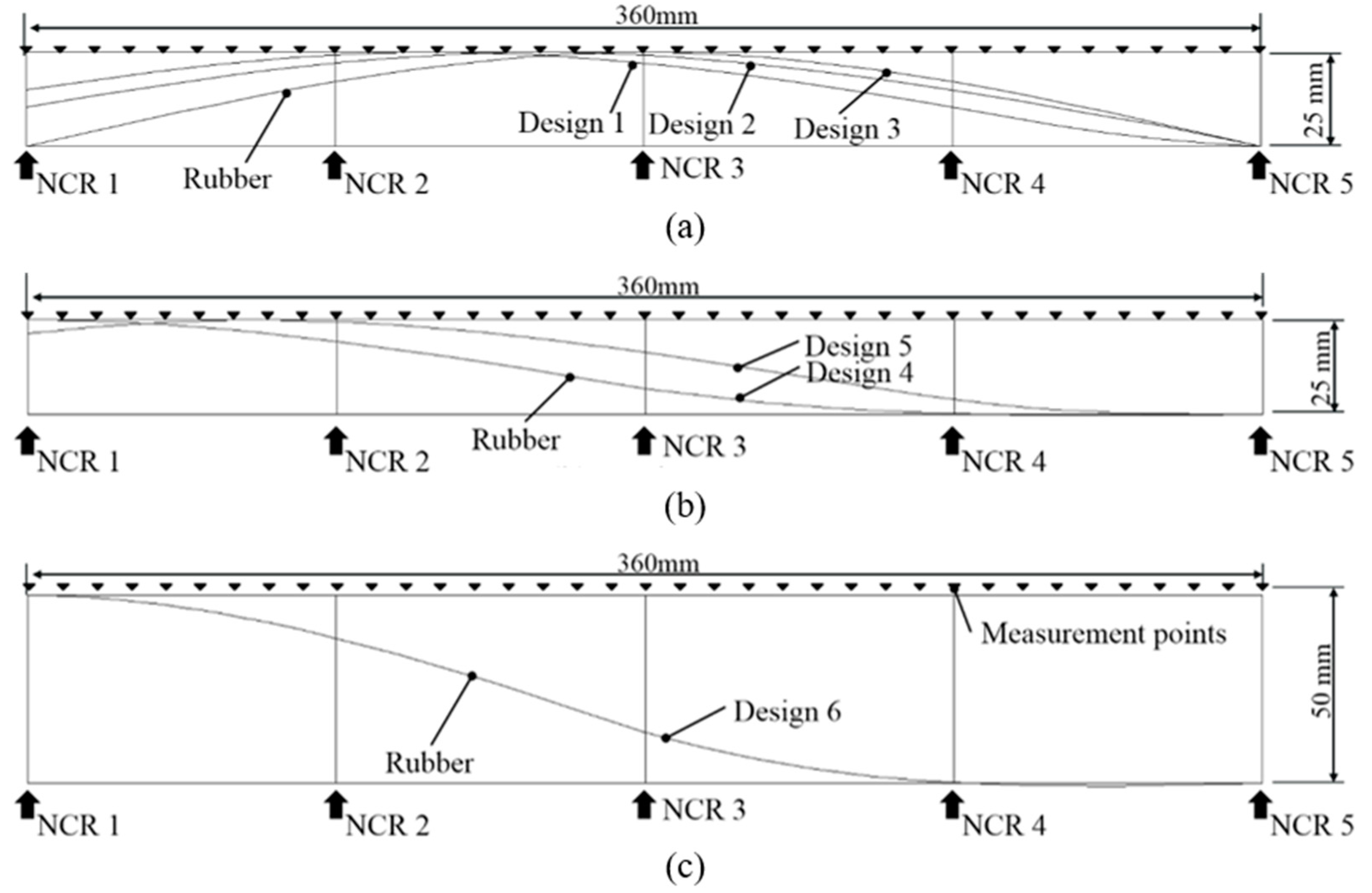
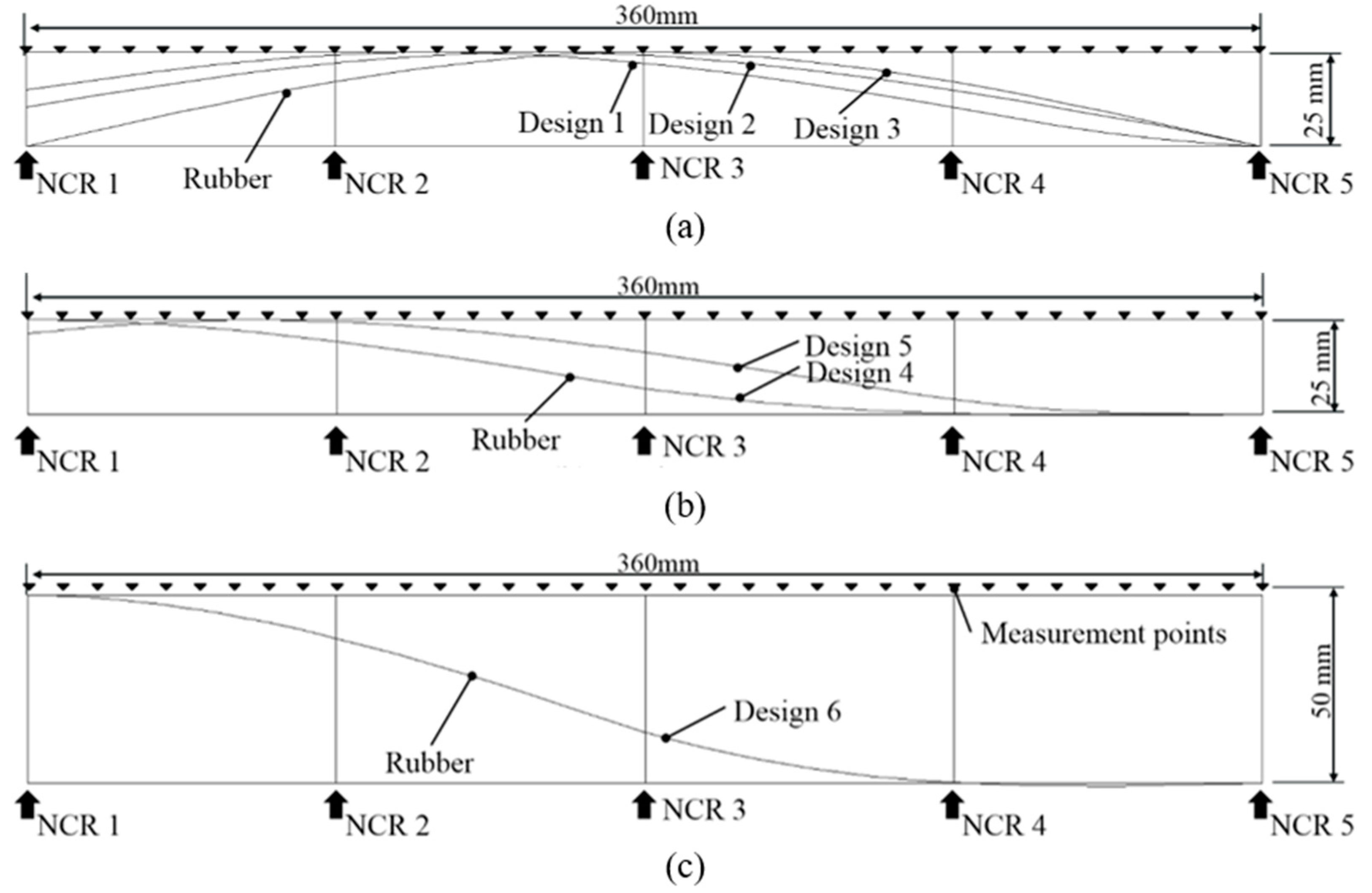
4.2. Production of Free-Form Concrete Panels
5. Measurement of FCP Quality
6. Conclusions
Author Contributions
Funding
Institutional Review Board Statement
Informed Consent Statement
Data Availability Statement
Conflicts of Interest
References
- Payne, J. The Sydney Opera House, Inside and Out; The University of Sydney: Sydney, Australia, 2003; pp. 247–277. Available online: https://ses.library.usyd.edu.au/bitstream/handle/2123/1415/08chapter7.pdf;jsessionid=A02ECB8BE3B55C6E3CD3746D1B9B9738?sequence=8 (accessed on 10 October 2020).
- Plaza, B. The return on investment of the Guggenheim Museum Bilbao. Int. J. Urban Reg. Res. 2006, 30, 452–467. [Google Scholar] [CrossRef]
- Mandl, P.; Winter, P.; Schmid, V. Free Forms in Composite Constructions—The New House of Music and Music Theatre in Graz; European convention for constructional steelwork, European Conference on Steel and Composite Structures: Brussels, Belgium, 2008; pp. 1209–1214. [Google Scholar]
- Kim, K.; Son, K.; Kim, E.D.; Kim, S. Current trends and future directions of free-form building technology. Archit. Sci. Rev. 2015, 58, 230–243. [Google Scholar] [CrossRef]
- Lee, D.; Hong, W.K.; Kim, J.T.; Kim, S. Conceptual Study of Production Technology of Free-Form Concrete Segments. IJET 2015, 7, 321. [Google Scholar] [CrossRef]
- Lim, J.; Lee, D.; Kim, S. Analysis on the factors influencing layout for production-installation work of freeform concrete panels in PCM mold. In Proceedings of the Korean Institute of Building Construction Conference, 2015; Volume 15, pp. 121–122. Available online: https://www.koreascience.or.kr/article/CFKO201526857080063.page (accessed on 1 March 2020).
- Kim, G.; Lim, C.; Kim, S. A basic study of manufacturing technology of free-form concrete segments. In Proceedings of the Korean Institute of Building Construction Conference, Buyeo, Korea, 9 September 2013; Volume 13, pp. 12–13. [Google Scholar]
- Lee, G. Construction Issues of Irregular-Shaped Buildings. JAIK 2008, 52, 63–65. [Google Scholar]
- Ghugal, Y.M.; Deshmukh, S.B. Performance of alkali-resistant glass fiber reinforced concrete. JRPC 2006, 25, 617–630. [Google Scholar] [CrossRef]
- Choi, Y.; Yuan, R.L. Experimental relationship between splitting tensile strength and compressive strength of GFRC and PFRC. Cem. Concr. Res. 2005, 35, 1587–1591. [Google Scholar] [CrossRef]
- Krishna, R.; Kumar, R.P.; Srinivas, B. Effect of size and shape of specimen on compressive strength of glass fiber reinforced concrete (GFRC). Facta Univ. Ser. Archit. Civil Eng. 2011, 9, 1–9. [Google Scholar] [CrossRef]
- Marikunte, S.; Aldea, C.; Shah, S.P. Durability of glass fiber reinforced cement composites: Effect of silica fume and metakaolin. Adv. Cem. Based Mater. 1997, 5, 100–108. [Google Scholar] [CrossRef]
- Son, S.; Kim, D.; Son, K.; Kim, S. Predicting production time of free-form concrete panels using 3D plastering technology. Autom. Constr. 2020, 119, 103327. [Google Scholar] [CrossRef]
- Son, S.; Lim, J.; Kim, S. Planning algorithms for in-situ production of free-form concrete panels. Autom. Constr. 2018, 91, 83–91. [Google Scholar] [CrossRef]
- Lindsey, B.; Gehry, F.O. Digital Gehry. Englische Ausgabe: Material Resistance Digital Construction; Springer Science & Business Media: Berlin/Heidelberg, Germany, 2001; pp. 16–90. [Google Scholar]
- Ito, T. Meiso No Mori Crematorium Gifu Japan; Toyo Ito & Associates: Gifu, Japan, 2006; pp. 7–25. [Google Scholar]
- Franken, B. The Bubble. Available online: http://www.franken-architekten.de/index.php?pagetype=projectdetail&lang=en&cat=6¶m=cat¶m2=21¶m3=0&. (accessed on 23 October 2020).
- Pérez Latorre, J.I. Construction Method to Build Ice Shells with Pneumatic Formwork. Master’s Thesis, Vienna University of Technology Faculty of Civil Engineering, Vienna, Austria, 2010. Available online: http://hdl.handle.net/10016/10080 (accessed on 1 March 2020).
- Verhaegh, R.W.A. Free Forms in Concrete Fabric. Master’s Thesis, Eindhoven University of Technology, Eindhoven, The Netherlands, 2010. [Google Scholar]
- Spencer Dock Bridge. Available online: https://www.archdaily.com/96400/spencer-dock-bridge-amanda-levete-architects (accessed on 24 April 2020).
- Tailorcrete. Available online: http://www.tailorcrete.com (accessed on 1 February 2020).
- CRAFT (Center for Rapid Automated Fabrication Technologies). Available online: http://www.craft-usc.com/ (accessed on 1 March 2020).
- Loughborough University. Available online: http://www.lboro.ac.uk/eng/research/imcrc/ (accessed on 1 December 2020).
- Schipper, H.R.; Janssen, B. Manufacturing double-curved elements in precast concrete using a flexible mould: First experimental results. In Proceedings of the FIB Symposium, Concrete engineering for excellence and efficiency, Prague, Czech Republic, 8–10 June 2011; Czech Concrete Society and fib International Federation for Structural Concrete. Available online: http://resolver.tudelft.nl/uuid:fc718916-cecf-42a8-a3d9-0bb8c2c8fe02 (accessed on 1 March 2020).
- G. Fuehrer [AL_A Team]. Available online: https://www.yatzer.com/first-photos-spencer-dock-bridge-dublin (accessed on 1 March 2020).
- Design to Production. Available online: https://www.designtoproduction.com/en/ (accessed on 1 February 2020).
- Gramazio, F.; Kohler, M.; Willmann, J.; Oesterle, S.; Vansteenkiste, A.; Mirjan, A. Zero Waste Free-Form Formwork. In Proceedings of the Second International Conference on Flexible Formwork; University of Bath: Bath, UK, 2012; pp. 258–267. [Google Scholar]
- Pedersen, T.H.; Lenau, T.A. Variable geometry casting of concrete elements using pin-type tooling. J. Manuf. Sci. Eng. 2010, 132. [Google Scholar] [CrossRef]
- Munro, C.; Walczyk, D. Reconfigurable pin-type tooling: A survey of prior art and reduction to practice. J. Manuf. Sci. Eng. 2007, 129, 551–565. [Google Scholar] [CrossRef]
- Vedel-Smith, N.K.; Lenau, T.A. Casting traceability with direct part marking using reconfigurable pin-type tooling based on paraffin–graphite actuators. J. Manuf. Syst. 2012, 31, 113–120. [Google Scholar] [CrossRef]
- Im, Y.T.; Walczyk, D.F.; Schwarz, R.C.; Papazian, J.M. A comparison of pin actuation schemes for large-scale discrete dies. J. Manuf. Process. 2000, 2, 247–257. [Google Scholar] [CrossRef]
- Tan, F.X.; Li, M.Z.; Cai, Z.Y. Research on the process of multi-point forming for the customized titanium alloy cranial prosthesis. J. Mater. Process. Technol. 2007, 187, 453–457. [Google Scholar] [CrossRef]
- Savvides, A. Free Form Formwork System Technology for Concrete Structures. Master’s Thesis, Budapest University of Technology and Economics, Budapest, Hungary, 2012. [Google Scholar]
- Lee, D.; Kim, S. Energy and CO2 reduction of aluminum powder molds for producing free-form concrete panels. Sustainability 2020, 12, 9613. [Google Scholar] [CrossRef]
- Lee, D.; Lee, S.G.; Kim, S. Composite phase-change material mold for cost-effective production of free-form concrete panels. JCEM 2017, 143, 04017012. [Google Scholar] [CrossRef]
- Kim, S. An experimental study for quality assurance of free-form concrete panels produced by CNC machine. JCEM 2018, 24, 145–154. [Google Scholar] [CrossRef]
- Southcape. Available online: http://www.southcape.co.kr/ (accessed on 1 March 2020).














| Test | N | Mean | Std. Deviation | Std. Error | Min. | Max. |
|---|---|---|---|---|---|---|
| 1 | 37 | 369.09 | 7.88 | 1.29 | 359.56 | 384.33 |
| 2 | 37 | 368.55 | 8.29 | 1.36 | 358.46 | 384.76 |
| 3 | 37 | 368.53 | 7.50 | 1.23 | 359.56 | 384.15 |
| 4 | 37 | 367.30 | 8.08 | 1.32 | 358.28 | 383.11 |
| 5 | 37 | 372.01 | 6.23 | 1.02 | 364.54 | 387.31 |
| 6 | 37 | 369.92 | 6.26 | 1.03 | 362.14 | 384.91 |
| 7 | 37 | 370.67 | 7.11 | 1.17 | 362.39 | 386.63 |
| 8 | 37 | 366.94 | 6.83 | 1.12 | 358.93 | 382.45 |
| 9 | 37 | 373.83 | 7.91 | 1.30 | 363.86 | 387.36 |
| 10 | 37 | 378.06 | 8.84 | 1.45 | 366.76 | 393.39 |
| 11 | 37 | 376.30 | 8.26 | 1.36 | 365.81 | 389.83 |
| 12 | 37 | 377.64 | 8.22 | 1.35 | 367.39 | 391.43 |
| 13 | 37 | 362.32 | 10.23 | 1.68 | 344.98 | 374.35 |
| 14 | 37 | 356.92 | 9.79 | 1.60 | 341.01 | 367.70 |
| 15 | 37 | 356.62 | 9.31 | 1.53 | 339.59 | 366.92 |
| 16 | 37 | 355.42 | 9.47 | 1.56 | 338.90 | 366.54 |
| 17 | 37 | 328.95 | 9.74 | 1.60 | 316.87 | 342.86 |
| 18 | 37 | 327.09 | 9.81 | 1.61 | 315.76 | 340.33 |
| 19 | 37 | 324.90 | 9.56 | 1.57 | 312.38 | 340.22 |
| 20 | 37 | 327.15 | 9.37 | 1.54 | 315.45 | 340.51 |
| Total | 740 | 359.91 | 8.43 | 1.38 | 348.63 | 373.95 |
| Distance from NCR | N | Mean | Std. Deviation | Std. Error | 95% CI for Mean | Max. | |
|---|---|---|---|---|---|---|---|
| Lower Bound | Upper Bound | ||||||
| 0 | 100 | 0 | 0 | 0 | 0 | 0 | 0 |
| 10 | 160 | 0.44 | 1.39 | 0.11 | 0.22 | 0.66 | 3.88 |
| 20 | 160 | 0.80 | 1.70 | 0.13 | 0.53 | 1.06 | 4.63 |
| 30 | 160 | 1.15 | 1.79 | 0.14 | 0.87 | 1.43 | 5.62 |
| 40 | 160 | 1.19 | 1.94 | 0.15 | 0.88 | 1.49 | 5.04 |
| Total | 740 | 0.77 | 1.65 | 0.06 | 0.65 | 0.89 | 5.62 |
| Sum of Squares | df | Mean Square | F | Sig. | |
|---|---|---|---|---|---|
| Between Groups | 127.5 | 4 | 31.88 | 12.48 | 0 |
| Within Groups | 1876.9 | 735 | 2.55 | ||
| Total | 2004.4 | 739 |
| R | R2 | Adjusted R2 | Std. Error of the Estimate |
|---|---|---|---|
| 0.244a | 0.06 | 0.058 | 1.6 |
| Sum of Squares | df | Mean Square | F | Sig. | |
|---|---|---|---|---|---|
| Regression | 119.6 | 1 | 119.64 | 46.85 | 0 |
| Residual | 1884.8 | 738 | 2.55 | ||
| Total | 2004.4 | 739 |
| Test | N | Mean | Std. Deviation | Std. Error | 95% Confidence Interval for Mean | Min. | Max. | |
|---|---|---|---|---|---|---|---|---|
| Lower Bound | Upper Bound | |||||||
| 21 | 37 | 322.69 | 19.14 | 3.15 | 316.31 | 329.07 | 291.11 | 343.46 |
| 22 | 37 | 321.17 | 18.97 | 3.12 | 314.84 | 327.49 | 289.03 | 341.50 |
| 23 | 37 | 322.12 | 19.25 | 3.16 | 315.71 | 328.54 | 290.63 | 342.55 |
| 24 | 37 | 321.61 | 18.46 | 3.04 | 315.46 | 327.77 | 290.33 | 340.59 |
| Total | 148 | 321.90 | 18.96 | 3.12 | 315.58 | 328.22 | 290.28 | 342.03 |
Publisher’s Note: MDPI stays neutral with regard to jurisdictional claims in published maps and institutional affiliations. |
© 2021 by the authors. Licensee MDPI, Basel, Switzerland. This article is an open access article distributed under the terms and conditions of the Creative Commons Attribution (CC BY) license (http://creativecommons.org/licenses/by/4.0/).
Share and Cite
Kim, S.; Son, S.; Lee, D. Development of Sustainable Production Technology of Free-Form Concrete Panels Using a Multi-Point Press CNC Machine. Sustainability 2021, 13, 1990. https://doi.org/10.3390/su13041990
Kim S, Son S, Lee D. Development of Sustainable Production Technology of Free-Form Concrete Panels Using a Multi-Point Press CNC Machine. Sustainability. 2021; 13(4):1990. https://doi.org/10.3390/su13041990
Chicago/Turabian StyleKim, Sunkuk, Seunghyun Son, and Donghoon Lee. 2021. "Development of Sustainable Production Technology of Free-Form Concrete Panels Using a Multi-Point Press CNC Machine" Sustainability 13, no. 4: 1990. https://doi.org/10.3390/su13041990
APA StyleKim, S., Son, S., & Lee, D. (2021). Development of Sustainable Production Technology of Free-Form Concrete Panels Using a Multi-Point Press CNC Machine. Sustainability, 13(4), 1990. https://doi.org/10.3390/su13041990
