Modeling of Waste Flow in Industrial Symbiosis System at City-Region Level: A Case Study of Jinchang, China
Abstract
1. Introduction
2. Studied Cases
3. Materials and Methods
3.1. Methodology: Production Matrix
- Hk = a Process k, k = 1, …, n; is regarded as a node in graphical models,
- zi0 = inflow (mass or energy per unit time) to Process i from outside the system,
- y0j = outflow (mass or energy per unit time) from Process j to outside the system,
- fij = flow (mass or energy per unit time) from Process j to Process i, and
- xk = time derivative of state xk of Process k,
3.2. Model: ISSWFMA
3.3. Data Sources
4. Results
4.1. Solid Waste Metabolism
4.1.1. Analysis of the Source and Flow of Solid Waste
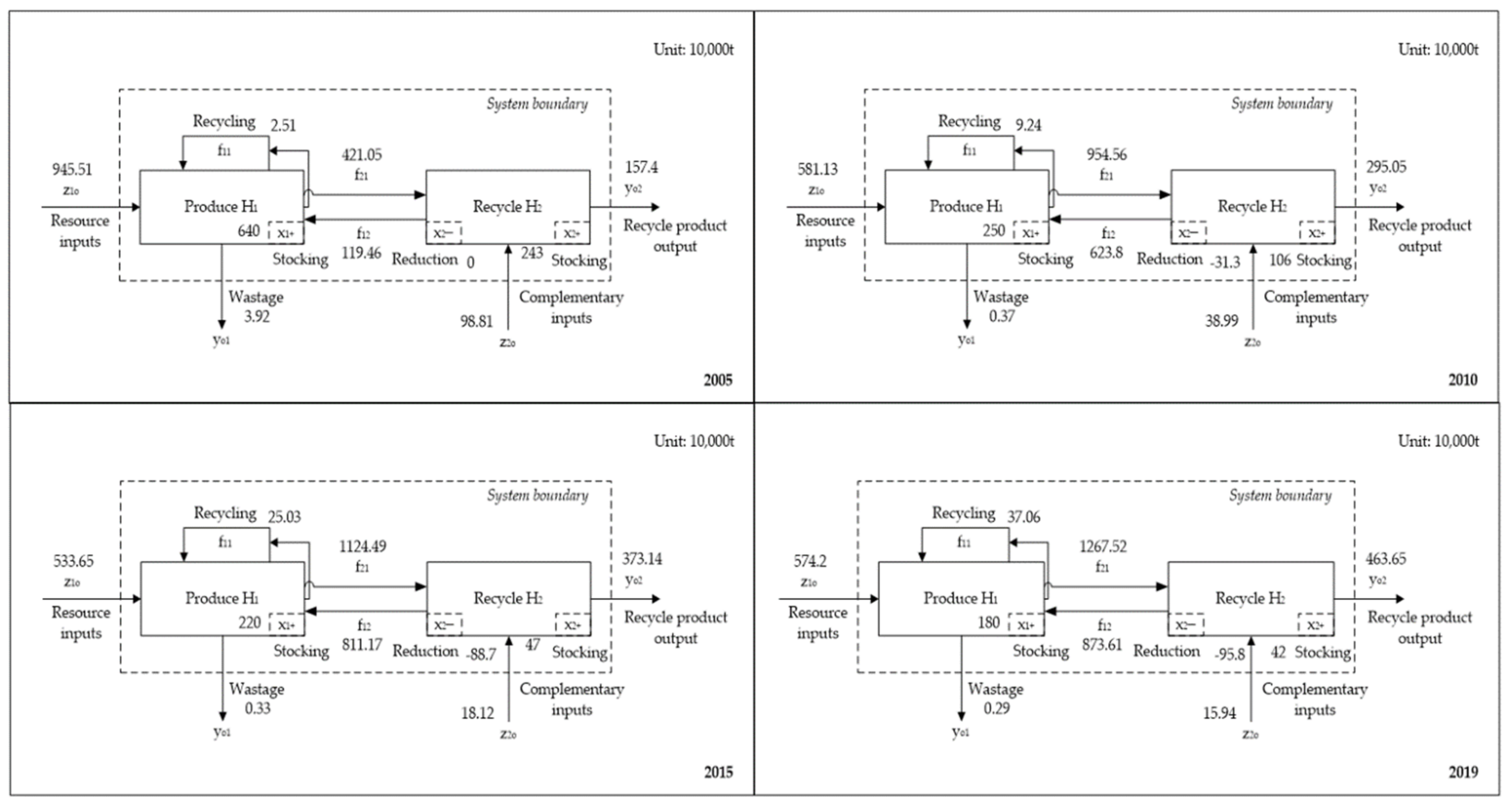
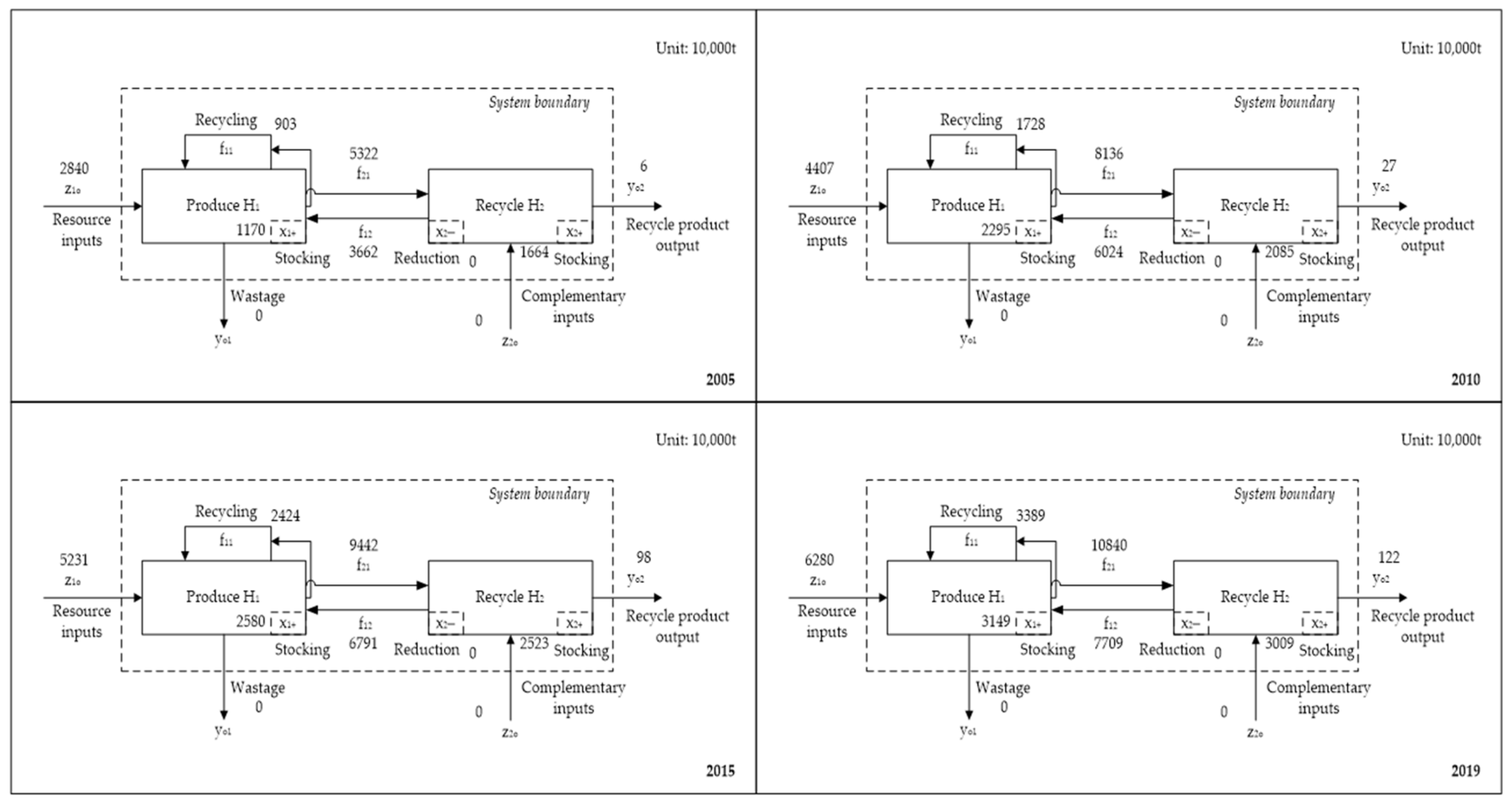
4.1.2. Solid Waste Circulation Flow Diagrams
4.2. Wastewater Metabolism
4.2.1. Analysis of Wastewater Source and Flow
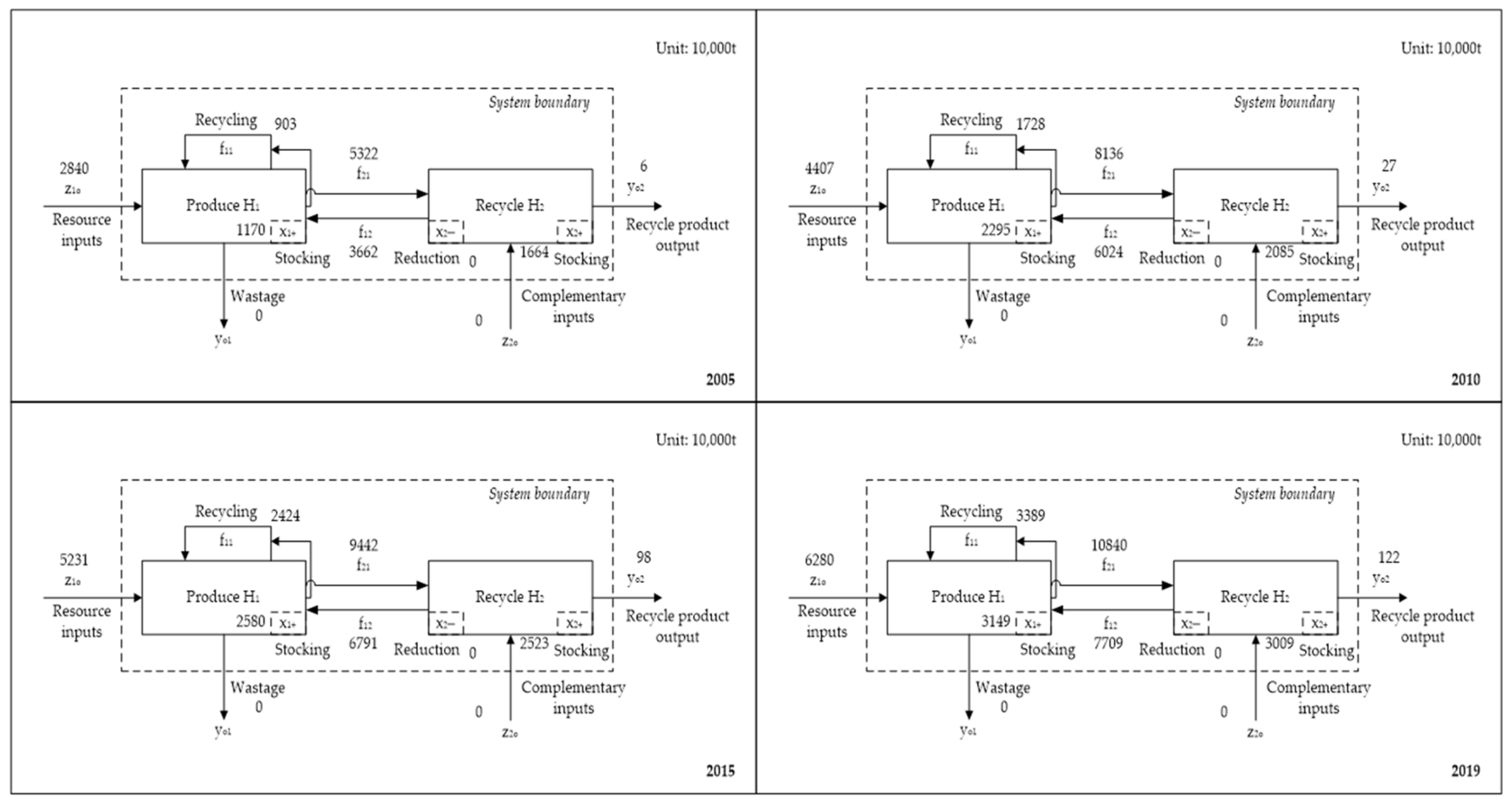
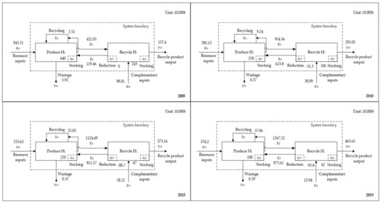
4.2.2. Wastewater Circulation Flow Diagrams
4.3. Exhaust Gas Metabolism
4.3.1. Analysis of Exhaust Gas Source and Flow
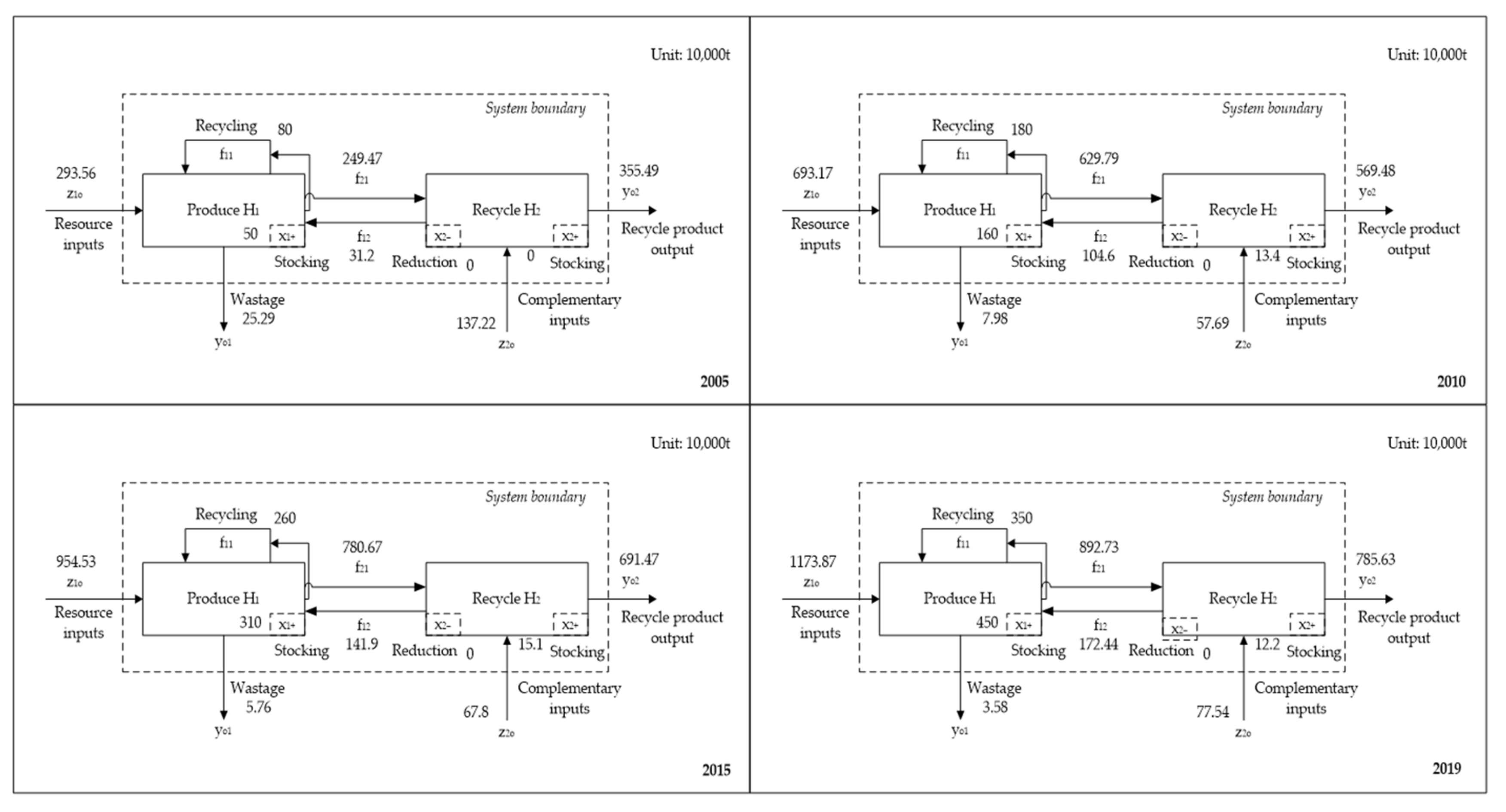
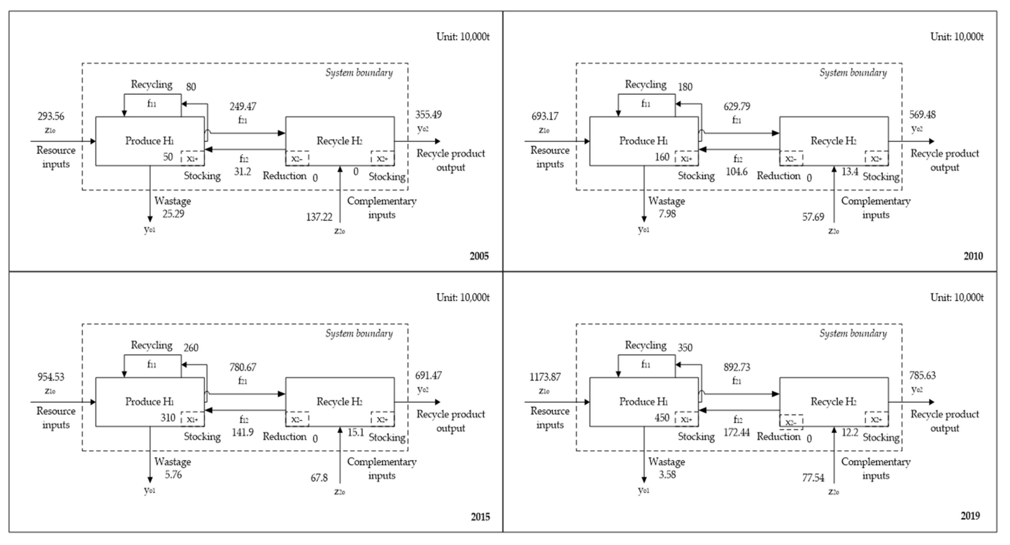
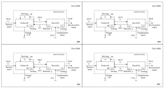
4.3.2. Exhaust Gas Circulation Flow Diagrams
4.4. Analysis of Waste Stream Circulation
5. Conclusions and Discussions
Author Contributions
Funding
Institutional Review Board Statement
Informed Consent Statement
Data Availability Statement
Conflicts of Interest
References
- Van, S.; Stegeman, J.A.; Ekins, P. Limited climate benefits of global recycling of pulp and paper. Nat. Sustain. 2020, 1–8. [Google Scholar] [CrossRef]
- Xie, X.; Qin, S.; Gou, Z.; Yi, M. Can Green Building Promote Pro-Environmental Behaviours? The Psychological Model and Design Strategy. Sustainability 2020, 12, 7714. [Google Scholar] [CrossRef]
- Lu, C.; Ji, W.; Liu, Z.; Dong, S.; Xue, B. Synergistic Evaluation and Constraint Factor Analysis on Urban Industrial Ecosystems of Traditional Industrial Area in China. Complexity 2020, 2020, 1–16. [Google Scholar]
- Huang, J.; Zhao, R.; Huang, T.; Wang, X.; Tseng, M.-L. Sustainable Municipal Solid Waste Disposal in the Belt and Road Initiative: A Preliminary Proposal for Chengdu City. Sustainability 2018, 10, 1147. [Google Scholar] [CrossRef]
- Lu, C.; Xue, B.; Lu, C.; Wang, T.; Zhang, Z.; Ren, W. Sustainability Investigation of Resource-Based Cities in Northeastern China. Sustainability 2016, 8, 1058. [Google Scholar] [CrossRef]
- Lu, W. Waste Recycling System Material Metabolism Analysis Model and Its Application. Ph.D. Thesis, Tsinghua University, Beijing, China, 2010. [Google Scholar]
- Liu, G.; Lu, S.; Li, X. Literature Review on Industrial Symbiosis: The Perspective from Synergy Operation of Recycling. Manag. Rev. 2014, 26, 149–160. [Google Scholar]
- Xue, B.; Chen, X.; Geng, Y.; Guo, X.; Lu, C.; Zhang, Z.; Lu, C. Survey of officials’ awareness on circular economy development in China: Based on municipal and county level. Resour. Conserv. Recycl. 2010, 54, 1296–1302. [Google Scholar] [CrossRef]
- Chen, X.; Fujita, T.; Ohnishi, S.; Fujii, M. The Impact of Scale, Recycling Boundary, and Type of Waste on Symbiosis and Recycling. J. Ind. Ecol. 2012, 16, 129–131. [Google Scholar] [CrossRef]
- Zhao, R.; Liu, Y.; Zhang, N.; Huang, T. An optimization model for green supply chain management by using a big data analytic approach. J. Clean. Prod. 2017, 142, 1085–1097. [Google Scholar] [CrossRef]
- Mathews, J.A.; Tan, H. Circular economy: Lessons from China. Nature 2016, 531, 440–442. [Google Scholar] [CrossRef]
- Lu, W.; Zhang, T. Research and Prospects of Waste Recycling. Environ. Sci. Manag. 2010, 35, 129–139. [Google Scholar]
- Gao, H.; Dai, T. Metabolism framework on recycling system construction of municipal solid waste. Recycl. Resour. Circ. Econ. 2014, 7, 9–14. [Google Scholar]
- Joosten, L.A.J.; Hekkert, M.P.; Worrell, E. Assessment of the plastic flows in The Netherlands using STREAMS. Resour. Conserv. Recycl. 2000, 30, 135–161. [Google Scholar] [CrossRef]
- Melo, M.T. Statistical analysis of metal scrap generation: The case of aluminum in Germany. Resour. Conserv. Recycl. 1999, 26, 91–113. [Google Scholar] [CrossRef]
- Van Beers, D.; Graedel, T.E. The magnitude and spatial distribution of in-use copper stocks in Cape Town, South Africa: Research article. S. Afr. J. Sci. 2003, 99, 61–69. [Google Scholar]
- Zhang, J. Studying on Zinc Cycle and Regeneration Index of Depreciated Zinc Products in China. Ph.D. Thesis, Northeastern University, Boston, MA, USA, 2007. [Google Scholar]
- Byström, S.; Lönnstedt, L. Waste paper usage and fiber flow in Western Europe. Resour. Conserv. Recycl. 1995, 15, 111–121. [Google Scholar] [CrossRef]
- Joosten, L.A.J.; Hekkert, M.P.; Worrell, E.; Worrell, E.; Turkenburg, W. STREAMS: A new method for analyzing material flows through society. Resour. Conserv. Recycl. 1999, 27, 249–266. [Google Scholar] [CrossRef]
- Hekkert, M.P.; Joosten, L.A.J.; Worrell, E. Analysis of the paper and wood flow in The Netherlands. Resour. Conserv. Recycl. 2000, 30, 29–48. [Google Scholar] [CrossRef]
- Patel, M.K.; Jochem, E.; Radgen, P.; Worrell, E. Plastics streams in Germany—An analysis of production, consumption and waste generation. Resour. Conserv. Recycl. 1998, 24, 191–215. [Google Scholar] [CrossRef]
- Peralta, G.L.; Fontanos, P.M. E-waste issues and measures in the Philippines. J. Mater. Cycles Waste Manag. 2006, 8, 34–39. [Google Scholar] [CrossRef]
- Lu, Z.; Yue, Q. Two Methods and Applications of Substance Flow Analysis. Resour. Recycl. 2006, 2, 27–28. [Google Scholar]
- Hage, O.; Söderholm, P. An econometric analysis of regional differences in household waste collection: The case of plastic packaging waste in Sweden. Waste Manag. 2008, 28, 1720–1731. [Google Scholar] [CrossRef]
- Berglund, C.; Söderholm, P. Complementing Empirical Evidence on Global Recycling and Trade of Waste Paper. World Dev. 2003, 31, 743–754. [Google Scholar] [CrossRef]
- Byström, S.; Lönnstedt, L. Paper recycling: A discussion of methodological approaches. Resour. Conserv. Recycl. 2000, 28, 55–65. [Google Scholar] [CrossRef]
- Yamashita, H.; Kishino, H.; Hanyu, K.; Hayashi, C.; Abe, K. Circulation indices: New tools for analyzing the structure of material cascades. Resour. Conserv. Recycl. 2000, 28, 85–104. [Google Scholar] [CrossRef]
- Brown, M.T.; Buranakarn, V. Emergy indices and ratios for sustainable material cycles and recycle options. Resour. Conserv. Recycl. 2003, 38, 1–22. [Google Scholar] [CrossRef]
- Leontief, W. Environmental repercussions and the economic structure: An input output approach. Rev. Econ. Stat. 1970, 52, 262–271. [Google Scholar] [CrossRef]
- Leontief, W.; Ford, D. Air pollution and the economic structure: Empirical results of input-output computations. In Input-Output Techniques: Proceedings of the Fifth International Conference on Input-Output Techniques, Geneva, Switzerland, January 1971; Bródy, A., Cater, A.P., Eds.; North-Holland Publ. Co: Amsterdam, The Netherlands, 1972; pp. 9–30. [Google Scholar]
- Hubacek, K.; Giljum, S. Applying physical input–output analysis to estimate land appropriation (ecological footprints) of international trade activities. Ecol. Econ. 2003, 44, 137–151. [Google Scholar] [CrossRef]
- Suh, S. A note on the calculus for physical input–output analysis and its application to land appropriation of international trade activities. Ecol. Econ. 2004, 48, 9–17. [Google Scholar] [CrossRef]
- Hoekstra, R.; van den Bergh, J.C.J.M. Constructing physical input–output tables for environmental modeling and accounting: Framework and illustrations. Ecol. Econ. 2006, 59, 375–393. [Google Scholar] [CrossRef]
- Nakamura, S. The Waste Input-Output Approach to Materials Flow Analysis. J. Ind. Ecol. 2007, 11, 50–63. [Google Scholar] [CrossRef]
- Lu, C. Study on System Evolution and Symbiosis Effects of Industrial Symbiosis-Case of Jinchang. Ph.D. Thesis, Lanzhou University, Lanzhou, China, 2013. [Google Scholar]
- Wang, T.; Daniel, B.M.; Graedel, T.E. Forging the anthropogenic iron cycle. Environ. Technol. Sci. 2007, 41, 5120–5129. [Google Scholar] [CrossRef] [PubMed]
- Bailey, R.; Allen, J.K.; Bras, B. Applying Ecological Input-Output Flow Analysis to Material Flows in Industrial Systems: Part I: Tracing Flows. J. Ind. Ecol. 2008, 8, 45–68. [Google Scholar] [CrossRef]
- Finn, J.T. Flow Analysis: A Method for Tracing Flows through Ecosystem Models. Ph.D. Thesis, University of Georgia, Athens, GA, USA, 1977. [Google Scholar]
- Hannon, B. The structure of eco-systems. J. Theor. Biol. 1973, 41, 535–546. [Google Scholar] [CrossRef]
- Patten, C.; Bosserman, R.; Finn, J.; Cale, W. Propagation of Cause in Ecosystems; Academic Press: New York, NY, USA, 1976. [Google Scholar]
- Szyrmer, J.; Ulanowicz, R.E. Total flows in ecosystems. Ecol. Model. 1987, 35, 123–136. [Google Scholar] [CrossRef]
- Laybourn, P.; Lombardi, D.R. Industrial Symbiosis in European Policy. J. Ind. Ecol. 2012, 16, 11–12. [Google Scholar] [CrossRef]
- Fujii, M.; Fujita, T.; Dong, L.; Lu, C.P.; Geng, Y.; Behera, S.K.; Park, H.-S.; Chiu, A.S.F. Possibility of developing low-carbon industries through urban symbiosis in Asian cities. J. Clean. Prod. 2016, 114, 376–386. [Google Scholar] [CrossRef]
- Adriaanse, A.; Bringezu, S.; Hammond, A.; Moriguchi, Y.; Rodenburg, E.; Rogich, D.; Schütz, H. Resource Flows—The Material Basis of Industrial Economics; World Resources Institute: Washington, DC, USA, 1997. [Google Scholar]
- Brunner, P.H.; Baccini, P. Regional materials management and environmental protection. Waste Manag. Res. 1992, 10, 203–212. [Google Scholar] [CrossRef]






| from | |||||||||||||||||||||
|---|---|---|---|---|---|---|---|---|---|---|---|---|---|---|---|---|---|---|---|---|---|
| Z10 | Z20 | … | Zn0 | −x1− | −x2− | … | −xn− | H1 | H2 | … | Hn | y01 | y02 | … | y0n | X1+ | X2+ | … | Xn+ | ||
| to | Z10 | ||||||||||||||||||||
| Z20 | |||||||||||||||||||||
| … | |||||||||||||||||||||
| Zn0 | 0 | 0 | 0 | ||||||||||||||||||
| −x1− | |||||||||||||||||||||
| −x2− | |||||||||||||||||||||
| … | |||||||||||||||||||||
| −xn− | |||||||||||||||||||||
| H1 | Z10 | 0 | 0 | 0 | −x1− | 0 | 0 | 0 | f11 | f12 | … | f1n | |||||||||
| H2 | 0 | Z20 | 0 | 0 | 0 | −x2− | 0 | 0 | f21 | f22 | … | f2n | 0 | ||||||||
| … | 0 | 0 | … | 0 | 0 | 0 | … | 0 | … | … | … | … | |||||||||
| Hn | 0 | 0 | 0 | Zn0 | 0 | 0 | 0 | −xn− | f1n | f2n | … | fnn | |||||||||
| y01 | y01 | 0 | 0 | 0 | |||||||||||||||||
| y02 | 0 | y02 | 0 | 0 | |||||||||||||||||
| … | 0 | 0 | … | 0 | |||||||||||||||||
| y0n | 0 | 0 | 0 | 0 | y0n | 0 | |||||||||||||||
| X1+ | X1+ | 0 | 0 | 0 | |||||||||||||||||
| X2+ | 0 | X2+ | 0 | 0 | |||||||||||||||||
| … | 0 | 0 | … | 0 | |||||||||||||||||
| Xn+ | 0 | 0 | 0 | Xn+ | |||||||||||||||||
| External Input | Internal Output | Internal Flow | Internal Stock | |||||||
|---|---|---|---|---|---|---|---|---|---|---|
| 2005 | 945.51 | 98.81 | 3.92 | 157.40 | 421.05 | 119.46 | 2.51 | 640.00 | 243.00 | 0.00 |
| 2010 | 581.13 | 38.99 | 0.37 | 295.05 | 954.56 | 623.80 | 9.24 | 250.00 | 106.00 | −31.30 |
| 2015 | 533.65 | 18.12 | 0.33 | 373.14 | 1124.49 | 811.17 | 25.03 | 220.00 | 47.00 | −88.70 |
| 2019 | 574.20 | 15.94 | 0.29 | 463.65 | 1267.52 | 873.61 | 37.06 | 180.00 | 42.00 | −95.80 |
| External Input | Internal Output | Internal Flow | Internal Stock | |||||||
|---|---|---|---|---|---|---|---|---|---|---|
| 2005 | 2840 | 0.00 | 0.00 | 6 | 5322 | 3662 | 903 | 1170 | 1664 | 0.00 |
| 2010 | 4407 | 0.00 | 0.00 | 27 | 8136 | 6024 | 1728 | 2295 | 2085 | 0.00 |
| 2015 | 5231 | 0.00 | 0.00 | 98 | 9442 | 6791 | 2424 | 2580 | 2523 | 0.00 |
| 2019 | 6280 | 0.00 | 0.00 | 122 | 10,840 | 7709 | 3389 | 3149 | 3009 | 0.00 |
| External Input | Internal Output | Internal Flow | Internal Stock | |||||||
|---|---|---|---|---|---|---|---|---|---|---|
| 2005 | 293.56 | 137.22 | 25.29 | 355.49 | 249.47 | 31.20 | 80.00 | 50.00 | 0.00 | 0.00 |
| 2010 | 693.17 | 57.69 | 7.98 | 569.48 | 629.79 | 104.60 | 180.00 | 160.00 | 13.40 | 0.00 |
| 2015 | 954.53 | 67.80 | 5.76 | 691.47 | 780.67 | 141.90 | 260.00 | 310.00 | 15.10 | 0.00 |
| 2019 | 1173.87 | 77.54 | 3.58 | 785.63 | 892.73 | 172.44 | 350.00 | 450.00 | 12.20 | 0.00 |
Publisher’s Note: MDPI stays neutral with regard to jurisdictional claims in published maps and institutional affiliations. |
© 2021 by the authors. Licensee MDPI, Basel, Switzerland. This article is an open access article distributed under the terms and conditions of the Creative Commons Attribution (CC BY) license (http://creativecommons.org/licenses/by/4.0/).
Share and Cite
Lu, C.; Pan, X.; Chen, X.; Mao, J.; Pang, J.; Xue, B. Modeling of Waste Flow in Industrial Symbiosis System at City-Region Level: A Case Study of Jinchang, China. Sustainability 2021, 13, 466. https://doi.org/10.3390/su13020466
Lu C, Pan X, Chen X, Mao J, Pang J, Xue B. Modeling of Waste Flow in Industrial Symbiosis System at City-Region Level: A Case Study of Jinchang, China. Sustainability. 2021; 13(2):466. https://doi.org/10.3390/su13020466
Chicago/Turabian StyleLu, Chengpeng, Xiaoli Pan, Xingpeng Chen, Jinhuang Mao, Jiaxing Pang, and Bing Xue. 2021. "Modeling of Waste Flow in Industrial Symbiosis System at City-Region Level: A Case Study of Jinchang, China" Sustainability 13, no. 2: 466. https://doi.org/10.3390/su13020466
APA StyleLu, C., Pan, X., Chen, X., Mao, J., Pang, J., & Xue, B. (2021). Modeling of Waste Flow in Industrial Symbiosis System at City-Region Level: A Case Study of Jinchang, China. Sustainability, 13(2), 466. https://doi.org/10.3390/su13020466

