Designing Interventions for Behavioral Shifts toward Product Sharing: The Case of Laundry Activities in Japan
Abstract
1. Introduction
2. Materials and Methods
2.1. Case Study Description: Laundry Practices in Japan
2.2. In-Depth Interview
2.3. Web Survey
2.4. Design and Assessment of Interventions for Behavioral Shift
2.5. Environmental Impact of Laundry Activities
3. Results
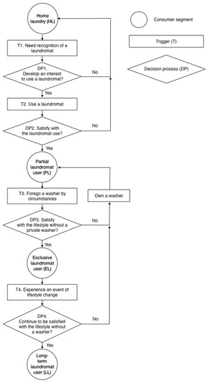
3.1. Consumer Decision Processes in a Behavioral Shift toward Laundromat Use
3.2. Determinants of the Four DPs
3.2.1. Demographic Profile of the Survey Respondents
3.2.2. T1 and DP1: Need Recognition and Factors Influencing the Interest in a Laundromat
3.2.3. T2 and DP2: Use Experience with a Laundromat
3.2.4. T3 and DP3: Lifestyle without a Private Washing Machine
3.2.5. T4 and DP4: The Event of Lifestyle Changes and Their Influence on Laundromat Use
3.3. Designing an Intervention and Its Environmental Potential
4. Discussion
5. Conclusions
Author Contributions
Funding
Acknowledgments
Conflicts of Interest
Appendix A
| Section | Type of Questions | Respondents | ||
|---|---|---|---|---|
| HL | PL | EL | ||
| 1. General information | Age; gender; employment status; household income; size of household; type of household members; housing type; location of residence | ○ | ○ | ○ |
| 2. Current pattern of laundry activities | 2.1 Home washing
| ○ | ○ | ○ |
| 3. Perspectives on behavioral shifts involving laundromat use | 3.1 (T1 and DP1) Need recognition and factors influencing the interest in a laundromat: What triggered you to use a laundromat? Please select one or more from the list.
| ○ | ○ | |
3.2 (T2 and DP2) Use experience with a laundromat: What are the reasons for you to continue using a laundromat? Please select your reason(s) from the list.I use laundromat because…
| ○ | ○ | ||
3.3 (T3 and DP3) Lifestyle without a private washing machine (1): For each laundromat described below, if such laundromat was located in your ideal location with ideal price setting, would you be able to shift to a lifestyle without a private washing machine?(Characteristic of the laundromat)
| ○ | ○ | ○ | |
3.6 (T4 and DP4) The event of lifestyle changes and their influence on laundromat use: In the event of each lifestyle change listed below, would you be able to shift to a lifestyle without a private washing machine? Select one or more from the list below
| ○ | ○ | ○ | |
| Product | Stage | Material/Resource | Value | Unit | Data source |
|---|---|---|---|---|---|
| Washing machine | Raw material extraction | Fe (Zn-plated) Fe Cu Al Polypropylene Polystyrene Polyvinylchloride Acrylonitrile butadiene styrene | 26.5 26.5 3 1 7.4 7.4 7.4 7.4 | % of washing machine weight | [26,29] Material manufacturing taken from IDEA [18] |
| Manufacturing | Electricity Heavy oil City gas Transportation | 8.87 0.46 0.27 | kWh/washing machine kg/washing machine m3/washing machine | [29] | |
| Detergent | Raw material extraction | “Manufacturing of synthetic laundry detergent” | 1.34 | kgCO2/kg-detergent | [27] |
| Detergent packaging | Raw material extraction | Polyethylene (Bottle) Polypropylene (Cap) Polyethylene (Pouch) | 9.73 × 10−2 3.99 × 10−2 2.09 × 10−2 | Kg/kg-detergent | Primary data taken from the detergent product of Lion corporation |
References
- Ellen MacArthur Foundation. Towards the Circular Economy; Ellen MacArthur Foundation: Cowes, UK, 2013; Volume 1, pp. 1–96. [Google Scholar]
- Tukker, A. Eight types of product-service system: Eight ways to sustainability? Experiences from suspronet. Bus. Strateg. Environ. 2004, 13, 246–260. [Google Scholar] [CrossRef]
- Tukker, A. Product services for a resource-efficient and circular economy—A review. J. Clean. Prod. 2015, 97, 76–91. [Google Scholar] [CrossRef]
- Frenken, K. Political economies and environmental futures for the sharing economy. Philos. Trans. R. Soc. A Math. Eng. Sci. 2017, 375. [Google Scholar] [CrossRef] [PubMed]
- Hofmann, E.; Hartl, B.; Penz, E. Power versus trust—What matters more in collaborative consumption? J. Serv. Mark. 2017, 31, 589–603. [Google Scholar] [CrossRef]
- Ellen MacArthur Foundation. Towards the Circular Economy Vol. 3: Accelerating the Scale-Up Across Global Supply Chains; Ellen MacArthur Foundation: Cowes, UK, 2014. [Google Scholar]
- Kajikawa, Y.; Tacoa, F.; Yamaguchi, K. Sustainability science: The changing landscape of sustainability research. Sustain. Sci. 2014, 9, 431–438. [Google Scholar] [CrossRef]
- Giulio, A.; DiFischer, D.; Schäfer, M.; Blättel-mink, B. Conceptualizing sustainable consumption: Toward an integrative framework. Sustain. Sci. Pract. Policy 2014, 10, 45–61. [Google Scholar] [CrossRef]
- Jackson, T. Sustainable Consumption. In Handbook of Sustainable Development; Edward Elgar Publishing: Cheltenham, UK, 2008. [Google Scholar]
- Poppelaars, F.; Bakker, C.; Van Engelen, J. Does Access Trump Ownership? Exploring Consumer Acceptance of Access-Based Consumption in the Case of Smartphones. Sustainability 2018, 10, 2133. [Google Scholar] [CrossRef]
- Matsuo, Y. Product Sharing and Its Consumer Acceptance—Issues for Sustainable Consumption through Product Sharing; IGES: Kansai Research Centre: Kobe, Japan, 2005; Volume 3. [Google Scholar]
- Hamari, J.; Sjoklint, M.; Ukkonen, A. The sharing economy: Why people participate in collaborative consumption. J. Assoc. Inf. Sci. Technol. 2016, 67, 2047–2059. [Google Scholar] [CrossRef]
- Hawlitschek, F.; Teubner, T.; Gimpel, H. Understanding the sharing economy—Drivers and impediments for participation in peer-to-peer rental. In Proceedings of the 2016 49th Hawaii International Conference on System Sciences (HICSS), Koloa, HI, USA, 5–8 January 2016; pp. 4782–4791. [Google Scholar]
- Kim, J.; Yoon, Y.; Zo, H. Why people participate in the sharing economy: A social exchange perspective. In Proceedings of the Pacific Asia Conference on Information Systems (PACIS 2015), Singapore, 5–9 July 2015; p. 76. [Google Scholar]
- Mohlmann, M. Collaborative consumption: Determinants of satisfaction and the likelihood of using a sharing economy option again. J. Consum. Behav. 2015, 14, 193–207. [Google Scholar] [CrossRef]
- Kruschwitz, A.; Karle, A.; Schmitz, A.; Stamminger, R. Consumer laundry practices in Germany. Int. J. Consum. Stud. 2014, 38, 265–277. [Google Scholar] [CrossRef]
- Laitala, K.; Klepp, I.G.; Boks, C. Changing laundry habits in Norway. Int. J. Consum. Stud. 2012, 36, 228–237. [Google Scholar] [CrossRef]
- Laitala, K.; Boks, C.; Klepp, I.G. Potential for environmental improvements in laundering. Int. J. Consum. Stud. 2011, 35, 254–264. [Google Scholar] [CrossRef]
- Stamminger, R. Modelling resource consumption for laundry and dish treatment in individual households for various consumer segments. Energy Effic. 2011, 4, 559–569. [Google Scholar] [CrossRef]
- Schrieberg, D. Uber for Your Laundry Could Be the Next sharing Economy Frontier. Forbes, 18 December 2016. Available online: https://www.forbes.com/sites/davidschrieberg1/2016/12/18/uber-for-your-laundry-could-be-the-next-sharing-economy-frontier/#1c39794e1f27 (accessed on 26 July 2018).
- Pakula, C.; Stamminger, R. Electricity and water consumption for laundry washing by washing machine worldwide. Energy Effic. 2010, 3, 365–382. [Google Scholar] [CrossRef]
- Ministry of Internal Affairs and Communications Japan. National Survey of Family Income and Expenditure; Ministry of Internal Affairs and Communications Japan: Tokyo, Japan, 2014.
- Ministry of Health Labour and Welfare. Report on Coin-Operated Laundry Facilities; Ministry of Health Labour and Welfare: Tokyo, Japan, 2014. (In Japanese)
- Blackwell, R.D.; Miniard, P.W.; Engel, J.F. Consumer Behavior, 9th ed.; Harcourt: Orlando, FL, USA, 2001. [Google Scholar]
- International Organisation for Standardization. ISO 14040: Environmental Management—Life Cycle Assessment—Principles and Framework. Environ. Manag. 2006, 3, 28. [Google Scholar]
- Chuo-kankyo-singikai. Recycling Standard (Regulation Percentage); Chuo-kankyo-singikai: Tokyo, Japan, 2013. (In Japanese) [Google Scholar]
- Japan Environmental Management Association for Industry. IDEA (Inventory Database for Environmental Analysis); Japan Environmental Management Association for Industry: Tokyo, Japan, 2010. [Google Scholar]
- IPCC. IPCC Fourth Assessment Report (AR4) WG2; IPCC: Geneva, Switzerland, 2007; Volume 1, p. 976. [Google Scholar]
- Yamaguchi, Y.; Seii, E.; Itagaki, M.; Nagayama, M. Evaluation of domestic washing in Japan using life cycle assessment (LCA). Int. J. Consum. Stud. 2011, 35, 243–253. [Google Scholar] [CrossRef]
- Panasonic Corporation. Capacity: What Is the Appropriate Washer Capacity for Your Household? How to Choose a Washer. 2018. Available online: https://panasonic.jp/wash/select/capacity.html (accessed on 30 March 2018). (In Japanese).
- Panasonic Corporation. Automatic Washer: NA-FA90H5. Washer/Dryer. 2018. Available online: https://panasonic.jp/wash/p-db/NA-FA90H5_spec.html (accessed on 30 March 2018).
- Kao Corporation. Attack Antibacterial EX Super Cleargel. Product Catalog. 2018. Available online: https://www.kao.com/jp/attack/atk_superclear_gel_00.html (accessed on 30 March 2018). (In Japanese).
- Kao Corporation. How to Measure the Volume of Detergent Based on the Capacity of Washer and Volume of Clothes to Wash. Product Q and A. 2017. Available online: https://www.kao.com/jp/qa_cate/clothcleanser_03_02.html (accessed on 30 March 2018). (In Japanese).
- Electrolux Japan Professional Division. Line 5000Series Coin Laundry Business Catalogue; Electrolux Japan Professional Division: Tokyo, Japan, 2017. [Google Scholar]
- Division of Laundry and Cleaner Panasonic Corporation. Manual of NA-FA90H5/NA-FA80HS; Division of Laundry and Cleaner Panasonic Corporation: Kusatsu, Japan, 2017. [Google Scholar]
- Japan Industrial Standard. Product Functionality Assessment Methodology for Home Electric Washers. JIS C 9811:1999. 1999. Available online: http://kikakurui.com/c9/C9811-1999-02.html (accessed on 30 March 2018). (In Japanese).
- Borg, L.; Hogberg, L. Organization of Laundry Facility Types and Energy Use in Owner-Occupied Multi-Family Buildings in Sweden. Sustainability 2014, 6, 3843–3860. [Google Scholar] [CrossRef]
- Suzuki, K. Why Is It Allowed to Run a Laundromat Unattended? Procedures to Effectively Earn Profit Through Laundromat Business. 2017. Available online: https://gentosha-go.com/articles/-/9646 (accessed on 29 October 2017). (In Japanese).
- Malhotra, N.K. Marketing Research: An Applied Orientation, 5th ed.; Pearson Education Inc.: Upper Saddle River, NJ, USA, 2007. [Google Scholar]
- Kobayashi, Y.; Ishikubo, R.; Katayama, M. Environmental life cycle assessment (LCA) of home launderings. Bull. Res. Inst. Domest. Sci. Tokyo Kasei Daigaku 2002, 25, 73–86. (In Japanese) [Google Scholar]







| Home Laundry (HL) | Partial Laundromat User (PL) | Exclusive Laundromat User (EL) | |
|---|---|---|---|
| n | 206 | 256 | 151 |
| Frequency of laundromat use | Less than once a month | More than once a month | Always |
| Reference Flows | Unit | Value | Assumptions | Value | Assumptions |
|---|---|---|---|---|---|
| Home laundry | Laundromat | ||||
| Frequency of laundry | Load/year | 365 | Based our survey, 53% of home washing machines wash more than 7 loads per week | 182.5 | Assumes half of the frequency of HL |
| Weight of clothes to wash | Kg/load | 4.5 | Clothes from daily use. Computed from the average daily laundry weight of 1.5 kg per capita [30] | 9.0 | The assumptions are consistent with the HL |
| Washing machine | Machine | 1 | Washing machine is a top-loader with a capacity of 9 kg 1 with a weight of 39 kg [31]. Lifetime of a washing machine assumes 3832.5 loads 2 | 1 | Washing machine is an industrial front-loader with a capacity of 9 kg with a weight of 127 kg. Lifetime of an industrial washing machine assumes 10,000 loads [6] |
| Detergent [32] | Kg/load | 0.049 | Liquid detergent | 0.082 | Liquid detergent |
| Water | L/load | 82.4 | Estimated from detergent manufacturer’s estimation [33] | 95 | Estimated from industrial washing machine catalogue [34] |
| Electricity | kWh/load | 0.044 | Estimated from detergent manufacturer’s estimation [33] | 0.25 | Estimated from industrial washing machine catalogue [34] |
| Home Laundry (HL) | Partial Laundromat User (PL) | Exclusive Laundromat User (EL) | |
|---|---|---|---|
| Total | 206 | 256 | 151 |
| Gender | |||
| Male | 70 | 143 | 105 |
| Female | 136 | 113 | 46 |
| Age | |||
| 20–29 | 12 | 16 | 10 |
| 30–39 | 55 | 94 | 30 |
| 40–49 | 67 | 85 | 55 |
| 50–59 | 48 | 41 | 47 |
| 60–69 | 24 | 20 | 9 |
| Employment | |||
| Employed, full-time | 72 | 127 | 66 |
| Self-employment | 9 | 22 | 15 |
| Contract worker | 8 | 8 | 9 |
| Employed, part-time | 41 | 36 | 22 |
| Homemaker | 61 | 41 | 17 |
| Unemployed | 10 | 16 | 12 |
| Students and others | 5 | 6 | 10 |
| Housing type | |||
| Detached house | 72 | 108 | 28 |
| Apartment/Condo | 122 | 133 | 111 |
| Others (Shared housing, dormitory) | 12 | 15 | 12 |
| Household structure | |||
| Single-person | 59 | 81 | 101 |
| Couple | 24 | 13 | 6 |
| With children | 109 | 141 | 34 |
| Three generations | 9 | 16 | 5 |
| Others | 5 | 5 | 5 |
| Frequency of laundry at home | |||
| More than 7 times per week | 109 | 107 | - |
| 4 to 6 times per week | 41 | 53 | - |
| 1 to 3 times per week | 50 | 70 | - |
| 1 to 3 times per month | 4 | 12 | |
| Less than once or none | 2 | 13 | - |
| Frequency of laundromat use | |||
| More than 7 times per week | - | 20 | 11 |
| 4 to 6 times per week | - | 15 | 6 |
| 1 to 3 times per week | - | 37 | 54 |
| 1 to 3 times per month | - | 48 | 28 |
| Less than once or none | - | 58 | 44 |
| Home Laundry (HL) | Partial Laundromat User (PL) | Exclusive Laundromat User (EL) | |
|---|---|---|---|
| 1 | Laundromat seems more expensive than washing at home (59%) | Laundromat seems more expensive than washing at home (58%) | Laundromat seems more expensive than washing at home (36%) |
| 2 | HL is sufficient (39%) | Lack of freedom to do laundry anytime (32%) | Lack of freedom to do laundry anytime (21%) |
| 3 | HL is a basic requirement in my lifestyle (39%) | HL is a basic requirement in my lifestyle (26%) | Laundromat seems dirty (19%) |
| 4 | Lack of freedom to do laundry anytime (36%) | Laundromat requires more effort (25%) | I don’t want to share the laundry space with others (17%) |
| 5 | I don’t want to share washing machines and/or dryers (33%) | Home laundry is sufficient (25%) | Laundromat requires more effort (15%) |
| Environmental Impact | Unit | Home | Laundromat | Behav. Shift Scenario |
|---|---|---|---|---|
| GHG emissions | kgCO2-eq/year-household | 65.6 | 62.8 | 64.4 |
| Resource use | kg steel/year-household | 1.97 | 1.23 | 1.66 |
© 2018 by the authors. Licensee MDPI, Basel, Switzerland. This article is an open access article distributed under the terms and conditions of the Creative Commons Attribution (CC BY) license (http://creativecommons.org/licenses/by/4.0/).
Share and Cite
Amasawa, E.; Suzuki, Y.; Moon, D.; Nakatani, J.; Sugiyama, H.; Hirao, M. Designing Interventions for Behavioral Shifts toward Product Sharing: The Case of Laundry Activities in Japan. Sustainability 2018, 10, 2687. https://doi.org/10.3390/su10082687
Amasawa E, Suzuki Y, Moon D, Nakatani J, Sugiyama H, Hirao M. Designing Interventions for Behavioral Shifts toward Product Sharing: The Case of Laundry Activities in Japan. Sustainability. 2018; 10(8):2687. https://doi.org/10.3390/su10082687
Chicago/Turabian StyleAmasawa, Eri, Yurie Suzuki, Dami Moon, Jun Nakatani, Hirokazu Sugiyama, and Masahiko Hirao. 2018. "Designing Interventions for Behavioral Shifts toward Product Sharing: The Case of Laundry Activities in Japan" Sustainability 10, no. 8: 2687. https://doi.org/10.3390/su10082687
APA StyleAmasawa, E., Suzuki, Y., Moon, D., Nakatani, J., Sugiyama, H., & Hirao, M. (2018). Designing Interventions for Behavioral Shifts toward Product Sharing: The Case of Laundry Activities in Japan. Sustainability, 10(8), 2687. https://doi.org/10.3390/su10082687

