The Design of Distance-Warning and Brake Pressure Control Systems Incorporating LiDAR Technology for Use in Autonomous Vehicles
Abstract
1. Introduction
2. Determining the Braking Distance of AV
2.1. Calculating Braking Distance
2.2. Calculating Braking Force
2.3. Calculating the Force of the Disc Brake
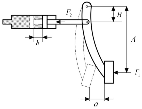
2.4. Calculating the Force Generated by the Brake Caliper
2.5. Calculating the Force Exerted by the Master Cylinder
3. Brake Forced Control System
Mathematical Model of DC Motor in Braking System
4. Experimental Setup
5. Experimental Results
6. Conclusions
Author Contributions
Funding
Data Availability Statement
Conflicts of Interest
References
- Liang, J.; Tian, Q.; Feng, J.; Pi, D.; Yin, G. A Polytopic Model-Based Robust Predictive Control Scheme for Path Tracking of Autonomous Vehicles. IEEE Trans. Intell. Veh. 2024, 9, 3928–3939. [Google Scholar] [CrossRef]
- Rao, S.; Quezada, A.; Rodriguez, S.; Chinolla, C.; Chung, C.J.; Siegel, J. Developing, Analyzing, and Evaluating Vehicular Lane Keeping Algorithms Using Electric Vehicles. Vehicles 2022, 4, 1012–1041. [Google Scholar] [CrossRef]
- Guo, J.; Wang, Y.; Yin, X.; Liu, P.; Hou, Z.; Zhao, D. Study on the Control Algorithm of Automatic Emergency Braking System (AEBS) for commercial Vehicle Based on Identification of Driving Condition. Machines 2022, 10, 859. [Google Scholar] [CrossRef]
- Barbosa, F.C. Automated People Mover Technology Review—A Mobility Tool for Large Capacity Airports and Connecting Transit System. In Proceedings of the Joint Rail Conference, New York, NY, USA, 20–21 April 2022. [Google Scholar]
- Thongboonpian, T.; Weerawat, W.; Tomii, N. The Simulation of APM Operation: A Case Study of Suvarnabhumi Airport. J. Adv. Inf. Technol. 2024, 15, 458–466. [Google Scholar] [CrossRef]
- Gunay, M.; Korkmaz, M.E.; Ozmen, R. An Investigation on Braking System Used in Railway Vehicles. Eng. Sci. Technol. Int. J. 2020, 23, 421–431. [Google Scholar] [CrossRef]
- Chengula, T.J.; Mwakalonge, J.; Comert, G.; Sikhi, S. Improving Road Safety with Ensemble Learning Detecting Driver Anomalies Using Vehicle Inbuilt Cameras. Mach. Learn. Appl. 2023, 14, 100510. [Google Scholar] [CrossRef]
- Eskandari Torbaghan, M.; Sasidharan, M.; Reardon, L.; Muchanga-Hvelplund, L.C.W. Understanding the potential of emerging digital technologies for improving road safety. Accid. Anal. Prev. 2022, 166, 106543. [Google Scholar] [CrossRef]
- Han, S.; Kim, H.W.; Leigh, J. Improvement of road safety management systems of local governments in Korea after evaluating related indicators. Accid. Anal. Prev. 2023, 193, 107325. [Google Scholar] [CrossRef]
- Roriz, R.; Cabral, J.; Gomes, T. Automotive LiDAR Technology: A Survey. IEEE Trans. Intell. Transp. Syst. 2022, 23, 6282–6297. [Google Scholar] [CrossRef]
- Yeong, D.J.; Velasco-Hernandez, G.; Barry, J.; Walsh, J. Sensor and Sensor Fusion Technology in Autonomous Vehicles: A Review. Sensors 2021, 21, 2140. [Google Scholar] [CrossRef]
- Dai, Z.; Wolf, A.; Ley, P.-P.; Glück, T.; Sundermeier, M.C.; Lachmayer, R. Requirements for Automotive LiDAR Systems. Sensors 2022, 22, 7532. [Google Scholar] [CrossRef] [PubMed]
- Sorrentino, G.; Danese, L.; Circosta, S.; Khan, I.; Luciani, S.; Bonfitto, A.; Amati, N.; Torino, P.D. Remote Emergency Braking System for Autonomous Racing Electric Vehicles. In Proceedings of the International Conference on Advanced Vehicle Technologies (AVT), New York, NY, USA, 19 August 2021. [Google Scholar]
- Lucan, M.; Duchon, F.; Bata, M.; Mikle, D.; Andocs, K. Design of Emergency Brake System for Autonomous Electric Racing Vehicle. In Proceedings of the International Conference on Mechatronics—Mechatronika (ME), Pilsen, Czech Republic, 9 December 2022. [Google Scholar]
- American Society of Civil Engineers. In Automated People Mover Standards; American Society of Civil Engineers: Reston, VA, USA, 2021; pp. 33–34.
- Hua, X.; Zeng, J.; Li, H.; Huang, J.; Luo, M.; Feng, X.; Xiong, H.; Wu, W. A Review of Automobile Brake-by-Wire Control Technology. Processes 2023, 11, 994. [Google Scholar] [CrossRef]
- Wang, Z.; Zhou, X.; Yang, C.; Chen, Z.; Wu, X. An Experimental Study on Hysteresis Characteristics of a Pneumatic Braking System for a Multi-Axle Heavy Vehicle in Emergency Braking Situations. Appl. Sci. 2017, 7, 799. [Google Scholar] [CrossRef]
- He, Z.R.; Jing, Z. Study on braking stability of commercial vehicles: An optimized air brake system. Adv. Mech. Eng. 2019, 11, 11687814019848593. [Google Scholar] [CrossRef]
- Meng, B.; Zhou, Z.; Zhang, C.; Yang, F. A Design Method for Booster Motor of Brake-by-Wire System Based on Intelligent Electric Vehicle. Green Energy Intell. Transp. 2023, 2, 100110. [Google Scholar] [CrossRef]
- Nugraha, A.A.; Sumarsono, D.A.; Adhitya, M.; Prasetya, S. Develop of Brake Booster Design for Electric City Cars. Int. J. Technol. 2021, 12, 802–812. [Google Scholar] [CrossRef]
- Wu, J.; Zhang, H.; He, R.; Chen, P.; Chen, H. A Mechatronic Brake Booster for Electric Vehicles: Design, Control, and Experiment. IEEE Trans. Veh. Technol. 2020, 69, 7040–7053. [Google Scholar] [CrossRef]
- Aly, A.A.; Zeidan, E.B.; Hamed, A.M.; Salem, F.A. An Antilock-Braking Systems (ABS) Control: A Technical Review. Intell. Control Autom. 2011, 2, 186–195. [Google Scholar] [CrossRef]
- Gaurkar, P.V.; Ramakrushnan, K.; Challa, A.; Subramanian, S.C.; Vivekanandan, G.; Sivaram, S. An Anti-Lock Braking System Algorithm Using Real-Time Wheel Reference Slip Estimation and Control. In Proceedings of the Institution of Mechanical Engineers, Part D: Journal of Automobile Engineering, London, UK, 8 June 2021. [Google Scholar]
- Zhang, X. Design and implementation of fuzzy PID DC motor control system based on STM32. In Proceedings of the IEEE International Conference on Control, Electronics and Computer Technology (ICCECT), Jilin, China, 30 April 2023. [Google Scholar]
- Koca, Y.B.; Aslan, Y.; Gokce, B. Speed Control Based PID Configuration of a DC Motor for An Unmanned Agricultural Vehicle. In Proceedings of the International Conference on Electrical and Electronics Engineering (ICEEE), Antalya, Turkey, 11 April 2021. [Google Scholar]
- Saengsri, S.; Prawanta, S.; Odngam, S.; Srisertpol, J. PI-servo with state-D feedback and observer for magnetic stirrer machine. In Proceedings of the International Conference on Circuits, Devices and Systems (ICCDS), Chengdu, China, 8 September 2017. [Google Scholar]
- Shravan, K. DC Motor Position Control Using Fuzzy Proportional-Derivative Controllers With Different Defuzzification Methods. IOSR J. Electr. Electron. Eng. 2015, 10, 37–47. [Google Scholar]
- Li, C.; Zhuo, G.; Tang, C.; Xiong, L.; Tian, W.; Qiao, L.; Cheng, Y.; Duan, Y. A Review of Electro-Mechanical Brake (EMB) System: Structure, Control and Application. Sustainability 2023, 15, 4514. [Google Scholar] [CrossRef]
- Wu, J.; Chen, P.; Zhao, J.; He, R. Active Braking of an Electronic Brake Booster Facing Intelligent Automobile. Int. J. Perform. Eng. 2018, 14, 1735–1744. [Google Scholar] [CrossRef]
- Pirhonen, J.; Ojala, R.; Kivekäs, K.; Vepsäläinen, J.; Tammi, K. Brake Light Detection Algorithm for Predictive Braking. Appl. Sci. 2022, 12, 2804. [Google Scholar] [CrossRef]
- Cantera-Cantera, L.A.; Vargas-Jarillo, C.; Palomino-Reséndiz, S.I.; Lozano-Hernández, Y.; Montelongo-Vázquez, C.M. A Polynomial Fitting Problem: The Orthogonal Distances Method. Mathematics 2022, 10, 4596. [Google Scholar] [CrossRef]














| Variable | Value |
|---|---|
| Vehicle weight (W) | 600 kg |
| Rolling resistance (µ) | 0.81 |
| Gravity (g) | 9.81 m/s2 |
| Wheel radius (R) | 0.4125 m |
| Wheelbase (b) | 1.82 m |
| C.G. height (h) | 0.71 m |
| Distance from the rear wheel to C.G. (l) | 0.91 m |
| Gradient (θ) | 0 deg |
| Parameter | Value | Unit |
|---|---|---|
| JA | 0.010178 | Kg-m2 |
| K (Km, KB) | 0.40877 | - |
| LA | 0.0039446 | H |
| b | 0.30469 | N-m-s |
| Parameter | Value |
|---|---|
| KP | 27.9606 |
| KD | 32.0490 |
| Pressure (psi) | Braking Distance (m) |
|---|---|
| 50 | 20.17 |
| 100 | 12.84 |
| 150 | 11.00 |
| 200 | 7.35 |
| Distance at Which the Object Suddenly Cuts in Front (m) | Time (s) |
|---|---|
| 5 | 1.82 |
| 10 | 2.61 |
| 15 | 5.62 |
| 20 | 6.50 |
| Distance at Which the Object Suddenly Cuts in Front (m) | Time (s) |
|---|---|
| 5 | 1.27 |
| 10 | 2.35 |
| 15 | 2.44 |
| 20 | 4.31 |
Disclaimer/Publisher’s Note: The statements, opinions and data contained in all publications are solely those of the individual author(s) and contributor(s) and not of MDPI and/or the editor(s). MDPI and/or the editor(s) disclaim responsibility for any injury to people or property resulting from any ideas, methods, instructions or products referred to in the content. |
© 2024 by the authors. Published by MDPI on behalf of the World Electric Vehicle Association. Licensee MDPI, Basel, Switzerland. This article is an open access article distributed under the terms and conditions of the Creative Commons Attribution (CC BY) license (https://creativecommons.org/licenses/by/4.0/).
Share and Cite
Odngam, S.; Intacharoen, P.; Tanman, N.; Sumpavakup, C. The Design of Distance-Warning and Brake Pressure Control Systems Incorporating LiDAR Technology for Use in Autonomous Vehicles. World Electr. Veh. J. 2024, 15, 576. https://doi.org/10.3390/wevj15120576
Odngam S, Intacharoen P, Tanman N, Sumpavakup C. The Design of Distance-Warning and Brake Pressure Control Systems Incorporating LiDAR Technology for Use in Autonomous Vehicles. World Electric Vehicle Journal. 2024; 15(12):576. https://doi.org/10.3390/wevj15120576
Chicago/Turabian StyleOdngam, Soontorn, Patiparn Intacharoen, Natee Tanman, and Chaiyut Sumpavakup. 2024. "The Design of Distance-Warning and Brake Pressure Control Systems Incorporating LiDAR Technology for Use in Autonomous Vehicles" World Electric Vehicle Journal 15, no. 12: 576. https://doi.org/10.3390/wevj15120576
APA StyleOdngam, S., Intacharoen, P., Tanman, N., & Sumpavakup, C. (2024). The Design of Distance-Warning and Brake Pressure Control Systems Incorporating LiDAR Technology for Use in Autonomous Vehicles. World Electric Vehicle Journal, 15(12), 576. https://doi.org/10.3390/wevj15120576

