Application of Search Algorithms in Determining Fault Location on Overhead Power Lines According to the Emergency Mode Parameters
Abstract
1. Introduction
- Availability of cable inserts with transition points;
- The use of different types of OHPL towers in certain areas [24];
- Convergence with other high-voltage power lines in joint corridors;
- The presence or absence of a ground wire in certain sections of OHPL;
- Different span lengths of overhead transmission lines [27];
- Use of different wires types and cross-sections in high-voltage power lines;
- Other factors.
2. Materials and Methods
- Minimum (equality of zero) reactive power at the place of fault [47];
- Minimum (equality of zero) reactive resistance in the place of fault [48];
- Compliance of the current distribution coefficient with registered currents at the ends of the power transmission line [49];
- Compliance of the voltage at the place of fault with the values calculated from different sides of the OHPL for registered currents and voltages [50];
- Criteria based on the theory of remote measurement (resistance measurement) [18];
- Criteria based on the use of instant values of currents and voltages [50];
- Other criteria used for various OHPL configurations [19].
- Implementation of simulation of the analyzed OHPL;
- Moving the fault point when simulating along the OHPL and fixing on each iteration currents and voltages at the ends of the OHPL;
- Comparison of the parameters of currents and voltages obtained by simulation with oscillograms of the emergency mode, recorded on the ends of the OHPL at the fault time;
- Calculation of deviations of simulated currents and voltages from the result of processing oscillograms of the emergency mode;
- Finding the fault location on the OHPL by minimizing deviations of current parameters and voltages using optimization algorithms.
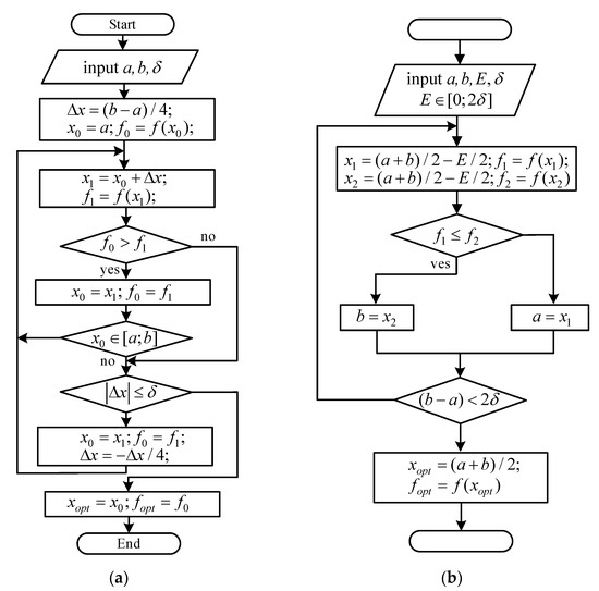
- Methods of one-dimensional optimization are significantly easier from the point of technical implementation and require a smaller number of computing operations and a smaller amount of time to calculate the extremum of the target function, etc. Therefore, their use in FL devices will not lead to complications and a rise in the cost of hardware and software [66,67].
- The vast majority of the FL algorithms on OHPLs suggest uniform distribution of resistance along the OHPL. However, in practice, OHPLs always have heterogeneous areas. Therefore, algorithms of multi-parametric optimization are significantly complicated, and their use in the FL devices for heterogeneous OHPL becomes difficult, and sometimes impossible [68,69,70].
3. Results
3.1. Influence of the Heterogeneity at Overhead Transmission Line on the Accuracy of the Fault Location
3.2. Analysis of the Application of Iterative Procedures in Case of Fault Location on OHPLs
- To perform the FL procedure, the following characteristics must be entered into the FL device: the total length of the power line—L; the value of δ, which determines the calculation error (reducing the error leads to an increase in the number of iterations); full longitudinal resistances of the positive and zero sequences of OHPLs (Z1L и Z0L); and the resistance from the side of System A (place of installation of the FL device). These resistances are calculated from the emergency-mode parameters according to Equation (14):
- 2.
- The resistance from System B (the opposite end of the OHPL in relation to the place of installation of the FL device)—Z″1S, in contrast to the resistance from System A–Z′1S (the beginning of the OHPL)—cannot be calculated from the parameters of the emergency mode. This is true since the single-ended FL method by EMP does not use communication channels to transmit information from the opposite end of the OHPL. Therefore, this resistance must be set in advance or changed depending on the currents and voltages at the beginning of the OHPL, based on the accumulated empirical data. In this case, an error arises, since at the moment of a SC, the resistance from System B differs from the resistance in the pre-emergency mode due to the operation of automatic excitation regulators of synchronous generators at power plants, as well as changes in the network configuration.
- 3.
- At the time of fault on the OHPL, based on the entered settings, the distance to the fault place n(i) is determined as a first approximation using the assumption that the current distribution coefficient C′1(i) is a real number (for i = 0).
- 4.
- An iterative process is launched, and in its course, the current distribution coefficient C′1(i + 1) is specified, as well as the distance to the fault place n(i + 1), where i is the iteration number.
- 5.
- At the end of each iteration, the following condition is checked:
4. Discussion
- ±15% of the OHPL length with its length up to 50 km inclusive;
- ±10% for OHPLs with a length of more than 50 km up to 100 km inclusive;
- ±7% for OHPLs with a length from 100 to 300 km inclusive; and
- ±5% for OHPLs with a length from 300 km or more.
f0 = f(х0) = ∆U = ǀ[2.0∙10.2∙1.278 + 40] − [0.56∙1.278·(40 − 10.2 + 40·0.85 + 40·0.7) + 28]ǀ = 27.63 kV;
х1 = х0 + (b − a)/4 = 10.2 + (34.964 − 10.2)/4 = 16.391 km;
f1 = f(х1) = ∆U = ǀ[2.0∙16.391∙1.278 + 40] − [0.56∙1.278·(40 − 16.391 + 40·0.85 + 40·0.7) + 28]ǀ = 7.37 kV.
f1 = f(х1) = ∆U = ǀ[2.0∙22.582∙1.278 + 40] − [0.56∙1.278·(40 − 22.582 + 40·0.85 + 40·0.7) + 28]ǀ = 12.88 kV;
∆х = −∆х/4 = −1.55.
f1 = f(х1) = ∆U= ǀ[2.0∙14.841∙1.278 + 40] − [0.56∙1.278·(40 − 14.841 +
+ 40·0.85 + 40·0.7) + 28]ǀ = 12.44 (kV);
∆х = −∆х/4 = 1.55/4 = 0.39.
= ǀ40 − 0.85∙0.56∙120∙1.278 + 28ǀ = 61.0 kV;
х1 = х0 + (b − a)/4 = 30 km (n = 0.25); f1 = f(х1) = ∆U = ǀ[2.0∙0.25∙120∙1.278 +40]
− [0.56∙0.6∙120∙1.278 + 28]ǀ = 37.15 kV;
∆х = 120/4 = 30 km.
5. Conclusions
Author Contributions
Funding
Institutional Review Board Statement
Informed Consent Statement
Data Availability Statement
Conflicts of Interest
References
- Montoya, F.G.; Baños, R.; Alcayde, A.; Manzano-Agugliaro, F. Optimization Methods Applied to Power Systems. Energies 2019, 12, 2302. [Google Scholar] [CrossRef]
- Lu, Z.; Xu, X.; Yan, Z.; Wu, J.; Sang, D.; Wang, S. Overview on Data-Driven Optimal Scheduling Methods of Power System in Uncertain Environment. Autom. Electr. Power Syst. 2020, 44, 172–183. [Google Scholar]
- Al-Shahri, O.A.; Ismail, F.B.; Hannan, M.A.; Lipu, M.S.H.; Al-Shetwi, A.Q.; Begum, R.A.; Al-Muhsen, N.F.O.; Soujeri, E. Solar Photovoltaic Energy Optimization Methods, Challenges and Issues: A Comprehensive Review. J. Clean. Prod. 2021, 284, 125465. [Google Scholar] [CrossRef]
- Huang, Х.; Dong, Z.; Zhang, F.; Zhang, L. Model-free adaptive integral sliding mode constrained control withmodified prescribed performance. IET Control Theory Appl. 2023, 1–17. [Google Scholar] [CrossRef]
- Zabudsky, G.G.; Veremchuk, N.S. About One-Dimensional Space Allocation Problem with forbidden zones. Mech. Sci. Technol. Update 2019, 1260, 082006. [Google Scholar] [CrossRef]
- Stringfield, T.W.; Marihart, D.J.; Stevens, R.F. Fault location methods for overhead lines. IEEE Trans. Power Appar. Syst. 1957, 76, 518–530. [Google Scholar] [CrossRef]
- Born, E.; Jaeger, J. Device locates point of fault on transmission lines. Electr. World 1967, 168, 133–134. [Google Scholar]
- Senderovich, G.A.; Gryb, O.G.; Karpaliuk, I.T.; Shvets, S.V.; Zaporozhets, A.O.; Samoilenko, I.A. Automation of determining the location of damage of overhead power lines. Stud. Syst. Decis. Control. 2021, 359, 35–53. [Google Scholar]
- Farkhadzeh, E.M.; Muradaliev, A.Z.; Abdullaeva, S.A.; Nazarov, A.A. Quantitative Assessment of The Operational Reliability of Overhead Power Transmission Lines. Power Technol. Eng. 2022, 55, 790–796. [Google Scholar] [CrossRef]
- Zainuddin, N.M.; Rahman, M.S.A.; Kadir, M.Z.A.A.; Ali, N.H.N.; Ali, Z.; Osman, M.; Mansor, M.; Ariffin, A.M.; Nor, S.F.M.; Nasir, N.A.F.M. Review of Thermal Stress and Condition Monitoring Technologies for Overhead Transmission Lines: Issues and Challenges. IEEE Access 2020, 8, 120053–120081. [Google Scholar] [CrossRef]
- Beryozkina, S. Evaluation Study of Potential Use of Advanced Conductors in Transmission Line Projects. Energies 2019, 12, 822. [Google Scholar] [CrossRef]
- Khalyasmaa, A.I.; Dmitriev, S.A.; Romanov, A.M. Robotic Intelligence Laboratory for Overhead Transmission Lines Assessment. In Proceedings of the 2016 57th International Scientific Conference on Power and Electrical Engineering of Riga Technical University (RTUCON 2016), Riga, Latvia, 13–14 October 2016; p. 7763123. [Google Scholar]
- Palangar, M.F.; Mohseni, S.; Siada, A.; Mirzaie, М. Online Condition Monitoring of Overhead Insulators Using Pattern Recognition Algorithm. IEEE Trans. Instrum. Meas. 2022, 71, 6007111. [Google Scholar] [CrossRef]
- Palangar, M.F.; Amin, U.; Bakhshayesh, H.; Ahmad, G.; Siada, A.; Mirzaie, М. Identification of Composite Insulator Criticality Based on a New Leakage Current Diagnostic Index. IEEE Trans. Instrum. Meas. 2021, 70, 9004110. [Google Scholar] [CrossRef]
- Roman, R.-C.; Precup, R.-E.; Petriu, E.M.; Muntyan, M. Fictitious Reference Iterative Tuning of Discrete-Time Model-Free Control for Tower Crane Systems. Stud. Inform. Control. 2023, 32, 1. [Google Scholar] [CrossRef]
- Maly, A.S.; Shalyt, G.M.; Eisenfeld, A.I. Determination of the Places of Damage to Power Transmission Lines According to the Parameters of the Emergency Mode; Energiya: Moscow, Russia, 1972; 215p. (In Russian) [Google Scholar]
- Schweitzer, E.O. A review of impedance-based fault locating experience. In Proceedings of the 14th Annual Iowa–Nebraska System Protection Seminar, Omaha, NE, USA, 16 October 1990; pp. 1–31. [Google Scholar]
- Arzhannikov, E.A.; Lukoyanov, V.Y.; Misrikhanov, M.S. Determining the Location of a Short Circuit on High−Voltage Power Transmission Lines; Shuin, V.A., Ed.; Energoatomizdat: Moscow, Russia, 2003; 272p. (In Russian) [Google Scholar]
- Saha, M.M.; Izykowski, J.; Rosolowski, E. Fault Location on Power Networks; Springer: London, UK, 2010; 437p. [Google Scholar]
- Senderovich, G.A.; Gryb, O.G.; Karpaliuk, I.T.; Shvets, S.V.; Zaporozhets, A.O.; Samoilenko, I.A. Experimental studies of the method for determining location of damage of overhead power lines in the operation mode. Stud. Syst. Decis. Control. 2021, 359, 55–77. [Google Scholar]
- Voropai, N. Electric Power System Transformations: A Review of Main Prospects and Challenges. Energies 2020, 13, 21. [Google Scholar] [CrossRef]
- Ilyushin, P.V.; Pazderin, A.V. Approaches to organization of emergency control at isolated operation of energy areas with distributed generation. In Proceedings of the International Ural Conference on Green Energy (URALCON 2018), Chelyabinsk, Russia, 4–6 October 2018. [Google Scholar] [CrossRef]
- Voropai, N.I.; Golub, I.I.; Efimov, D.N.; Iskakov, A.B.; Yadykin, I.B. Spectral and Modal Methods for Studying Stability and Control of Electric Power Systems. Autom. Remote Control. 2020, 81, 1751–1774. [Google Scholar] [CrossRef]
- Voitovich, P.A.; Lavrov, Y.A.; Petrova, N.F. Innovative technical solutions for the construction of ultra-compact high-voltage overhead power transmission lines. New Russ. Electr. Power Ind. 2018, 8, 44–57. (In Russian) [Google Scholar]
- Kosyakov, A.A.; Kuleshov, P.V.; Pogudin, A.L. The influence of the grounding device structure of a substation on the voltage of conducted interference of lightning currents. Russ. Electr. Eng. 2019, 90, 752–755. [Google Scholar] [CrossRef]
- Sharipov, U.B.; Égamnazarov, G.A. Calculating currents in lightning protection cables and in optical cables built into them during asymmetric short circuits in overhead transmission lines. Power Technol. Eng. 2017, 50, 673–678. [Google Scholar] [CrossRef]
- Shevchenko, N.Y.; Ugarov, G.G.; Kirillova, S.N.; Lebedeva, Y.V. Review and analysis of the design features of overhead power line wires with increased resistance to icy-wind loads. Quest. Electr. Technol. 2018, 4, 53–63. (In Russian) [Google Scholar]
- Lebedev, V.; Filatova, G.; Timofeev, A. Increase of accuracy of the fault location methods for overhead electrical power lines. Adv. Mater. Sci. Eng. 2018, 2018, 3098107. [Google Scholar] [CrossRef]
- Shalyt, G.M.; Eisenfeld, A.I.; Maly, A.S. Determination of Places of Damage to Power Transmission Lines According to the Parameters of the Emergency Mode; Energoatomizdat: Moscow, Russia, 1983; 208p. (In Russian) [Google Scholar]
- Kulikov, A.L. Digital Remote Detection of Power Line Damage; Misrikhanov, M.S., Ed.; Publishing House of the Volga-Vyatka Academy of State Services: Nizhniy Novgorod, Russia, 2006; 315p. (In Russian) [Google Scholar]
- Krzysztof, G.; Kowalik, R.; Rasolomampionona, D.D.; Anwar, S. Traveling wave fault location in power transmission systems: An overview. J. Electr. Syst. 2011, 7, 287–296. [Google Scholar]
- Minullin, R.G. Detecting the faults of overhead electric-power lines by the location-probing method. Russ. Electr. Eng. 2017, 88, 61–70. [Google Scholar] [CrossRef]
- Kulikov, A.L. Remote Determination of Power Line Damage Sites by Active Sensing Methods; Energoatomizdat: Moscow, Russia, 2006; 148p. (In Russian) [Google Scholar]
- Ilyushin, P.V.; Shepovalova, O.V.; Filippov, S.P.; Nekrasov, A.A. Calculating the sequence of stationary modes in power distribution networks of Russia for wide-scale integration of renewable energy-based installations. Energy Rep. 2021, 7, 308–327. [Google Scholar] [CrossRef]
- Lebedev, V.D.; Yablokov, A.A.; Filatova, G.A.; Lebedeva, N.V.; Petrov, A.E. Development and research of fault location algorithm for double-end feed lines in the multifunctional system. In Proceedings of the 2019 2nd International Youth Scientific and Technical Conference on Relay Protection and Automation (RPA 2019), Moscow, Russia, 24–25 October 2019; p. 8958174. [Google Scholar]
- Kulikov, A.; Ilyushin, P.; Suslov, K.; Filippov, S. Estimating the Error of Fault Location on Overhead Power Lines by Emergency State Parameters Using an Analytical Technique. Energies 2023, 16, 1552. [Google Scholar] [CrossRef]
- Izykowski, J. Fault Location on Power Transmission Line; Springer: London, UK, 2008; 221p. [Google Scholar]
- Obalin, M.D.; Kulikov, A.L. Application of adaptive procedures in algorithms for determining the location of damage to power lines. Ind. Power Eng. 2013, 12, 35–39. (In Russian) [Google Scholar]
- Kulikov, A.L.; Obalin, M.D. The development of software to support decision-making in the elimination of damage on power transmission lines. News High. Educ. Inst. Electromech. 2015, 2, 70–75. (In Russian) [Google Scholar]
- Filippov, S.P.; Dilman, M.D.; Ilyushin, P.V. Distributed Generation of Electricity and Sustainable Regional Growth. Therm. Eng. 2019, 66, 869–880. [Google Scholar] [CrossRef]
- Ilyushin, P.V.; Pazderin, A.V.; Seit, R.I. Photovoltaic power plants participation in frequency and voltage regulation. In Proceedings of the 17th International Ural Conf. on AC Electric Drives (ACED 2018), Ekaterinburg, Russia, 26–30 March 2018. [Google Scholar] [CrossRef]
- Suslov, K.; Shushpanov, I.; Buryanina, N.; Ilyushin, P. Flexible power distribution networks: New opportunities and applications. In Proceedings of the 9th International Conference on Smart Cities and Green ICT Systems (SMARTGREENS), Prague, Czech Republic, 2–4 May 2020; pp. 57–64. [Google Scholar] [CrossRef]
- Rylov, A.; Ilyushin, P.; Kulikov, A.; Suslov, K. Testing Photovoltaic Power Plants for Participation in General Primary Frequency Control under Various Topology and Operating Conditions. Energies 2021, 14, 5179. [Google Scholar] [CrossRef]
- Brimberg, J.; Hansen, P.; Mladenovic, N.; Salhi, S. A Survey of Solution Methods for the Continuous Location-Allocation Problem. Int. J. Oper. Res. 2008, 5, 1–12. [Google Scholar]
- Pardalos, P.M.; Khachay, M.; Kochetov, Y. Special Issue: 18th International conference on mathematical optimization theory and operations research (MOTOR 2019). J. Glob. Optim. 2022, 83, 403–404. [Google Scholar] [CrossRef]
- Hansen, P.; Mladenovic, N. Variable Neighborhood Search Methods. Les. Cah. GERAD 2007, 24, 1097–1100. [Google Scholar] [CrossRef]
- Lyamets, Y.Y.; Antonov, V.I.; Efremov, V.A. Diagnostics of power transmission lines. In Electrotechnical Microprocessor Devices and Systems: Interuniversity Collection of Scientific Papers; Publishing House of the Chuvash State University: Cheboksary, Russia, 1992. (In Russian) [Google Scholar]
- Takagi, T.; Yamakoshi, Y.; Yamaura, Y.; Kondow, R.; Matsushima, T. Development of a new type fault locator using the one-terminal voltage and current data. IEEE Trans. Power App. Syst. 1982, 8, 2892–2898. [Google Scholar] [CrossRef]
- Ustinov, A.A.; Visyashchev, A.N. Iterative methods for determining the location of damage by the parameters of the emergency mode during one-way measurements on overhead power lines. Bull. IrSTU 2010, 5, 260–266. (In Russian) [Google Scholar]
- Kulikov, A.L.; Lukicheva, I.A. Determination of the place of damage to the power transmission line by the instantaneous values of the oscillograms of emergency events. Bull. Ivanovo State Power Eng. Univ. 2016, 5, 16–21. (In Russian) [Google Scholar]
- Bahmanyar, A.; Jamali, S.; Estebsari, A.; Bompard, E. A comparison framework for distribution system outage and fault location methods. Electr. Power Syst. Res. 2017, 145, 19–34. [Google Scholar] [CrossRef]
- Yu, C.S.; Liu, C.W.; Jiang, J.A. A new fault location algorithm for series compensated lines using synchronized phasor measurements. In Proceedings of the 2000 Power Engineering Society Summer Meeting, Seattle, WA, USA, 16–20 July 2000. [Google Scholar] [CrossRef]
- Aboshady, F.M.; Thomas, D.W.P. A Wideband Single End Fault Location Scheme for Active Untransposed Distribution Systems. IEEE Trans. Smart Grid 2020, 11, 2115–2124. [Google Scholar] [CrossRef]
- Simeon, O.; Faithpraise, F.O.; Ibanga, J. Iterative Newton-Raphson-Based Impedance Method for Fault Distance Detection on Transmission Line. Int. Multiling. J. Sci. Technol. 2020, 5, 2805–2810. [Google Scholar] [CrossRef]
- Thongkrajay, U.; Poolsawat, N.; Ratniyomchai, T.; Kulworawanichpong, T. Alternative Newton-Raphson power flow calculation in unbalanced three-phase power distribution systems. In Proceedings of the 5th WSEAS International Conference on Applications of Electrical Engineering, Prague, Czech Republic, 12–14 March 2006; pp. 24–29. [Google Scholar]
- Nagendra Reddy, P.L.V.; Mukunda, V.K.S.; Sushyanth, C.; Vanitha, V. Implementation of Novosel Simple Impedance Algorithm for fault location. IJCTA 2016, 9, 7589–7596. [Google Scholar]
- Liao, Y. Transmission Line Fault Location Algorithms without Requiring Line Parameters. Electr. Power Compon. Syst. 2008, 36, 1218–1225. [Google Scholar] [CrossRef]
- Panahi, H.; Zamani, R.; Sanaye-Pasand, M.; Mehrjerdi, H. Advances in Transmission Network Fault Location in Modern Power Systems: Review, Outlook and Future Works. IEEE Access 2021, 9, 158599–158615. [Google Scholar] [CrossRef]
- Azizi, S.; Sanaye-Pasand, M. A Straightforward Method for Wide-Area Fault Location on Transmission Networks. IEEE Trans. Power Deliv. 2015, 30, 264–272. [Google Scholar] [CrossRef]
- Bahmanyar, A.; Borhani-Bahabadi, H.; Jamali, S. Fault Location in Active Distribution Networks Using Improved Whale Optimization Algorithm. Iran. J. Electr. Electron. Eng. 2020, 16, 302–312. [Google Scholar]
- Kezunovic, M.; Knezev, M. Selection of optimal fault location algorithm. In Proceedings of the Conference: Power and Energy Society General Meeting—Conversion and Delivery of Electrical Energy in the 21st Century, Pittsburgh, PA, USA, 20–24 July 2008. [Google Scholar] [CrossRef]
- Yang, H.; Liu, X.; Guo, Y.; Zhang, P. Fault Location of Active Distribution Networks Based on the Golden Section Method. Math. Probl. Eng. 2020, 2020, 6937319. [Google Scholar] [CrossRef]
- Dalcastagne, A.L.; Filho, S.N.; Zurn, H.H.; Seara, R. An Iterative Two-Terminal Fault-Location Method Based on Unsynchronized Phasors. IEEE Trans. Power Deliv. 2008, 23, 2318–2329. [Google Scholar] [CrossRef]
- Izykowski, J. Location of complex faults on overhead power line. Prz. Elektrotechniczny 2016, 1, 81–84. [Google Scholar] [CrossRef]
- Dong, A.H.; Geng, X.L.; Yang, Y.; Su, Y.; Li, M.Y. Overhead Power Line Fault Positioning System. Appl. Mech. Mater. 2013, 329, 299–303. [Google Scholar] [CrossRef]
- Visyashchev, A.N. Devices and Methods for Determining the Location of Damage on Power Transmission Lines: A Textbook; At 2 h. h. 1; Publishing House of IrSTU: Irkutsk, Russia, 2001; 188p. (In Russian) [Google Scholar]
- Belyakov, Y.S. Actual issues of determining the places of damage to overhead power lines. Electr. Eng. Libr. 2010, 11, 80. (In Russian) [Google Scholar]
- Suslov, K.; Solonina, N.; Solonina, Z.; Akhmetshin, A. Development of the method of determining the location of a short circuit in transmission lines. J. Phys. Conf. Ser. 2021, 2061, 012033. [Google Scholar] [CrossRef]
- Eroshenko, S.A.; Ilyushin, P.V. Features of implementing multi-parameter islanding protection in power districts with distributed generation units. In Proceedings of the 2018 IEEE 59th International Scientific Conference on Power and Electrical Engineering of Riga Technical University (RTUCON 2018), Riga, Latvia, 12–14 November 2018. [Google Scholar] [CrossRef]
- Minullin, R.G.; Akhmetova, I.G.; Kasimov, V.A.; Piunov, A.A. Location monitoring with determination of damage location and current operability of overhead power transmission lines. Electr. Station. 2022, 11, 30–38. (In Russian) [Google Scholar]
- STO 56947007-29.240.55.224-2016; Standard of the Organization of PJSC FGC UES. Guidelines for Determining the Places of Damage to Overhead Lines with a Voltage of 110 kV and Higher. Publishing House PJSC FGC UES: Moscow, Russia, 2016.
- Ahmedova, O.; Soshinov, A.; Shevchenko, N. Analysis of influence of external atmospheric factors on the accuracy of fault location on overhead power lines. In Proceedings of the High-Speed Turbomachines and Electrical Drives Conference 2020 (HSTED-2020), Prague, Czech Republic, 14–15 May 2020. [Google Scholar]
- Margitova, A.; Kolcun, M.; Kanalik, M. Impact of the Ground on the Series Impedance of Overhead Power Lines. Trans. Electr. Eng. 2018, 7, 47–54. [Google Scholar] [CrossRef]
- STO 56947007–29.240.55.159–2013; Standard of the Organization of PJSC FGC UES. Standard Instructions for the Organization of Work to Determine the Places of Damage to Overhead Power Lines with a Voltage of 110 kV and Above. Publishing House PJSC FGC UES: Moscow, Russia, 2013.








| Step | х0, km | f0 = f(х0), kV | х1, km | f1 = f(х1), kV | f0 > f1 | ∆x, km |
|---|---|---|---|---|---|---|
| 1. | 10.2 | 27.63 | 16.391 | 7.37 | yes | 6.191 |
| 2. | 16.391 | 7.37 | 22.582 | 12.88 | no | −1.55 |
| 3. | 16.391 | 7.37 | 14.841 | 12.44 | no | 0.39 |
| 4. | 14.841 | 12.44 | 15.231 | 11.17 | yes | 0.39 |
| 5. | 15.231 | 11.17 | 15.621 | 9.89 | yes | 0.39 |
| 6. | 15.621 | 9.89 | 16.011 | 8.62 | yes | 0.39 |
| 7. | 16.011 | 8.62 | 16.401 | 7.34 | yes | 0.39 |
| 8. | 16.401 | 7.34 | 16.791 | 6.06 | yes | 0.39 |
| 9. | 16.791 | 6.06 | 17.181 | 4.79 | yes | 0.39 |
| 10. | 17.181 | 4.79 | 17.571 | 3.51 | yes | 0.39 |
| 11. | 17.571 | 3.51 | 17.961 | 2.37 | yes | 0.39 |
| 12. | 17.961 | 2.37 | 18.351 | 0.96 | yes | 0.39 |
| 13. | 18.351 | 0.96 | 18.741 | 0.315 | yes | 0.39 |
| 14. | 18.741 | 0.315 | 19.131 | 1.59 | no | −0.098 |
| 15. | 19.131 | 1.59 | 19.033 | 1.17 | yes | −0.098 |
| 16. | 19.033 | 1.17 | 18.935 | 0.95 | yes | −0.098 |
| 17. | 18.935 | 0.95 | 18.837 | 0.63 | yes | −0.098 |
| 18. | 18.837 | 0.63 | 18.739 | 0.3 | yes | −0.098 |
| 19. | 18.739 | 0.3 | 18.641 | 0.012 | yes | −0.098 |
| 20. | 18.641 | 0.012 | 18.543 | 0.33 | no | - |
| Хopt= 18.641 (km) | ||||||
| Step | х0/n, km/r.u. | f0 = f(х0), kV | х1/n, km/r.u. | f1 = f(х1), kV | f0 > f1 | ∆x, km |
|---|---|---|---|---|---|---|
| 1. | 0/0 | 61.0 | 30/0.25 | 37.15 | yes | 30 |
| 2. | 30/0.25 | 37.15 | 60/0.5 | 125.5 | no | −7.5 |
| 3. | 60/0.5 | 125.5 | 52.5/0.438 | 88.64 | yes | −7.5 |
| --- | --- | --- | --- | --- | --- | --- |
| 29. | 18.504/0.154 | 0.539 | 18.621/0.155 | 0.148 | yes | 0.117 |
| 30. | 18.621/0.155 | 0.148 | 18.738/0.156 | 0.248 | no | - |
| Хopt = 18.621 (km) | ||||||
Disclaimer/Publisher’s Note: The statements, opinions and data contained in all publications are solely those of the individual author(s) and contributor(s) and not of MDPI and/or the editor(s). MDPI and/or the editor(s) disclaim responsibility for any injury to people or property resulting from any ideas, methods, instructions or products referred to in the content. |
© 2023 by the authors. Licensee MDPI, Basel, Switzerland. This article is an open access article distributed under the terms and conditions of the Creative Commons Attribution (CC BY) license (https://creativecommons.org/licenses/by/4.0/).
Share and Cite
Kulikov, A.; Ilyushin, P.; Loskutov, A.; Filippov, S. Application of Search Algorithms in Determining Fault Location on Overhead Power Lines According to the Emergency Mode Parameters. Algorithms 2023, 16, 189. https://doi.org/10.3390/a16040189
Kulikov A, Ilyushin P, Loskutov A, Filippov S. Application of Search Algorithms in Determining Fault Location on Overhead Power Lines According to the Emergency Mode Parameters. Algorithms. 2023; 16(4):189. https://doi.org/10.3390/a16040189
Chicago/Turabian StyleKulikov, Aleksandr, Pavel Ilyushin, Anton Loskutov, and Sergey Filippov. 2023. "Application of Search Algorithms in Determining Fault Location on Overhead Power Lines According to the Emergency Mode Parameters" Algorithms 16, no. 4: 189. https://doi.org/10.3390/a16040189
APA StyleKulikov, A., Ilyushin, P., Loskutov, A., & Filippov, S. (2023). Application of Search Algorithms in Determining Fault Location on Overhead Power Lines According to the Emergency Mode Parameters. Algorithms, 16(4), 189. https://doi.org/10.3390/a16040189

