Numerical Simulation and Prediction of Flexure Performance of PSC Girders with Long-Term Prestress Loss
Abstract
1. Introduction
1.1. Literature Review
1.2. Objective
2. Experimental Study
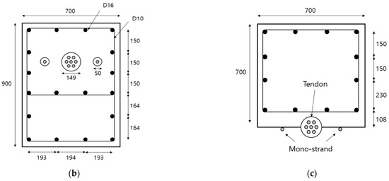
2.1. Specifications of PSC Specimens
2.2. PS Loss Monitoring Test
2.3. Flexural Test
3. FE Simulation Modeling
3.1. Tested Specimen Details
3.2. Simulation Specimen Modeling Details
3.2.1. Interaction and Constraint
3.2.2. Tendon Anchorage Modeling
3.2.3. Prestressing Force Modeling
3.3. Material Properties
3.3.1. Concrete CDP
3.3.2. Prestressing Tendon and Rebar Modeling
4. Model Verifications and Numerical Results
4.1. Crack Pattern
4.2. Load-Deflection Response
5. Parametric Study
6. Results and Discussion
6.1. Influence of Residual Prestressing Force (Service Life)
6.2. Influence of Grouting Defect
6.3. Influence of Concrete Strength Degradation
6.4. Influence of Tendon Cross-Section Reduction
6.5. Influence of Combined Defects
7. Conclusions
- The long-term performance of PSC girders is strongly affected by prestress loss at the serviceability limit state, whereas ultimate strength is more sensitive to material and cross-sectional deterioration. The coexistence of multiple degradation factors accelerates performance loss, underscoring the need to incorporate such effects into life-cycle performance evaluation and maintenance planning.
- The numerical model was validated against experimental results, showing reasonable agreement in terms of crack initiation, stiffness transition, and maximum load, with errors remaining within acceptable limits. This confirms that the developed model can be reliably applied to long-term degradation scenarios.
- Residual prestress (service life) had a significant influence on the serviceability behavior of PSC girders. As service life increased, effective prestress decreased, leading to reduced stiffness, increased deflections, and earlier crack initiation. However, the influence on ultimate flexural capacity was relatively minor, indicating that long-term performance degradation is primarily pronounced at the serviceability limit state.
- Girders with grouting defects exhibited reduced load resistance throughout the entire load–deflection response. This reduction is attributed to the loss of bond and confinement effects in the defect zone, where the tendons were no longer embedded in the concrete, thereby eliminating the tension stiffening effect.
- In the case of reduced concrete compressive strength, premature failure occurred before sufficient ductility could be developed. This behavior was due to the rapid reduction in compressive capacity and residual ductility, which caused the concrete to reach its ultimate strain more quickly under the same external loading and prestress conditions. Consequently, both strength and ductility losses were pronounced.
- Girders with reduced tendon cross-sectional area exhibited lower stiffness and strength across the entire load–deflection response compared to the reference girder. This was primarily caused by reduced prestressing force and a weakened composite action between tendon and concrete, thereby diminishing both serviceability and load-bearing capacity.
- The girder subjected to combined degradation exhibited the most critical behavior, failing prematurely before ductility could develop. The strength loss ratio was the largest among all cases, confirming that the accumulation of multiple deterioration factors accelerates structural performance degradation. This highlights the necessity of accounting for compound deterioration effects in the durability assessment and maintenance strategies of PSC girders.
- This study is limited by simplified modeling that treats concrete deterioration solely as a reduction in strength and neglects tendon slip and time-dependent corrosion, and future work should adopt advanced coupled models and long-term field validation to capture deterioration more faithfully and support life cycle assessment and performance-based maintenance strategies for PSC girders.
Author Contributions
Funding
Institutional Review Board Statement
Data Availability Statement
Conflicts of Interest
References
- Garber, D.B.; Gallardo, J.M.; Deschenes, D.J.; Bayrak, O. Experimental Investigation of Prestress Losses in Full-Scale Bridge Girders. ACI Struct. J. 2015, 112, 553–564. [Google Scholar] [CrossRef]
- Kamatchi, P.R.K.B.; Rao, K.B.; Dhayalini, B.; Saibabu, S.; Parivallal, S.; Ravisankar, K.; Iyer, N.R. Long-Term Prestress Loss and Camber of Box-Girder Bridge. ACI Struct. J. 2014, 111, 1297–1306. [Google Scholar] [CrossRef]
- Ellobody, E.; Bailey, C.G. Behaviour of Unbonded Post-Tensioned One-Way Concrete Slabs. Adv. Struct. Eng. 2008, 11, 107–120. [Google Scholar] [CrossRef]
- Kim, S.E.; Nguyen, H.T. Finite Element Modeling and Analysis of a Hybrid Steel–PSC Beam Connection. Eng. Struct. 2010, 32, 2557–2569. [Google Scholar] [CrossRef]
- Hong, W.K.; Pham, T.D.; Nguyen, D.H.; Le, T.A.; Nguyen, M.C.; Nguyen, V.T. Experimental and Nonlinear Finite Element Analysis for Post-Tensioned Precast Frames with Mechanical Joints. J. Asian Archit. Build. Eng. 2023, 22, 2922–2945. [Google Scholar] [CrossRef]
- Jancy, A.; Stolarski, A.; Zychowicz, J. Experimental and Numerical Research of Post-Tensioned Concrete Beams. Materials 2023, 16, 4141. [Google Scholar] [CrossRef]
- Maghsoudi, M.; Maghsoudi, A.A. Finite Element and Experimental Investigation on the Flexural Response of Pre-Tensioned T-Girders. Int. J. Civ. Eng. 2019, 17, 541–553. [Google Scholar] [CrossRef]
- Limongelli, M.P.; Siegert, D.; Merliot, E.; Waeytens, J.; Bourquin, F.; Vidal, R.; Cottineau, L.M. Damage Detection in a Post-Tensioned Concrete Beam—Experimental Investigation. Eng. Struct. 2016, 128, 15–25. [Google Scholar] [CrossRef]
- Zhang, X.; Wang, L.; Zhang, J.; Ma, Y.; Liu, Y. Flexural Behavior of Bonded Post-Tensioned Concrete Beams under Strand Corrosion. Nucl. Eng. Des. 2017, 313, 414–424. [Google Scholar] [CrossRef]
- Wang, L.; Zhang, X.; Zhang, J.; Ma, Y.; Xiang, Y.; Liu, Y. Effect of Insufficient Grouting and Strand Corrosion on Flexural Behavior of PC Beams. Constr. Build. Mater. 2014, 53, 213–224. [Google Scholar] [CrossRef]
- Liu, Z.; Xie, H.; Han, B.; Li, P.; Jiang, Z.; Yu, J. Experimental Study on Residual Bearing Capacity of Full-Size Fire-Damaged Prestressed Concrete Girders. Structures 2022, 45, 1788–1802. [Google Scholar] [CrossRef]
- Alfailakawi, A.; Roberts-Wollmann, C.L.; Hebdon, M.; Koutromanos, I. Experimental and Analytical Evaluation of Residual Capacity of Corrosion-Damaged Prestressed Concrete Bridge Girders; Report No. FHWA/VTRC 21-R6; Virginia Transportation Research Council: Charlottesville, VA, USA, 2020. [Google Scholar]
- Guo, T.; Chen, Z.; Lu, S.; Yao, R. Monitoring and Analysis of Long-Term Prestress Losses in Post-Tensioned Concrete Beams. Measurement 2018, 122, 573–581. [Google Scholar] [CrossRef]
- Kim, S.-H.; Park, S.-Y.; Jeon, S.-J. Long-Term Characteristics of Prestressing Force in Post-Tensioned Structures Measured Using Smart Strands. Appl. Sci. 2020, 10, 4084. [Google Scholar] [CrossRef]
- Kim, S.-H.; Park, S.-Y.; Kim, S.-T.; Jeon, S.-J. Analysis of Short-Term Prestress Losses in Post-Tensioned Structures Using Smart Strands. Int. J. Concr. Struct. Mater. 2022, 16, 1. [Google Scholar] [CrossRef]
- Han, W.; Tian, P.; Lv, Y.; Zou, C.; Liu, T. Long-Term Prestress Loss Calculation Considering the Interaction of Concrete Shrinkage, Concrete Creep, and Stress Relaxation. Materials 2023, 16, 2452. [Google Scholar] [CrossRef]
- AASHTO. LRFD Bridge Design Specifications, 9th ed.; American Association of State Highway and Transportation Officials: Washington, DC, USA, 2020. [Google Scholar]
- EN 1992-1-1:2004+A1:2014; Eurocode 2: Design of Concrete Structures—Part 1-1: General Rules and Rules for Buildings. European Committee for Standardization (CEN): Brussels, Belgium, 2014.
- Bažant, Z.P.; Jirásek, M.; Hubler, M.H. Model B4 for Creep, Drying Shrinkage and Autogenous Shrinkage of Normal- and High-Strength Concretes with Multi-Decade Applicability. Mater. Struct. 2015, 48, 753–770. [Google Scholar] [CrossRef]
- Páez, P.M.; Sensale, B. Improved Prediction of Long-Term Prestress Loss in Unbonded Prestressed Concrete Members. Eng. Struct. 2018, 174, 111–125. [Google Scholar] [CrossRef]
- Shen, S.; Wang, Y.; Ma, S.-L.; Huang, D.; Wu, Z.-H.; Guo, X. Evaluation of Prestress Loss Distribution during Pre-Tensioning and Post-Tensioning Using Long-Gauge Fiber Bragg Grating Sensors. Sensors 2018, 18, 4106. [Google Scholar] [CrossRef] [PubMed]
- Lou, T.; Lopes, S.M.; Lopes, A.V. Nonlinear and Time-Dependent Analysis of Continuous Unbonded Prestressed Concrete Beams. Comput. Struct. 2013, 119, 166–176. [Google Scholar] [CrossRef]
- Yuen, T.Y.; Halder, R.; Chen, W.W.; Zhou, X.; Deb, T.; Liu, Y.; Wong, C.C.; Wen, T.H. DFEM of a Post-Tensioned Precast Concrete Segmental Bridge with Unbonded External Tendons Subjected to Prestress Changes. Structures 2020, 28, 1322–1337. [Google Scholar] [CrossRef]
- Galano, S.; Losanno, D.; Miluccio, G.; Parisi, F. Multidimensional Nonlinear Numerical Simulation of Post-Tensioned Concrete Girders with Different Prestressing Levels. Struct. Concr. 2023, 24, 7021–7042. [Google Scholar] [CrossRef]
- Gong, S.; Sun, F.; Chen, K.; Feng, X. Finite-Element Performance Degradation Behavior of a Suspension Prestressed Concrete Arch Bridge with Grouting Defects. Buildings 2024, 14, 399. [Google Scholar] [CrossRef]
- Lubliner, J.; Oliver, J.; Oller, S.; Oñate, E. A Plastic-Damage Model for Concrete. Int. J. Solids Struct. 1989, 25, 299–326. [Google Scholar] [CrossRef]
- Lee, J.; Fenves, G.L. Plastic-Damage Model for Cyclic Loading of Concrete Structures. J. Eng. Mech. 1998, 124, 892–900. [Google Scholar] [CrossRef]
- Hillerborg, A.; Modéer, M.; Petersson, P.-E. Analysis of Crack Formation and Crack Growth in Concrete by Means of Fracture Mechanics and Finite Elements. Cem. Concr. Res. 1976, 6, 773–781. [Google Scholar] [CrossRef]
- Moës, N.; Dolbow, J.; Belytschko, T. A Finite Element Method for Crack Growth without Remeshing. Int. J. Numer. Methods Eng. 1999, 46, 131–150. [Google Scholar] [CrossRef]
- Losanno, D.; Galano, L.; Parisi, F.; Pecce, M.; Cosenza, E. Experimental Investigation on Nonlinear Flexural Behavior of Prestressed Concrete Girders with Different Prestress Levels and Grouting Conditions. J. Bridge Eng. 2024, 29, 04023121. [Google Scholar] [CrossRef]
- Li, Z.; Chen, B.; Wang, X.; Lou, T. Assessment of Externally Prestressed Beams with FRP Rebars Considering Bond–Slip Effects. Materials 2025, 18, 787. [Google Scholar] [CrossRef]
- Park, H.C. Comparison of Field Measured Long-Term Prestressing Force Loss to Design Code Equations for Prestressed Concrete Bridge Girder. Master’s Thesis, Yonsei University, Seoul, Republic of Korea, 2025. [Google Scholar]
- Dassault Systèmes. Abaqus 2016: Abaqus/CAE User’s Guide. Available online: http://130.149.89.49:2080/v2016/books/stm/default.htm (accessed on 30 August 2025).
- Dassault Systèmes. Abaqus 2016: Abaqus Theory Guide. Available online: http://130.149.89.49:2080/v2016/books/usb/default.htm (accessed on 30 August 2025).
- KS D 7002:2019; Uncoated Stress-Relieved Steel Wires and Strands for Prestressed Concrete. Korean Agency for Technology and Standards (KATS): Eumseong-gun, Republic of Korea, 2019; Confirmed 2024. Available online: https://www.kssn.net/search/stddetail.do?itemNo=K001010149563 (accessed on 30 August 2025).
- Ministry of Land, Infrastructure and Transport (MOLIT). Korean Highway Bridge Design Standard (Limit State Design Method); MOLIT: Sejong, Republic of Korea, 2022. (In Korean) [Google Scholar]
- KS F 2408:2016; Standard Test Method for Flexural Strength of Concrete. Korean Agency for Technology and Standards (KATS): Seoul, Republic of Korea, 2016; Confirmed 2021. Available online: https://www.kssn.net/search/stddetail.do?itemNo=K001010134107 (accessed on 30 August 2025).
- Stavroulaki, M.E.; Leftheris, B.P.; Stavroulakis, G.E. Optimal Prestress in Modal Analysis via Induced Temperature Modelling. Struct. Optim. 1997, 13, 95–103. [Google Scholar] [CrossRef]
- Ayoub, A.; Filippou, F.C. Finite-Element Model for Pretensioned Prestressed Concrete Girders. J. Struct. Eng. 2010, 136, 401–409. [Google Scholar] [CrossRef]
- Van Meirvenne, K.; De Corte, W.; Boel, V.; Taerwe, L. Non-Linear 3D Finite Element Analysis of the Anchorage Zones of Pretensioned Concrete Girders and Experimental Verification. Eng. Struct. 2018, 172, 764–779. [Google Scholar] [CrossRef]
- Steensels, R.; Vandewalle, L.; Vandoren, B.; Degee, H. A Two-Stage Modelling Approach for the Analysis of the Stress Distribution in Anchorage Zones of Pre-Tensioned Concrete Elements. Eng. Struct. 2017, 143, 384–397. [Google Scholar] [CrossRef]
- Tran, D.T.; Pham, T.M.; Hao, H.; Chen, W. Numerical Investigation of Flexural Behaviours of Precast Segmental Concrete Beams Internally Post-Tensioned with Unbonded FRP Tendons under Monotonic Loading. Eng. Struct. 2021, 249, 113341. [Google Scholar] [CrossRef]
- Dogu, M.; Menkulasi, F.; Ates, M.; Velioğlu, C.; Tekeli, O. Method to Predict Punching Shear Capacity of Post-Tensioned UHPC Plates with Unbonded Tendons. ACI Struct. J. 2021, 118, 151–162. [Google Scholar] [CrossRef]
- Talaat, M.; Khalil, A.; Kohail, M.; Moustafa, A. Numerical Investigation of Fully Unbonded Prestressed T-Beams with Different Ratio of Prestressing. Civ. Eng. Res. Mag. Al-Azhar Univ. 2022, 44, 221–232. [Google Scholar]
- Almeida, M.M.R.; Gonçalves, R.M.; de Souza, R.A.; de Jesus, A.M.P.; Feio, A.O. Parametric Analysis of Steel–Concrete Compsite Beams Prestressed with External Steel Tendons. J. Constr. Steel Res. 2022, 189, 107087. [Google Scholar] [CrossRef]
- Okumus, P.; Kristam, R.P.; Arancibia, M.D. Nonlinear Finite Element Modeling of Cracking at Ends of Pretensioned Bridge Girders. Eng. Struct. 2012, 40, 267–275. [Google Scholar] [CrossRef]
- Huang, Y. Finite Element Method for Post-Tensioned Prestressed Concrete Structures. Ph.D. Thesis, University of Oklahoma, Norman, OK, USA, 2012. [Google Scholar]
- Dogu, M.; Menkulasi, F. A Flexural Design Methodology for UHPC Beams Posttensioned with Unbonded Tendons. Eng. Struct. 2020, 207, 110193. [Google Scholar] [CrossRef]
- Li, Z.; Xu, Q.; Zeng, K.; Yu, X.; Gong, S.; Lu, Y. Flexural Performance of Pretensioned Prestressed Concrete Solid Square Piles Reinforced with Steel Strands and Deformed Steel Bars. Struct. Concr. 2025, 26, e70138. [Google Scholar] [CrossRef]
- Wang, J.; Xia, Y.; Zhang, C.; Wang, C.; Xue, B.; Sun, R.; Pan, Y.; Chen, J.; Li, P.; Shi, M.; et al. Evaluation of compressive strength of concrete durability degradation in dry and wet environments using destructive and non-destructive testing. Measurement 2023, 223, 113702. [Google Scholar] [CrossRef]
- Lu, J.; Zhu, K.; Tian, L.; Guo, L. Dynamic compressive strength of concrete damaged by fatigue loading and freeze–thaw cycling. Constr. Build. Mater. 2017, 152, 847–855. [Google Scholar] [CrossRef]
- Ismail, M.; Muhammad, B.; Ismail, M.A. Compressive strength loss and reinforcement degradations of reinforced concrete structure due to long-term exposure. Constr. Build. Mater. 2010, 24, 898–902. [Google Scholar] [CrossRef]
- Porco, F.; Uva, G.; Fiore, A.; Mezzina, M. Assessment of concrete degradation in existing structures: A practical procedure. Struct. Eng. Mech. 2014, 52, 701–721. [Google Scholar] [CrossRef]
- Seoul Metropolitan Facilities Management Corporation (SMFMC). Synthesis Report: Academic Service Contract Related to Maintenance of PSC Box Girder Bridges within Seoul Jurisdiction; SMFMC: Seoul, Republic of Korea, 2017. (In Korean) [Google Scholar]
- Yoo, C.H.; Park, Y.C.; Kim, H.K. Section Loss in Naturally Corroded 7-Wire Steel Strands in External Tendons. Struct. Infrastruct. Eng. 2020, 16, 1593–1603. [Google Scholar] [CrossRef]
- Wang, L.; Li, T.; Dai, L.; Chen, W.; Huang, K. Corrosion Morphology and Mechanical Behavior of Corroded Prestressing Strands. J. Adv. Concr. Technol. 2020, 18, 545–557. [Google Scholar] [CrossRef]
- Yoo, C.H.; Park, Y.C.; Kim, H.K. Modeling Corrosion Progress of Steel Wires in External Tendons. J. Bridge Eng. 2018, 23, 04018098. [Google Scholar] [CrossRef]















| Time | Modified Calculated Prestress Value | Measured Prestress Value | ||||
|---|---|---|---|---|---|---|
| B-Type (MPa) | C-type (MPa) | D-Type (MPa) | B-Type (MPa) | C-Type (MPa) | D-Type (MPa) | |
| 2015.08 | 1106.90 | 1349.72 | 1542.11 | 1128.85 | 1379.33 | 1538.23 |
| 2016.08 | 1058.26 | 1306.56 | 1501.94 | 1079.26 | 1289.33 | 1502.58 |
| 2017.08 | 1038.68 | 1288.97 | 1486.37 | 1067.87 | 1282.16 | 1487.34 |
| 2018.08 | 1027.77 | 1279.03 | 1476.50 | 1060.20 | 1293.00 | 1476.36 |
| 2019.08 | 1021.22 | 1272.53 | 1469.57 | 1032.00 | 1267.47 | 1461.78 |
| 2020.08 | 1015.76 | 1268.22 | 1465.36 | 1031.68 | 1294.45 | 1464.64 |
| 2021.08 | 1012.01 | 1264.34 | 1461.52 | 1023.21 | 1282.10 | 1459.65 |
| 2022.08 | 1009.06 | 1261.52 | 1458.92 | 1012.33 | 1280.79 | 1474.12 |
| 2023.08 | 1006.64 | 1259.18 | 1456.35 | 1011.66 | 1275.83 | 1465.42 |
| ID | (kN) | (mm) | (kN) | (mm) | Initial | Post Cracking |
|---|---|---|---|---|---|---|
| B-type | 139.50 | 31.86 | 393.9 | 344.46 | 4.38 | 0.81 |
| C-type | 150.30 | 33.75 | 436.80 | 449.45 | 4.46 | 0.69 |
| D-type | 151.05 | 34.71 | 408.05 | 449.94 | 4.35 | 0.62 |
| Type of Tendon | SWPC 7B (B-Type) | SWPC 7C (C-Type) | SWPC 7D (D-Type) |
|---|---|---|---|
| Tensile Strength (MPa) | 1860 | 2160 | 2400 |
| ) | 15.2 | 15.2 | 15.2 |
| ) | 138.7 | 138.7 | 138.7 |
| ) | 1.101 | 1.101 | 1.101 |
| Yield Load (kN) | 222 | 255 | 283 |
| Ultimate Load (kN) | 261 | 300 | 333 |
| Yield Strength (MPa) | 1600 | 1830 | 2040 |
| Ultimate Strength (MPa) | 1860 | 2160 | 2400 |
| Elastic Modulus (MPa) | 200,000 | 200,000 | 200,000 |
| Initial Prestressing Stress (MPa) | 1333 | 1550 | 1730 |
| Residual Prestressing Stress after 10 Years of Loss (MPa) | 1004 | 1256 | 1458 |
| 1 | 0.86 | 0.77 |
| Density (kg/m3) | Elastic Modulus (MPa) | Poisson Ratio | Dilation Angle | Eccentricity | fbo/fco | KC | Viscosity Parameter |
|---|---|---|---|---|---|---|---|
| 2350 | 33,346 | 0.167 | 50 | 0.1 | 1.16 | 0.6667 | 0 |
| Properties | Tensile Strength of Strand (MPa) | ||
|---|---|---|---|
| 1860 | 2160 | 2400 | |
| Modulus of elasticity (MPa) | 200,000 | 200,000 | 200,000 |
| Constant A | 0.025 | 0.017 | 0.020 |
| Constant B | 118 | 97 | 88 |
| Constant C | 10 | 8 | 13 |
| Girder ID | Experimental | Numerical | Experimental/Numerical | ||||||
|---|---|---|---|---|---|---|---|---|---|
(kN) | (mm) | (kN) | (kN) | (mm) | (kN) | ||||
| B-type | 139.50 | 31.86 | 393.90 | 153.40 | 29.23 | 416.09 | 0.91 | 1.09 | 0.95 |
| C-type | 150.30 | 33.75 | 436.80 | 153.78 | 32.70 | 422.79 | 0.98 | 1.03 | 1.03 |
| D-type | 151.05 | 34.71 | 408.05 | 156.11 | 34.88 | 418.57 | 0.94 | 0.99 | 0.97 |
| Girder ID | Experimental | Numerical | Experimental/Numerical | |||
|---|---|---|---|---|---|---|
Initial | Post Cracking | Initial | Post Cracking | Initial | Post Cracking | |
| B-type | 4.38 | 0.81 | 5.25 | 0.83 | 0.83 | 0.97 |
| C-type | 4.46 | 0.69 | 4.70 | 0.64 | 0.95 | 1.08 |
| D-type | 4.35 | 0.62 | 4.62 | 0.63 | 0.94 | 0.98 |
| Group | ID | Tendon-Type (MPa) | Service Life (Year) | (MPa) | (MPa) | Grouting Defect | Tendon Cross-Section |
|---|---|---|---|---|---|---|---|
| Group 1 | G1-B-0Y | 1860 | 0 | 1333.23 | 40 | N | 138.7 |
| G2-B-25Y | 1860 | 25 | 989.35 | 40 | N | 138.7 | |
| G3-B-50Y | 1860 | 50 | 977.37 | 40 | N | 138.7 | |
| G4-B-100Y | 1860 | 100 | 962.83 | 40 | N | 138.7 | |
| G5-C-0Y | 2160 | 0 | 1550 | 40 | N | 138.7 | |
| G6-C-25Y | 2160 | 25 | 1241.61 | 40 | N | 138.7 | |
| G7-C-50Y | 2160 | 50 | 1229.34 | 40 | N | 138.7 | |
| G8-C-100Y | 2160 | 100 | 1214.57 | 40 | N | 138.7 | |
| G9-D-0Y | 2400 | 0 | 1730 | 40 | N | 138.7 | |
| G10-D-25Y | 2400 | 25 | 1443.10 | 40 | N | 138.7 | |
| G11-D-50Y | 2400 | 50 | 1430.6 | 40 | N | 138.7 | |
| G12-D-100Y | 2400 | 100 | 1415.65 | 40 | N | 138.7 | |
| Group 2 | G13-B-100Y-CD | 1860 | 100 | 962.83 | 32 | N | 138.7 |
| G14-B-100Y-GD | 1860 | 100 | 962.83 | 40 | Y | 138.7 | |
| G15-B-100Y-TD | 1860 | 100 | 962.83 | 40 | N | 124.83 | |
| G16-B-100Y-AD | 1860 | 100 | 962.83 | 32 | Y | 124.83 |
| Group | ID | (kN) | (kN) | Strength Loss Ratio (%) | ||
|---|---|---|---|---|---|---|
| Group 1 | G1-B-0Y | 391.91 | 423.06 | 1.00 | 1.00 | 0 |
| G2-B-25Y | 365.16 | 415.87 | 0.931 | 0.983 | 1.7 | |
| G3-B-50Y | 353.14 | 413.08 | 0.901 | 0.976 | 2.4 | |
| G4-B-100Y | 349.93 | 411.31 | 0.892 | 0.972 | 2.8 | |
| G5-C-0Y | 389.36 | 426.41 | 1.00 | 1.00 | 0 | |
| G6-C-25Y | 361.38 | 419.26 | 0.928 | 0.983 | 1.7 | |
| G7-C-50Y | 360.34 | 417.42 | 0.925 | 0.978 | 2.2 | |
| G8-C-100Y | 358.10 | 416.34 | 0.919 | 0.976 | 2.4 | |
| G9-D-0Y | 383.15 | 419.38 | 1.00 | 1.00 | 0 | |
| G10-D-25Y | 355.65 | 410.33 | 0.928 | 0.978 | 2.2 | |
| G11-D-50Y | 354.42 | 408.24 | 0.925 | 0.973 | 2.7 | |
| G12-D-100Y | 353.25 | 407.70 | 0.921 | 0.972 | 2.8 | |
| Group 2 | G13-B-100Y-CD | 339.69 | 339.23 (Rupture) | 0.970 | 0.824 | 17.6 |
| G14-B-100Y-GD | 341.62 | 397.53 | 0.976 | 0.966 | 3.4 | |
| G15-B-100Y-TD | 325.52 | 390.51 | 0.930 | 0.949 | 5.1 | |
| G16-B-100Y-AD | 315.24 | 307.60 (Rupture) | 0.900 | 0.747 | 25.3 |
Disclaimer/Publisher’s Note: The statements, opinions and data contained in all publications are solely those of the individual author(s) and contributor(s) and not of MDPI and/or the editor(s). MDPI and/or the editor(s) disclaim responsibility for any injury to people or property resulting from any ideas, methods, instructions or products referred to in the content. |
© 2025 by the authors. Licensee MDPI, Basel, Switzerland. This article is an open access article distributed under the terms and conditions of the Creative Commons Attribution (CC BY) license (https://creativecommons.org/licenses/by/4.0/).
Share and Cite
Won, J.-H.; Kwon, W.-R.; Kim, J.-H.J. Numerical Simulation and Prediction of Flexure Performance of PSC Girders with Long-Term Prestress Loss. Materials 2025, 18, 4654. https://doi.org/10.3390/ma18204654
Won J-H, Kwon W-R, Kim J-HJ. Numerical Simulation and Prediction of Flexure Performance of PSC Girders with Long-Term Prestress Loss. Materials. 2025; 18(20):4654. https://doi.org/10.3390/ma18204654
Chicago/Turabian StyleWon, Jun-Hee, Woo-Ri Kwon, and Jang-Ho Jay Kim. 2025. "Numerical Simulation and Prediction of Flexure Performance of PSC Girders with Long-Term Prestress Loss" Materials 18, no. 20: 4654. https://doi.org/10.3390/ma18204654
APA StyleWon, J.-H., Kwon, W.-R., & Kim, J.-H. J. (2025). Numerical Simulation and Prediction of Flexure Performance of PSC Girders with Long-Term Prestress Loss. Materials, 18(20), 4654. https://doi.org/10.3390/ma18204654

