Forming Characteristics of Tailor Rolled Blank of Aluminum Alloy during Three-Point Bending
Abstract
1. Introduction
2. Experimental Materials and Research Methods
2.1. VGR and Heat Treatment Processes of Aluminum Alloy
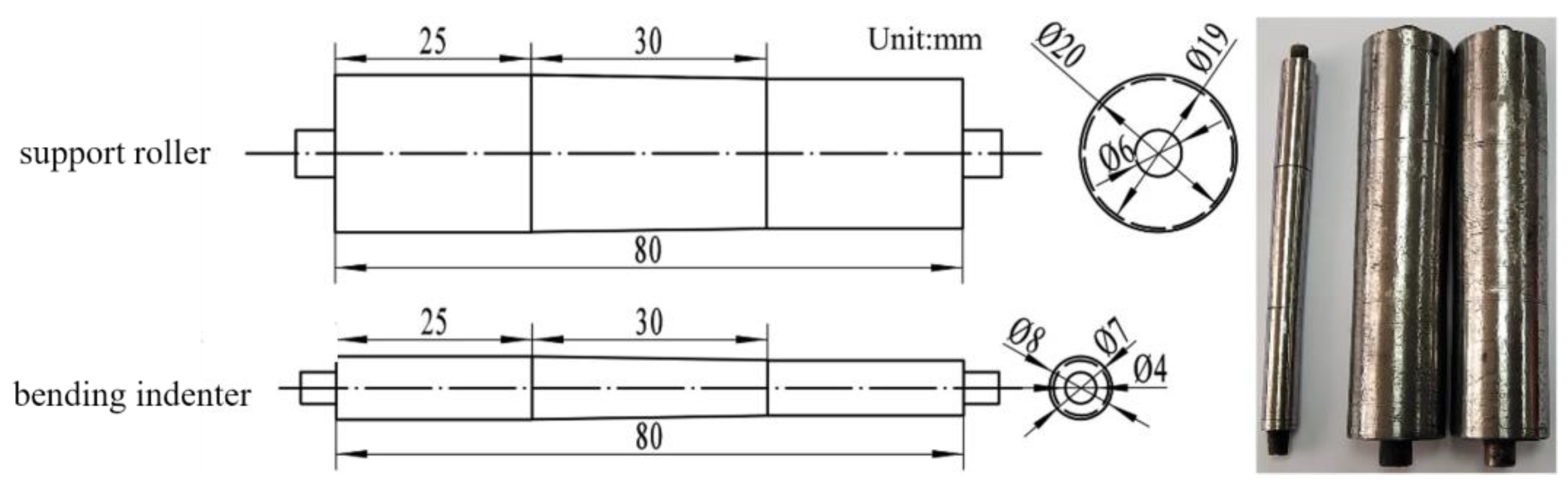
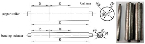
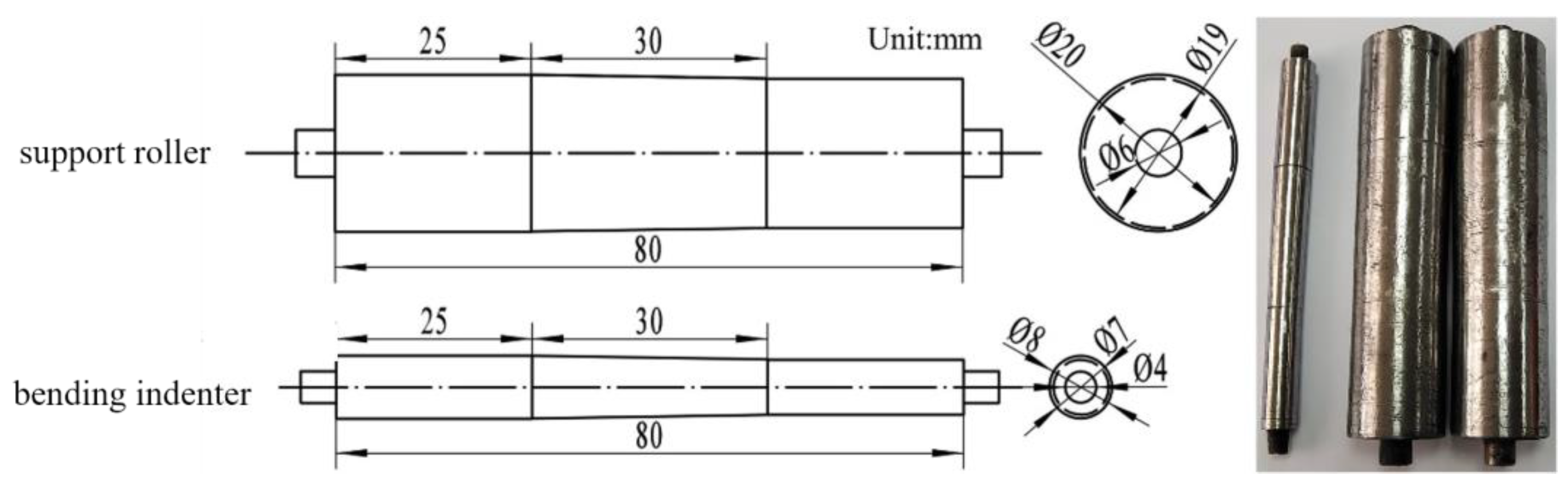
2.2. Experiment and Test Method of Spring-Back on Three-Point Bending of Al-TRB
3. Experimental Results and Analysis
3.1. Analysis of Spring-Back Results
3.2. Bending Performance Test
4. Finite Element Simulation of Forming Characteristics during Three-Point Bending
4.1. Finite Element Modeling for Three-Point Bending and Forming
4.2. Strain States of Al-TRB at Different Bending Angles
4.3. Analysis of Spring-Back Properties on Three-Point Bending of Al-TRB
4.3.1. Spring-Back Behavior of Al-TRB at Different Bending Angles
4.3.2. Influence of the Equal-Thickness Zone Length of Al-TRB on Spring-Back
4.3.3. Influence of the Transition Zone Position of Al-TRB on the Spring-Back
4.4. Metal Flow Law of Al-TRB during Three-Point Bending
4.4.1. Offsets in Each Zone of Al-TRB after Three-Point Bending
4.4.2. Thickness Change in Al-TRB after Three-Point Bending
5. Conclusions
- (1)
- The prepared Al-TRB has good bending properties, and the deformed region does not crack when bending to 180°. Surface roughening occurs on the outside of the bending region. Since the strain is greater in the thick zone than in the thin zone of the bending process, the surface roughening of the thick zone of the Al-TRB is more obvious than that of the thin zone.
- (2)
- The spring-back angle in the thin zone is higher than that in the thick zone after three-point bending, and the overall spring-back angle of the Al-TRB becomes larger with the increase in the bending degree. When the transition zone of the Al-TRB is centered and the length of the transition zone is certain, as the length of the equal-thickness zone increases, the spring-back angle of the thin zone is larger, while the spring-back angle of the thick zone is smaller. Under the premise of a certain total length of the Al-TRB and the length of the transition zone, the larger the length proportion of the thin zone, the larger the overall spring-back angle of the Al-TRB, and the larger the length proportion of the thick zone, the smaller the overall spring-back angle of the Al-TRB.
- (3)
- There is a slight metal flow phenomenon during three-point bending, which is manifested as the metal in the bending region will flow to the thick zone, and the metal in the edge will flow to the thin zone. As the bending angle increases, the overall offset of the metal increases. The average offset of each zone shows the following trend: thick zone > transition zone > thin zone. At the same time, there are localized thickening and thinning phenomena in the Al-TRB. As the bending angle increases, the thinning and thickening rates increase. When the bending angle is 150°, the maximum thinning rate is 4.08%, and the maximum thickening rate is 0.69%.
Author Contributions
Funding
Institutional Review Board Statement
Informed Consent Statement
Data Availability Statement
Conflicts of Interest
References
- Han, S.; Hwang, T.; Oh, I.; Choi, M.; Moon, Y.H. Manufacturing of tailor-rolled blanks with thickness variations in both the longitudinal and latitudinal directions. J. Mater. Process. Technol. 2018, 256, 172–182. [Google Scholar] [CrossRef]
- Liu, X.H.; Zhao, Q.L.; Liu, L.Z. Recent development on theory and application of variable gauge rolling, a review. Acta Metall. Sin. Engl. Lett. 2014, 27, 483–493. [Google Scholar] [CrossRef]
- Wang, S.; Wang, X.G.; Liu, X.H.; Li, C.S. Experiment and simulation of variable thickness rolling for 3D-profiled blank. J. Mater. Process. Technol. 2021, 290, 116971. [Google Scholar] [CrossRef]
- Merklein, M.; Johannes, M.; Lechner, M.; Kuppert, A. A review on tailored blanks—Production, applications and evaluation. J. Mater. Process. Technol. 2014, 214, 151–164. [Google Scholar] [CrossRef]
- Liu, Y.M.; Liu, Y.P.; Wang, T.; Wang, Z.H.; Huang, Q.X. Mathematical modeling and analysis of the tailor rolled blank manufacturing process. Int. J. Mech. Sci. 2024, 266, 108991. [Google Scholar] [CrossRef]
- Zhi, Y.; Wang, X.G.; Wang, S.; Liu, X.H. A review on the rolling technology of shape flat products. Int. J. Adv. Manuf. Technol. 2018, 94, 4507–4518. [Google Scholar] [CrossRef]
- Klinke, N.; Kobelev, V.; Schumacher, A. Rule and optimization-based selection of car body parts for the application of tailor rolled blank technology. Struct. Multidiscip. Optim. 2022, 65, 60. [Google Scholar] [CrossRef]
- Blatnický, M.; Sága, M.; Dižo, J.; Bruna, M. Application of light metal alloy EN AW 6063 to vehicle frame construction with an innovated steering mechanism. Materials 2020, 13, 817. [Google Scholar] [CrossRef]
- Xiong, H.Q.; Su, L.H.; Kong, C.; Yu, H.L. Development of high performance of Al alloys via cryo-forming: A review. Adv. Eng. Mater. 2021, 23, 2001533. [Google Scholar] [CrossRef]
- Schneider, R.; Grant, R.J.; Schlosser, J.M.; Rimkus, W.; Radlmayr, K.; Grabner, F.; Maier, C. An investigation of the deep drawing behavior of automotive aluminum alloys at very low temperatures. Metall. Mater. Trans. A 2020, 51, 1123–1133. [Google Scholar] [CrossRef]
- Zheng, K.; Politis, J.D.; Wang, L.L.; Lin, J.G. A review on forming techniques for manufacturing lightweight complex—Shaped aluminium panel components. Int. J. Lightweight Mater. Manuf. 2018, 1, 55–80. [Google Scholar] [CrossRef]
- Engler, O.; Schäfer, C.; Brinkman, H.J.; Brecht, J.; Nijhof, K. Flexible rolling of aluminium alloy sheet-process optimization and control of materials properties. J. Mater. Process. Technol. 2016, 229, 139–148. [Google Scholar] [CrossRef]
- Xu, X.J.; Liu, Z.; Zhang, B.; Chen, H.H.; Zhang, J.S.; Wang, T.L.; Zhang, K.; Zhang, J.; Huang, P. Effect of Mn content on microstructure and properties of 6000 series aluminum alloy. Appl. Phys. A 2019, 125, 490. [Google Scholar] [CrossRef]
- Basile, D.; Sesana, R.; Maddis, M.D.; Borella, L.; Spena, P.R. Investigation of strength and formability of 6016 aluminum tailor welded blanks. Metals 2022, 12, 1593. [Google Scholar] [CrossRef]
- Yildiz, R.A.; Yilmaz, S. Stress–strain properties of artificially aged 6061 Al alloy: Experiments and modeling. J. Mater. Eng. Perform. 2020, 29, 5764–5775. [Google Scholar] [CrossRef]
- Chen, Y.; Wei, W.; Zhao, Y.; Shi, W.; Zhou, X.R.; Rong, L.; Wen, S.P.; Wu, X.L.; Gao, K.Y.; Huang, H.; et al. Effect of the solid solution and aging treatment on the mechanical properties and microstructure of a novel Al-Mg-Si alloy. Materials 2023, 16, 7036. [Google Scholar] [CrossRef] [PubMed]
- Li, Y.F.; Wu, Z.B.; Wang, D.T.; Nagaumi, H.; Luo, G.R.; Feng, Z.X.; Zhang, X.Z.; Wang, R.; Zhang, H.T.; Zhang, B. Effect of mechanical properties, microstructure and residual stress on the bending springback behavior of high-strength Al-Mg-Si-Cu alloy tubes. J. Mater. Res. Technol. 2024, 28, 3609–3618. [Google Scholar] [CrossRef]
- Wang, G.; Zhu, G.X.; Kou, L.Y.; Li, T.; Liu, Z.W.; Shang, X.; Jiang, X.X.; Zhu, X.J. Effect of heat treatment conditions on stamping deformation and springback of 6061 aluminum alloy sheets. Mater. Res. Express 2020, 7, 016512. [Google Scholar] [CrossRef]
- Zhu, Y.X.; Liu, Y.L.; Yang, H.; Li, H.P. Development and application of the material constitutive model in springback prediction of cold-bending. Mater. Design. 2012, 42, 245–258. [Google Scholar] [CrossRef]
- Wang, J.Z. Stamping process design and springback compensation method for aluminum alloy structural part of the vehicle. Die Mould Manuf. 2021, 21, 1–5. [Google Scholar]
- Lu, R.H.; Liu, X.H.; Chen, S.D.; Feng, L.; Hu, X.L.; Liu, L.Z. Springback behavior of tailor rolled blank in U-shape forming. J. Iron Steel Res. Int. 2017, 24, 787–794. [Google Scholar] [CrossRef]
- Fan, L.F.; Gou, J.J.; Wang, G.; Gao, Y. Springback characteristics of cylindrical bending of tailor rolled blanks. Adv. Mater. Sci. Eng. 2020, 2020, 9371808. [Google Scholar] [CrossRef]
- Zhang, S.J.; Hu, X.L.; Niu, C.L.; Misra, R.D.K.; Liu, X.H. Annealing of HC340LA tailor rolled blanks—Control of mechanical properties and formability. J. Mater. Process. Technol. 2020, 281, 116581. [Google Scholar] [CrossRef]
- Cai, D.; Ou, H.; Hu, M.; Li, G.Y.; Cui, J.J. Formability evaluation of tailor rolled blank (TRB) with the forming limit margin field graph. Int. J. Adv. Manuf. Technol. 2022, 118, 4019–4030. [Google Scholar] [CrossRef]
- VDA238-100; Test Specifcation: Plate Bending Test for Metallic Materials. VDA: Berlin, Germany, 2017.
- Lahaye, C.; Bottema, J.; De Smet, P.; Heyvaert, S. Aluminium alloy selection for closures with respect to functional demands. SAE Tech. Paper 2000, 1, 2696. [Google Scholar]






















| Mn | Cu | Zn | Mg | Si | Ti | Cr | Fe | Al |
|---|---|---|---|---|---|---|---|---|
| 0.13 | 0.12 | 0.01 | 0.67 | 0.72 | 0.02 | 0.03 | 0.15 | Bal. |
| α/° | Thin Zone | Thick Zone |
|---|---|---|
| θ/° | θ/° | |
| 60 | 6.1 | 4.5 |
| 90 | 7.1 | 5.3 |
| 120 | 8.2 | 5.7 |
| 150 | 8.9 | 6.8 |
| Four Types | Length/mm | Thickness/mm | Width/mm | |||
|---|---|---|---|---|---|---|
| Thin Zone | Transition Zone | Thick Zone | Thin Zone | Thick Zone | ||
| Al-TRB-I | 15 | 30 | 15 | 1.0 | 2.0 | 60 |
| Al-TRB-II | 50 | 30 | 50 | 1.0 | 2.0 | 60 |
| Al-TRB-III | 25 | 30 | 75 | 1.0 | 2.0 | 60 |
| Al-TRB-IV | 75 | 30 | 25 | 1.0 | 2.0 | 60 |
| α/° | Thin Zone | Thick Zone | ||||
|---|---|---|---|---|---|---|
| β1/° | β2/° | θ/° | β1/° | β2/° | θ/° | |
| 60 | 117.5 | 123.2 | 5.7 | 120.4 | 124.7 | 4.3 |
| 90 | 86.7 | 93.2 | 6.5 | 90.5 | 95.5 | 5.0 |
| 120 | 58.0 | 65.9 | 7.9 | 62.0 | 67.2 | 5.2 |
| 150 | 27.9 | 36.4 | 8.5 | 31.6 | 38.1 | 6.5 |
Disclaimer/Publisher’s Note: The statements, opinions and data contained in all publications are solely those of the individual author(s) and contributor(s) and not of MDPI and/or the editor(s). MDPI and/or the editor(s) disclaim responsibility for any injury to people or property resulting from any ideas, methods, instructions or products referred to in the content. |
© 2024 by the authors. Licensee MDPI, Basel, Switzerland. This article is an open access article distributed under the terms and conditions of the Creative Commons Attribution (CC BY) license (https://creativecommons.org/licenses/by/4.0/).
Share and Cite
Zhi, Y.; Feng, Y.; Wang, D.; Hu, X.; Sun, T.; Liu, X. Forming Characteristics of Tailor Rolled Blank of Aluminum Alloy during Three-Point Bending. Materials 2024, 17, 591. https://doi.org/10.3390/ma17030591
Zhi Y, Feng Y, Wang D, Hu X, Sun T, Liu X. Forming Characteristics of Tailor Rolled Blank of Aluminum Alloy during Three-Point Bending. Materials. 2024; 17(3):591. https://doi.org/10.3390/ma17030591
Chicago/Turabian StyleZhi, Ying, Yue Feng, Dong Wang, Xianlei Hu, Tao Sun, and Xianghua Liu. 2024. "Forming Characteristics of Tailor Rolled Blank of Aluminum Alloy during Three-Point Bending" Materials 17, no. 3: 591. https://doi.org/10.3390/ma17030591
APA StyleZhi, Y., Feng, Y., Wang, D., Hu, X., Sun, T., & Liu, X. (2024). Forming Characteristics of Tailor Rolled Blank of Aluminum Alloy during Three-Point Bending. Materials, 17(3), 591. https://doi.org/10.3390/ma17030591

