Unified Failure Criterion Based on Stress and Stress Gradient Conditions
Abstract
1. Introduction
2. Failure Criterion Based on Stress and Stress Gradient
3. Ductile Aluminum Alloy with Notches
3.1. Description of Specimens
3.2. Results
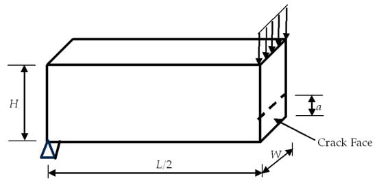
4. Hardened Cement Pastes with Cracks
4.1. Description of Specimens
4.2. Modeling
4.3. Results
5. Three-Dimensional Printed PLA with Holes
5.1. Description of Specimens and Experiments
5.2. Results
6. Laminated Glass Fiber Composites with Holes
6.1. Description of Specimens
6.2. Multiscale Failure Modeling
- First, the composite material properties are computed from virgin fiber and matrix materials using the upscaling process.
- The composite material properties are used for the analysis of the given composite structure with an applied loading. Because the structural analysis is complex, FEA is mostly used for the structural analysis, which provides the stresses and strains in the composite structure.
- Then, the composite level stresses and strains are decomposed into the stresses and strains at the fiber and matrix materials using the downscaling process.
- The unified failure criteria are applied to the stresses and strains of the fiber and matrix materials.
- If there is a failure, then the corresponding material properties are degraded based on the specific failure, and the degraded material properties are used for the next upscaling process.
- The analysis cycle repeats as failure progresses locally or the applied load increases.
6.3. Results
7. Summary and Conclusions
Author Contributions
Funding
Institutional Review Board Statement
Informed Consent Statement
Data Availability Statement
Acknowledgments
Conflicts of Interest
References
- Christensen, R.M. The Theory of Materials Failure; Oxford University Press: Oxford, UK, 2016. [Google Scholar]
- Podgórski, J. General Failure Criterion for Isotropic Media. J. Eng. Mech. 1985, 111, 188–201. [Google Scholar] [CrossRef]
- Soden, P.; Hinton, M.; Kaddour, A. A comparison of the predictive capabilities of current failure theories for composite laminates. Compos. Sci. Technol. 1998, 58, 1225–1254. [Google Scholar] [CrossRef]
- Kaddour, A.; Hinton, M.; Smith, P.; Li, S. The background to the third world-wide failure exercise. J. Compos. Mater. 2013, 47, 2417–2426. [Google Scholar] [CrossRef]
- Tsai, S.W.; Wu, E.M. A General Theory of Strength for Anisotropic Materials. J. Compos. Mater. 1971, 5, 58–80. [Google Scholar] [CrossRef]
- Hashin, Z.; Rotem, A. A Fatigue Failure Criterion for Fiber Reinforced Materials. J. Compos. Mater. 1973, 7, 448–464. [Google Scholar] [CrossRef]
- Sun, C.; Quinn, B.; Tao, J.; Oplinger, D. Comparative Evaluation of Failure Analysis Methods for Composite Laminates; DOT/FAA/AR-95/109; School of Aeronautics and Astronautics, Purdue University: West Lafayette, IN, USA, 1996. [Google Scholar]
- Daniel, I.M. Failure of composite materials. Strain 2007, 43, 4–12. [Google Scholar] [CrossRef]
- Irwin, G.R. Analysis of stresses and strains near the end of a crack traversing a Plate. J. Appl. Mech. 1957, 79, 361–364. [Google Scholar] [CrossRef]
- Irwin, G.R.; Kies, J.A.; Smith, H.L. Fracture strengths relative to onset and arrest of crack propagation. Proc. ASTM 1958, 58, 640–660. [Google Scholar]
- Griffith, A.A., VI. The phenomena of rupture and flow in solids. Philos. Trans. R. Soc. London Ser. A Contain. Pap. A Math. Or Phys. Character. 1921, 221, 163–198. [Google Scholar]
- Griffith, A.A. The theory of rupture. In Proceedings of the 1st International Congress of Applied Mechanics, Delft, The Netherlands, 22–26 April 1924; pp. 55–63. [Google Scholar]
- Anderson, T.L. Fracture Mechanics: Fundamentals and Applications, 4th ed.; CRC Press: Boca Raton, FL, USA, 2017. [Google Scholar]
- Han, Q.; Wang, Y.; Yin, Y.; Wang, D. Determination of stress intensity factor for mode I fatigue crack based on finite element analysis. Eng. Fract. Mech. 2015, 138, 118–126. [Google Scholar] [CrossRef]
- Sih, G.C. Some basic problems in fracture mechanics and new concepts. Eng. Fract. Mech. 1973, 5, 365–377. [Google Scholar] [CrossRef]
- Atkinson, C.; Craster, R.V. Theoretical aspects of fracture mechanics. Prog. Aerosp. Sci. 1995, 31, 1–83. [Google Scholar] [CrossRef]
- Neuber, H. Theory of Notch Stresses; Springer: Berlin, Germany, 1958. [Google Scholar]
- Peterson, R.E. Notch Sensitivity. In Metal Fatigue; Sines, G., Waisman, J.L., Eds.; McGraw Hill: New York, NY, USA, 1959; pp. 293–306. [Google Scholar]
- Whitney, J.M.; Nuismer, R.J. Stress fracture criteria for laminated composites containing stress concentrations. J. Compos. Mater. 1974, 8, 253–265. [Google Scholar] [CrossRef]
- Taylor, D. Geometrical effects in fatigue: A unifying theoretical model. Int. J. Fatigue 1999, 21, 413–420. [Google Scholar] [CrossRef]
- Sapora, A.; Torabi, A.R.; Etesam, S.; Cornetti, P. Finite fracture mechanics crack initiation from a circular hole. Fatigue Fract. Eng. Mater. Struct. 2018, 41, 1627–1636. [Google Scholar] [CrossRef]
- Braun, M.; Müller, A.M.; Milaković, A.-S.; Fricke, W.; Ehlers, S. Requirements for stress gradient-based fatigue assessment of notched structures according to theory of critical distance. Fatigue Fract. Eng. Mater. Struct. 2020, 43, 1541–1554. [Google Scholar] [CrossRef]
- Taylor, D. The Theory of Critical Distances: A New Perspective in Fracture Mechanics; Elsevier: London, UK, 2007. [Google Scholar]
- Camanho, P.P.; Ercin, G.H.; Catalanotti, G.; Mahdi, S.; Linde, P. A finite fracture mechanics model for the prediction of the open-hole strength of composite laminates. Compos. Part A 2012, 43, 1219–1225. [Google Scholar] [CrossRef]
- Taylor, D.; Cornetti, P.; Pugno, N. The fracture mechanics of finite crack extension. Eng. Fract. Mech. 2004, 72, 1021–1038. [Google Scholar] [CrossRef]
- Dugdale, D.S. Yielding of steel sheets containing slits. J. Mech. Phys. Solids 1960, 8, 100–104. [Google Scholar] [CrossRef]
- Barenblatt, G.I. The mathematical theory of equilibrium cracks in brittle fracture. Adv. Appl. Mech. 1962, 7, 55–129. [Google Scholar]
- Shang, F.; Yan, Y.; Yang, J. Recent advances in cohesive zone modelling of fracture. Int. J. Aeronaut. Aerosp. Eng. 2019, 1, 19–26. [Google Scholar] [CrossRef]
- Elices, M.; Guinea, G.; Gomez, J.; Planas, J. The cohesive zone model: Advantages, limitations and challenges. Eng. Fract. Mech. 2002, 69, 137–163. [Google Scholar] [CrossRef]
- Park, K.; Paulino, G.H. Cohesive zone models: A critical review of traction- separation relationships across fracture surfaces. Appl. Mech. Rev. 2011, 64, 060802. [Google Scholar] [CrossRef]
- Park, K.; Paulino, G.H.; Roesler, J.R. A unified potential-based cohesive model of mixed-mode fracture. J. Mech. Phys. Solids 2009, 57, 891–908. [Google Scholar] [CrossRef]
- Schwalbe, K.-H.; Scheider, I.; Cornec, A. Guidelines for Applying Cohesive Models to the Damage Behaviour of Engineering Materials and Structures; Springer Science and Business Media LLC: Dordrecht, The Netherlands, 2012. [Google Scholar]
- Needleman, A. Some Issues in Cohesive Surface Modeling. Procedia IUTAM 2014, 10, 221–246. [Google Scholar] [CrossRef]
- Kwon, Y.W. Revisiting Failure of Brittle Materials. J. Press. Vessel. Technol. 2021, 143, 064503. [Google Scholar] [CrossRef]
- Kwon, Y.W.; Diaz-Colon, C.; Defisher, S. Failure Criteria for Brittle Notched Specimens. J. Press. Vessel. Technol. 2022, 144, 051506. [Google Scholar] [CrossRef]
- Kwon, Y.W. Failure Prediction of Notched Composites Using Multiscale Approach. Polymers 2022, 14, 2481. [Google Scholar] [CrossRef]
- Schmeier, G.E.C.; Tröger, C.; Kwon, Y.W.; Sachau, D. Predicting Failure of Additively Manufactured Specimens with Holes. Materials 2023, 16, 2293. [Google Scholar] [CrossRef]
- Ansys. R1, User Manual; Ansys Inc.: Canonsburg, PA, USA, 2021. [Google Scholar]
- Karihaloo, B.L.; Abdalla, H.M.; Xiao, Q.Z. Size effect in concrete beams. Eng. Fract. Mech. 2003, 70, 979–993. [Google Scholar] [CrossRef]
- Kwon, Y.W.; Park, M.S. Versatile micromechanics model for multiscale analysis of composite structures. Appl. Compos. Mater. 2013, 20, 673–692. [Google Scholar] [CrossRef]
- Kwon, Y.W.; Darcy, J. Failure criteria for fibrous composites based on multiscale modeling. Multiscale Multidiscip. Model. Exp. Des. 2018, 1, 3–17. [Google Scholar] [CrossRef]
























| Hole Size (mm) | 0 | 1 | 2 | 3 | 6 | 9 | 12 | 15 | 18 |
| Average Failure Stress (MPa) | 228 | 237 | 236 | 228 | 236 | 219 | 227 | 228 | 230 |
| Standard Deviation (MPa) | 5.5 | 1.6 | 1.3 | 3.2 | 3.7 | 4.8 | 0.94 | 1.8 | 0.96 |
| Print temperature | 185 °C |
| Bed temperature | 55 °C |
| Print speed | 45 mm/s |
| Line thickness | 0.2 mm |
| Line width | 0.35 mm |
Disclaimer/Publisher’s Note: The statements, opinions and data contained in all publications are solely those of the individual author(s) and contributor(s) and not of MDPI and/or the editor(s). MDPI and/or the editor(s) disclaim responsibility for any injury to people or property resulting from any ideas, methods, instructions or products referred to in the content. |
© 2024 by the authors. Licensee MDPI, Basel, Switzerland. This article is an open access article distributed under the terms and conditions of the Creative Commons Attribution (CC BY) license (https://creativecommons.org/licenses/by/4.0/).
Share and Cite
Kwon, Y.W.; Markoff, E.K.; DeFisher, S. Unified Failure Criterion Based on Stress and Stress Gradient Conditions. Materials 2024, 17, 569. https://doi.org/10.3390/ma17030569
Kwon YW, Markoff EK, DeFisher S. Unified Failure Criterion Based on Stress and Stress Gradient Conditions. Materials. 2024; 17(3):569. https://doi.org/10.3390/ma17030569
Chicago/Turabian StyleKwon, Young W., Emma K. Markoff, and Stanley DeFisher. 2024. "Unified Failure Criterion Based on Stress and Stress Gradient Conditions" Materials 17, no. 3: 569. https://doi.org/10.3390/ma17030569
APA StyleKwon, Y. W., Markoff, E. K., & DeFisher, S. (2024). Unified Failure Criterion Based on Stress and Stress Gradient Conditions. Materials, 17(3), 569. https://doi.org/10.3390/ma17030569
