4D Printing Self-Sensing and Load-Carrying Smart Components
Abstract
1. Introduction
2. Methods
2.1. Model Establishment
2.1.1. Self-Sensing Mechanism
2.1.2. Adaptive Bearing Mechanism
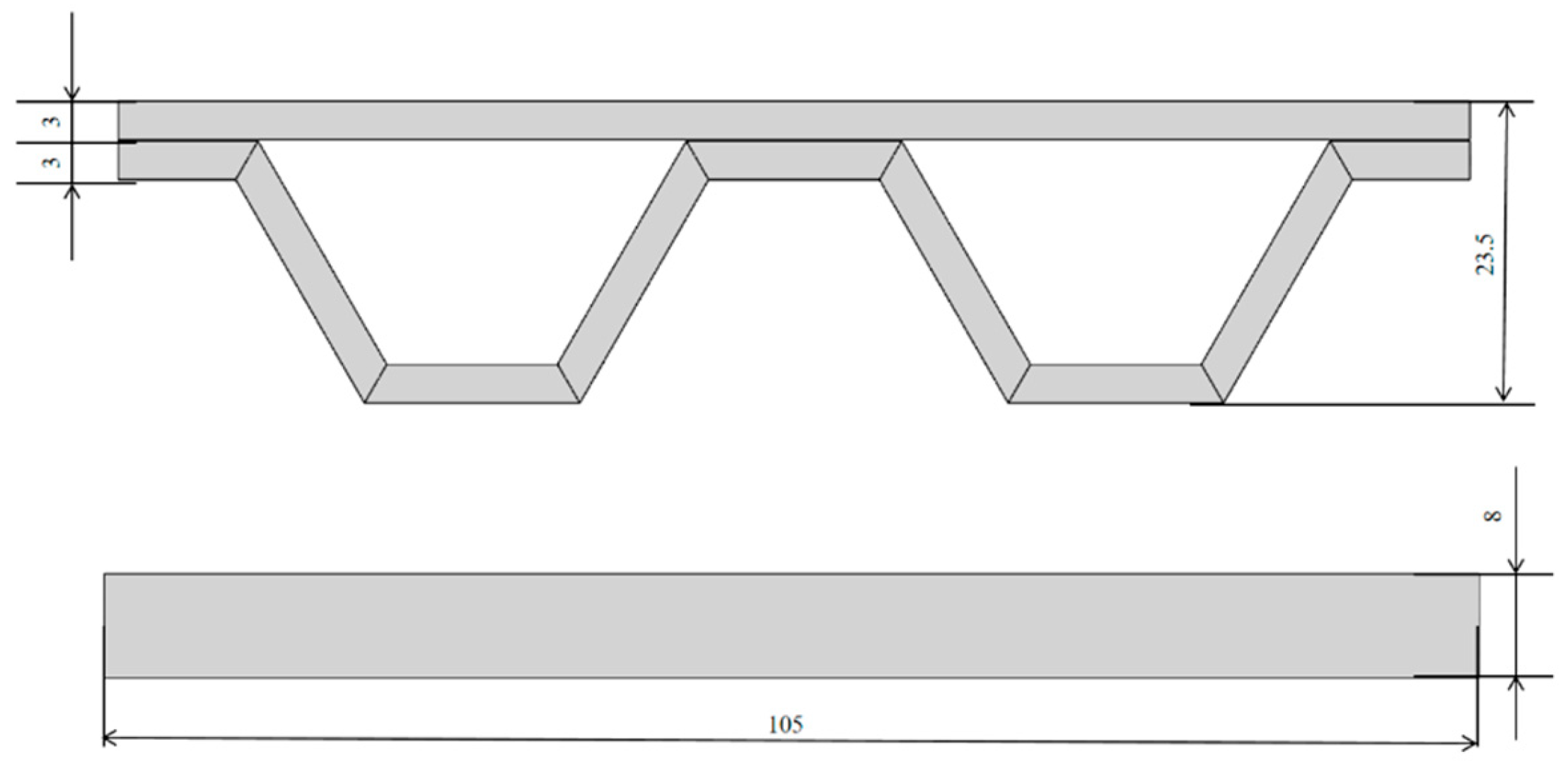
2.2. Experimental Process
2.2.1. Self-Sensing Experiment
2.2.2. Adaptive Load-Bearing Experiments
3. Results
3.1. Experimental Results of Self-Sensing Characterization
3.2. Adaptive Load-Bearing Experimental Results
4. Conclusions
- Continuous carbon fiber laminates still exhibit a significant force-resistance effect in 3D-printed truss structures, and this force-resistance effect can be used to achieve the perception of load size in 3D-printed structures.
- It is feasible to use the force of the load to drive the deformation of a support, such that the deformed support has a better load-bearing performance for the current load, and the adaptability of the support structure has a certain value.
- The strategy of using supporting components in groups, alternating load bearing, and implementing adaptive reinforcement in batches are feasible.
Author Contributions
Funding
Institutional Review Board Statement
Informed Consent Statement
Data Availability Statement
Conflicts of Interest
References
- Rokaya, D.; Skallevold, H.E.; Srimaneepong, V.; Marya, A.; Shah, P.K.; Khurshid, Z.; Zafar, M.S.; Sapkota, J. Shape memory polymeric materials for biomedical applications: An update. J. Compos. Sci. 2023, 7, 24. [Google Scholar] [CrossRef]
- McDonald-Wharry, J.; Amirpour, M.; Pickering, K.L.; Battley, M.; Fu, Y. Moisture sensitivity and compressive performance of 3D-printed cellulose-biopolyester foam lattices. Addit. Manuf. 2021, 40, 101918. [Google Scholar] [CrossRef]
- Liu, Y.; Du, H.; Liu, L.; Leng, J. Shape memory polymersand their composites in aerospace applications: A review. Smart Mater. Struct. 2014, 23, 023001. [Google Scholar] [CrossRef]
- Wychowaniec, J.K.; Brougham, D.F. Emerging magnetic fabrication technologies provide controllable hierarchically-structured biomaterials and stimulus response for biomedical applications. Adv. Sci. 2022, 9, e2202278. [Google Scholar] [CrossRef] [PubMed]
- Feng, X.; Zhao, L.; Mi, X.; Li, Y.; Xie, H.; Yin, X.; Gao, B. Improved shape memory composites combined with TiNi wire and shape memory epoxy. Mater. Des. 2013, 50, 724–727. [Google Scholar] [CrossRef]
- Wei, W.; Liu, J.; Huang, J.; Cao, F.; Qian, K.; Yao, Y.; Li, W. Recent advances and perspectives of shape memory polymer fibers. Eur. Polym. J. 2022, 175, 111385. [Google Scholar] [CrossRef]
- Dong, K.; Wang, Y.; Wang, Z.; Qiu, W.; Zheng, P.; Xiong, Y. Reusability and energy absorption behavior of 4D printed continuous fiber-reinforced auxetic composite structures. Compos. A Appl. Sci. Manuf. 2023, 169, 107529. [Google Scholar] [CrossRef]
- Wang, J.; Duan, Y.; Wang, B.; Qi, Y.; He, Q.; Xiao, H.; Zhao, Y.; Zhu, Y.; Ming, Y.; Wang, F. Cross-linking degree modulation of 4D printed continuous fiber reinforced thermosetting shape memory polymer composites with superior load bearing and shape memory effects. Mater. Today Chem. 2023, 34, 101790. [Google Scholar] [CrossRef]
- Ma, Y.; Wang, J.; Ma, J.; Guo, H.; Li, F.; Zhao, Y.; Chen, Y.; Wang, P. Investigation on optimization of preparation process parameters of GO-CF/SMP composites prepared by VIHPS. J. Mater. Sci. 2022, 57, 4541–4555. [Google Scholar] [CrossRef]
- Zhou, Y.; Yang, Y.; Jian, A.; Zhou, T.; Tao, G.; Ren, L.; Zang, J.; Zhang, Z. Co-extrusion 4D printing of shape memory polymers with continuous metallic fibers for selective deformation. Compos. Sci. Technol. 2022, 227, 109603. [Google Scholar] [CrossRef]
- Wu, H.; Zhang, X.; Ma, Z.; Zhang, C.; Ai, J.; Chen, P.; Yan, C.; Su, B.; Shi, Y. A Material Combination Concept to Realize 4D Printed Products with Newly Emerging Property/Functionality. Adv. Sci. 2020, 7, 1903208. [Google Scholar] [CrossRef] [PubMed]
- Zhao, Y.; Hua, M.; Yan, Y.; Wu, S.; Alsaid, Y.; He, X. Stimuli-Responsive Polymers for Soft Robotics. Annu. Rev. Control. Robot. Auton. Syst. 2022, 5, 515–545. [Google Scholar] [CrossRef]
- Wang, R.; Yuan, C.; Cheng, J.; He, X.; Ye, H.; Jian, B.; Li, H.; Bai, J.; Ge, Q. Direct 4D printing of ceramics driven by hydrogel dehydration. Nat. Commun. 2024, 15, 758. [Google Scholar] [CrossRef] [PubMed]
- He, K.; Liu, Y.; Wang, M.; Chen, G.; Jiang, Y.; Yu, J.; Wan, C.; Qi, D.; Xiao, M.; Leow, W.R.; et al. An Artificial Somatic Reflex Arc. Adv. Mater. 2020, 32, 1905399. [Google Scholar] [CrossRef] [PubMed]
- Chen, D.; Liu, Q.; Han, Z.; Zhang, J.; Song, H.; Wang, K.; Song, Z.; Wen, S.; Zhou, Y.; Yan, C.; et al. 4D Printing Strain Self-Sensing and Temperature Self-Sensing Integrated Sensor–Actuator with Bioinspired Gradient Gaps. Adv. Sci. 2020, 7, 2000584. [Google Scholar] [CrossRef] [PubMed]
- Ge, Q.; Sakhaei, A.H.; Lee, H.; Dunn, C.K.; Fang, N.X.; Dunn, M.L. Multimaterial 4D Printing with Tailorable Shape Memory Polymers. Sci. Rep. 2016, 6, 31110. [Google Scholar] [CrossRef] [PubMed]
- Pabst, O.; Beckert, E.; Perelaer, J.; Schubert, U.S.; Eberhardt, R.; Tünnermann, A. All inkjet-printed electroactive polymer actuators for microfluidic lab-on-chip systems. In Proceedings of the SPIE 8687, Electroactive Polymer Actuators and Devices (EAPAD), San Diego, CA, USA, 11–14 March 2013; Volume 86872. Available online: https://www.spiedigitallibrary.org/conference-proceedings-of-spie/8687/86872H/All-inkjet-printed-electroactive-polymer-actuators-for-microfluidic-lab-on/10.1117/12.2009605.full (accessed on 18 October 2024).
- Wei, H.; Zhang, Q.; Yao, Y.; Liu, L.; Liu, Y.; Leng, J. Direct-Write Fabrication of 4D Active Shape-Changing Structures Based on a Shape Memory Polymer and Its Nanocomposite. ACS Appl. Mater. Interfaces 2017, 9, 876–883. [Google Scholar] [CrossRef] [PubMed]
- Naficy, S.; Gately, R.; Gorkin, R., III; Xin, H.; Spinks, G.M. 4D Printing of Reversible Shape Morphing Hydrogel Structures. Macromol. Mater. Eng. 2017, 302, 1600212. [Google Scholar] [CrossRef]
- Wang, X.; Chung, D.D.L. Short carbon fiber reinforced epoxy coating as a piezoresistive strain sensor for cement mortar. Sens. Actuators A Phys. 1998, 71, 208–212. [Google Scholar] [CrossRef]









Disclaimer/Publisher’s Note: The statements, opinions and data contained in all publications are solely those of the individual author(s) and contributor(s) and not of MDPI and/or the editor(s). MDPI and/or the editor(s) disclaim responsibility for any injury to people or property resulting from any ideas, methods, instructions or products referred to in the content. |
© 2024 by the authors. Licensee MDPI, Basel, Switzerland. This article is an open access article distributed under the terms and conditions of the Creative Commons Attribution (CC BY) license (https://creativecommons.org/licenses/by/4.0/).
Share and Cite
Qin, Y.; Qiao, J.; Chi, S.; Tian, H.; Zhang, Z.; Liu, H. 4D Printing Self-Sensing and Load-Carrying Smart Components. Materials 2024, 17, 5903. https://doi.org/10.3390/ma17235903
Qin Y, Qiao J, Chi S, Tian H, Zhang Z, Liu H. 4D Printing Self-Sensing and Load-Carrying Smart Components. Materials. 2024; 17(23):5903. https://doi.org/10.3390/ma17235903
Chicago/Turabian StyleQin, Yi, Jianxin Qiao, Shuai Chi, Huichun Tian, Zexu Zhang, and He Liu. 2024. "4D Printing Self-Sensing and Load-Carrying Smart Components" Materials 17, no. 23: 5903. https://doi.org/10.3390/ma17235903
APA StyleQin, Y., Qiao, J., Chi, S., Tian, H., Zhang, Z., & Liu, H. (2024). 4D Printing Self-Sensing and Load-Carrying Smart Components. Materials, 17(23), 5903. https://doi.org/10.3390/ma17235903
