Pull-Out Progressive Damage and Failure Analysis of Laminated Composite Bolted Joints
Abstract
1. Introduction
2. The Model for Initial Damage
2.1. Damage Initiation
2.2. Damage Evolution
3. The Termination Condition of Damage Evolution
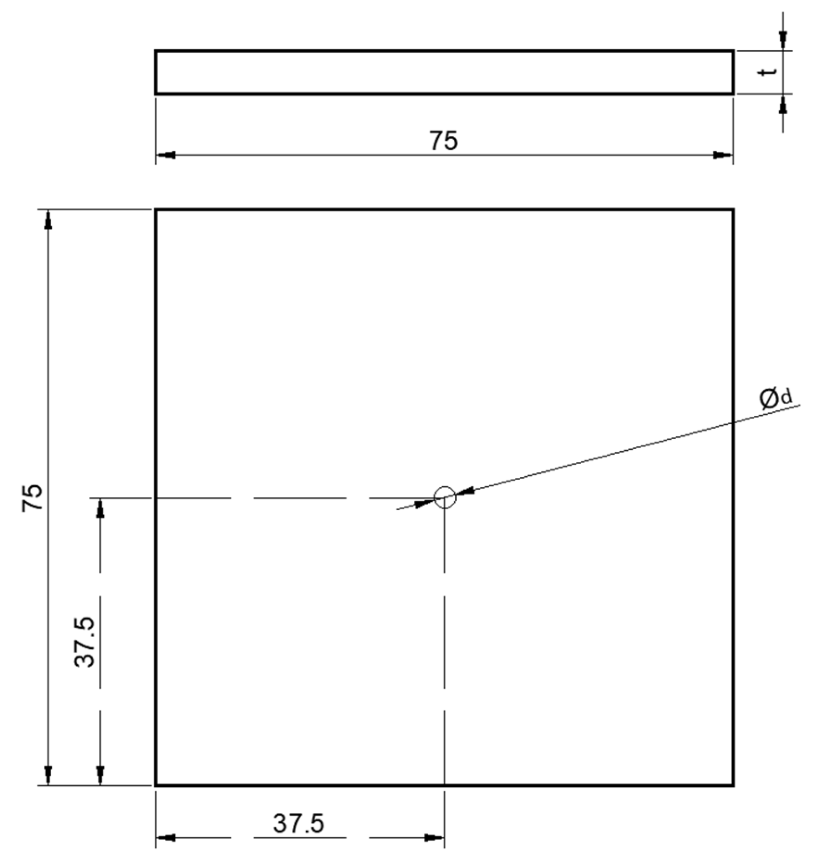
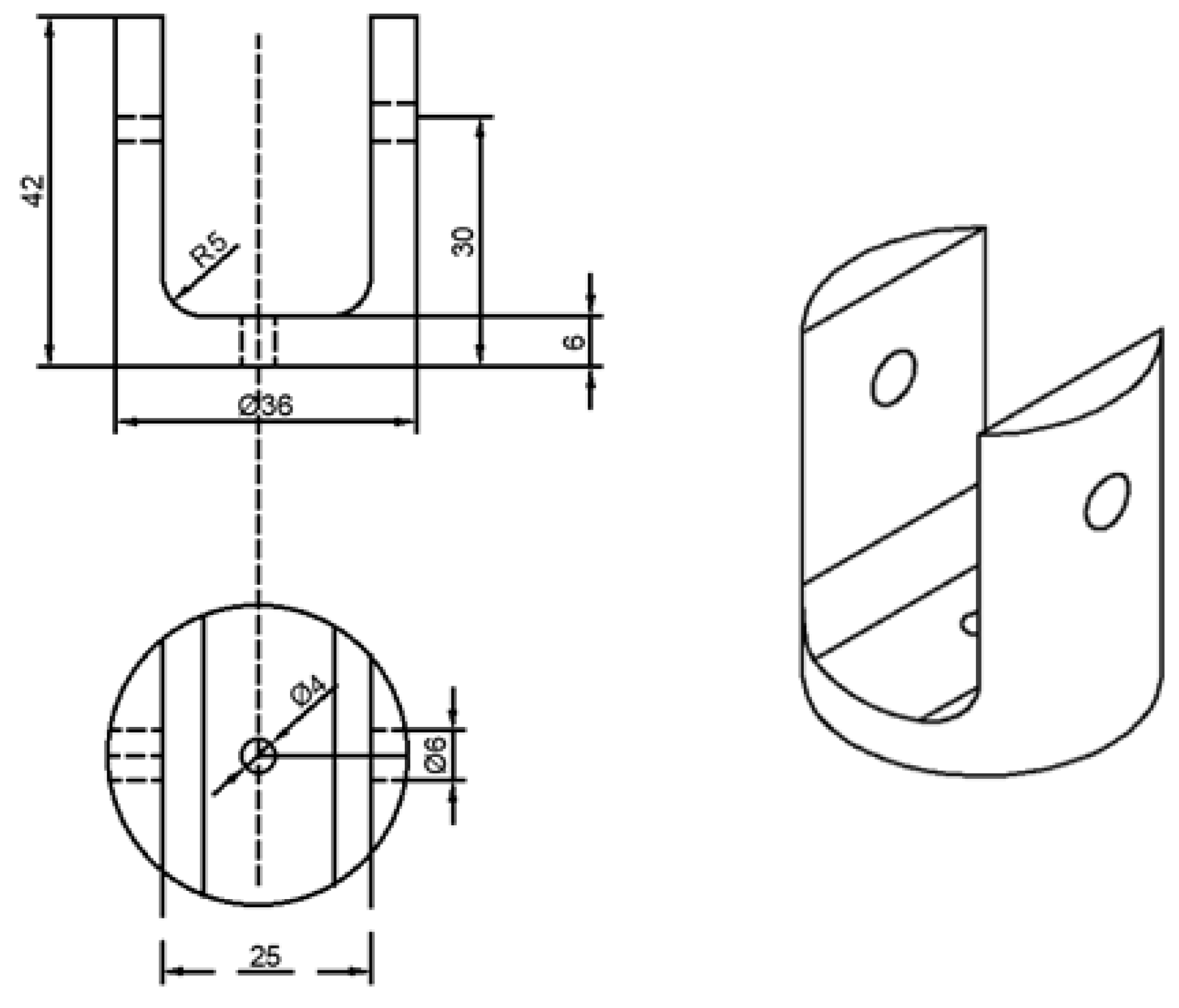
4. Modeling and Finite Element Implementation
5. Results and Discussion
5.1. Pullout Convex Head Model
5.2. Pullout Countersunk Model
6. Conclusions
- The model proposed in this paper can predict well the damage behavior of composite convex head bolt joints and countersunk bolted joints. The model proposed in this paper is used to analyze the composite lamination bolted structure with different plate thicknesses and apertures, and the correction coefficient of the influence of composite plate thickness and nail hole diameter on its strength is obtained.
- Due to the difference of bolt forms, the failure forms of composite laminates are different in the joints structure under the action of out-of-plane load. Among them, the failure mode of the convex head bolt is closer to brittle failure, while the countersunk head bolt is closer to plastic failure. The convex head bolted joints have better ultimate strength than the countersunk bolted joints, and the countersunk bolted joints have better plastic properties. When the countersunk bolted joints are subjected to tensile load, the stress distribution is uneven due to the conical structure of the countersunk bolt. Stress concentration occurs at the edge where the bolt head contacts the composite material.
- Through the work of this paper, the corresponding parameters of the bolted joint structure can be optimized in practical engineering so as to improve the overall safety and reliability of the structure, extend the service life of the structure and reduce the cost. The model proposed in this paper is not only applicable to the materials proposed in this paper, but also to other different material systems and layup structures.
Author Contributions
Funding
Institutional Review Board Statement
Informed Consent Statement
Data Availability Statement
Acknowledgments
Conflicts of Interest
References
- Adam, L.; Bouvet, C.; Castanié, B.; Daidiéet, A.; Bonhomme, E. Discrete ply model of circular pull-through test of fasteners in laminates. J. Compos. Struct. 2012, 94, 3082–3091. [Google Scholar] [CrossRef]
- Dou, G.Z.; Liu, F.; Wang, Z.Y. Research progress on mechanical properties of composite bolted joint structures. J. New Technol. New Process 2022, 1–5. [Google Scholar] [CrossRef]
- Vadean, A.; Leray, D.; Guillot, J. Bolted joints for very large bearings—Numerical model development. J. Finite Elem. Anal. Des. 2006, 42, 298–313. [Google Scholar] [CrossRef]
- Chang, F.K.; Chang, K.Y. Post-failure analysis of bolted composite joints in tension or shear-out mode failure. J. Compos. Mater. 1987, 21, 809–833. [Google Scholar] [CrossRef]
- Tang, Y.; Yan, F.; Zhang, J. Analysis of Pull-Out properties of carbon/carbon braided composite joint structures. J. Mech. Eng. 2023, 59, 196–206. [Google Scholar]
- Ireman, T. Three-dimensional stress analysis of bolted single-lap composite joints. J. Compos. Struct. 1998, 43, 195–216. [Google Scholar] [CrossRef]
- Gray, P.J.; O’higgins, R.M.; McCarthy, C.T. Effect of thickness and laminate taper on the stiffness, strength and secondary bending of single-lap, single-bolt countersunk composite joints. J. Compos. Struct. 2014, 107, 315–324. [Google Scholar] [CrossRef]
- Taheri-Behrooz, F.; Kashani, A.R.; Hefzabad, R.N. Effects of material nonlinearity on load distribution in multi-bolt composite joints. J. Compos. Struct. 2015, 125, 195–201. [Google Scholar] [CrossRef]
- Xiao, Y.; Ishikawa, T. Bearing strength and failure behavior of bolted composite joints (part II: Modeling and simulation). Compos. Sci. Technol. 2005, 65, 1032–1043. [Google Scholar] [CrossRef]
- Xiao, Y.; Ishikawa, T. Bearing strength and failure behavior of bolted composite joints (part I: Experimental investigation). Compos. Sci. Technol. 2005, 65, 1022–1031. [Google Scholar] [CrossRef]
- Ni, K.Q.; Meng, M.M.; Xu, Y.X. A method for strength analysis of bolted joint structures of composite laminates. Compos. Mater. Sci. Eng. 2024, 1–8. Available online: https://link.cnki.net/urlid/10.1683.TU.20240313.1712.002 (accessed on 3 November 2024).
- Egan, B.; McCarthy, M.A.; Frizzell, R.M. Modelling bearing failure in countersunk composite joints under quasi-static loading using 3D explicit finite element analysis. Compos. Struct. 2014, 108, 963–977. [Google Scholar] [CrossRef]
- Liang, K.; Wang, Z.; Yin, Z. Investigation on bearing capacity and fracture behaviour of the bolt in a flange joints considering multiple load cases. J. Struct. 2024, 62, 106252. [Google Scholar] [CrossRef]
- Pearce, G.M.; Johnson, A.F.; Hellier, A.K. A study of dynamic pull-through failure of composite bolted joints using the stacked-shell finite element approach. J. Compos. Struct. 2014, 118, 86–93. [Google Scholar] [CrossRef][Green Version]
- Kelly, G.; Hallström, S. Strength and failure mechanisms of composite laminates subject to localised transverse loading. J. Compos. Struct. 2005, 69, 301–314. [Google Scholar] [CrossRef]
- Stocchi, C.; Robinson, P.; Pinho, S.T. A detailed finite element investigation of composite bolted joints with countersunk fasteners. J. Compos. Part A Appl. Sci. Manuf. 2013, 52, 143–150. [Google Scholar] [CrossRef]
- Veisi, H.; Hosseini Kordkheili, S.A.; Toozandehjani, H. Progressive bearing failure modeling of composites with double-bolted joints at mesoscale level. J. Arch. Appl. Mech. 2014, 84, 657–669. [Google Scholar] [CrossRef]
- Sharos, P.A.; McCarthy, C.T. Novel finite element for near real-time design decisions in multi-fastener composite bolted joints under various loading rates. J. Compos. Struct. 2020, 240, 112005. [Google Scholar] [CrossRef]
- Giannopoulos, I.K.; Doroni-Dawes, D.; Kourousis, K.I. Effects of bolt torque tightening on the strength and fatigue life of airframe FRP laminate bolted joints. J. Compos. Part B Eng. 2017, 125, 19–26. [Google Scholar] [CrossRef]
- Montagne, B.; Lachaud, F.; Paroissien, E. Failure analysis of single lap composite laminate bolted joints: Comparison of experimental and numerical tests. J. Compos. Struct. 2020, 238, 111949. [Google Scholar] [CrossRef]
- Qu, H.; Li, D.; Li, R. Effect of forced assembly on bearing performance of single-lap, countersunk composite bolted joints–Part II: Numerical investigation. J. Compos. Struct. 2023, 319, 117169. [Google Scholar] [CrossRef]
- Shan, M.J.; Liu, F.; Fang, Z. A bi-material property based FE modelling method for progressive damage analyses of composite double-lap bolted joints. J. Results Phys. 2018, 11, 674–683. [Google Scholar] [CrossRef]
- Shan, M.J.; Zhang, R.; Yu, G. A characteristic curve-based numerical framework for predicting strength of multi-bolted composite joints subjected to hygrothermal condition. Chin. J. Aeronaut. 2024, 37, 265–277. [Google Scholar] [CrossRef]
- Guo, Z.; Wei, S.; Kuai, P. Numerical analysis of tensile failure of bolted composite laminates. J. Multidiscip. Model. Mater. Struct. 2023, 19, 99–110. [Google Scholar] [CrossRef]
- Shi, D.; Demartino, C.; Li, Z. Axial load–deformation behavior and fracture characteristics of bolted steel to laminated timber and glubam connections. J. Compos. Struct. 2023, 305, 116486. [Google Scholar] [CrossRef]
- Lin, Q.Y.; Zhao, Y.; Yan, C.; Liu, Y.M.; Pan, W. Progressive bearing failure analysis and strength prediction method for the initial assembly and tensile process of composite bolted joints. J. Compos. Part A Appl. Sci. Manuf. 2024, 187, 108476. [Google Scholar]
- Zhao, Y.; Liu, Y.; Lin, Q.Y.; Pan, W.; Yu, W.C. A conditional generative model for end-to-end stress field prediction of composite bolted joints. J. Eng. Appl. Artif. Intell. 2024, 134, 108692. [Google Scholar] [CrossRef]
- Liu, G.; Zhang, L.; Guo, L.C. Multi-scale progressive failure simulation of 3D woven composites under uniaxial tension. J. Compos. Struct. 2019, 208, 233–243. [Google Scholar] [CrossRef]
- Liu, G.; Huang, K.; Zhong, Y. Investigation on the off-axis tensile failure behaviors of 3D woven composites through a coupled numerical-experimental approach. J. Thin-Walled Struct. 2023, 192, 111176. [Google Scholar] [CrossRef]
- Catalanotti, G.; Camanho, P.P.; Marques, A.T. Three-dimensional failure criteria for fiber-reinforced laminates. J. Compos. Struct. 2013, 95, 63–79. [Google Scholar] [CrossRef]
- Liu, G.; Li, C.; Luo, W.J. Investigation on the Progressive Damage and Bearing Failure Behavior of Composite Laminated Bolted Joints under Tension. J. Cryst. 2023, 13, 729. [Google Scholar] [CrossRef]
- ASTM D7332-2009B; Standard Test Method for Measuring the Fastener Pull-Through Resistance of a Fiber-Reinforced Polymer Matrix Composite. ASTM International: West Conshohocken, PA, USA, 2009.
- Li, X.; Li, Y.; Li, F. Failure analysis and experimental study on bolted composite joints based on continuum damage mechanics. J. Compos. Struct. 2023, 303, 116274. [Google Scholar] [CrossRef]
- Dano, M.L.; Kamal, E.; Gendron, G. Analysis of bolted joints in composite laminates: Strains and bearing stiffness predictions. J. Compos. Struct. 2007, 79, 562–570. [Google Scholar] [CrossRef]





















| di1 | di2 | Ri1 | Ri2 | Ri3 |
|---|---|---|---|---|
| 0.75 | 0.90 | 20 | 25 | 30 |
| Material Property | Numerical Value |
|---|---|
| Longitudinal Young’s modulus, (GPa) | 175 |
| Transverse Young’s modulus, (Gpa), (Gpa) | 8.05 |
| Poisson’s ratio, , , | 0.32 |
| Shear modulus, (Gpa), (Gpa), (Gpa) | 4.37 |
| Longitudinal tensile strength, (Mpa) | 2737 |
| Longitudinal compressive strength, (Mpa) | 1602 |
| Transverse tensile strength, (Mpa) (Mpa) | 86.4 |
| Transverse compressive strength, (Mpa) (Mpa) | 212.8 |
Disclaimer/Publisher’s Note: The statements, opinions and data contained in all publications are solely those of the individual author(s) and contributor(s) and not of MDPI and/or the editor(s). MDPI and/or the editor(s) disclaim responsibility for any injury to people or property resulting from any ideas, methods, instructions or products referred to in the content. |
© 2024 by the authors. Licensee MDPI, Basel, Switzerland. This article is an open access article distributed under the terms and conditions of the Creative Commons Attribution (CC BY) license (https://creativecommons.org/licenses/by/4.0/).
Share and Cite
Zeng, Z.; Fan, Q.; Liao, F.; Liu, G.; Yan, J. Pull-Out Progressive Damage and Failure Analysis of Laminated Composite Bolted Joints. Materials 2024, 17, 5747. https://doi.org/10.3390/ma17235747
Zeng Z, Fan Q, Liao F, Liu G, Yan J. Pull-Out Progressive Damage and Failure Analysis of Laminated Composite Bolted Joints. Materials. 2024; 17(23):5747. https://doi.org/10.3390/ma17235747
Chicago/Turabian StyleZeng, Zhaowei, Qixiang Fan, Feng Liao, Gang Liu, and Jianwei Yan. 2024. "Pull-Out Progressive Damage and Failure Analysis of Laminated Composite Bolted Joints" Materials 17, no. 23: 5747. https://doi.org/10.3390/ma17235747
APA StyleZeng, Z., Fan, Q., Liao, F., Liu, G., & Yan, J. (2024). Pull-Out Progressive Damage and Failure Analysis of Laminated Composite Bolted Joints. Materials, 17(23), 5747. https://doi.org/10.3390/ma17235747
