Experimental Investigation and Numerical Analysis Regarding the Influence of Cutting Parameters on the Asphalt Milling Process
Abstract
1. Introduction
2. Materials and Methods
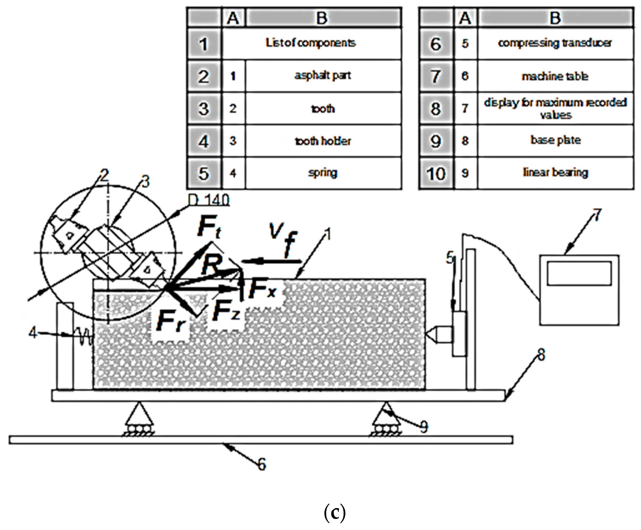
2.1. Description of the Experimental Stand
2.2. DEM Investigation
2.3. Theoretical Aspects Regarding the Asphalt Milling Process
2.4. Conditions for Running the Experimental Program
- -
- drum speed, between 0–210 rpm;
- -
- advance speed, between 0–15 (30) m/min.
2.5. DOE Analysis
3. Results and Discussion
3.1. Comparative Analysis Regarding the Influence of Cutting Parameters on the Resistance Force during Asphalt Milling
3.2. Statistical Response Analysis Based on Numerical and Experimental Results of the Cutting Force
3.2.1. The Results of Numerical and Experimental Investigation
3.2.2. Statistical Analysis Regarding the Influence of Milling Parameters on the Cutting Forces Acting on the Tooth
3.2.3. Regression Analysis
- A.
- Constant milling depth
- B.
- Constant rotation speed
4. Conclusions
- ✓
- The numerical results indicate that an increase in rotational speed generally leads to an increase in horizontal cutting force. Conversely, an increase in advance speed typically results in a decrease in horizontal cutting force;
- ✓
- Within each milling depth, the horizontal cutting force varies with different advance speeds. Generally, higher advance speeds correspond to higher cutting forces, indicating that faster feed rates require greater force to sustain the milling process;
- ✓
- Milling depth emerges as the primary factor influencing cutting force, highlighting its critical role in the milling process;
- ✓
- Through experimental, numerical, and statistical analysis, it was determined that the optimal combination of milling parameters to achieve minimum horizontal force acting on the cutting tooth are 15 mm milling depth and 190 mm/min;
- ✓
- Based on the optimization results, new, economically viable operation modes of equipment, along with rational design and technological parameters of machines, can be identified. The identified optimal milling parameters not only contribute to reducing cutting forces but also have implications for minimizing tooth wear. By minimizing the forces exerted on the cutting tooth, this results in reduced mechanical stress and friction experienced by the cutting tooth, leading to less abrasive wear and fatigue, resulting in extended tool life. A reduction in tooth wear means fewer instances of tool replacements, leading to cost savings and improved operational efficiency;
- ✓
- Despite discrepancies between experimental and numerical results, consistent trends in the relative influence of milling parameters on cutting force were observed, emphasizing the importance of optimizing parameters for reducing cutting force in machining processes;
- ✓
- However, it is important to specify that not all process parameters can be replicated on such machines in the same way as they operate on real machines. Cutting speeds on such equipment will notably be lower, potentially resulting in reduced cutting resistance forces. Additionally, refining DEM models to better replicate the inhomogeneity and anisotropy of real asphalt materials, exploring the application of the identified optimal milling parameters in actual road construction and maintenance scenarios to validate the laboratory findings and developing new cutter tooth designs and materials to further enhance tool durability and performance in asphalt milling applications remain topics for further investigations;
- ✓
- The scientific contribution of this research includes the development of an original experimental program to determine the forces involved in asphalt milling and the validation of numerical modeling (DEM) as a cost-effective alternative to physical experiments. This study enhances the understanding of the relationship between milling parameters and cutting forces, providing valuable data for optimizing milling operations;
- ✓
- The experimental results can offer solutions for choosing the milling parameters to minimize the values of cutting forces. Reducing the forces will result in reducing the cutting tool wear [2] and increasing its durability;
- ✓
- Overall, the experimental setup and methodology described herein provide a base for studying the asphalt milling process and understanding the factors influencing cutting forces and material removal. The insights gained from this study have implications for optimizing milling operations in road construction and maintenance, potentially leading to improvements in efficiency and performance.
Author Contributions
Funding
Data Availability Statement
Conflicts of Interest
References
- Dumitru, T.; Ilincă, C.; Tănase, M. Influence of Technological Parameters on the Behaviour in Operation of the Asphalt Milling Equipment. IOP Conf. Ser. Mater. Sci. Eng. 2022, 1262, 012018. [Google Scholar] [CrossRef]
- Dumitru, T.; Petrescu, M.G.; Tănase, M.; Laudacescu, E. The Application of Tribological Tests to Study the Wear Behavior of Asphalt Cutter Teeth: An Experimental Investigation Using Baroid Tribometer. Coatings 2023, 13, 1251. [Google Scholar] [CrossRef]
- Dumitru, T.; Petrescu, M.G.; Tănase, M.; Ilincă, C.N. Multi-Response Optimization Analysis of the Milling Process of Asphalt Layer Based on the Numerical Evaluation of Cutting Regime Parameters. Processes 2023, 11, 2401. [Google Scholar] [CrossRef]
- Furmanov, D.V.; Lysakov, N.E.; Shamakhov, L.M. Experimental and Analytical Justification of the Asphalt Concrete Cutting Process by Road Milling Machines Working Equipment. Russ. Automob. Highw. Ind. J. 2022, 19, 170–182. [Google Scholar] [CrossRef]
- Furmanov, D.V.; Shamakhov, L.M.; Lysakov, N.E. Wear out Effect for Cutting Element of Milling Machine on Asphalt Concrete Cutting Strength. Russ. Automob. Highw. Ind. J. 2023, 20, 204–216. [Google Scholar] [CrossRef]
- Furmanov, D.V. Comparative Analysis of Experimental Methods to Assess the Resistance of Milling Road Asphalt Concrete. IOP Conf. Ser. Mater. Sci. Eng. 2021, 1103, 012005. [Google Scholar] [CrossRef]
- Bobrenkov, O.A.; Khasawneh, F.A.; Butcher, E.A.; Mann, B.P. Analysis of Milling Dynamics for Simultaneously Engaged Cutting Teeth. J. Sound Vib. 2010, 329, 585–606. [Google Scholar] [CrossRef]
- Wu, J.; Li, D.; Zhu, B.; Wu, C. Milling Process Simulation of Old Asphalt Mixture by Discrete Element. Constr. Build. Mater. 2018, 186, 996–1004. [Google Scholar] [CrossRef]
- Varga, J.; Demko, M.; Kaščák, Ľ.; Ižol, P.; Vrabeľ, M.; Brindza, J. Influence of Tool Inclination and Effective Cutting Speed on Roughness Parameters of Machined Shaped Surfaces. Machines 2024, 12, 318. [Google Scholar] [CrossRef]
- Zagórski, I.; Zgórniak, P.; Habrat, W.; Machado, J.; Legutko, S. Methodology of Chip Temperature Measurement and Safety Machining Assessment in Dry Rough Milling of Magnesium Alloys Using Different Helix Angle Tools. Materials 2024, 17, 2063. [Google Scholar] [CrossRef]
- Zawada-Michałowska, M.; Pieśko, P.; Mrówka-Nowotnik, G.; Nowotnik, A.; Legutko, S. Effect of the Technological Parameters of Milling on Residual Stress in the Surface Layer of Thin-Walled Plates. Materials 2024, 17, 1193. [Google Scholar] [CrossRef]
- Sebbe, N.P.V.; Fernandes, F.; Silva, F.J.G.; Pedroso, A.F.V.; Sales-Contini, R.C.M.; Barbosa, M.L.S.; Durão, L.M.; Magalhães, L.L. Wear Behavior of TiAlVN-Coated Tools in Milling Operations of INCONEL® 718. Coatings 2024, 14, 311. [Google Scholar] [CrossRef]
- Kowalczyk, M. Analysis of Cutting Forces and Geometric Surface Structures in the Milling of NiTi Alloy. Materials 2024, 17, 488. [Google Scholar] [CrossRef]
- Jiang, B.; Nie, Q.; Zhao, P.; Ma, Q.; Sun, S. Identification Method for Instantaneous Friction and Wear Energy Density Variation of High-Feed Milling Tool Flank. Appl. Sci. 2023, 13, 4807. [Google Scholar] [CrossRef]
- Sivilevičius, H.; Martišius, M. Field Investigation and Assessment on the Wear of Asphalt Pavement Milling Machine Picks. Transport 2022, 36, 499–509. [Google Scholar] [CrossRef]
- Furmanov, D.V.; Lysakov, N.E.; Shamahov, L.M. Experimental Justification of Geometrical Model of Cut Chip Cross-Section during Asphalt Milling. In Innovations and Technologies in Construction; Klyuev, S.V., Klyuev, A.V., Vatin, N.I., Eds.; Lecture Notes in Civil Engineering; Springer International Publishing: Cham, Switzerland, 2021; Volume 151, pp. 296–301. ISBN 978-3-030-72909-7. [Google Scholar]
- Pirnaev, S.; Sindarov, R.; Dzhumabeva, F.; Saidova, S. Technique for Experimental Studies of Asphalt Concrete Milling Process. E3S Web Conf. 2021, 264, 02016. [Google Scholar] [CrossRef]
- Furmanov, D.; Chizhov, V.; Tyuremnov, I.; Troshin, D. Loads on Cutter Teeth for Removing Asphalt Pavement. E3S Web Conf. 2019, 97, 06031. [Google Scholar] [CrossRef]
- Blum, J.; Anderegg, R. Modelling of an Innovative Technology for Pavement Milling. IFAC-Pap. 2016, 49, 591–597. [Google Scholar] [CrossRef]
- Guan, Y.; Guan, H. Algorithms for Modelling 3D Flexible Pavements and Simulation of Vibration Cutting by the DEM. Int. J. Pavement Eng. 2019, 20, 1127–1139. [Google Scholar] [CrossRef]
- Diouri, K.; Bousselham, R.; De, A.; Hera, A.; El-Korchi, T.; Mallick, R.B. A Study on the Effect of Milling on Stress Distributions in Asphalt Pavements. In Proceedings of the 9th International Conference on Maintenance and Rehabilitation of Pavements—Mairepav9, Zurich, Switzerland, 1–3 July 2020; Raab, C., Ed.; Lecture Notes in Civil Engineering. Springer International Publishing: Cham, Switzerland, 2020; Volume 76, pp. 953–964, ISBN 978-3-030-48678-5. [Google Scholar]
- Nooraie, R.Y.; Safari, M.; Pak, A. Tool Wear Estimation in Machining Based on the Flank Wear Inclination Angle Changes Using the FE Method. Mach. Sci. Technol. 2020, 24, 425–445. [Google Scholar] [CrossRef]
- Zhou, L.; Liu, Y.; Wang, Z.; Li, Y.; Zhang, K.; Zhang, G. Numerical Analysis of Asphalt Concrete Milling Process Based on Multicomponent Modeling. Review 2020. [CrossRef]
- Makange, N.R.; Ji, C.; Torotwa, I. Prediction of Cutting Forces and Soil Behavior with Discrete Element Simulation. Comput. Electron. Agric. 2020, 179, 105848. [Google Scholar] [CrossRef]
- Picos, C. Proiectarea Tehnologiilor de Prelucrare Mecanică Prin Aşchiere; Editure Universitas: Chişinău, Moldova, 1992. [Google Scholar]
- Hardness—Mohs Hardness Scale Asphalt Transparent PNG—600 × 600—Free Download on NicePNG. Available online: https://www.nicepng.com/ourpic/u2r5w7o0i1r5a9r5_hardness-mohs-hardness-scale-asphalt/ (accessed on 21 April 2024).
- Hard Aggregate Source Location Study. Available online: https://dot.alaska.gov/stwddes/desmaterials/assets/pdf/hard_ashpalt_aggregate_study/final_report_hard_aggregate_study_4.pdf (accessed on 21 April 2024).
- What Is the Mohs Hardness for Cast Iron? Google Will Only Show Me the Hardness for Iron, Which Is 4, but I Presume Cast Iron Will Differ Due to the Carbon and What Not.—Quora. Available online: https://www.quora.com/What-is-the-Mohs-hardness-for-cast-iron-Google-will-only-show-me-the-hardness-for-iron-which-is-4-but-I-presume-cast-iron-will-differ-due-to-the-carbon-and-what-not (accessed on 21 April 2024).
- Cutting Force Model for Tool Wear Estimation. Available online: https://websites.umich.edu/~ykoren/uploads/Cutting_Force_Model_for_Tool_Wear_Estimation.pdf (accessed on 8 May 2024).
- WIRTGEN Products|Wirtgen. Available online: https://www.wirtgen-group.com/ocs/en-us/wirtgen/wirtgen-products-95-c/ (accessed on 8 May 2024).
- Jiang, Y.-Z.; Liao, G.-W.; Zhu, S.-S.; Hu, Y.-F. Investigation on Cutting Resistance Characteristic of Bucket Wheel Excavator Using DEM and DOE Methods. Simul. Model. Pract. Theory 2021, 111, 102339. [Google Scholar] [CrossRef]
- Kanchana, J.; Prasath, V.; Krishnaraj, V.; Geetha Priyadharshini, B. Multi Response Optimization of Process Parameters Using Grey Relational Analysis for Milling of Hardened Custom 465 Steel. Procedia Manuf. 2019, 30, 451–458. [Google Scholar] [CrossRef]
- Kalyon, A.; Günay, M.; Özyürek, D. Application of Grey Relational Analysis Based on Taguchi Method for Optimizing Machining Parameters in Hard Turning of High Chrome Cast Iron. Adv. Manuf. 2018, 6, 419–429. [Google Scholar] [CrossRef]



















| Name of Characteristic | Characteristic Value |
|---|---|
| Table length, mm | 1325 |
| Table width, mm | 320 |
| Table working area, mm | 320 × 1325 |
| Length of table travel on axis: X/Y/Z, mm | 700/250/370 |
| Table turning angle, degrees | +/−45 |
| Number of main spindle speed steps | 18 |
| Main spindle speed steps limits, rot/min | 30–1500 |
| Number of working advance/feed steps | 18 |
| Limits of working advance steps, mm/min: longitudinal, transversal/vertical | 19–950/¼ of the mentioned values |
| Fast table feed, mm/min: longitudinal, transversal/vertical | 2300/ ¼ of the mentioned value |
| Main electric motor power, kW | 7.5 |
| Secondary electric motor power (for feed movements), kW | 2.2 |
| Net mass, kg | 3100 |
| Material | Composition, % | |
|---|---|---|
| Mineral aggregate | Size 4–8 mm | 22 |
| Size 8–16 mm | 43 | |
| Sand | 19 | |
| Filler | 10 | |
| Bitumen | 6 | |
| Milling Depth, ap [mm] | Milling Drum Rotation Speed, n [rpm] | Advanced Speed, vf [mm/min] |
Angle of Attack, α [°] |
|---|---|---|---|
| 15/30/50 | 30/75/300 | 30/75/118/190/235/375 | 60 |
| Test No. | Parameters | |
|---|---|---|
| Milling Depth, mm | Advanced Speed, mm/min | |
| 1 | 15 | 190 |
| 2 | 15 | 235 |
| 3 | 15 | 375 |
| 4 | 30 | 190 |
| 5 | 30 | 235 |
| 6 | 30 | 375 |
| 7 | 50 | 190 |
| 8 | 50 | 235 |
| 9 | 50 | 375 |
| Crt. No. | Rotation Speed, rpm | Advanced Speed vf, [mm/min] | Horizontal Cutting Force Fz, [N] | |
|---|---|---|---|---|
| Experimental, Fz1 | DEM (Multiplied with q According to (5), Fz2) | |||
| 1. | 30 | 30 | 472 | 409 |
| 2. | 75 | 627 | 775 | |
| 3. | 118 | 978 | 990 | |
| 4. | 190 | 133 | 555 | |
| 5. | 235 | 754 | 660 | |
| 6. | 375 | 962 | 924 | |
| 7. | 75 | 30 | 292 | 3367 |
| 8. | 75 | 415 | 2806 | |
| 9. | 118 | 522 | 2751 | |
| 10. | 190 | 791 | 2191.2 | |
| 11. | 235 | 965 | 2673 | |
| 12. | 375 | 1724 | 2838 | |
| 13. | 300 | 30 | 412 | 8118 |
| 14. | 75 | 502 | 7590 | |
| 15. | 118 | 414 | 8580 | |
| 16. | 190 | 317 | 8052 | |
| 17. | 235 | 394 | 12,342 | |
| 18. | 375 | 400 | 6600 | |
| Milling Depth, mm | Advanced Speed, mm/min | Horizontal Force, N | ||
|---|---|---|---|---|
| Experimental | DEM | DEM Multiplied by q | ||
| 15 | 190 | 605 | 300 | 1980 |
| 15 | 235 | 518 | 285 | 1881 |
| 15 | 375 | 616 | 330 | 2178 |
| 30 | 190 | 791 | 332 | 2191.2 |
| 30 | 235 | 965 | 405 | 2673 |
| 30 | 375 | 1724 | 430 | 2838 |
| 50 | 190 | 1452 | 420 | 2772 |
| 50 | 235 | 2706 | 460 | 3036 |
| 50 | 375 | 2234 | 450 | 2970 |
| Term | Coef | SE Coef | T-Value | p-Value | VIF |
|---|---|---|---|---|---|
| Constant | −810 | 550 | −1.47 | 0.191 | |
| Milling depth, mm | 44.54 | 9.20 | 4.84 | 0.003 | 1.00 |
| Advanced speed, mm/min | 2.59 | 1.68 | 1.54 | 0.173 | 1.00 |
| Source | DF | Seq SS | Contribution | Adj SS | Adj MS |
|---|---|---|---|---|---|
| Regression | 3 | 4,075,761 | 81.76% | 4,075,761 | 1,358,587 |
| Milling depth, mm | 1 | 3,670,437 | 73.63% | 139,069 | 139,069 |
| Advanced speed, mm/min | 1 | 373,958 | 7.50% | 8260 | 8260 |
| Milling depth, mm·Advanced speed, mm/min | 1 | 31,365 | 0.63% | 31,365 | 31,365 |
| Error | 5 | 909,142 | 18.24% | 909,142 | 181,828 |
| Total | 8 | 4,984,903 | 100.00% | ||
| Source | F-Value | p-Value | |||
| Regression | 7.47 | 0.027 | |||
| Milling depth, mm | 0.76 | 0.422 | |||
| Advanced speed, mm/min | 0.05 | 0.840 | |||
| Milling depth, mm·Advanced speed, mm/min | 0.17 | 0.695 | |||
Disclaimer/Publisher’s Note: The statements, opinions and data contained in all publications are solely those of the individual author(s) and contributor(s) and not of MDPI and/or the editor(s). MDPI and/or the editor(s) disclaim responsibility for any injury to people or property resulting from any ideas, methods, instructions or products referred to in the content. |
© 2024 by the authors. Licensee MDPI, Basel, Switzerland. This article is an open access article distributed under the terms and conditions of the Creative Commons Attribution (CC BY) license (https://creativecommons.org/licenses/by/4.0/).
Share and Cite
Petrescu, M.G.; Dumitru, T.; Laudacescu, E.; Tănase, M. Experimental Investigation and Numerical Analysis Regarding the Influence of Cutting Parameters on the Asphalt Milling Process. Materials 2024, 17, 3475. https://doi.org/10.3390/ma17143475
Petrescu MG, Dumitru T, Laudacescu E, Tănase M. Experimental Investigation and Numerical Analysis Regarding the Influence of Cutting Parameters on the Asphalt Milling Process. Materials. 2024; 17(14):3475. https://doi.org/10.3390/ma17143475
Chicago/Turabian StylePetrescu, Marius Gabriel, Teodor Dumitru, Eugen Laudacescu, and Maria Tănase. 2024. "Experimental Investigation and Numerical Analysis Regarding the Influence of Cutting Parameters on the Asphalt Milling Process" Materials 17, no. 14: 3475. https://doi.org/10.3390/ma17143475
APA StylePetrescu, M. G., Dumitru, T., Laudacescu, E., & Tănase, M. (2024). Experimental Investigation and Numerical Analysis Regarding the Influence of Cutting Parameters on the Asphalt Milling Process. Materials, 17(14), 3475. https://doi.org/10.3390/ma17143475

