Deflections and Stresses in Rectangular, Circular and Elliptical Insulating Glass Units
Abstract
1. Introduction
- p0, T0—initial parameters of gas in the gap: pressure [kPa] and temperature [K], parameters obtained in the production process, it is assumed that the panes delimiting the gap are perfectly parallel to each other,
- v0—initial volume of the gap [m3], resulting from its nominal dimensions,
- pop, Top, vop—operating parameters—similarly; they reflect the state of temporary equilibrium between the parameters of gas in the gap and the external loads.
2. Methodology of Research
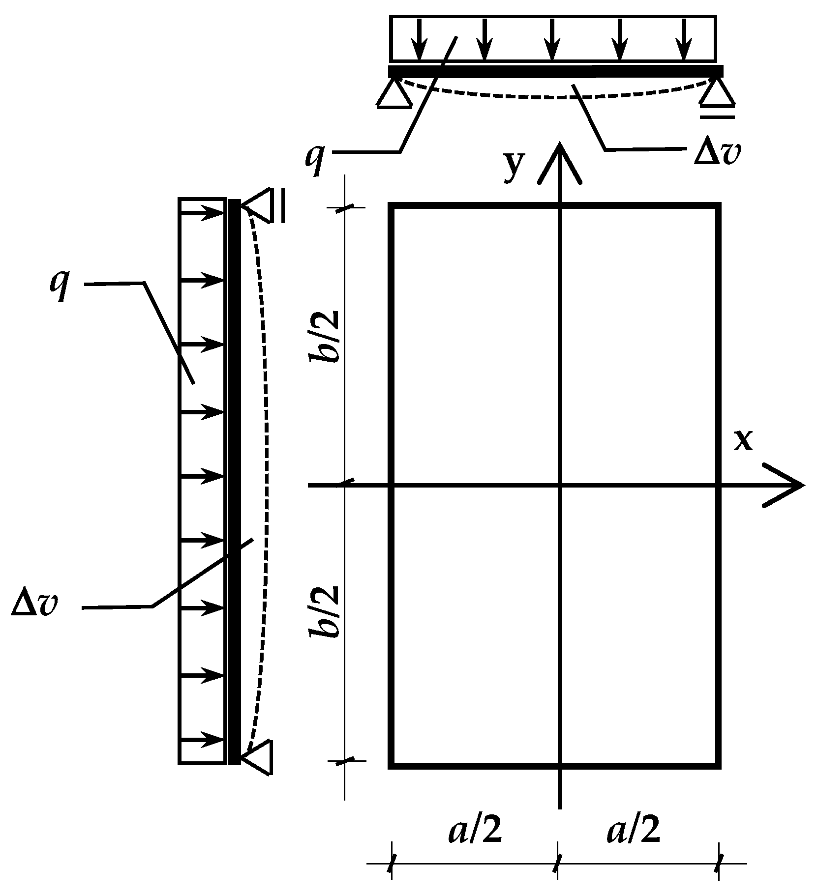
2.1. Analytical Model of a Rectangular Multi-Glazed IGU
- a, b—width and length of glass panes [m],
- w(x,y)—function of deflection [m],
- αv—proportionality factor [m5/kN],
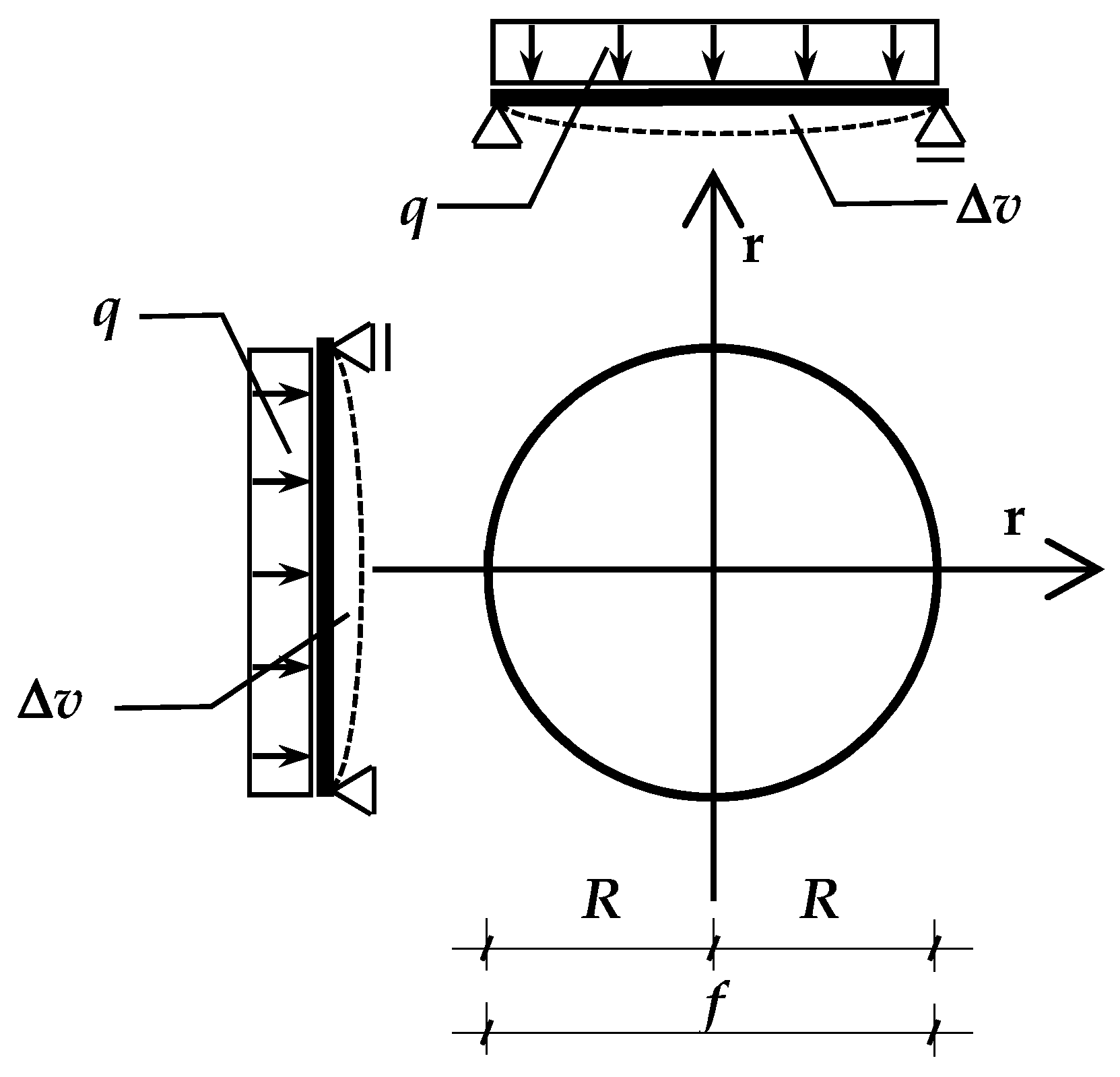
2.2. Analytical Model of a Circular Multi-Glazed IGU
2.3. Numerical Model for Determining Static Quantities in IGUs
3. Results
3.1. Comparison of Static Quantities in Square and Circular IGUs
- symmetrical load—a decrease in the external atmospheric pressure by 5 kPa, i.e., pa = 95 kPa (similar effects occur with an increase in gas temperature in the gap, e.g., by 15.5 K with dimensions of 0.8 × 0.8 m), in the case of a double-glazed IGU, the deflection and the stress are the same (in absolute value) in both component panes;
- wind pressure load—assumed at qz,ex = 0.3 kN/m2, which corresponds to wind speed of about 80 km/h [29]; due to the interaction of the gas in the gap, the component glass panes are coupled together; with large IGUs, the external load is distributed almost equally on both panes, with smaller sizes, most of the load is taken by the directly loaded pane; the results presented below are for the more loaded pane.
3.2. Comparison of Static Quantities in Multi-Glazed IGUs
3.3. Comparison of Static Quantities in Rectangular and Elliptical IGUs
4. Discussion
5. Conclusions
Author Contributions
Funding
Institutional Review Board Statement
Informed Consent Statement
Data Availability Statement
Conflicts of Interest
Nomenclature
| A | auxiliary parameters [m3] or [kPa] |
| a | width or minor axis of ellipse [m] |
| B | auxiliary parameters [m5/kN] or [kPa] |
| b | length or major axis of ellipse [m] |
| c | auxiliary parameters [kPa] |
| D | flexural rigidity (of glass pane) [kNm] |
| d | thickness (of glass pane) [m] or [mm] |
| E | Young’s modulus [kPa] or [GPa] |
| f | diameter of circular IGU [m] |
| i | consecutive natural number |
| k | dimensionless coefficient regarding stress [-] |
| M | molecular weight [g/mol] |
| p | pressure [kPa] |
| q | resultant load (of glass pane) or outside load [kN/m2] |
| R | radius of circular IGU [m] |
| Ru | universal gas constant [J/(K·mol)] |
| r | coordinate in the polar system |
| T | temperature (of gas in the gap) [K] or [°C] |
| U | thermal transmittance [W/(m2·K)] |
| v | volume (of the gap) [m3] |
| w | deflection [m] or [mm] |
| w(r) | function of deflection (circular IGU), [m] |
| w(x,y) | function of deflection [m] |
| x-y | coordinate system |
| Greek Letters | |
| α | proportionality factor, [m5/kN] |
| α′ | dimensionless coefficient [-] |
| γ | specific gravity of glass [kN/m3] |
| μ | Poisson’s ratio [-] |
| π | number “pi” |
| ∑Δv | change in gap volume [m3] |
| σ | stress [MPa] |
| φ | slope to horizontal [deg] |
| Subscripts and Markings | |
| 0 | initial gas parameters |
| 1, 2 … | specific gas-filled gap |
| 1-2, 2-3 … | glass pane (between gaps) |
| a | atmospheric |
| air | regarding air |
| ex | exterior glass pane |
| g | index that relates to glazing |
| in | interior glass pane |
| n | number of gas gaps |
| op | operating gas parameters |
| r | regarding circular IGU |
| v | index that relates to volume |
| w | index that relates to deflection |
| z | outside |
| γ | index that relates to specific gravity |
References
- EN 673:2011; Glass in Building—Determination of Thermal Transmittance (U Value)—Calculation Method. CEN: Brussels, Belgium, 2011.
- Solvason, K.R. Pressures and Stresses in Sealed Double Glazing Units; Technical Paper No. 423; Division of Building Research, National Research Council Canada: Ottawa, ON, Canada, 1974. [Google Scholar]
- Feldmeier, F. Bemessung von Dreifach-Isolierglas. In Stahlbau Spezial 2011—Glasbau/Glass in Building; 2011; pp. 75–80. [Google Scholar]
- Feldman, M.; Kaspar, R.; Abeln, B.; Gessler, A.; Langosch, K.; Beyer, J.; Schneider, J.; Schula, S.; Siebert, G.; Haese, A.; et al. Guidance for European Structural Design of Glass Components; Support to the implementation, harmonization and further development of the Eurocodes; Luxembourg Publications Office of the European Union: Luxembourg, 2014. [Google Scholar]
- Timoshenko, S.; Woinowsky-Krieger, S. Theory of Plates and Shells; McGraw-Hill Book Company: New York, NY, USA; Toronto, ON, Canada; London, UK, 1959. [Google Scholar]
- Curcija, C.; Vidanovic, S. Predicting Thermal Transmittance of IGU Subject to Deflection; Lawrence Berkeley National Laboratory, Environmental Energy Technologies Division: Berkeley, CA, USA, 2012. [Google Scholar]
- Respondek, Z. Rozkład obciążeń środowiskowych w wielokomorowej szybie zespolonej. Constr. Optim. Energy Potential 2017, 1, 105–110. [Google Scholar] [CrossRef]
- Galuppi, L.; Royer-Carfagi, G. Green’s functions for the load sharing in multiple insulating glazing units. Int. J. Solids Struct. 2020, 206, 412–425. [Google Scholar] [CrossRef]
- Stratiy, P. Numerical-and-Analytical Method of Estimation Insulated Glass Unit Deformations Caused by Climate Loads. In International Scientific Conference Energy Management of Municipal Transportation Facilities and Transport EMMFT 2017; Murgul, V., Popovic, Z., Eds.; Advances in Intelligent Systems and Computing; Springer International Publishing: New York, NY, USA, 2017; Volume 692, pp. 970–979. [Google Scholar]
- Bedon, C.; Amadio, C. Buckling analysis and design proposal for 2-side supported double Insulated Glass Units (IGUs) in compression. Eng. Struct. 2018, 168, 23–34. [Google Scholar] [CrossRef]
- Velchev, D.; Ivanov, I.V. A finite element for insulating glass units. In Challenging Glass 4 & COST Action TU0905 Final Conference 2014; Louter, C., Bos, F., Belis, J., Lebet, J.P., Eds.; Taylor & Francis Group: London, UK, 2014; pp. 311–318. [Google Scholar]
- Heiskari, J.; Romanoff, J.; Laakso, A.; Ringsberg, J.W. On the thickness determination of rectangular glass panes in insulating glass units considering the load sharing and geometrically nonlinear bending. Thin-Walled Struct. 2022, 171, 108774. [Google Scholar] [CrossRef]
- Hart, R.; Goudey, H.; Arasteh, D.; Curcija, D.C. Thermal performance impacts of center-of-glass deflections in installed insulating glazing units. Energy Build. 2012, 54, 453–460. [Google Scholar] [CrossRef][Green Version]
- Penkova, N.; Krumov, K.; Zashkova, L.; Kassabov, I. Heat transfer and climatic loads at insulating glass units in window systems. Int. J. Adv. Sci. Eng. Technol. 2017, 5, 22–28. [Google Scholar]
- Buddenberg, S.; Hof, P.; Oechsner, M. Climate loads in insulating glass units: Comparison of theory and experimental results. Glass Struct. Eng. 2016, 1, 301–313. [Google Scholar] [CrossRef]
- Bedon, C.; Amadio, C. Mechanical analysis and characterization of IGUs withdifferent silicone sealed spacer connections—Part 1: Experiments. Glass Struct. Eng. 2020, 5, 301–325. [Google Scholar] [CrossRef]
- Bedon, C.; Amadio, C. Mechanical analysis and characterization of IGUs withdifferent silicone sealed spacer connections—Part 2: Modelling. Glass Struct. Eng. 2020, 5, 327–346. [Google Scholar] [CrossRef]
- Zhang, X.; Liang, J.; Laakso, A.; Huang, D. Mechanical response of anticlastic cold bending insulating glass and its coupling effect with uniform load. PLoS ONE 2021, 16, e0250463. [Google Scholar] [CrossRef] [PubMed]
- Kralj, A.; Drev, M.; Žnidaršič, Z.; Černe, B.; Hafner, J.; Jelle, B.P. Investigations of 6-pane glazing: Properties and possibilities. Energy Build. 2019, 190, 61–68. [Google Scholar] [CrossRef]
- Respondek, Z. Heat Transfer Through Insulating Glass Units Subjected to Climatic Loads. Materials 2020, 13, 286. [Google Scholar] [CrossRef] [PubMed]
- Klindt, L.B.; Klein, W. Glas Als Baustoff: Eigenschaften, Anwendung, Bemessung; Verlagsgesellschaft, R. Müller: Köln-Braunsfeld, Germany, 1997. [Google Scholar]
- Respondek, Z. Sprzężone Gazowo Płyty Szklane w Budownictwie. Sposoby Badań i Obliczeń; Monograph No. 151; Wydawnictwo Politechniki Częstochowskiej: Czętochowa, Poland, 2008. [Google Scholar]
- ABAQUS®, Version 6.14; Simulia, Dassault Systemes: Newport, RI, USA, 2014.
- EN 572-1:2012; Glass in Building Basic Soda Lime Silicate Glass Products—Definitions and General Physical and Mechanical Properties. CEN: Brussels, Belgium, 2012.
- Dow Performance Silicones. Silicone Structural Glazing Manual. Available online: https://www.dow.com/documents/en-us/app-tech-guide/62/62-09/62-0979-01-structural-glazing-manual.pdf?iframe=true (accessed on 17 October 2021).
- Kozłowski, M. Experimental and numerical assessment of structural behaviour of glass balustrade subjected to soft body impact. Compos. Struct. 2019, 229, 111380. [Google Scholar] [CrossRef]
- Jensen, W.B. The universal gas constant R. J. Chem. Educ. 2003, 80, 731–732. [Google Scholar] [CrossRef]
- Rajput, R.K. Engineering Thermodynamics: A Computer Approach; Transatlantic Publishers: London, UK, 2003. [Google Scholar]
- Dynamic Pressure. Available online: https://en.wikipedia.org/wiki/Dynamic_pressure (accessed on 10 October 2021).
- Sato, K. Bending of an Elastically Restrained Elliptical Plate under the Combined Action of Lateral Load In-Plane Force. JSME Int. J. 2006, 49, 130–137. [Google Scholar] [CrossRef][Green Version]









| b/a | 1.0 | 1.1 | 1.2 | 1.3 | 1.4 | 1.5 |
|---|---|---|---|---|---|---|
| α′v | 0.001703 | 0.002246 | 0.002848 | 0.003499 | 0.004189 | 0.004912 |
| α′w | 0.004062 | 0.004869 | 0.005651 | 0.006392 | 0.007085 | 0.007724 |
| kx | 0.265583 | 0.311731 | 0.355835 | 0.397214 | 0.435492 | 0.470517 |
| ky | 0.265583 | 0.269151 | 0.269136 | 0.266305 | 0.261524 | 0.255476 |
| b/a | 1.6 | 1.7 | 1.8 | 1.9 | 2.0 | 3.0 |
| α′v | 0.005659 | 0.006427 | 0.00721 | 0.008004 | 0.008808 | 0.017055 |
| α′w | 0.008308 | 0.008838 | 0.009316 | 0.009745 | 0.010129 | 0.012233 |
| kx | 0.502299 | 0.530948 | 0.556641 | 0.579589 | 0.600017 | 0.710253 |
| ky | 0.248681 | 0.241524 | 0.234287 | 0.227166 | 0.220299 | 0.173499 |
| Type of IGU | Square IGU | Circular IGU | Percentage Difference | ||||||
|---|---|---|---|---|---|---|---|---|---|
| q [kN/m2] | w [mm] | σx [MPa] | q [kN/m2] | w [mm] | σr [MPa] | for q | for w | for σ | |
| Square side or diameter 0.4 m | |||||||||
| 2-glazed | 2.118 | 0.566 | 5.625 | 1.955 | 0.544 | 5.864 | −7.73% | −3.88% | 4.23% |
| 3-glazed | 2.965 | 0.793 | 7.874 | 2.800 | 0.780 | 8.400 | −5.57% | −1.62% | 6.67% |
| 4-glazed | 3.259 | 0.871 | 8.654 | 3.116 | 0.868 | 9.349 | −4.36% | −0.37% | 8.03% |
| Square side or diameter 0.7 m | |||||||||
| 2-glazed | 0.370 | 0.927 | 3.006 | 0.325 | 0.850 | 2.989 | −11.96% | −8.29% | −0.55% |
| 3-glazed | 0.686 | 1.720 | 5.579 | 0.609 | 1.592 | 5.598 | −11.17% | −7.46% | 0.34% |
| 4-glazed | 0.941 | 2.359 | 7.652 | 0.843 | 2.203 | 7.748 | −10.36% | −6.61% | 1.26% |
| Square side or diameter 1.0 m | |||||||||
| 2-glazed | 0.094 | 0.985 | 1.565 | 0.082 | 0.896 | 1.545 | −12.61% | −8.97% | −1.28% |
| 3-glazed | 0.128 | 1.951 | 2.562 | 0.112 | 1.779 | 2.533 | −12.46% | −8.80% | −1.11% |
| 4-glazed | 0.270 | 2.820 | 4.482 | 0.237 | 2.581 | 4.447 | −12.16% | −8.49% | −0.78% |
| Type of IGU | Square IGU | Circular IGU | Percentage Difference | ||||||
|---|---|---|---|---|---|---|---|---|---|
| q [kN/m2] | w [mm] | σx [MPa] | q [kN/m2] | w [mm] | σr [MPa] | for q | for w | for σ | |
| Square side or diameter 0.4 m | |||||||||
| 2-glazed | 0.212 | 0.057 | 0.564 | 0.208 | 0.058 | 0.623 | −2.33% | 1.75% | 10.33% |
| 3-glazed | 0.217 | 0.058 | 0.576 | 0.200 | 0.056 | 0.600 | −7.79% | −3.93% | 4.16% |
| 4-glazed | 0.203 | 0.054 | 0.539 | 0.198 | 0.055 | 0.595 | −2.26% | 1.82% | 10.40% |
| Square side or diameter 0.7 m | |||||||||
| 2-glazed | 0.161 | 0.403 | 1.306 | 0.159 | 0.416 | 1.464 | −0.79% | 3.34% | 12.06% |
| 3-glazed | 0.122 | 0.307 | 0.995 | 0.120 | 0.313 | 1.101 | −2.06% | 2.04% | 10.64% |
| 4-glazed | 0.108 | 0.270 | 0.876 | 0.104 | 0.273 | 0.959 | −3.12% | 0.92% | 9.43% |
| Square side or diameter 1.0 m | |||||||||
| 2-glazed | 0.153 | 1.595 | 2.534 | 0.152 | 1.658 | 2.857 | −0.22% | 3.94% | 12.71% |
| 3-glazed | 0.106 | 1.107 | 1.759 | 0.105 | 1.146 | 1.974 | −0.66% | 3.50% | 12.22% |
| 4-glazed | 0.084 | 0.882 | 1.402 | 0.083 | 0.908 | 1.564 | −1.25% | 2.88% | 11.55% |
| Size a × b [m] | Analytical | Numerical | Percentage Difference | ||||||
|---|---|---|---|---|---|---|---|---|---|
| q [kN/m2] | w [mm] | σx [MPa] | q [kN/m2] | w [mm] | σr [MPa] | for q | for w | for σ | |
| Decrease in atmospheric pressure from p0 = 100 kPa to pa = 95 kPa | |||||||||
| 0.4 × 0.6 | 1.390 | 0.707 | 6.540 | 1.321 | 0.729 | 6.469 | −4.96% | 3.15% | −1.09% |
| 0.5 × 0.75 | 0.685 | 0.851 | 5.039 | 0.663 | 0.861 | 5.006 | −3.32% | 1.18% | −0.66% |
| 0.6 × 0.9 | 0.357 | 0.919 | 3.779 | 0.349 | 0.924 | 3.771 | −2.23% | 0.56% | −0.21% |
| 0.4 × 0.8 | 1.115 | 0.744 | 6.692 | 1.070 | 0.755 | 6.542 | −4.06% | 1.53% | −2.24% |
| 0.5 × 1.0 | 0.529 | 0.861 | 4.959 | 0.515 | 0.865 | 4.884 | −2.65% | 0.47% | −1.52% |
| 0.6 × 1.2 | 0.271 | 0.913 | 3.653 | 0.266 | 0.915 | 3.614 | −1.69% | 0.18% | −1.07% |
| Wind pressure qz = 0.3 kN/m2 | |||||||||
| 0.4 × 0.6 | 0.191 | 0.097 | 0.897 | 0.196 | 0.100 | 0.925 | 2.85% | 3.20% | 3.16% |
| 0.5 × 0.75 | 0.170 | 0.211 | 1.248 | 0.174 | 0.217 | 1.268 | 2.56% | 2.87% | 1.59% |
| 0.6 × 0.9 | 0.160 | 0.412 | 1.696 | 0.163 | 0.421 | 1.740 | 1.73% | 2.07% | 2.57% |
| 0.4 × 0.8 | 0.182 | 0.122 | 1.094 | 0.187 | 0.125 | 1.124 | 2.52% | 2.78% | 2.70% |
| 0.5 × 1.0 | 0.165 | 0.269 | 1.549 | 0.169 | 0.275 | 1.584 | 2.08% | 2.25% | 2.26% |
| 0.6 × 1.2 | 0.158 | 0.532 | 2.130 | 0.160 | 0.541 | 2.165 | 1.43% | 1.60% | 1.66% |
| Size a × b [m] | Rectangular IGU | Elliptical IGU | Percentage Difference | ||||||
|---|---|---|---|---|---|---|---|---|---|
| q [kN/m2] | w [mm] | σx [MPa] | q [kN/m2] | w [mm] | σr [MPa] | for q | for w | for σ | |
| Decrease in atmospheric pressure from p0 = 100 kPa to pa = 95 kPa | |||||||||
| 0.4 × 0.6 | 1.321 | 0.729 | 6.469 | 1.350 | 0.662 | 6.496 | 2.21% | −9.17% | 0.42% |
| 0.5 × 0.75 | 0.663 | 0.861 | 5.006 | 0.662 | 0.792 | 4.983 | −0.05% | −7.99% | −0.46% |
| 0.6 × 0.9 | 0.349 | 0.924 | 3.771 | 0.344 | 0.853 | 3.726 | −1.45% | −7.71% | −1.19% |
| 0.4 × 0.8 | 1.070 | 0.755 | 6.542 | 1.179 | 0.707 | 6.631 | 10.15% | −6.38% | 1.36% |
| 0.5 × 1.0 | 0.515 | 0.865 | 4.884 | 0.564 | 0.826 | 4.959 | 9.54% | −4.59% | 1.54% |
| 0.6 × 1.2 | 0.266 | 0.915 | 3.614 | 0.290 | 0.879 | 3.665 | 8.99% | −3.95% | 1.41% |
| Wind pressure qz = 0.3 kN/m2 | |||||||||
| 0.40 × 0.60 | 0.196 | 0.100 | 0.925 | 0.189 | 0.0932 | 0.905 | −3.40% | −6.89% | −2.14% |
| 0.50 × 0.75 | 0.174 | 0.217 | 1.268 | 0.169 | 0.203 | 1.267 | −2.92% | −6.23% | −0.08% |
| 0.60 × 0.90 | 0.163 | 0.421 | 1.740 | 0.160 | 0.398 | 1.730 | −2.18% | −5.55% | −0.57% |
| 0.40 × 0.80 | 0.187 | 0.125 | 1.124 | 0.184 | 0.111 | 1.033 | −1.50% | −11.44% | −8.10% |
| 0.50 × 1.00 | 0.169 | 0.275 | 1.584 | 0.166 | 0.244 | 1.459 | −1.45% | −11.35% | −7.89% |
| 0.60 × 1.20 | 0.160 | 0.541 | 2.165 | 0.158 | 0.431 | 1.793 | −1.15% | −20.37% | −17.18% |
Publisher’s Note: MDPI stays neutral with regard to jurisdictional claims in published maps and institutional affiliations. |
© 2022 by the authors. Licensee MDPI, Basel, Switzerland. This article is an open access article distributed under the terms and conditions of the Creative Commons Attribution (CC BY) license (https://creativecommons.org/licenses/by/4.0/).
Share and Cite
Respondek, Z.; Kozłowski, M.; Wiśniowski, M. Deflections and Stresses in Rectangular, Circular and Elliptical Insulating Glass Units. Materials 2022, 15, 2427. https://doi.org/10.3390/ma15072427
Respondek Z, Kozłowski M, Wiśniowski M. Deflections and Stresses in Rectangular, Circular and Elliptical Insulating Glass Units. Materials. 2022; 15(7):2427. https://doi.org/10.3390/ma15072427
Chicago/Turabian StyleRespondek, Zbigniew, Marcin Kozłowski, and Maciej Wiśniowski. 2022. "Deflections and Stresses in Rectangular, Circular and Elliptical Insulating Glass Units" Materials 15, no. 7: 2427. https://doi.org/10.3390/ma15072427
APA StyleRespondek, Z., Kozłowski, M., & Wiśniowski, M. (2022). Deflections and Stresses in Rectangular, Circular and Elliptical Insulating Glass Units. Materials, 15(7), 2427. https://doi.org/10.3390/ma15072427

