Analysis of Deformation, the Stressed State and Fracture Predictions for Cogging Shafts with Convex Anvils
Abstract
:1. Introduction
2. Materials and Methods
2.1. Finite Element Model Analysis for Deformation and Heat Transfer
2.2. Investigated Material and Theoretical Procedures
- —
- thermal conductivity coefficient λ [W m−1 K−1]
- —
- specific heat cp [J kg−1 K−1]
- —
- density ρ [kg m−3]where .
2.3. Considered Ductile Fracture Criteria
3. Results and Discussion
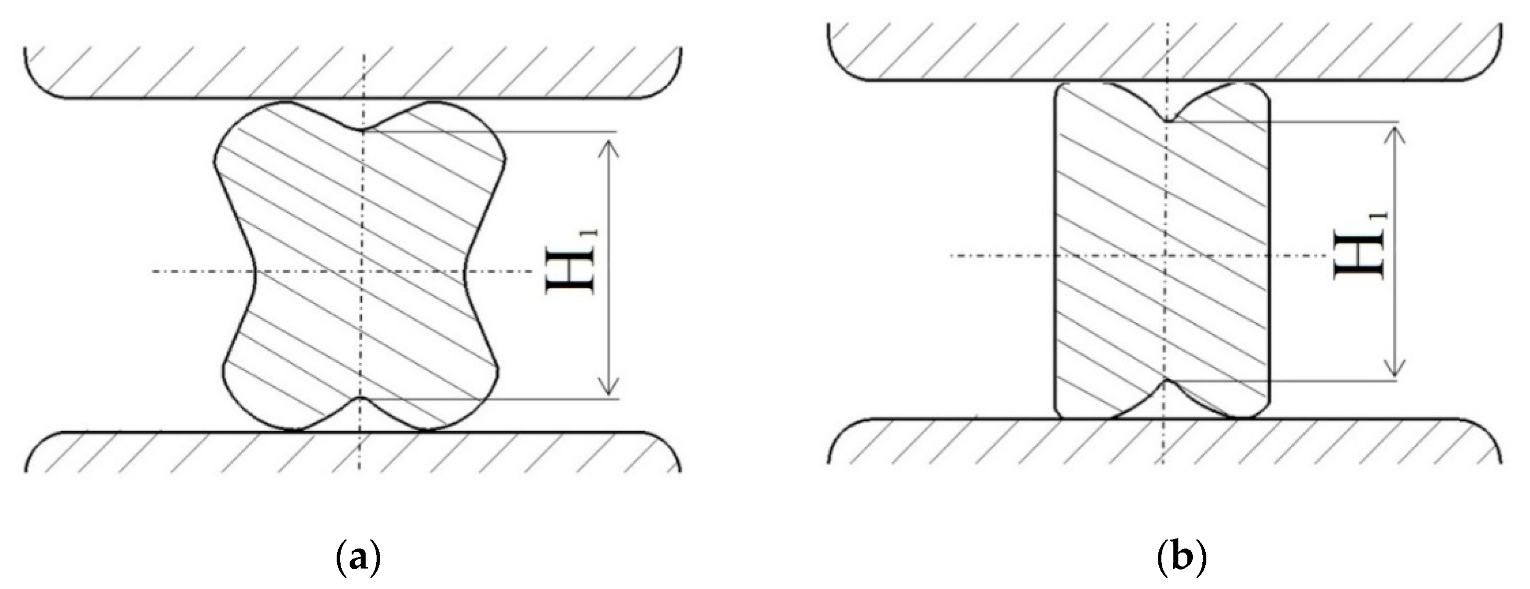
3.1. Investigation of Cogging Processes with Convex Anvils
3.2. Influence of the Shape of Convex Anvils and Reduction Ratio on the Effective Strain and the Stressed State of the Workpiece
3.3. Influence of the Shape of Concavities Cross-Section and Reduction Ratio on the Effective Strain and the Stressed State of the Workpiece during Cogging Process Variations Using Flat and V-Shaped Anvils
3.4. Results Prediction for Several Ductile Fracture Criteria
3.5. Experimental Verifications of the Simulation Model
4. Conclusions
Funding
Institutional Review Board Statement
Informed Consent Statement
Data Availability Statement
Conflicts of Interest
References
- Ge, H.; Ren, F.; Li, J.; Hu, Q.; Xia, M.; Li, J. Modelling of ingot size effects on macrosegregation in steel castings. J. Mater. Process. Technol. 2018, 252, 362–369. [Google Scholar] [CrossRef]
- Köhnen, P.; Haase, C.; Bültmann, J.; Ziegler, S.; Schleifenbaum, J.H.; Bleck, W. Mechanical properties and deformation behavior of additively manufactured lattice structures of stainless steel. Mater. Des. 2018, 145, 205–217. [Google Scholar] [CrossRef]
- Kong, D.; Ni, X.; Dong, C.; Lei, X.; Zhang, L.; Man, C.; Yao, J.; Cheng, X.; Li, X. Bio-functional and anti-corrosive 3D printing 316L stainless steel fabricated by selective laser melting. Mater. Des. 2018, 152, 88–101. [Google Scholar] [CrossRef]
- Wang, C.; Tan, X.; Liu, E.; Tor, S.B. Process parameter optimization and mechanical properties for additively manufactured stainless steel 316L parts by selective electron beam melting. Mater. Des. 2018, 147, 157–166. [Google Scholar] [CrossRef]
- Cooper, A.J.; Tuck, O.C.G.; Burnett, T.L.; Sherry, A.H. A statistical assessment of ductile damage in 304L stainless steel resolved using X-ray computed tomography. Mater. Sci. Eng. A 2018, 728, 218–230. [Google Scholar] [CrossRef]
- Saeidi, K.; Neikter, M.; Olsen, J.; Shen, Z.J.; Akhtar, F. 316L stainless steel designed to withstand intermediate temperature. Mater. Des. 2017, 135, 1–8. [Google Scholar] [CrossRef]
- Xin, R.; Ma, Q.; Li, W. Microstructure and mechanical properties of internal crack healing in a low carbon steel. Mater. Sci. Eng. A 2016, 662, 65–71. [Google Scholar] [CrossRef]
- Liu, G.; Han, Y.; Shi, Z.; Sun, J.; Zou, D.; Qiao, G. Hot deformation and optimization of process parameters of an as-cast 6Mo superaustenitic stainless steel: A study with processing map. Mater. Des. 2014, 53, 662–672. [Google Scholar] [CrossRef]
- Feng, C.; Cui, Z.; Liu, M.; Shang, X.; Sui, D.; Liu, J. Investigation on the void closure efficiency in cogging processes of the large ingot by using a 3-D void evolution model. J. Mater. Process. Technol. 2016, 237, 371–385. [Google Scholar] [CrossRef]
- Samantaray, D.; Mandal, S.; Kumar, V.; Albert, S.K.; Bhaduri, A.K.; Jayakumar, T. Optimization of processing parameters based on high temperature flow behavior and microstructural evolution of a nitrogen enhanced 316L(N) stainless steel. Mater. Sci. Eng. A 2012, 552, 236–244. [Google Scholar] [CrossRef]
- Chen, L.; Zhang, Y.; Li, F.; Liu, X.; Guo, B.; Jin, M. Modeling of dynamic recrystallization behavior of 21Cr-11Ni-N-RE lean austenitic heat-resistant steel during hot deformation. Mater. Sci. Eng. A 2016, 663, 141–150. [Google Scholar] [CrossRef]
- Sun, H.; Sun, Y.; Zhang, R.; Wang, M.; Tang, R.; Zhou, Z. Study on hot workability and optimization of process parameters of a modified 310 austenitic stainless steel using processing maps. Mater. Des. 2015, 67, 165–172. [Google Scholar] [CrossRef]
- Bitterlin, M.; Loucif, A.; Charbonnier, N.; Jahazi, M.; Lapierre-Boire, L.P.; Morin, J.B. Cracking mechanisms in large size ingots of high nickel content low alloyed steel. Eng. Fail. Anal. 2016, 68, 122–131. [Google Scholar] [CrossRef]
- Björklund, O.; Govik, A.; Nilsson, L. Prediction of fracture in a dual-phase steel subjected to non-linear straining. J. Mater. Process. Technol. 2014, 214, 2748–2758. [Google Scholar] [CrossRef]
- Guo, J.; Liao, B.; Liu, L.G.; Li, Q.; Ren, X.J.; Yang, Q.X. Forging limit of a novel high-speed-steel cold work roll based on ductile fracture criteria by finite element model. Mater. Des. 2013, 52, 1027–1034. [Google Scholar] [CrossRef]
- Arikawa, T.; Yamabe, D.; Kakimoto, H. Influence of anvil shape of surface crack generation in large hot forging process. Procedia Eng. 2014, 81, 480–485. [Google Scholar] [CrossRef]
- Mirzadeh, H.; Parsa, M.H.; Ohadi, D. Hot deformation behavior of austenitic stainless steel for a wide range of initial grain size. Mater. Sci. Eng. A 2013, 569, 54–60. [Google Scholar] [CrossRef]
- Sun, H.; Sun, Y.; Zhang, R.; Wang, M.; Tang, R.; Zhou, Z. Hot deformation behavior and microstructural evolution of a modified 310 austenitic steel. Mater. Des. 2014, 64, 374–380. [Google Scholar] [CrossRef]
- Babu, K.A.; Mandal, S.; Kumar, A.; Athreya, C.N.; de Boer, B.; Sarma, V.S. Characterization of hot deformation behavior of alloy 617 through kinetic analysis, dynamic material modeling and microstructural studies. Mater. Sci. Eng. A 2016, 664, 177–187. [Google Scholar] [CrossRef]
- Guo, J.; Liu, L.; Sun, Y.; Li, Q.; Ren, X.; Yang, Q. Parameter optimization during forging process of a novel high-speed-steel cold work roll. J. Mater. Eng. Perform. 2016, 25, 188–198. [Google Scholar] [CrossRef]
- Song, X.Y.; Zhang, X.J.; Fu, L.C.; Yang, H.B.; Yang, K.; Zhu, L. Evaluation of microstructure and mechanical properties of 50Cr5NiMoV steel for forged backup roll. Mater. Sci. Eng. A 2016, 677, 465–473. [Google Scholar] [CrossRef]
- Kobayashi, S.; Oh, S.I.; Altan, T. Metal Forming and the Finite Element Method; Oxford University Press: Oxford, UK, 1989. [Google Scholar]
- Zienkiewicz, O.C. The Finite Element Method, 3rd ed.; McGraw-Hill: Maidenhead, UK, 1977. [Google Scholar]
- Rebelo, N.; Kobayashi, S. A coupled analysis of viscoplastic deformation and heat transfer-I, theoretical considerations. Int. J. Mech. Sci. 1980, 22, 699–705. [Google Scholar] [CrossRef]
- Burte, P.R.; Im, Y.T.; Altan, T.; Semiatian, S.L. Measurement and analysis of heat transfer and friction during hot forging. ASME J. Eng. Ind. 1990, 112, 332–339. [Google Scholar] [CrossRef]
- Zhang, J.; Di, H.; Wang, X. Flow softening of 253 MA austenitic stainless steel during hot compression at higher strain rates. Mater. Sci. Eng. A 2016, 650, 483–491. [Google Scholar] [CrossRef]
- Cao, Y.; Di, H.; Misra, R.D.K.; Yi, X.; Zhang, J.; Ma, T. On the hot deformation behavior of AISI 420 stainless steel based on constitutive analysis and CSL model. Mater. Sci. Eng. A 2014, 593, 111–119. [Google Scholar] [CrossRef]
- Niu, L.; Wei, W.; Wei, K.X.; Alexandrov, I.V.; Hu, J. 3D finite element analysis of spider non-isothermal forging process. J. Mater. Eng. Perform. 2016, 25, 2536–2541. [Google Scholar] [CrossRef]
- Cockcroft, M.G.; Latham, D.J. Ductility and workability of metals. J. Inst. Met. 1968, 96, 33–39. [Google Scholar]
- Oyane, M.; Sato, T.; Okimoto, K.; Shima, S. Criteria for ductile fracture and their applications. J. Mech. Work. Technol. 1980, 4, 65–81. [Google Scholar] [CrossRef]
- Brozzo, P.; De Luca, B.; Rendina, R. A new method for the prediction of formability limits in metal sheets. In Proceedings of the Seventh Biennial Conference of the International Deep Drawing Research Group on Sheet Metal Forming and Formability, Amsterdam, The Netherlands, 9–13 October 1972. [Google Scholar]
- Kukuryk, M. Analysis of deformation and microstructural evolution in the hot forging of the Ti-6Al-4V alloy. Arch. Metall. Mater. 2015, 60, 597–604. [Google Scholar] [CrossRef]




























| Shape of Anvils | Convex Anvils αc | Reduction Ratio εc | Number of Passes: H-Height and S-Side of Square, mm | |||||||
|---|---|---|---|---|---|---|---|---|---|---|
| 1 | 2 | 3 | 4 | 5 | 6 | 7 | 8 | |||
| Flat | H1 | H1 | H1 | H1 | H2 | S1 | H3 | S2 | ||
| 135° | 0.22 | 640 | 640 | 640 | 640 | 448 | 490 | 294 | 345.5 | |
| 150° | 0.36 | 560 | 560 | 560 | 560 | 399 | 430 | 314 | 345.5 | |
| 165° | 0.51 | 480 | 480 | 480 | 480 | 343 | 370 | 334 | 345.5 | |
| V-shaped | H1 | H1 | H2 | H2 | H3 | H3 | ||||
| 135° | 0.22 | 640 | 640 | 590 | 590 | 405 | 405 | |||
| 150° | 0.36 | 560 | 560 | 405 | 405 | |||||
| 165° | 0.51 | 480 | 480 | 405 | 405 | |||||
Publisher’s Note: MDPI stays neutral with regard to jurisdictional claims in published maps and institutional affiliations. |
© 2021 by the author. Licensee MDPI, Basel, Switzerland. This article is an open access article distributed under the terms and conditions of the Creative Commons Attribution (CC BY) license (https://creativecommons.org/licenses/by/4.0/).
Share and Cite
Kukuryk, M. Analysis of Deformation, the Stressed State and Fracture Predictions for Cogging Shafts with Convex Anvils. Materials 2021, 14, 3113. https://doi.org/10.3390/ma14113113
Kukuryk M. Analysis of Deformation, the Stressed State and Fracture Predictions for Cogging Shafts with Convex Anvils. Materials. 2021; 14(11):3113. https://doi.org/10.3390/ma14113113
Chicago/Turabian StyleKukuryk, Marcin. 2021. "Analysis of Deformation, the Stressed State and Fracture Predictions for Cogging Shafts with Convex Anvils" Materials 14, no. 11: 3113. https://doi.org/10.3390/ma14113113
APA StyleKukuryk, M. (2021). Analysis of Deformation, the Stressed State and Fracture Predictions for Cogging Shafts with Convex Anvils. Materials, 14(11), 3113. https://doi.org/10.3390/ma14113113

