Research on the Transmission Characteristics of Air-Coupled Ultrasound in Double-Layered Bonded Structures
Abstract
:1. Introduction
2. Theory
2.1. Physical Model
2.2. Mathematical Model
2.3. Analysis
3. Numerical Calculation
3.1. The Same Material and Equal Thickness
3.2. The Same Material and Unequal-Thickness
3.3. The Unequal-Thickness Materials
4. Experimental
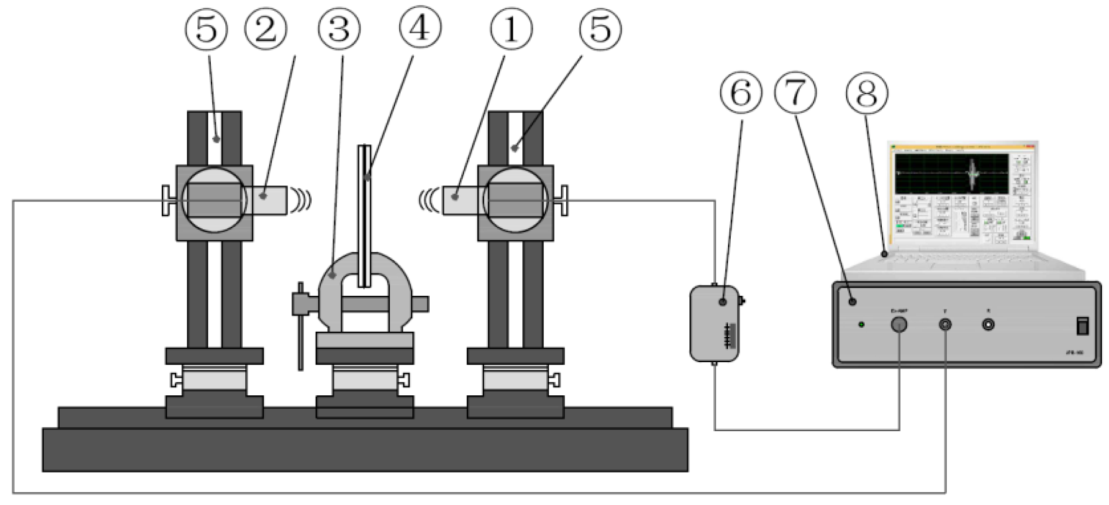
4.1. Experimental Apparatus
4.2. Specimen Preparation
4.3. Experimental Procedures
5. Conclusions
Acknowledgments
Author Contributions
Conflicts of Interest
References
- Baker, A.; Bitton, D.; John, W. Development of a proof test for through-life monitoring of bond integrity in adhesively bonded repairs to aircraft structure. Int. J. Adhes. Adhes. 2012, 36, 65–76. [Google Scholar] [CrossRef]
- Lord, R.J. In-service nondestructive inspection of fighter and attack aircraft. Mater. Eval. 1985, 43, 733–739. [Google Scholar]
- Zhang, E.T.; Qu, C.Y.; Chen, W.J. Development and Application of Structural Adhesives. Mater. China 2009, 28, 74–78. [Google Scholar]
- Zhang, Q. Study of the Ultrasonic Propagation Characteristics of Bonded Structure Based on the Oblique Incidence Technique. Master’s Thesis, Beijing University of Technology, Beijing, China, June 2012. [Google Scholar]
- Dong, F.X.; Wang, C.K.; Fan, L.M.; Zhao, F.B.; Li, J.L.; Zhang, X.; Zheng, S.P. The Application and Development of Detection of Composite Materials by X-ray Nondestructive Testing Techniques. Nondestr. Test. 2016, 38, 67–72. [Google Scholar]
- Garcíamartín, J.; Gómezgil, J.; Vázquezsánchez, E. Non-Destructive Techniques Based on Eddy Current Testing. Sensors 2011, 11, 2525–2565. [Google Scholar] [CrossRef] [PubMed]
- Stott, C.A.; Underhill, P.R.; Babbar, V.K.; Krause, T.W. Pulsed Eddy Current Detection of Cracks in Multilayer Aluminum Lap Joints. IEEE Sens. J. 2015, 15, 956–962. [Google Scholar] [CrossRef]
- Charles, J.H. Nondestructive Testing and Evaluation of the Manual; China Petrochemical Press: Beijing, China, 2005. [Google Scholar]
- Adams, R.D.; Cawley, P. Defect Types and Non-Destructive Testing Techniques for Composites and Bonded Joints. Mater. Sci. Tech. 1989, 5, 413–425. [Google Scholar] [CrossRef]
- Cawley, P. Low frequency NDT techniques for the detection of disbonds and delaminations. Br. J. Non-Destr. Test. 1992, 32, 454–461. [Google Scholar] [CrossRef]
- Banks, W.M.; Hayward, D.; Joshi, S.B.; Cheng, Z.L.; Jeffrey, K.; Pethrick, R.A. High frequency dielectric investigations of adhesive bonded structures. Insight 1995, 37, 964–968. [Google Scholar]
- Allin, J.M.; Cawley, P.; Lowe, M.J.S. Adhesive disbond detection of automotive components using first mode ultrasonic resonance. NDT & E Int. 2003, 36, 503–514. [Google Scholar]
- Mustapha, S.; Ye, L.; Wang, D.; Lu, Y. Assessment of debonding in sandwich CF/EP composite beams using A0 Lamb wave at low frequency. Compos. Struct. 2011, 93, 483–491. [Google Scholar] [CrossRef]
- Lowe, M.J.S.; Challis, R.E.; Chan, C.W. The transmission of Lamb waves across adhesively bonded lap joints. Acoust. Soc. Am. 2000, 107, 1333–1345. [Google Scholar] [CrossRef]
- Challis, R.E.; Freemantle, R.J.; Wilkinson, G.P.; White, J.D.H. Compression wave NDE of adhered metal lap joints: Uncertainties and echo feature extraction. Ultrasonics 1996, 34, 455–459. [Google Scholar] [CrossRef]
- Tattersall, H.G. The ultrasonic pulse-echo technique as applied to adhesion testing. J. Phys. D Appl. Phys. 2002, 6, 819–832. [Google Scholar] [CrossRef]
- Korzeniowski, M.; Piwowarczyk, T.; Maev, R.G. Application of ultrasonic method for quality evaluation of adhesive layers. Arch. Civ. Mech. Eng. 2014, 14, 661–670. [Google Scholar] [CrossRef]
- Palumbo, D.; Tamborrino, R.; Galietti, U.; Aversa, P.; Tatì, A.; Luprano, V.A.M. Ultrasonic analysis and lock-in thermography for debonding evaluation of composite adhesive joints. NDT & E Int. 2016, 78, 1–9. [Google Scholar] [CrossRef]
- Wu, W.L.; Wang, X.G.; Huang, Z.C.; Wu, N.X. Measurements of the weak bonding interfacial stiffness by using air-coupled ultrasound. AIP Adv. 2017, 7, 1–14. [Google Scholar] [CrossRef]
- Angel, Y.C.; Achenbach, J.D. Reflection and Transmission of Elastic Waves by a Periodic Array of Cracks. Wave Motion 2016, 7, 375–397. [Google Scholar] [CrossRef]
- Thomson, W.T. Transmission of Elastic Waves through a Stratified Solid Medium. J. Appl. Phys. 1950, 21, 89–93. [Google Scholar] [CrossRef]
- Wang, Y.J.; Xu, M.X. Sound reflection and transition on layered anisotropic solid media. Acta Acust. 1995, 3, 161–169. [Google Scholar]
- Zhou, Z.G.; Wei, D. Progress of Air-coupled Ultrasonic Non-destructive Testing Technology. Chin. J. Mech. Eng. 2008, 44, 10–14. [Google Scholar] [CrossRef]
- Kazys, R.; Mazeika, L.; Zukauskas, E. Investigation of accurate imaging of the defects in composite materials using ultrasonic air-coupled technique. Int. J. Mater. Prod. Technol. 2011, 41, 105–115. [Google Scholar] [CrossRef]
- Blomme, E.; Bulcaen, D.; Cool, T.; Declercq, F.; Lust, P. Air-coupled ultrasonic assessment of wood veneer. Phys. Procedia 2010, 3, 193–200. [Google Scholar] [CrossRef]
- Sanabria, S.J.; Mueller, C.; Neuenschwander, J.; Niemz, P.; Sennhauser, U. Air coupled ultrasound as an accurate and reproducible method for bonding assessment of glued timber. Wood Sci. Technol. 2011, 45, 645–659. [Google Scholar] [CrossRef]
- Chang, J.J.; Lu, C.; Okura, Y.K. Research the principle and application of Non-contact air coupling ultrasonic testing. Nondestr. Insp. 2013, 37, 6–11. [Google Scholar]
- Chimenti, D.E. Review of air-coupled ultrasonic materials characterization. Ultrasonics 2014, 54, 1804–1818. [Google Scholar] [CrossRef] [PubMed]
- Schindel, D.W.; Forsyth, D.S.; Hutchins, D.A.; Fahr, A. Air-coupled ultrasonic NDE of bonded aluminum lap joints. Ultrasonics 1997, 35, 1–6. [Google Scholar] [CrossRef]
- Newmark, N.M.; Siess, C.P.; Viest, I.M. Tests and analysis of composite beams with incomplete interaction. Proc. Soc. Exp. Stress Anal. 1951, 9, 75–92. [Google Scholar]
- An, Z.W.; Wang, X.M.; Mao, J.; Li, M.X. Low-frequency characteristic of ultrasound reflection spectrum from adhesively bonded aluminum plates. Appl. Acoust. 2009, 28, 190–194. [Google Scholar]
- Vijaya, K.R.L.; Bhat, M.R.; Murthy, C.R. Some studies on evaluation of degradation in composite adhesive joints using ultrasonic techniques. Ultrasonics 2013, 53, 1150–1162. [Google Scholar] [CrossRef] [PubMed]
- Lavrentyev, A.I.; Rokhlin, S.I. Ultrasonic spectroscopy of imperfect contact interfaces between a layer and two solids. J. Acoust. Soc. Am. 1998, 103, 657–664. [Google Scholar] [CrossRef]
- Wu, B.; Zhang, J.; Qiu, Z.G.; He, C.F. Research on the Transmission Characteristics of Underwater Bonding Structure in Oblique Incidence. J. Mech. Eng. 2013, 49, 45–52. [Google Scholar] [CrossRef]











| Material | P-Wave Velocity (m/s) | Density (kg/m3) | Impedance (Rayl) | Thickness (mm) |
|---|---|---|---|---|
| Air | 340 | 1.29 | 438.6 | N/A |
| Polymethyl Methacrylate | 2710 | 1200 | 3.252 × 106 | 3, 5 and 10 |
| Aluminum | 6320 | 2770 | 17.5064 × 106 | 1 |
| Serial Number | Peak Position at 1 h (MHz) | Peak Position at 5 h (MHz) | Peak Position at 10 h (MHz) |
|---|---|---|---|
| The first peak | 0.523 | 0.523 | 0.523 |
| The second peak | 0.607 | 0.613 | 0.620 |
| The third peak | 0.700 | 0.703 | 0.713 |
| The fourth peak | 0.803 | 0.803 | 0.806 |
© 2018 by the authors. Licensee MDPI, Basel, Switzerland. This article is an open access article distributed under the terms and conditions of the Creative Commons Attribution (CC BY) license (http://creativecommons.org/licenses/by/4.0/).
Share and Cite
Wang, X.-G.; Wu, W.-L.; Huang, Z.-C.; Chang, J.-J.; Wu, N.-X. Research on the Transmission Characteristics of Air-Coupled Ultrasound in Double-Layered Bonded Structures. Materials 2018, 11, 310. https://doi.org/10.3390/ma11020310
Wang X-G, Wu W-L, Huang Z-C, Chang J-J, Wu N-X. Research on the Transmission Characteristics of Air-Coupled Ultrasound in Double-Layered Bonded Structures. Materials. 2018; 11(2):310. https://doi.org/10.3390/ma11020310
Chicago/Turabian StyleWang, Xing-Guo, Wen-Lin Wu, Zhi-Cheng Huang, Jun-Jie Chang, and Nan-Xing Wu. 2018. "Research on the Transmission Characteristics of Air-Coupled Ultrasound in Double-Layered Bonded Structures" Materials 11, no. 2: 310. https://doi.org/10.3390/ma11020310
APA StyleWang, X.-G., Wu, W.-L., Huang, Z.-C., Chang, J.-J., & Wu, N.-X. (2018). Research on the Transmission Characteristics of Air-Coupled Ultrasound in Double-Layered Bonded Structures. Materials, 11(2), 310. https://doi.org/10.3390/ma11020310
