Next Article in Journal
Valorization of Forest Biomass Through Pyrolysis: A Study on the Energy Potential of Wood Tars
Previous Article in Journal
Grid-Connected Key Technical Indicators and Evaluation Methods for Multi-Type Synchronous Control Equipment
 
 
Font Type:
Arial Georgia Verdana
Font Size:
Aa Aa Aa
Line Spacing:
Column Width:
Background:
Article

An Analysis of the Energy Efficiency and Control Strategy of ERVs with Energy Recovery in Different Typical Regions Throughout the Year

1
Guangzhou Institute of Energy Conversion, Chinese Academy of Sciences, Guangzhou 510640, China
2
School of mechanical and Power Engineering, Shenyang University of Chemical Technology, Shenyang 110142, China
*
Author to whom correspondence should be addressed.
Energies 2025, 18(5), 1112; https://doi.org/10.3390/en18051112
Submission received: 20 December 2024 / Revised: 27 January 2025 / Accepted: 14 February 2025 / Published: 25 February 2025
(This article belongs to the Section B: Energy and Environment)

Abstract

The temperature frequency method is used to analyze the energy savings of the wall-type energy recovery fresh air ventilator in three different typical regions, namely Guangzhou, with a tropical monsoon climate; the sub-temperate Wuhan; and Beijing, with a temperate monsoon climate, throughout the year. The influence of different temperature efficiencies and resistance levels of the energy recovery ventilator (ERV) on annual energy efficiency is also analyzed. The control temperature of the auxiliary heating device used in the winter is discussed, and the indoor temperature variation trend in the inter-wall-type energy recovery fresh air ventilator operating 24 h on four typical days of the year under different control modes is analyzed in the tropical monsoon climate of Guangzhou. The conclusions obtained can provide a reference for the application and selection of inter-wall-type energy recovery fresh air ventilators.

1. Review of Heat Recovery of Fresh Air Products

In recent years, due to the development of industrialization, frequent smog, and the impact of COVID-19, the application and development of household products, such as air purifiers and fresh air systems, have attracted widespread attention. After an initial phase of rapid development, the market for early products in the field of fresh air systems has come to a standstill due to uneven quality, the lack of relevant norms and quality supervision, and other reasons. In the past few years, with the COVID-19 pandemic and people’s increasing concerns about air quality, air purification products and fresh air systems, after being upgraded with an anti-virus/dehumidification function, have attracted people’s attention again. Relevant standards and norms have also been issued. In contrast to the increasing popularity of the air purifier, it is only in recent years that fresh air systems, which combine ventilation with purification and anti-virus measures, have come to the public’s attention, especially those with energy recovery. These kinds of products with energy recovery can reduce the fresh air load of air conditioning units greatly while assisting epidemic prevention, but the structure, shape, and function of fresh air products with energy recovery are very different from those without energy recovery; their prices are also very high, and, to a certain extent, they are affected by the popularization of this type of product [1,2,3]. In view of the introduction of fresh air products, people tend to focus on health and comfort, but the energy efficiency of this product has not attracted enough attention. A fresh air supply product with energy recovery, while providing people with health and comfort, is also bound to help reduce building energy consumption, so the product has health, comfort, and low-carbon characteristics. A new air product with energy recovery, while providing people with health and comfort, is also a product that helps buildings become low-carbon and energy-saving, with health, comfort, and low-carbon characteristics. It is foreseeable that this type of product will enter thousands of households as it is a home product that can significantly improve the air quality and comfort of the human environment since it possesses the quality of supervision, an operation control system, human–machine interface-friendly upgrades, and because it is the embodiment of the energy-saving economy [4,5].
Traditional household air conditioning units solve the cooling and heating problems of residents, but fresh air ventilation systems still rely mainly on unorganized natural ventilation to solve these problems. Relying on the natural ventilation of open windows and doors, on the one hand, exposes the indoor environment to pollution from the outdoor environment and the interference of ambient noise. On the other hand, this type of ventilation helps air conditioning units overcome the energy consumption of the unorganized fresh air load. Due to the new crown of the epidemic and taking into account the “normal–epidemic period combined”, the prevention and control needs of fresh air ventilation once again came into people’s view. With the energy recovery function of the “normal–epidemic period combined” new air unit, the design concept, in addition to the fresh air purification function, also increased the function of the killing poison; in order to avoid secondary pollution, the inter-wall heat recovery device was used instead of the traditional full heat recovery device. This new kind of air conditioner can bring residents a higher quality of life and a more low-carbon lifestyle, which can be mainly reflected in the following aspects: (1) reducing the fresh air load of air conditioning, thereby making air conditioning systems more energy-efficient; (2) due to the purification function of fresh air, there will be no need to open the window to change the air, thus avoiding the noise interference and pollution of the outdoor environment; (3) by reducing the gap between the fresh air supply and the indoor air temperature and avoiding the cold wind in the winter and the hot air feeling in the summer, the feeling of cool air in winter and hot air in summer is avoided, and the comfort experience of residents is further improved; (4) as indoor temperature fluctuations are much smaller than outdoor environment temperature fluctuations, the fresh air conditioner has a certain degree of humidity and dehumidification effects; (5) for the “normal period–epidemic period”, combined with the fresh air conditioner products, there are also anti-virus functions that regulate the positive and negative pressure in rooms for epidemic prevention and control functions to isolate and reduce the risk of cross-infection effects. Because of the existence of the resistance of the energy recovery ventilator (ERV), the energy saving of the air conditioning system also increases the energy consumption of fresh air products. In areas where the difference between indoor and outdoor ambient temperatures is large, the energy recovery of the ERV can undoubtedly reduce the energy consumption of the “air conditioning + fresh air” system. However, in the transition season, the energy recovered from the ERV may not be enough to compensate for the energy consumption caused by its own power consumption [6,7].
According to the “China Building Energy Efficiency Annual Development Research Report 2020 (Rural Residential Theme)” and findings from related organizations, building energy consumption constitutes over 21% of China’s total commodity energy consumption. Notably, energy consumption for air conditioning represents 45% to 60% of overall building energy use, with fresh air energy consumption likely accounting for 30% to 50% of air conditioning energy consumption [8,9,10]. Consequently, the recovery of exhaust energy in fresh air systems has emerged as a crucial strategy for enhancing energy efficiency in air conditioning systems. However, in recent years, the energy-saving potential of fresh air systems has diminished, primarily due to the emphasis on minimizing initial investments in air conditioning systems and reducing manufacturing costs of related equipment. The insufficient integration of fresh air systems into building structural design has hindered their development, resulting in these systems remaining in the nascent stage of market adoption. Nonetheless, there has been increasing awareness among consumers regarding quality of life and air quality issues, leading to a growing visibility and interest in fresh air conditioners among the general public. However, the classification of fresh air ventilators as "energy-consuming equipment" has posed challenges to their adoption. Additionally, traditional full heat exchange devices are known for their significant operational power consumption. Concerns regarding potential secondary pollution from the heat transfer core of full heat recovery systems have further complicated their acceptance. As a result, heat recovery units were frequently excluded from fresh air supply systems installed following the outbreak of COVID-19. Compared to early central fresh air systems featuring full heat exchange, independent fresh air units utilizing inter-wall heat exchange demonstrate significantly reduced power consumption. For instance, a typical whole-house centralized fresh air system in China, with an air volume of 300 m3/h, generally operates at a total power consumption of around 340 W. In contrast, the independent modules developed by the research and development team of the authors employ five wall-mounted fresh air units, each with an air volume of 60 m3/h. Each unit has an installed power of 16 W (with an actual total installed power of 24 W, which includes 8 W for the anti-virus and control devices). Thus, the total installed power for all five fresh air units amounts to only 80 W [11]. Specifically, the implementation of independent modular fresh air units results in total installed power that is only a quarter of that required by traditional systems. This reduction can be attributed to the elimination of resistance associated with transmission and distribution ducts, along with the replacement of full heat recovery units with inter-wall heat recovery units. As a result, the actual operating power consumption is significantly decreased, leading to notable improvements in energy efficiency. Consequently, compared to traditional central fresh air systems, the new inter-wall-type independent modular fresh air system not only mitigates the risk of cross-infection in anti-epidemic environments but also offers distinct advantages in year-round energy efficiency.
Since the issuance of GB/T 21087-2007, titled “Air-Air Energy Recovery Device” [12], China has established specific requirements for fresh air energy recovery ventilators (ERVs), leading to a gradual increase in related research on heat recovery technologies. For instance, Cao Yang et al. [13] provided an analysis and interpretation of the newly revised national standard GB/T 21087-2020 concerning energy recovery fresh air units. Meanwhile, Liu et al. [14] developed a weight coefficient equation to characterize the performance of energy recovery ventilators, exploring the interrelationships among sensible heat efficiency, latent heat efficiency, and total heat efficiency. Additionally, Zhong Ke et al. [15] examined the energy recovery efficiency of total heat exchangers under varying weather conditions across different regions. The findings indicate that the implementation of total heat exchangers can significantly reduce fresh air loads, demonstrating a pronounced energy-saving effect. Ahmadzadehtalatapeh [16] specifically investigated the energy-saving potential of integrated systems utilizing heat pipe heat exchangers in conjunction with air conditioning systems. Liang and Chenjiyu et al. [17] developed a novel fresh air treatment unit that incorporates exhaust gas heat recovery by optimally matching the load, exhaust gas, and natural energy sources under various typical fresh air conditions. They established an enhanced year-round efficient system configuration based on these parameters. Furthermore, Justo Alonso M et al. [18] concentrated on the efficiency of energy recovery systems within air conditioning environments. Meanwhile, Khaled et al. [19] and Ramadan M et al. [20] explored the energy-saving potential of building exhaust energy recovery, specifically in temperate monsoon regions. Wang Yuting et al. [21] developed a novel high-efficiency energy reclaimer based on a three-dimensional deformation tube tailored to the operational conditions of an integrated air conditioning fresh air system. They calculated and simulated the energy recovery effects of various parameters to identify optimal configurations and simulated indoor air distribution before and after the retrofit. Wu Yixue et al. [22] analyzed the energy-saving effects of the "total heat recovery + multi-connected" operating mode in primary and secondary school classrooms located in tropical monsoon climates, noting that excessive heat recovery by the total heat exchanger can sometimes lead to increased electricity consumption. Zhiwei Sun et al. [23,24,25] proposed operational control modes under different working conditions by analyzing the heat and moisture treatment processes and calculating energy consumption across various schemes. Hj Cho et al. [26] evaluated the energy-saving potential of dual-core energy recovery ventilators that incorporate hollow fiber membrane latent heat exchangers (M-LHXs) and sensible heat exchangers (SHXs) through building energy consumption simulations. Their results indicated that, compared to traditional ERVs, the air conditioning load could be reduced by 15.9%, 14.4%, and 14.1% during summer, mid-season, and winter, respectively. Aridi R et al. [27] highlighted the effectiveness of various equipment under different climate and weather conditions, concluding that energy recovery devices significantly influence HVAC energy consumption, particularly heat pipes, mounting plates, and runner devices. The existing literature emphasizes the critical role of energy recovery in fresh air installations to enhance energy efficiency and mitigate greenhouse gas emissions. Numerous studies have investigated various designs and techniques to improve heat recovery and optimize energy use across different environmental scenarios.
However, many of these studies primarily focus on fresh air products equipped with full heat exchange systems, with limited discussion on inter-wall ERVs, which are more suitable for meeting the prevention and control requirements during the combined “normal-epidemic period”. This paper aims to explore the energy efficiency and “condensation” issues related to fresh air products featuring wall-type energy recovery functionality, assessing their adaptability to the prevention and control needs in various typical regions.

2. Analysis of Energy-Saving Effects of New Inter-Wall-Type Energy Recovery Ventilators

2.1. The Principle of the Fresh Air Products with the Wall-Type Energy Recovery Function

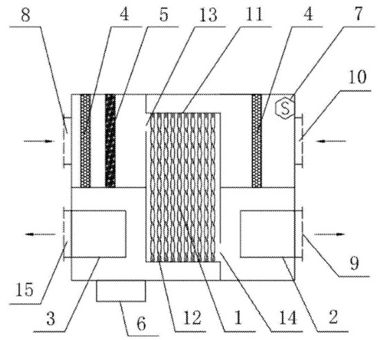
Figure 1 is the principle of fresh air products with wall-type energy recovery, including a variable-structure high-efficiency heat recovery unit (1), a fresh air fan (2), an exhaust fan (3), two coarse efficiency filters (4), an air purification device (5), a control module (6), a CO2 sensor (7), a fresh air inlet (8), a fresh air outlet (9), a exhaust air inlet (10), filtered exhaust inlet (11), exhaust outlet after energy release (12), purified fresh air intake (13), fresh air outlet after energy recovery (14), and an exhaust outlet (15). The outdoor fresh air enters from the fresh air inlet (8) of the device, and after being treated by the coarse efficiency filter (4) and the air purification device (5), it enters into the heat recovery device (1), where it exchanges heat with indoor exhaust air from the filtered exhaust inlet (11) and then through the fresh air outlet (9) into the room. The indoor exhaust air enters the device through the exhaust air inlet (10), passes through the coarse-effect filter (4), and then enters the heat recovery device for heat exchange with outdoor fresh air. The utility model is then discharged by the exhaust air outlet (12) of the heat recovery device (1) and finally released outdoors through the exhaust outlet (15).

2.2. Analysis of Annual Energy-Saving Effect and Criterion Conditions and Assumptions

Three representative Chinese cities—Guangzhou, Wuhan, and Beijing—were selected to represent the tropical monsoon climate region, the subtropical monsoon climate region, and the temperate monsoon region, respectively. The climatic characteristics of these cities are summarized in Table 1 [28].
This study focuses on a three-bedroom apartment with an indoor construction area of approximately 86 m², resulting in a space volume of about 240 m3. Based on the minimum fresh air rate requirements for civil buildings and the average living area per capita in China, the ventilation frequency can range from 0.5 to 0.7 air changes per hour (h) [29]. To ensure indoor comfort, an air intake rate of 240 m3/h for fresh air and a corresponding air exhaust rate of 240 m3/h were established as criteria for selecting fresh air products.
The annual average temperature efficiency of energy recovery ventilators (ERVs) was assessed based on relevant standards, with 70% efficiency for heating operating conditions and 65% for cooling conditions. An intermediate value of 67.5% was used for the excessive season operating conditions. The indoor air inlet temperature for the energy recovery device was set at 27 °C during summer and 21 °C during winter.
To enhance the generalizability of the study, additional constraints include the following:
(1) Fan Resistance and Efficiency: The resistance faced by the fan on both the fresh air and exhaust air sides to overcome the energy recovery ventilator (ERV) is 150 Pa under design conditions. The internal efficiency and mechanical efficiency of the fan are assumed to be 0.75 and 0.98, respectively. The total converted power required for the inlet and exhaust air is calculated to be 27.2 W, determined using the general axial fan shaft power calculation method (the detailed calculation process is omitted here).
(2) Fresh Air Fan Operation Rate: The annual average operation rate of the fresh air fan is estimated to be 70% during the air conditioning season, specifically under conditions of cold energy recovery.
(3) Energy Efficiency for Heating and Cooling: For the estimation of energy savings from the ERV, the air source heat pump’s integrated energy efficiency is considered for heating in winter in Wuhan and Guangzhou. In Beijing, the air source heat pump’s radiant heating mode is utilized for winter heating. For cooling during the summer months, the air conditioning and refrigeration mode is applied in all three cities. The relationship between the integrated energy efficiency of the heating and cooling systems and the outdoor ambient temperature throughout the year is detailed in Table 2, with reference to the relevant standards and literature [30,31,32,33,34].
(4) Considering the local climate characteristics and living habits, the outdoor ambient temperature range of 10–27 °C is designated as the working condition for the transition season in Beijing. During this period, fresh air products continue to operate normally, while the air conditioning and heating systems are not in use. In Wuhan and Guangzhou, the corresponding outdoor ambient temperature ranges during the transitional season are 12–27 °C and 15–27 °C, respectively. This reflects the climatic conditions that allow for effective ventilation and air quality management without the need for additional heating or cooling.
(5) To prevent frost formation in winter, particularly in Beijing, where the risk is highest, it is essential to activate the auxiliary heating mode when outdoor temperatures drop below −6.0 °C. In this mode, fresh air products must ensure that the inlet air temperature for the energy recovery ventilator (ERV) is held at −6.0 °C, even when the outdoor temperature is lower. The temperature efficiency during this process is set at 70%, allowing the lower inlet air temperature to be preheated to −6.0 °C using the auxiliary heating system. This approach is crucial for maintaining the proper operation of fresh air products, as it prevents frost formation and ensures a comfortable and safe indoor environment even in extreme cold conditions.

2.3. The Calculation Method of Annual Energy-Saving Effect of Energy Recovery

The temperature–frequency method is employed to calculate the annual energy recovery and energy-saving income. The calculation formula is expressed as follows:
E a y = β ( i = 1 n m x j c A b j ( t x j i t x c i ) h i ε i w e x h a y )
Eay represents the energy consumption of air conditioning and heat pump units saved due to the energy recovery from fresh air products (kW·h). txj-i and txc-i denote the inlet and outlet air temperatures of the ERV fresh air, respectively, with the fresh air temperature entering the ERV considered equal to the outdoor ambient dry bulb temperature (°C). Abj indicates the absolute value; mxj is the mass flow rate of fresh air (kg/s); c is the specific heat of the air (kJ/(kg·°C)); hi represents the number of operating hours at which the fresh air inlet temperature is txj-i (h); εi refers to the energy efficiency of the air conditioning or heat pump unit at the inlet air temperature txj-i; wex accounts for the reduced power consumption required to overcome the fresh air and exhaust air resistance of the ERV (W); hay indicates the annual running hours of the ERV (h); and β is the annual operating rate of the ERV, taken as 0.7 based on empirical observations. The fresh air outlet temperature is calculated according to Formulas (2) and (3).
Heating mode
t x c = ( t p j t x j ) η w d + t x j
Refrigeration mode
t x c = t x j ( t x j t p j ) η w d
In Equations (2) and (3), txj, txc and tpj, tpc represent the fresh air inlet and outlet temperature of ERV, respectively, °C; ηwd is the temperature efficiency; see reference [4] for its definition.
The method for calculating the annual operating hours of new fan energy-saving income involves determining the energy-saving income from the energy recovery mode and subtracting the increased energy costs associated with the fan overcoming the resistance of the ERV when energy recovery is not required. During the transition season, the ERV continues to operate; however, since the indoor air conditioning or heat pump units are not in operation during this period, the energy-saving benefits of the fresh air products are not included in the calculation.
Taking the three-bedroom unit as the research object, both the fresh air and exhaust air rates are set at 240 m3/h. The annual energy-saving benefits of the energy recovery ventilator (ERV) in three typical cities are presented in Table 3. Additionally, the relationship between the annual outdoor temperature and operating hours in these three cities is illustrated in Table 4 [35].
The following are illustrated in Table 3 and Table 4:
(1) The annual energy-saving benefit of Energy Recovery Ventilation (ERV) systems in Beijing is the highest among the evaluated cities, followed by Wuhan. In contrast, the energy savings in Guangzhou are significantly lower, accounting for only 11.22% in Beijing and 18.46% in Wuhan. This discrepancy can be attributed to two primary factors: First, the proportion of hours during which energy-saving income is calculated is notably lower in Guangzhou than in the other two cities. Second, the energy-saving income in Guangzhou derives predominantly from the cool energy recovery mode, with fewer operational hours dedicated to the heat recovery mode, which typically yields higher energy savings. Additionally, the higher outdoor temperatures in Guangzhou result in a substantial reduction in heat recovery potential compared to the other cities.
(2) The extended duration of the transitional season contributes to the most significant negative return from fresh air products in Guangzhou, with Wuhan following as a distant second, offsetting approximately half of the quarterly gains from energy recycling.
(3) It is important to note that this assessment is based solely on the habitual use of air conditioning systems and heat pump systems to compare year-round energy savings. Specifically, during the transitional season, air conditioning or heat pump units are inactive while the fresh air units continue to operate. Thus, the latter are perceived as purely energy-consuming devices. Nevertheless, maintaining a constant indoor temperature by operating the fresh air energy recovery mode during most of the transitional season remains beneficial. Although this does not contribute to energy savings for the air conditioning units (and consequently does not activate them), it ensures compliance with indoor air hygiene standards and mitigates temperature fluctuations within the indoor environment. This practice also narrows the temperature differential between indoor and outdoor environments, enhancing occupant comfort. Moreover, the lower power consumption of fresh air units compared to air conditioning or heat pump systems—particularly due to reduced fan power requirements to counteract the resistance of the ERV—results in a mere 95.39 kW·h during the longest transitional season in Guangzhou, while also minimizing dust and noise interference.
Furthermore, the protracted humid weather characteristic of the transitional season in Guangzhou underscores the advantage of activating the energy recovery mode, as it helps maintain a steadier dry bulb temperature and a drier indoor environment. This condition significantly alleviates the adverse effects of high outdoor humidity levels on the indoor environment and substantially reduces the energy consumption associated with dehumidification equipment. Given that the energy consumption for dehumidification requires substantial empirical support, this paper does not delve into a detailed discussion regarding the impact of fresh air products with ERV on dehumidifier energy savings during the transitional season.

2.4. Analysis of the Influence of ERV Resistance on the Energy-Saving Effect of Annual Energy Recovery

Typically, the resistance of Energy Recovery Ventilation (ERV) systems accounts for 50% to 65% of the total resistance faced by fresh air products. Consequently, the need to overcome ERV resistance can significantly increase fan power consumption, thereby affecting the annual energy savings associated with ERV systems. Under equivalent air intake conditions, the airflow resistance encountered by the ERV is closely related to its structural design and layout. Notably, the power consumed to overcome airflow resistance can vary significantly, potentially reaching up to twice the consumption when comparing systems with identical heat transfer capacities.
Figure 2 illustrates a comparison of annual energy savings achieved under varying ERV resistance levels. The calculation of fan power consumption and energy savings in this analysis is based on the 240 m3/h fresh air heat transfer capacity.
As demonstrated in Figure 2, an increase in the fan power consumption required to overcome ERV resistance correlates with a decrease in ERV energy-saving gains across the three typical cities studied. The impact of ERV resistance on annual energy savings is the most pronounced in Guangzhou, where the energy-saving gains are relatively smaller. Specifically, when ERV resistance rises from 100 Pa to 220 Pa, the reduction in annual energy-saving gains from ERVs in the three cities is as follows: 87.75% in Guangzhou, 23.06% in Wuhan, and 14.57% in Beijing.
Consequently, in tropical monsoon regions like Guangzhou, ERV resistance may have a decisive influence on the energy-saving efficacy of inter-wall ERVs within fresh air products. In contrast, in tropical monsoon and temperate monsoon regions, the impact of ERV resistance on annual energy savings is considerably less significant, particularly in temperate monsoon areas where fresh air products exhibit a reduced sensitivity to ERV resistance due to their higher annual energy savings.

2.5. Analysis of the Effect of ERV Temperature Efficiency on Energy Savings from Year-Round Energy Recovery

ERV temperature efficiency is a critical factor influencing the overall energy-saving effectiveness of energy recovery throughout the year. Table 5 presents the temperature efficiency under various combined cooling and heating conditions, serving as an indicator of the impact of temperature efficiency on energy recovery (refer to Figure 2). The calculations pertaining to energy savings are based on the 240 m3/h fresh air heat transfer capacity.
As illustrated in Table 4 and Figure 3, the annual energy recovery gains increase significantly with higher temperature efficiency. Relative to Group 1 (cooling temperature efficiency of 0.5 and heating temperature efficiency of 0.55), the annual energy-saving gains of Group 4 (cooling temperature efficiency of 0.65 and heating temperature efficiency of 0.70) for ERV fresh air products in the three typical cities increased by 34.9% and 45.8%, respectively. Furthermore, Group 7 exhibited increases of 69.9% and 91.5%, respectively. These findings indicate that the temperature efficiency of ERV systems plays a substantial role in the annual energy savings achieved.

3. The Control Condition of Starting Auxiliary Heating Device in Winter

When outdoor temperatures are low, condensation and frost on the exhaust side of the heat exchange pipe become probable occurrences. To prevent ice jams from affecting the normal operation of fresh air products, it is essential to incorporate an auxiliary heating device at the inlet of the ERV system. This addition aims to increase the inlet air temperature and mitigate the risk of icing on the walls of the ERV heat exchanger.
The most common site for ice formation is at the ERV exhaust outlet. Ice jams may occur at the outlet of fresh air products when the wall temperature at the ERV outlet drops below 0 °C and condensation is present in the exhaust. In this scenario, the inlet air mass flow rate is approximately equal to the exhaust air mass flow rate. To estimate the outdoor inlet air temperature necessary to prevent ice jams, the following simplification can be applied (refer to Equation (4)):
t p c + t x j > 0 t x j > η w d 1 η w d + 1 t p j
According to Formula (4), when the indoor exhaust air temperature is 20.0 °C and the ERV temperature efficiency is 0.7, the estimated fresh air inlet temperature required to avoid frosting is approximately −3.53 °C. In this scenario, the temperature of the ERV exhaust air is 3.53 °C, and the wall temperature of the heat exchange tube remains at 0 °C, with the fresh air inlet temperature calculated to be 12.94 °C. Therefore, it is recommended that the auxiliary heating device be activated to heat the fresh air inlet when the outdoor temperature falls below −3.5 °C to prevent ice jams from occurring.

4. Discussion on Energy-Saving Operation Control Strategy of Fresh Air Products with Sensible Heat Recovery Throughout the Year

From the previous analysis of the annual energy-saving performance of sensible heat recovery fresh air products equipped with inter-wall ERVs in three typical cities, it is evident that the intake air temperature, ERV temperature efficiency, and ERV resistance significantly influence energy savings. While the intake air temperature is affected by regional climate characteristics—a factor beyond our control—the energy-saving strategies for the operation of fresh air products can focus on the latter two aspects. Both ERV temperature efficiency and resistance are determined by the structural characteristics of the ERV and the airflow rate passing through it. Given that a specific fresh air product has already been identified, the strategy for annual energy-saving operation effectively narrows down to controlling the intake and exhaust airflow through the ERV. Consequently, this analysis will emphasize the strategy for annual variable airflow operation.
Currently, the fresh air products available on the market are equipped with various operation and control modes, some of which include remote control functionalities. These features enable users to remotely control and adjust the indoor fresh air system via a mobile app, even from a location far from home. This capability enhances the convenience of energy-saving operations for the fresh air system throughout the year, allowing the ERV operation mode to be activated or the fresh air volume to be adjusted in advance during off-duty hours.
To address the need for indoor air quality and energy savings, the following operational control strategies can be implemented:
(1)
ERV Exit Mode for Energy Recovery: For fresh air products equipped with an ERV exit function, the exit mode should be utilized during non-energy recovery seasons or when energy recovery is not cost-effective. This approach effectively reduces fan energy consumption.
(2)
Low Air Volume Operation: For fresh air heat recovery products that lack an ERV exit function, it is advisable to operate the system at low airflow levels during periods of low occupancy. This strategy addresses the dual needs of maintaining indoor temperature and ensuring room comfort and cleanliness. Moreover, to mitigate the effects of high outdoor humidity on the indoor environment, it is not recommended to completely shut down the fresh air fans when the indoor space is unoccupied. Maintaining a continuous airflow over the heat transfer surface helps keep the ERV clean and reduces maintenance frequency.
For the household model previously discussed, the total fresh air demand is 240 m3/h. This is achieved using four fresh air units, each independently controlling the fresh air system. Each unit has three airflow settings: 60 m3/h, 30 m3/h, and 10 m3/h. On weekdays, the fresh air units can operate at medium or low airflow levels during the day, specifically from 8:00 to 18:00 when the house is unoccupied. At night, when the temperature difference between indoor and outdoor conditions is significant, the units switch to high airflow during the initial hours and then to low airflow as needed. On weekends, the operation differs slightly; during the day, the units run at high airflow, while at night, they transition to medium and low airflow settings, again responding to the temperature difference between indoors and outdoors.
Figure 3, Figure 4, Figure 5 and Figure 6 illustrate the 24-h variation in the average indoor temperature on a typical day across the four seasons in Guangzhou. The weekday model assumes that the house remains unoccupied during the daytime hours mentioned.
The air conditioning operation mode was analyzed exclusively for typical summer days, with no operation occurring on typical days in other seasons. The indoor temperature control on weekdays utilized a small airflow control mode during the daytime when the space was unoccupied. The following observations can be made from Figure 4, Figure 5, Figure 6 and Figure 7:
(1) Influence of Airflow Rate: The impact of varying airflow rates on indoor temperature is more pronounced under different operational modes. Specifically, when employing full airflow mode (i.e., without time-divided control), indoor air temperature tends to approximate outdoor temperatures. Changes in outdoor temperature result in corresponding indoor temperature variations, typically with a delay of approximately two hours, as illustrated by the temperature trends observed during total wind rest days across all seasons.
(2) Temperature Fluctuations: Indoor temperature fluctuations are significantly reduced when operating at low airflow compared to full airflow. The trend in the indoor temperature under time-divided control differs markedly from that of the outdoor temperature. Notably, the indoor temperatures increase at night due to higher occupancy levels and increased demand for fresh air, as depicted in the indoor temperature curves for variable air volume on working days across the seasons.
(3) Variation Trends: When employing variable air volume control during summer and winter rest days, the variation trend in the indoor temperature closely mirrors that of the outdoor temperature; however, the amplitude of fluctuations is less pronounced than that observed under full airflow control.
(4) Air Conditioning Mode: In summer air conditioning mode, the fluctuations in the indoor temperature on rest days and working days are minimal. Nevertheless, significant differences exist in the indoor temperature change waveforms between rest days and working days due to the differing operating times of the total airflow control. During weekdays, from 9:00 to 17:00, when the space is unoccupied, the fresh air system operates in a low airflow mode. Consequently, the indoor temperature trend during this period resembles that of variable airflow on working days without air conditioning. The activation of air conditioning at night results in indoor temperatures remaining lower than those observed on days without air conditioning, while the temperature trend during other times aligns closely with that of the day-off mode.
(5) Temperature Change Waveforms: The waveforms of indoor temperature change curves exhibit similar patterns within the same control mode, with variations in temperature values attributable to differences in outdoor temperatures.
(6) Comparison of Operation Modes: Throughout the year, the indoor temperature of fresh air products utilizing variable airflow operation on weekdays is consistently lower than that of full airflow operation on rest days. This discrepancy is primarily due to the absence of occupants during daytime hours on weekdays, resulting in reduced human body heat dissipation within the indoor environment.

5. Conclusions and Suggestions

This study conducted a comparative analysis of the annual energy savings of stand-alone fresh air products equipped with inter-wall energy recovery ventilators (ERVs) across three typical climatic regions. The impact of increased fan resistance during the transition season, following the integration of ERVs, on the annual operational energy savings of these fresh air products was examined. Additionally, the necessity of incorporating auxiliary heating in winter to mitigate frosting issues was discussed. The energy-saving control strategy for the year-round operation of fresh air products was analyzed using the Guangzhou area as a case study, leading to the following conclusions:
(1) Impact on Indoor Comfort and Energy Consumption: Fresh air products with inter-wall ERVs enhance indoor environmental comfort; however, they also increase the energy consumption of the units. The energy-saving benefits are particularly pronounced in tropical monsoon and temperate monsoon climates. In contrast, in tropical monsoon regions, the energy-saving effect is less significant due to the short heating period, extended transition season, and relatively brief energy recovery time. In northern regions with long heating periods, the energy consumption required to counteract the increased resistance from ERVs has a minimal effect on annual energy recovery, which remains substantial.
(2) Role of ERV Resistance and Temperature Efficiency: The resistance of ERVs and their temperature efficiency significantly influence annual energy-saving outcomes, especially in tropical monsoon climates. These factors can determine whether the operation of such fresh air products yields energy savings. Therefore, the development and implementation of low-resistance, high-efficiency ERVs are critical for maximizing these benefits.
(3) Condensation Management: Fresh air products with inter-wall ERVs are susceptible to condensation in both heating and cooling modes, necessitating the incorporation of effective drainage systems. To prevent ice blockage during winter operation, it is recommended that outdoor fresh air auxiliary heating devices be installed in regions where outdoor temperatures fall below −3.5 °C. This ensures that the fresh air entering the ERV remains above −3.5 °C, thereby preventing frost and ice accumulation in the exhaust pipe of the ERV.
(4) Energy-Saving Operation Control Strategy: This paper discusses an energy-saving operation control strategy for fresh air products with inter-wall ERVs throughout the year, using the tropical monsoon climate as an example. This strategy aims to enhance the energy efficiency of the fresh air system while maintaining a clean indoor environment.
(5) Recommendation for Variable Air Volume Operation: It is recommended that fresh air products adopt a variable air volume continuous operation mode. This approach allows for maintaining a clean indoor air environment with minimal fan energy consumption, even during transition seasons. It also improves indoor comfort, effectively prevents cross-contamination between indoor and outdoor air, and aids in epidemic prevention and isolation. Furthermore, this mode reduces the amount of dust brought into the indoor environment and minimizes fluctuations in indoor temperature associated with the operation of fresh air products. The use of ERVs remains beneficial during the transition season, particularly for reducing humidity levels in spring.

Author Contributions

A.T., Methodology, Investigation, Writing—Original draft preparation, Prototype design selection and calculation, Data curation. X.Z., Performance testing, Data curation, Writing—Editing. S.L., Investigation, Writing—Review, Prototype structure optimization. D.Z., Supervision, Presentation of the prototype structure concept. All authors have read and agreed to the published version of the manuscript.

Funding

This work is supported by PRC Ministry of Science and Technology, the National Key Research and Development Programmer of China (No. 2022YFB4202000) and Zhongshan City, the traditional advantageous industries to unveil the system of major scientific and technological projects (No. 2022AJ003).

Data Availability Statement

The original contributions presented in this study are included in the article. Further inquiries can be directed to the corresponding author(s).

Conflicts of Interest

The authors declared that there is no conflict of interest.

References

  1. Niu, R.P.; Chen, X.; Liu, H. Analysis of the impact of a fresh air system on the indoor environment in office buildings. Sustain. Cities Soc. 2022, 83, 103934. [Google Scholar] [CrossRef]
  2. Considine, B.; Gallagher, J.; Kumar, P.; McNabola, A. Long-term assessment of energy consumption reduction in a building ventilation system with passive particulate matter control technology in the fresh air intake. Energy Build. 2024, 309, 114067. [Google Scholar] [CrossRef]
  3. Wang, S.; Yang, L.; Xu, W.; Ma, N.; Wei, W.; Bu, Y. Impact of outdoor air on cooling and heating demand of nearly zero energy residential buildings. HVAC 2024, 54, 116–122+130. [Google Scholar]
  4. Chang, Y. Study on Energy Saving Characteristics of Fresh Air Based on CO2 Concentration Control. Master’s Thesis, Guangzhou University, Guangzhou, China, 2015. [Google Scholar]
  5. Chen, Y.-H.; Tu, Y.P.; Sung, S.-Y.; Weng, W.-C.; Huang, H.-L.; Tsai, Y.-I. A comprehensive analysis of the intervention of a fresh air ventilation system on indoor air quality in classrooms. Atmos. Pollut. Res. 2022, 13, 101373. [Google Scholar] [CrossRef]
  6. Wang, C.; Zhao, Z.; Wang, B.; Cui, M. Optimal fresh-air utilization strategy based on isocost Line: Adaptability analysis for constant temperature and humidity air-conditioning system. Sustain. Energy Technol. Assess. 2024, 72, 104064. [Google Scholar] [CrossRef]
  7. Bao, Q.; Pang, X. Energy-saving Performance Test and Application Research of the Fresh Air Heat Recovery System for Residential Building in Hot Summer and Cold Winter Zone. J. BEE 2024, 52, 122–127. [Google Scholar]
  8. Building Energy Efficiency Research Center, Tsinghua University. China Building Energy Efficiency Annual Development Research Report 2020 (Rural Housing Special Topic); China Construction Industry Press: Beijing, China, 2020. [Google Scholar]
  9. Liu, Y.; Li, Y. Discussion on energy saving effect and economy of exhaust air energy recovery devices in different areas. HVAC 2008, 15–19. [Google Scholar]
  10. Wang, C.; Wang, B.; Cui, M.; Wei, F. Optimal fresh-air utilization strategy for constant temperature and humidity air-conditioning system based on isocost line. Energy 2023, 263, 125856. [Google Scholar] [CrossRef]
  11. Li, L. Heat Transfer Enhancement Study on the Application of Three-Dimensional Variable-Space High-Efficiency Heat Exchanger for Epidemic Prevention Fresh Air Ventilator4. Master’s Thesis, University of Chinese Academy of Sciences, Beijing, China, 2022. [Google Scholar]
  12. Chinese Academy of Architectural Sciences. Air-Air Energy Recovery Unit; China Standard Press: Beijing, China, 2008. [Google Scholar]
  13. Cao, Y.; Wang, L.; Yuan, T. Analysis of the revision of GB/T 21087-2020 Energy Recovery Fresh Air Unit. Build. Energy Effic. 2021, 49, 30–35. [Google Scholar]
  14. Liu, J.; Li, W.; Liu, J.; Wang, B. Efficiency of energy recovery ventilator with various weathers and its energy saving performance in a residential apartment. Energy Build. 2010, 42, 43–49. [Google Scholar] [CrossRef]
  15. Zhong, K.; Kang, Y. The effect of outdoor climate on the operational efficiency of air total heat exchanger. HVAC 2009, 39, 57–61. [Google Scholar]
  16. Ahmadzadehtalatapeh, M. An air-conditioning system performance enhancement by using heat pipe based heat recovery technology. Sci. Iran. 2013, 20, 329–336. [Google Scholar]
  17. Liang, C.; Li, X.; Fang, L.; Nakazawa, T.; Tanaka, T. Constructing year-round energy-efficient fresh air handling unit with exhaust air heat recovery using multi-condition design. Energy Build. 2023, 298, 113574. [Google Scholar] [CrossRef]
  18. Justo Alonso, M.; Liu, P.; Mathisen, H.M.; Ge, G.; Simonson, C. Review of heat/energy recovery exchangers for use in ZEBs in cold climate countries. Build. Environ. 2015, 84, 228–237. [Google Scholar] [CrossRef]
  19. Khaled, M.; Ramadan, M. Heating fresh air by hot exhaust air of HVAC systems. Case Stud. Therm. Eng. 2016, 8, 398–402. [Google Scholar] [CrossRef]
  20. Ramadan, M.; Ali, S.; Bazzi, H.; Khaled, M. New hybrid system combining TEG, Condenser Hot Air and Exhaust Airflow of All-Air HVAC Systems. Case Stud. Therm. Eng. 2017, 10, 154–160. [Google Scholar] [CrossRef]
  21. Wang, Y.; Zhu, D.; Ye, Z.; Liu, S.; Wu, Z. Application of three-dimensional deformable tube energy reclaimer in air conditioning fresh air system in summer. J. Refrig. 2024, 45, 126–134+166. [Google Scholar]
  22. Wu, Y.; He, M.; Zhang, M.; Zhang, W. An analysis of different fresh air modes in primary and secondary school classrooms in tropical monsoon climate areas. Fluid Mach. 2021, 49, 85–90. [Google Scholar]
  23. Sun, Z.; Wang, Q.; Meng, C.; Zhang, Z. New approach to determine the optimal control of fresh air systems in urban China residences. Build. Environ. 2022, 207, 108538. [Google Scholar] [CrossRef]
  24. Li, D. Application of air energy recovery in temperature and humidity independent control system. HVAC 2018, 48, 25–28. [Google Scholar]
  25. Niu, R.; Fan, Y.; Meng, F.; Geng, L. Operation Control Strategy analysis of fresh air system in Beijing area. Archit. Sci. 2021, 37, 36–41. [Google Scholar]
  26. Cho, H.J.; Cheon, S.Y.; Jeong, J.W. Energy saving potential of latent heat exchanger-integrated dual core energy recovery ventilator. Appl. Therm. Eng. Des. Process. Equip. Econ. 2023, 231, 120989. [Google Scholar] [CrossRef]
  27. Aridi, R.; Faraj, J.; Ali, S.; El-Rab, M.G.; Lemenand, T.; Khaled, M. Energy recovery in air conditioning systems: Comprehensive review, classifications, critical analysis, and potential recommendations. Energies 2021, 14, 5869. [Google Scholar] [CrossRef]
  28. Lu, Y. Practical Heating and Air Conditioning Design Manual, 2nd ed.; China Construction Industry Press: Beijing, China, 2008. [Google Scholar]
  29. CECS 439-2016; Technical Specification for Fresh Air Systems Engineering in Civil Buildings. China Association for Standardization of Engineering Construction: Beijing, China; China Standard Press: Beijing, China, 2016.
  30. Zhang, Y. Study on Evaluation and Design Parameters of Heat Energy Recovery System for Air Conditioning Exhaust Air. Master’s Thesis, Beijing University of Civil Engineering and Architecture, Beijing, China, 2018. [Google Scholar]
  31. GB50019-2003; Code for Design of Heating, Ventilation and Air Conditioning. Ministry of construction of the People’s Republic of China: Beijing, China; China Planning Press: Beijing, China, 2003.
  32. GB12021.3-2019; Energy Efficiency Limits and Grades for Room Air Conditioners. Standardization Administration of China: Beijing, China; China Standard Press: Beijing, China, 2019.
  33. Jing, T. Construction of Air-Source Heat Pump Air-Conditioning Experimental System and Analysis of Energy Consumption. Master’s Thesis, Shandong Jianzhu University, Jinan, China, 2018. [Google Scholar]
  34. Liu, D. Study on Optimal Control Method of Air Source Heat Pump Air Conditioning System Based on Indoor Thermal Comfort. Master’s Thesis, Shanghai Jiao Tong University, Shanghai, China, 2017. [Google Scholar]
  35. The China Meteorological Administration Weather Information Center. In Special Meteorological Data Set for Building Thermal Environment Analysis in China; China Construction Industry Press: Beijing, China, 2005.
Figure 1. Principle Diagram of Fresh Air Products with Wall-Type Energy Recovery Function. 1 heat recovery device; 2 fresh air fan; 3 exhaust fan; 4 coarse-effect filter; 5 air purification device; 6 control module; 7 CO2 sensor; 8 fresh air inlet; 9 fresh air outlet; 10 exhaust air inlet; 11 filtered exhaust inlet; 12; exhaust outlet after energy release; 13 purified fresh air intake; 14 fresh air outlet after energy recovery; 15 exhaust outlet.
Figure 1. Principle Diagram of Fresh Air Products with Wall-Type Energy Recovery Function. 1 heat recovery device; 2 fresh air fan; 3 exhaust fan; 4 coarse-effect filter; 5 air purification device; 6 control module; 7 CO2 sensor; 8 fresh air inlet; 9 fresh air outlet; 10 exhaust air inlet; 11 filtered exhaust inlet; 12; exhaust outlet after energy release; 13 purified fresh air intake; 14 fresh air outlet after energy recovery; 15 exhaust outlet.
Energies 18 01112 g001
Figure 2. Influence of ERV Resistance on Annual Energy Savings of Fresh Air Fans.
Figure 2. Influence of ERV Resistance on Annual Energy Savings of Fresh Air Fans.
Energies 18 01112 g002
Figure 3. Effect of ERV Temperature Efficiency on Annual Energy-Saving Revenue.
Figure 3. Effect of ERV Temperature Efficiency on Annual Energy-Saving Revenue.
Energies 18 01112 g003
Figure 4. The 24-h variation trend in indoor average temperature on typical days in spring in Guangzhou under time-phased control mode. (VAV: Variable Air Volume. FAD: Full Airflow Delivery.).
Figure 4. The 24-h variation trend in indoor average temperature on typical days in spring in Guangzhou under time-phased control mode. (VAV: Variable Air Volume. FAD: Full Airflow Delivery.).
Energies 18 01112 g004
Figure 5. The 24-h variation trend in typical daily indoor average temperature in summer in Guangzhou under time-phased control mode. (FAD: Full Airflow Delivery. VAV: Variable Air Volume. AC: With Air Conditioning.).
Figure 5. The 24-h variation trend in typical daily indoor average temperature in summer in Guangzhou under time-phased control mode. (FAD: Full Airflow Delivery. VAV: Variable Air Volume. AC: With Air Conditioning.).
Energies 18 01112 g005
Figure 6. The 24-h variation in indoor average temperature in Guangzhou during typical autumn days under time-phased control mode. (FAD: Full Airflow Delivery. VAV: Variable Air Volume.).
Figure 6. The 24-h variation in indoor average temperature in Guangzhou during typical autumn days under time-phased control mode. (FAD: Full Airflow Delivery. VAV: Variable Air Volume.).
Energies 18 01112 g006
Figure 7. The 24-h variation in typical daily indoor average temperature in Guangzhou during winter under time-phased control mode. (FAD: Full Airflow Delivery. VAV: Variable Air Volume.).
Figure 7. The 24-h variation in typical daily indoor average temperature in Guangzhou during winter under time-phased control mode. (FAD: Full Airflow Delivery. VAV: Variable Air Volume.).
Energies 18 01112 g007
Table 1. Climatic Characteristics of Guangzhou, Wuhan, and Beijing [28].
Table 1. Climatic Characteristics of Guangzhou, Wuhan, and Beijing [28].
CityCalculated Dry Bulb Temperature Outdoors for Summer VentilationCalculated Relative Humidity Outdoors During Summer VentilationAverage Summer Wind SpeedCalculated Dry Bulb Temperature Outdoors for Winter VentilationCalculated Relative Humidity Outdoors for Winter VentilationAverage Winter Wind SpeedNumber of Heating Days in WinterMaximum Daily Average Temperature in JulyMinimum Daily Average Temperature in January
°C%m/s°C%m/sDay°C°C
Guangzhou31.9661.510.3742.4033.410.6
Wuhan32651.50.1731.47133.5−1.3
Beijing29.9582.2−7.5372.712230.7−8.2
Table 2. Relationship Between Energy Efficiency of Air Conditioning and Heating Systems and Ambient Temperature.
Table 2. Relationship Between Energy Efficiency of Air Conditioning and Heating Systems and Ambient Temperature.
Ambient Temperature/°C≤−10−10~−5−5~00~55~1227~3030~35≥35
Energy efficiency of air conditioning system//2.62.782.93.43.33.2
Energy efficiency heat pump system 2.42.62.752.93///
Table 3. Comparison of Annual Energy-Saving Benefits from Ventilator Energy Recovery in Three Typical Cities (kWh).
Table 3. Comparison of Annual Energy-Saving Benefits from Ventilator Energy Recovery in Three Typical Cities (kWh).
Typical CitiesEnergy Efficiency Benefits /kWhNumber of Hours to Enable the Energy Recovery in One Year/hs/yPercentage of Energy Recycler Running Hours in One Year
Energy Recovery SeasonThe
Season of Transition
Total
Guangzhou191.96−95.3996.57375042.81%
Wuhan603.5−88.14523.21454351.86%
Beijing943.02−82.16860.87444550.74%
Table 4. Outdoor Temperature Range and Corresponding Hours Over One Year for Three Typical Cities.
Table 4. Outdoor Temperature Range and Corresponding Hours Over One Year for Three Typical Cities.
Outdoor temperature range °C≤−10−10~−5−5~00~55~1010~1515~2020~2525~2727~3030~35>35
Beijing795099961019103811261134139765843935114
Outdoor temperature range °C≤−10−10~−5−5~00~55~1010~1212~2020~2525~2727~3030~35>35
Guangzhou///52761311142323001287128784427
Wuhan//1551003145641219161422879720695102
Note: The yellow area indicates the heat recovery mode, the orange area indicates the transition season, and the green area indicates the cold energy recovery mode.
Table 5. ERV with Different Temperature Efficiencies.
Table 5. ERV with Different Temperature Efficiencies.
ERV Number1234567
Cooling condition ηwd0.50.550.60.650.70.740.77
Heating condition ηwd0.550.60.650.70.750.80.85
Disclaimer/Publisher’s Note: The statements, opinions and data contained in all publications are solely those of the individual author(s) and contributor(s) and not of MDPI and/or the editor(s). MDPI and/or the editor(s) disclaim responsibility for any injury to people or property resulting from any ideas, methods, instructions or products referred to in the content.

Share and Cite

MDPI and ACS Style

Tu, A.; Zhao, X.; Liu, S.; Zhu, D. An Analysis of the Energy Efficiency and Control Strategy of ERVs with Energy Recovery in Different Typical Regions Throughout the Year. Energies 2025, 18, 1112. https://doi.org/10.3390/en18051112

AMA Style

Tu A, Zhao X, Liu S, Zhu D. An Analysis of the Energy Efficiency and Control Strategy of ERVs with Energy Recovery in Different Typical Regions Throughout the Year. Energies. 2025; 18(5):1112. https://doi.org/10.3390/en18051112

Chicago/Turabian Style

Tu, Aimin, Xingshun Zhao, Shijie Liu, and Dongsheng Zhu. 2025. "An Analysis of the Energy Efficiency and Control Strategy of ERVs with Energy Recovery in Different Typical Regions Throughout the Year" Energies 18, no. 5: 1112. https://doi.org/10.3390/en18051112

APA Style

Tu, A., Zhao, X., Liu, S., & Zhu, D. (2025). An Analysis of the Energy Efficiency and Control Strategy of ERVs with Energy Recovery in Different Typical Regions Throughout the Year. Energies, 18(5), 1112. https://doi.org/10.3390/en18051112

Note that from the first issue of 2016, this journal uses article numbers instead of page numbers. See further details here.

Article Metrics

Back to TopTop