Abstract
This article presents advancements in using Micro-Electro-Mechanical Systemsbased (MEMS-based) devices for measuring the calorific value and hydrogen content in hydrogenated gaseous fuels, such as natural gas. As hydrogen emerges as a pivotal clean energy source, blending it with natural gas becomes essential for a sustainable energy transition. However, precise monitoring of hydrogen concentrations in gas distribution networks is crucial to ensure safety and reliability. Traditional methods like gas chromatography and mass spectrometry, while accurate, are often too complex and costly for real-time applications. In contrast, MEMS technology offers innovative, cost-effective alternatives that exhibit miniaturization, ease of installation, and rapid measurement capabilities. The article discusses the development of a novel MEMS thermal conductivity detector (TCD) and a new ionization spectrometer with an optical readout, both of which enable accurate assessment of hydrogen content and calorific values in natural gas. The TCD has demonstrated a 3% uncertainty in calorific value measurement and an impressive accuracy in determining hydrogen concentrations ranging from 2% to 25%. The research detailed in this article highlights the feasibility of integrating these MEMS devices into existing infrastructure, paving the way for efficient hydrogen monitoring in real-world applications. Moreover, preliminary findings reveal the potential for robust online process control, positioning MEMS technology as a transformative solution in the future of energy measurement. The ongoing innovations could significantly impact residential heating, industrial processes, and broader energy management strategies, facilitating a sustainable transition to hydrogen-enriched energy systems.
1. Introduction
Hydrogen is widely regarded as the fuel of the future [1,2,3,4,5], prompting extensive research efforts focused on its storage, transmission, and eventual utilization [6]. The largest fraction of fossil fuels comes in the form of natural gas. Considering ease of handling and storage using the present technology, the best way to implement a transition to hydrogen-based energy sources is to add a fraction of hydrogen into the natural gas (NG) stream and slowly increment the hydrogen content as more efficient methods of storing and transporting hydrogen come into play. However, due to considerations related to the security of transmission lines, its proportion in the mix is expected to be capped at approximately 23% [7]. Molecular hydrogen, characterized by its small size and high penetrability, exhibits variable concentrations, necessitating vigilant monitoring at various points along distribution lines [8,9,10]. This introduces a need for monitoring the hydrogen content in the NG stream.
To address the need for accurate hydrogen measurement within natural gas distribution networks, employing gas chromatographs as a standard installation at distribution nodes faces limitations on two fronts. Firstly, their numbers are insufficient to comprehensively cover the distribution network. Secondly, a significant portion of these devices lacks the necessary adaptations for precise hydrogen measurement. In order to meet the evolving requirements, it becomes imperative to enhance the infrastructure, encompassing NG + H2 mixing points, distribution lines, distribution nodes, and key end-user points, with specialized meters capable of accurately gauging hydrogen concentrations within natural gas. This strategic deployment of measurement technology is crucial for ensuring the efficient and reliable integration of hydrogen as a viable component in the broader energy landscape.
A relatively simple method of measuring the hydrogen content in natural gas is to use a thermal conductivity sensor which is sensitive to differences in thermal capacity of gaseous compounds. Sensors of this type are similar to TCD sensors developed for gas chromatography [11,12,13]. However, this type of sensor provides no information on the fractions of distinct gaseous compounds present in the gas mixture. There are many solutions using such sensors, including those for high-temperature applications [14] or with ultra-low power consumption [15]. A common feature of these solutions is their operation at constant heater power with temperature measured on a thermoresistor, or in constant temperature mode on the thermoresistor by changing the heater power (usually with a PWM controller). The biggest difference in relation to TCD-GC is that the medium around the sensor (measured gas) is static—no flow. An example of a commercial device is, among others, the Teledyne 2750 portable gas analyzer [16]. Most importantly and characteristic of other similar devices, this device is calibrated to measure binary mixtures.
Thus, the most common method for measuring hydrogen content in natural gas is by utilization of gas chromatography. Gas chromatography provides accurate results but has several drawbacks in terms of its use as a method for monitoring hydrogen content in a dynamic process stream [17,18,19].
One alternative analytical method that can be employed is mass spectroscopy, which yields excellent analytical results. However, this method presents challenges, particularly when analyzing mixtures containing both hydrogen and hydrocarbons. In mass spectroscopy, the sample must first be ionized, leading to significant issues. Molecular hydrogen, whether free or bound in hydrocarbon molecules, is broken down and ionized during the process, distorting the total amount of ionized hydrogen measured. Despite the challenges, the choice of analytical methods and the strategic placement of instruments on the gas line are crucial steps in ensuring the accurate and reliable integration of hydrogen within the broader energy infrastructure.
If needed, a combination of both measurement techniques is employed: the coupling of gas chromatography with mass spectrometry (GC-MS). However, akin to GC solutions, mass spectrometry devices are expensive and fairly intricate, requiring components such as a vacuum system. It is evident that GC-MS represents the most intricate and costly solution.
Gas chromatography, mass spectrometry and combined GC-MS stand out as the most accurate, although expensive, analytical methods [20,21,22,23]. This underscores the ongoing search for more economical, easily installable, and user-friendly alternatives for the multipoint measurement of hydrogen content in hydrogenated gaseous fuels. As commercially available devices to measure H2 in gaseous fuels have been aimed mostly at laboratory analysis, there has recently been a movement toward meeting the need for online process control of H2. Among electronic H2 sensors, palladium-based devices possess some of the attributes stated above [24,25,26,27].
This article will discuss solutions that constitute a serious alternative to the previously discussed, existing, commonly used ones. There will be a solution involving an ionization spectrometer with an optical reading and a gas calorific value meter using MEMS sensor technology. All MEMS-based solutions are miniaturized and meet the assumptions made earlier regarding price and usability. The solutions described here form a presentation of the achievements of our research group in the use of MEMS technology and miniaturization of analytical instruments.
2. Methods of Measuring the Properties of Natural Gas
Various techniques exist for identifying the primary characteristics of natural gas by assessing its calorific value or Wobbe index. The process for calculating calorific values, density, relative density, and the Wobbe index based on composition is outlined in the standard PN-EN ISO 6976:2008 titled “Natural gas. Calculation of calorific values, density, relative density and the Wobbe index from the composition”. These methods are detailed in Table 1.
Table 1.
Methods of measuring gas properties.
Data regarding the composition of natural gas based on the extraction location are given in Table 2.
Table 2.
Composition of natural gas depending on the place of extraction, expressed in % by volume.
2.1. Gas Chromatography and TCD Detector
Gas chromatography is one of the few analytical techniques that enables both qualitative and quantitative analysis simultaneously [28,29,30]. This method is frequently paired with mass spectrometry, which enhances the accuracy of qualitative assessments (identifying components) of the samples being analyzed. In terms of quantitative analysis, it is possible to achieve relative inaccuracies of less than ±1%. The multi-component gas chromatographic analysis method separates the mixture into its individual components through interactions between the stationary phase and the mobile phase in the separation column, followed by measuring the concentration of each component in the carrier gas at the column’s exit.
The thermal conductivity detector (TCD) [31,32,33] is the most commonly employed sensor, where concentration determination is based on measuring changes in the electrical conductivity of the thermocouple as a result of variations in the thermal conductivity of the surrounding environment. Although TCDs, also known as cathetometers, are less favored than flame-ionization detectors due to lower sensitivity, they offer significant versatility. As non-selective detectors, they respond to any eluent that exits the chromatographic column, with changes in physicochemical properties that cause variations in the detector’s output. Their non-destructive measurement method allows for the collection of eluents for further analysis. Furthermore, their straightforward design, broad linear dynamic range, and lack of need for supplementary equipment make them suitable for use in portable devices. TCDs can detect both organic and inorganic substances, with typical detection limits depending on the component, ranging from 0.01% to 100% (100–1,000,000 ppm). In a cathetometer, thermal energy is transferred between a heating element positioned in the channel and the flowing gas, or between two heating elements via the gas (see Figure 1).
Figure 1.
Thermal energy transport in a two-resistor TCD detector—visualization.
Thermal conductivity detectors, which have been in use for many years, remain essential for analyzing a wide range of substances. Their design facilitates easy miniaturization, leading to their continuous improvement and the resolution of issues found in traditional models. By employing deep spatial micromachining techniques on silicon and microelectronics materials, TCD detectors have become suitable for portable gas chromatographs [11,34,35]. A schematic view of a two-way thermal conductivity microdetector is shown in Figure 2.
Figure 2.
Schematic diagram of the micromechanical thermal conductivity detector.
At Wroclaw University of Science and Technology, the research team led by the report’s author developed a spiral TCD detector [11]. This sensor features a silicon–glass structure. Using wet anisotropic etching, a microfluidic channel (500 µm wide, 180 µm deep) and through holes (square 100 µm × 100 µm) were formed in the silicon substrate. Miniature platinum (or nickel) spirals were positioned within the microfluidic channel, allowing the spiral leads to pass through the etched holes. The outer diameter of the spiral is approximately 400 µm; the diameter of the wire from which the spirals are made varies from 12 µm to 20 µm. The channel and spirals were sealed with a glass layer featuring precisely cut channels (500 µm wide, 350 µm deep), achieved with a diamond saw. The glass and silicon substrates were permanently bonded using the anodic bonding method (Figure 3).
Figure 3.
TCD sensor (Wroclaw University of Science and Technology): (a) silicon substrate with etched microfluidic channels and placed miniature Pt (Ni) spirals—visualization; (b) miniature Pt (Ni) spiral; (c) silicon substrate: top view (left) and bottom view (right); (d) glass substrate (Reprinted from J.A. Dziuban, J. Mróz, M. Szczygielska, M. Małachowski, A. Górecka-Drzazga, R. Walczak, W. Buła, D. Zalewski, Ł. Nieradko, J. Łysko, J. Koszur, P. Kowalski, Portable gas chromatograph with integrated components, Sensors and Actuators A: Physical, Volume 115, Issues 2–3, 2004, Pages 318–330, ISSN 0924-4247, https://doi.org/10.1016/j.sna.2004.04.028, Copyright 2004, with permission from Elsevier [11]).
2.2. Thermal Conductivity Measurement
Gas calorimetry is a method to determine a gas’s calorific value by measuring the energy released during combustion. In laboratory settings, a fluid such as water is used to assess the calorific value; it is heated during combustion, and its temperature is recorded. However, these methods often require frequent calibration. In microsystem technology, piezoresistive or electromotive force generation (Seebeck effect) techniques are employed. In the example of a MEMS thermal conductivity sensor discussed below [36], miniature thermocouples are utilized (Figure 4).
Figure 4.
Schematic diagram of a gas calorimeter made on a silicon substrate and SiO2-Si3N4 membrane: a cross-section and top planar view—visualization (based on [36]).
The sensor consists of a silicon structure featuring a heating field and four temperature measurement areas (sets of polysilicon/aluminium thermocouples) on a thin SiO2/Si3N4 membrane. Each area contains several miniature thermocouples connected in series to amplify the output signal. The sensor detects temperature differences between the “hot spot” and the silicon rim (thermocouples). Tests show that gas composition can be distinguished by measuring thermal conductivity. For single-component gases, significant differences in measured conductivity are observed. The data for gas mixtures also allow for determining the gas composition. A notable characteristic is the non-linear nature of the changes, explained by the thermal conductivity of gases varying with the square root of the temperature. This property suggests a greater dynamic range of changes. A detailed description, including the compositions of the tested gas mixtures, is provided in [36].
This scientific work has been commercialized. The sensor is offered by Xsensors Integration. Brochures and datasheets about calorimetric chips are available on the company website (www.xensor.nl).
3. MEMS Pellistor
Pellistors are widely utilized for methane detection. Their operation relies on measuring the heater’s resistance as it varies with temperature. Typically, the heater is a coil composed of platinum or nickel wire, which also acts as a catalyst for methane combustion. When methane contacts the heated coil, it combusts, releasing heat. This heat alters the coil’s resistance, which is then measured to determine the methane concentration in the atmosphere being tested. An example of a pellistor using MEMS technology is detailed in [37]. It involves a thin Si3N4 membrane on a silicon substrate, with a thin-film platinum heater formed on it. The heater is shielded by an additional Si3N4 insulating layer, topped with a gold electrode and a catalytic layer of palladium (Pd) (Figure 5).
Figure 5.
MEMS pellistor: (a) cross-section through the structure—visualization; (b) top view—visualization (Reprinted (adapted) with permission from Bartlett, P. N., & Guerin, S. (2003). A Micromachined Calorimetric Gas Sensor: an Application of Electrodeposited Nanostructured Palladium for the Detection of Combustible Gases. Analytical Chemistry, 75(1), 126–132. https://doi.org/10.1021/ac026141w, Copyright 2003 American Chemical Society [37]).
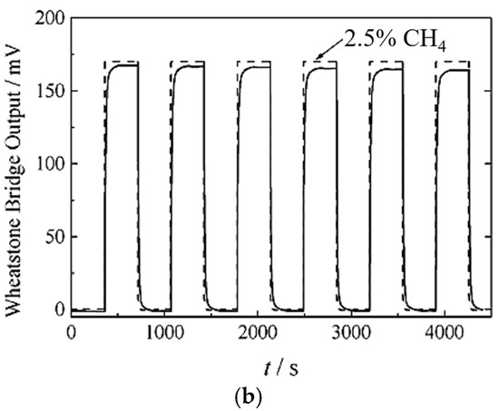
The sensor exhibits high sensitivity (Figure 6a) and low inertia (Figure 6b), attributes achieved through miniaturization and MEMS construction. Pellistors are specifically designed for detecting low methane concentrations. In most research, their measurement range is limited to a maximum of 2.5% methane concentration in the tested atmosphere. Consequently, using pellistors to measure the calorific value of natural gas is deemed impractical.

Figure 6.
MEMS pellistor: (a) characteristics of the sensor response to stimulation with a variable methane concentration; (b) time response of the sensor to pulse stimulation with a constant methane concentration (Reprinted (adapted) with permission from Bartlett, P. N., & Guerin, S. (2003). A Micromachined Calorimetric Gas Sensor: an Application of Electrodeposited Nanostructured Palladium for the Detection of Combustible Gases. Analytical Chemistry, 75(1), 126–132. https://doi.org/10.1021/ac026141w, Copyright 2003 American Chemical Society [37]).
4. Gas Viscosity Measurement
Gas viscosity is measured using capillary systems, which exploit the variation in flow through the capillary based on gas viscosity. In this example, the sensor comprises a flow chamber, a measuring chamber, and a capillary linking the two. A heater is situated in the measuring chamber. The pressure difference between the flow and measuring chambers is assessed as a function of the gas flow forced through the capillary. This flow is driven by the well-known principle of gas thermal expansion. The heater in the measuring chamber raises the gas temperature, thereby increasing its volume. Consequently, the pressure in the measuring chamber rises, expelling the gas from the chamber (Figure 7).
Figure 7.
Sensor for measuring gas viscosity: the LTCC sensor (left) and system enclosure (right) (Reprinted from Conor Slater, Thomas Maeder, Peter Ryser, Portable LTCC gas viscometer for determining Wobbe number, Procedia Engineering, Volume 5, 2010, Pages 307–310, ISSN 1877-7058, https://doi.org/10.1016/j.proeng.2010.09.109, based on CC BY-NC-ND 3.0 license [38]).
The sensor is constructed using LTCC technology, with its detailed design outlined in [38]. It is commercially available from Bright Sensors SA, Switzerland. The model for calculating the Wobbe Index based on dynamic gas viscosity is presented in Formula (1). This model is an experimental correlation involving dynamic viscosity (η), temperature (T), and the Wobbe Index (WI).
where
5. MEMS TCD Gas Calorific Value Meter
The advent of micro-electromechanical systems (MEMS) technology has introduced new opportunities in gas calorimetry. The calorific value of gas is a crucial factor that determines the performance of gaseous fuels like natural gas or LPG. An online meter for measuring gas calorific value is essential today, with applications ranging from feedback control in home-installed furnaces to the custody transfer of natural gas. Dynamic viscosity measurement offers a quicker but less precise method for calculating the Wobbe index. Alternatively, measuring thermal conductivity is fast but also less accurate. Calibration for different gas mixtures is vital for more accurate calorific value estimation. Although pellistors are commonly used for methane detection, their limited range makes them unsuitable for measuring natural gas calorific value.
We propose a novel natural gas meter utilizing MEMS sensor technology and a new method based on thermal conductivity with a pulse-fed heating element, providing time-domain characteristics in the measured signal. This solution allows for the estimation of natural gas calorific value, measurement of hydrogen content in natural gas, and assessment of binary gas mixture compositions. The estimated uncertainty in gas calorific assessment is just 3%, significantly better than current methods (excluding gas chromatography). Furthermore, our technique excels in measuring binary gas mixture composition, with uncertainty below 0.5%. This advancement has extensive applications in both residential and industrial settings, enabling informed operation control in gas-powered machines [39].
The gas calorific value meter based on a MEMS TCD sensor consists of three thin-film thermoresistors forming bridges across the microfluidic channel. Thermoresistor 1 functions as a gas temperature sensor and a pulse-fed heater. Thermoresistors 2 and 3 serve as temperature sensors (Figure 8).
Figure 8.
The MEMS TCD sensor: (a) configuration and working idea; (b) SEM picture of the fabricated MEMS structure.
In the novel approach for determining gas calorific value indirectly, the heater is driven by a pulse signal, creating a pulsating thermal wave. This wave is detected by temperature sensors. It is anticipated that the pulse signal will induce characteristic changes in the measured signal, allowing for time-domain analysis. An innovative mathematical algorithm was employed for analysis, involving fitting a function to the output signal, determining function parameters, and relating these parameters to a plane established during calibration. A prototype of the MEMS-based calorific measurement unit, including a test MEMS TCD-like structure (ITE Łukasiewicz Warsaw, Figure 8b) and electronics, has been developed (Figure 9) [40]. Basic parameters are listed in Table 3.
Figure 9.
The first prototype of the electronic unit for measuring the composition of gas mixtures, particularly for determining the calorific value of natural gas.
Table 3.
Basic parameters of the prototype.
The device requires calibration before the first start-up. During calibration, the course of the resistance change of the thermoresistors for selected gas compositions is measured. Calibration is performed on a specially developed automated station. A three-component reference mixture consisting of methane, ethane, and nitrogen is used. These components were selected because they contribute the largest amount to the calorific value of the gas mixture. The detailed calibration procedure and the algorithm for estimating the calorific value of the gas mixture were described by Cieślar in [40].
The sensor was tested for a three-component mixture that best represents the composition of natural gas (CH4, C2H6, and N2). The uncertainty in calorific value measurement was determined to be 3%; the histogram of the empirically determined calorific value measurement error is presented in Figure 10.
Figure 10.
Empirically determined measurement uncertainty (in [%] on the X-axis); on the Y-axis the frequency of occurrence (credits [40]).
Measurements of hydrogen in natural gas were performed, demonstrating feasibility for hydrogen concentrations in NG from 2% to 25%. Empirical results, along with analysis, suggest that measuring hydrogen content in natural gas with an unknown (including variable) composition will yield an accuracy of about 2%. In contrast, for NG with a known composition, the measurement accuracy improves to 0.3–0.5%. This latter finding is consistent with results from tests on binary gas mixtures, where measurement uncertainty was less than 0.5%.
6. Plasma MEMS-Based Spectrometer with Optical Detection
The sensor has a broad range of applications, primarily for determining the composition of various gas mixtures [41,42]. To illustrate its potential for hydrogen detection in natural gas, an initial characterization was performed.
The device features a miniature MEMS ionization chamber made of multilayer silicon and glass (Figure 11a,b) [43]. It contains a small volume of about 50 mm3 between two cathodes, two glass spacers, and a central anode. Two permanent magnets above and below the chamber generate a strong perpendicular magnetic field, facilitating gas sample discharge excitation. The chamber connects to an optical spectrometer via fiber optics, with discharge controlled by an integrated high-voltage power supply. Additional electronics include a low-voltage unit and a Raspberry Pi mini-computer (Figure 12a,b).
Figure 11.
The components: ionization chamber cross-section (a), and view at a glance (b) (Reprinted with permission from P. Knapkiewicz, T. Grzebyk and J. A. Dziuban, “The Sensor for H2 Content Measurements in Hydrogenated Gaseous Fuel”, 2023 IEEE 22nd International Conference on Micro and Nanotechnology for Power Generation and Energy Conversion Applications (PowerMEMS), Abu Dhabi, United Arab Emirates, 2023, pp. 27–29, https://doi.org/10.1109/PowerMEMS59329.2023.10417250 [43]).
Figure 12.
The device: top (a) and side view (b) (Reprinted with permission from P. Knapkiewicz, T. Grzebyk and J. A. Dziuban, “The Sensor for H2 Content Measurements in Hydrogenated Gaseous Fuel”, 2023 IEEE 22nd International Conference on Micro and Nanotechnology for Power Generation and Energy Conversion Applications (PowerMEMS), Abu Dhabi, United Arab Emirates, 2023, pp. 27–29, https://doi.org/10.1109/PowerMEMS59329.2023.10417250 [43]).
When the gas sample in the MEMS ionizer is excited, it emits light, producing a unique spectrum with distinct peaks at specific wavelengths. Comparing these peaks to reference data allows for gas identification, while peak intensities indicate concentrations. The sensor operates at reduced pressure (10−5 to 10 mbar), which requires a vacuum system but minimizes sample consumption and eliminates explosion risks when measuring hydrogen or methane.
Experiments were conducted in a high-vacuum chamber with an electronically controlled gas valve for precise pressure adjustments. Pure hydrogen and methane were supplied from gas cylinders, and a gas mixture with a defined concentration was prepared using two precise flow meters, allowing flow rates of 0.1 to 200 sccm. Most measurements occurred at 5 × 10−3 mbar, with the high-voltage power supply and optical spectrometer positioned outside the chamber.
To initiate and sustain the plasma discharge, 700 V was applied to the anode, maintaining a discharge current of about 100 µA at 5 × 10−3 mbar, resulting in a visible glow. The optical spectrum was measured in real time (Figure 13).
Figure 13.
Normalized optical spectra of hydrogen and methane (Reprinted with permission from P. Knapkiewicz, T. Grzebyk and J. A. Dziuban, “The Sensor for H2 Content Measurements in Hydrogenated Gaseous Fuel”, 2023 IEEE 22nd International Conference on Micro and Nanotechnology for Power Generation and Energy Conversion Applications (PowerMEMS), Abu Dhabi, United Arab Emirates, 2023, pp. 27–29, https://doi.org/10.1109/PowerMEMS59329.2023.10417250 [43]).
The acquisition parameters can be adjusted based on measurement conditions, especially pressure. Typically, a 200 ms period with averaging over three samples provides a clear signal. To minimize noise, a dark spectrum is subtracted from the recorded signal.
Measurements began by capturing optical signals from pure gases (100% H2 and 100% CH4), as shown in Figure 13. Analyzing methane and hydrogen is more complex due to shared elements, resulting in high-intensity peaks at 486 nm and 656 nm, corresponding to atomic hydrogen. However, unique peaks exist: methane exhibits a broad peak at 430 nm, while molecular hydrogen has bands near 600 nm and 750 nm, with the strongest peak at 752 nm.
These characteristic peaks are smaller than the atomic hydrogen lines but sufficient to analyze H2:CH4 mixtures (Figure 14). The simplest approach is to calculate the ratio of the 752 nm to 430 nm peaks. As hydrogen concentration decreases, the 752 nm peak weakens while the 430 nm peak strengthens (Figure 15a). This ratio correlates directly with hydrogen concentration (Figure 15b), applicable across a wide range of hydrogen content. The lower detection limit varies based on factors like pressure, voltage, optical calibration, and acquisition settings, ranging from 10% to a few percent.
Figure 14.
Optical spectrum of a mixture with CH4 80% and H2 20% (Reprinted with permission from P. Knapkiewicz, T. Grzebyk and J. A. Dziuban, “The Sensor for H2 Content Measurements in Hydrogenated Gaseous Fuel”, 2023 IEEE 22nd International Conference on Micro and Nanotechnology for Power Generation and Energy Conversion Applications (PowerMEMS), Abu Dhabi, United Arab Emirates, 2023, pp. 27–29, https://doi.org/10.1109/PowerMEMS59329.2023.10417250 [43]).

Figure 15.
Height of peaks characteristic for methane and hydrogen (a), and the ratio between them (b) as a function of hydrogen concentration (Reprinted with permission from P. Knapkiewicz, T. Grzebyk and J. A. Dziuban, “The Sensor for H2 Content Measurements in Hydrogenated Gaseous Fuel”, 2023 IEEE 22nd International Conference on Micro and Nanotechnology for Power Generation and Energy Conversion Applications (PowerMEMS), Abu Dhabi, United Arab Emirates, 2023, pp. 27–29, https://doi.org/10.1109/PowerMEMS59329.2023.10417250 [43]).
It is also noteworthy that the recorded spectra show good stability and produce repeatable results (Figure 16).
Figure 16.
Ratio of the hydrogen 752 nm peak to the methane peak 430 nm as a function of time for 20% hydrogen concentration (Reprinted with permission from P. Knapkiewicz, T. Grzebyk and J. A. Dziuban, “The Sensor for H2 Content Measurements in Hydrogenated Gaseous Fuel”, 2023 IEEE 22nd International Conference on Micro and Nanotechnology for Power Generation and Energy Conversion Applications (PowerMEMS), Abu Dhabi, United Arab Emirates, 2023, pp. 27–29, https://doi.org/10.1109/PowerMEMS59329.2023.10417250 [43]).
Witkowski et al. [44] presents an innovative approach to gas composition analysis using neural networks and the previously described MEMS plasma spectrometer to assess the chemical makeup of gas mixtures, specifically focusing on natural gas. The authors explore the potential of neural networks to predict both the chemical composition and the partial pressures of individual gases based on their emission spectra.
In the context of natural gas, the study highlights the accurate determination of hydrogen concentration within methane, a critical parameter, especially as the energy sector moves toward cleaner fuels. The authors demonstrate that trained neural networks achieved a mean absolute error of approximately 1.4% when determining the chemical composition of binary mixtures of hydrogen and methane. Their methodology emphasizes the operational efficiency of the MEMS sensor, which provides rapid results and a compact alternative to traditional gas analysis methods, such as gas chromatography.
Moreover, the findings indicate that pressure significantly influences the emission spectra of gases, affecting the accuracy of composition predictions. The system’s ability to detect hydrogen content within methane not only supports the industry’s need for precise measurements but also addresses environmental concerns related to hydrogen emissions and energy production. The study concludes that these advancements in gas sensing technology could benefit a range of applications, from natural gas monitoring to more complex assessments required in space exploration and industrial processes.
7. Discussion and Summary
The integration of hydrogen into the natural gas (NG) infrastructure is increasingly viewed as a pivotal step toward a sustainable energy future. As highlighted in the article, hydrogen is considered a clean fuel with the potential to dramatically reduce greenhouse gas emissions. The transition to hydrogen-based energy sources can be facilitated by blending hydrogen with natural gas, creating a more versatile fuel mixture. However, meticulous monitoring of hydrogen concentrations at various distribution points is critical to ensure the reliability of this approach. This adds urgency to the development of effective measurement technologies for hydrogen content in NG streams.
Standard methods for gauging hydrogen content, such as gas chromatography and mass spectrometry, offer various advantages but also come with significant limitations. Gas chromatography, while highly accurate, is expensive and complex, making it less suitable for real-time monitoring in dynamic environments. Similarly, mass spectrometry achieves excellent analytical results but faces challenges when dealing with mixtures that include both hydrogen and hydrocarbons as the ionization process can distort hydrogen measurements.
Emerging technologies, particularly those based on micro-electromechanical systems (MEMSs), propose viable alternatives to traditional methods. The article discusses the potential of MEMS devices, such as a thermal conductivity detector (TCD) and new ionization spectrometry designs, to address current limitations in measuring hydrogen content. The advantages of MEMS technology lie in its miniaturization, cost-effectiveness, ease of installation, and ability to provide real-time measurements. This positions it as a strong contender for widespread use in gas distribution networks.
MEMS-based systems for measuring the calorific value and hydrogen content in NG represent a significant advancement in gas analysis technology. The MEMS thermal conductivity gas calorimeter developed by the Wroclaw team illustrates the synergy of modern sensing technologies with traditional calorific value measurement methods. The novel approach utilizing a pulsating thermal wave generated by a pulse-driven heater offers a robust method for characterizing gas mixtures. The reported uncertainty of 3% in calorific value assessment outshines many existing techniques, emphasizing the device’s practical utility. For applications in normal conditions, i.e., operating temperatures from −20 °C to +40 °C, and locations (heights above sea level) up to 2000 m, the thermal conductivity of gases as a function of temperature and pressure is negligible. For this reason, the sensor can be used practically anywhere in the world, with the particular purpose of measuring the calorific value of gas used by end users, e.g., households.
Moreover, the possibility of measuring hydrogen concentrations ranging from 2% to 25% in NG also underscores the versatility of the MEMS sensors discussed in the article. The device’s accuracy, particularly when analyzing gas mixtures with known compositions, is commendable at 0.3–0.5%, indicating its potential for deployment in various sectors, from residential heating systems to industrial applications. The findings presented highlight the necessity of robust measurement systems to ensure that hydrogen blending into NG networks is not only feasible but also safe and economically viable.
For comparison purposes, Table 4 provides a simple summary of the most important features of the previously discussed measurement methods using a MEMS component. It includes whether the method is suitable for measuring a multicomponent or binary gas mixture, or selective for measuring hydrogen; the percentage range of hydrogen in the gas mixture; the ability to determine the calorific value of the gas mixture; and the uncertainty of the calorific value determination. The last column provides an estimated price for a system for determining the calorific value of natural gas.
Table 4.
A comparison of NG calorific value measurement methods.
Further exploration of the comparative advantages of MEMS-based sensors vis-à-vis traditional methods opens the door for further innovation. For instance, the reduced size and lower production costs of MEMS devices indicate that they can be deployed at multiple points across the gas distribution network, enhancing monitoring capabilities significantly. This may lead to more informed operational decision-making and improved safety measures, minimizing the risk of hydrogen-related incidents in gas pipelines.
In addition to MEMS devices, the exploration of optical spectrometry using a MEMS ionization chamber and plasma detection also shows great promise. The ability to characterize hydrogen and methane mixtures through spectral analysis offers a potent tool for dynamic monitoring while eliminating explosion risks associated with traditional gas measurements. The experiments detailing the reliable detection of hydrogen at various concentrations pave the way for further developments in discerning complex gas mixtures in real time.
Gas chromatograph installations on natural gas distribution lines are commonly used with full safety assurance. MEMS-based alternatives to GC will be connected to gas lines using the same sample delivery systems as those for GC. These include a gas viscosity meter and a plasma spectrometer. As for the TCD gas calorific sensor, it is designed to be built in its entirety inside the gas meters. As long as the device remains “immersed” in NG, there is no risk of explosion. Potential leakage of the gas meter containing the calorific value meter should also not provoke an explosion. Such a risk will occur when flammable gas is released into the air and there are elements in the environment that initiate ignition of the fuel (gas)–air mixture.
However, despite the numerous advantages of MEMS technology, challenges remain. The need for continuous calibration and the influence of environmental factors on sensor accuracy are critical considerations that must be addressed. Future research endeavors should focus on improving the robustness of MEMS devices, enhancing their sensing capabilities, and reducing dependency on calibration. Addressing these challenges would bring MEMS devices closer to becoming the standard for hydrogen measurement in the energy sector.
The implications of these technological advances extend beyond the measurement of hydrogen content. They represent a transformative shift in how energy is monitored, integrated, and utilized within the context of sustainability. As nations strive to meet ambitious emissions reduction targets, the deployment of innovative measurement techniques will play an essential role in facilitating the transition toward hydrogen economies. With their potential to enable better mixing, transport, and storage solutions, MEMS technologies bring us closer to a future where hydrogen plays a key role in our energy landscape.
The integration of hydrogen into the natural gas infrastructure represents a fundamental shift toward a cleaner, more sustainable energy system. The article emphasizes the importance of accurate hydrogen measurement techniques to ensure the safe and efficient operation of gas distribution networks as hydrogen content increases. Traditional methods such as gas chromatography and mass spectrometry have proven effective but often fall short in dynamic environments where real-time monitoring is essential.
In light of these challenges, the research and development of MEMS-based sensors emerges as a compelling solution. These innovative devices offer many advantages, including miniaturization, decreased costs, and the ability to provide real-time data on gas composition. The MEMS thermal conductivity gas calorimeter, in particular, has demonstrated impressive accuracy with a reported uncertainty of only 3%, surpassing many conventional measurement methods.
Funding
This research received no external funding.
Conflicts of Interest
The author declares no conflict of interest.
References
- Teixeira, A.C.R.; Machado, P.G.; Collaço, F.M.d.; Mouette, D. Alternative fuel technologies emissions for road heavy-duty trucks: A review. Environ. Sci. Pollut. Res. 2021, 28, 20954–20969. [Google Scholar] [CrossRef] [PubMed]
- Rony, Z.I.; Mofijur, M.; Hasan, M.; Rasul, M.; Jahirul, M.; Ahmed, S.F.; Kalam, M.; Badruddin, I.A.; Khan, T.Y.; Show, P.-L. Alternative fuels to reduce greenhouse gas emissions from marine transport and promote UN sustainable development goals. Fuel 2023, 338, 127220. [Google Scholar] [CrossRef]
- Stančin, H.; Mikulčić, H.; Wang, X.; Duić, N. A review on alternative fuels in future energy system. Renew. Sustain. Energy Rev. 2020, 128, 109927. [Google Scholar] [CrossRef]
- Kanna, I.V.; Paturu, P. A study of hydrogen as an alternative fuel. Int. J. Ambient. Energy 2020, 41, 1433–1436. [Google Scholar] [CrossRef]
- Prussi, M.; Scarlat, N.; Acciaro, M.; Kosmas, V. Potential and limiting factors in the use of alternative fuels in the European maritime sector. J. Clean. Prod. 2021, 291, 125849. [Google Scholar] [CrossRef]
- Melaina, M.W.; Antonia, O.; Penev, M. Blending Hydrogen into Natural Gas Pipeline Networks: A Review of Key Issues; National Renewable Energy Laboratory: Golden, CO, USA, 2013. [Google Scholar] [CrossRef]
- Lunarska, E.; Ososkov, Y.; Jagodzinsky, Y. Correlation between critical hydrogen concentration and hydrogen damage of pipeline steel. Int. J. Hydrogen Energy 1997, 22, 279–284. [Google Scholar] [CrossRef]
- Nyrkova, L.; Klymenko, A.; Osadchuk, S.; Kovalenko, S.Y. Comparative investigation of electrolytic hydrogenation of pipe assortment steel under cathodic polarization. Int. J. Hydrogen Energy 2024, 49, 1075–1087. [Google Scholar] [CrossRef]
- Hafsi, Z.; Mishra, M.; Elaoud, S. Hydrogen embrittlement of steel pipelines during transients. Procedia Struct. Integr. 2018, 13, 210–217. [Google Scholar] [CrossRef]
- Li, H.; Niu, R.; Li, W.; Lu, H.; Cairney, J.; Chen, Y.-S. Hydrogen in pipeline steels: Recent advances in characterization and embrittlement mitigation. J. Nat. Gas Sci. Eng. 2022, 105, 104709. [Google Scholar] [CrossRef]
- Dziuban, J.; Mróz, J.; Szczygielska, M.; Małachowski, M.; Górecka-Drzazga, A.; Walczak, R.; Buła, W.; Zalewski, D.; Nieradko, Ł.; Łysko, J.; et al. Portable gas chromatograph with integrated components. Sens. Actuators A Phys. 2004, 115, 318–330. [Google Scholar] [CrossRef]
- Narayanan, S.; Agah, M. Fabrication and Characterization of a Suspended TCD Integrated with a Gas Separation Column. J. Microelectromech. Syst. 2013, 22, 1166–1173. [Google Scholar] [CrossRef]
- Larin, A.; Womble, P.C.; Dobrokhotov, V. Novel highly-integrated mems based solid state detectors for analytical gas chromatography. Sens. Actuators B Chem. 2018, 256, 1057–1068. [Google Scholar] [CrossRef]
- Samotaev, N.; Podlepetsky, B.; Mashinin, M.; Ivanov, I.; Obraztsov, I.; Oblov, K.; Dzhumaev, P. Thermal Conductivity Gas Sensors for High-Temperature Applications. Micromachines 2024, 15, 138. [Google Scholar] [CrossRef] [PubMed]
- Cho, W.; Kim, T.; Shin, H. Thermal conductivity detector (TCD)-type gas sensor based on a batch-fabricated 1D nanoheater for ultra-low power consumption. Sens. Actuators B Chem. 2022, 371, 132541. [Google Scholar] [CrossRef]
- Teledyne 2750 Portable Gas Analyzer, General Description and Datasheets Available on the Teledyne’s Website. Available online: https://www.teledyne-ai.com/en-us/products/gas-analyzers/2750 (accessed on 30 January 2025).
- Novak, J.P. Quantitative Analysis by Gas Chromatography, 2nd ed.; CRC Press: Boca Raton, FL, USA, 1987. [Google Scholar]
- Yang, C.; Lambert, P.; Nguyen, M.; Yang, Z.; Hollebone, B.P.; Fieldhouse, B.; Brown, C.E. Application of gas chromatography-high resolution quadrupole time-of-flight mass spectrometry in fingerprinting analysis of polycyclic aromatic sulfur heterocycles. J. Chromatogr. A 2020, 1630, 461577. [Google Scholar] [CrossRef]
- Wu, X.; Zhang, H.; Yang, M.; Jia, W.; Qiu, Y.; Lan, L. From the perspective of new technology of blending hydrogen into natural gas pipelines transmission: Mechanism, experimental study, and suggestions for further work of hydrogen embrittlement in high-strength pipeline steels. Int. J. Hydrogen Energy 2022, 47, 8071–8090. [Google Scholar] [CrossRef]
- Leary, P.E.; Kammrath, B.W.; Lattman, K.J.; Beals, G.L. Deploying Portable Gas Chromatography–Mass Spectrometry (GC-MS) to Military Users for the Identification of Toxic Chemical Agents in Theater. Appl. Spectrosc. 2019, 73, 841–858. [Google Scholar] [CrossRef]
- Meuzelaar, H.L.C.; Dworzanski, J.P.; Arnold, N.S.; McClennen, W.H.; Wager, D.J. Advances in field-portable mobile GC/MS instrumentation. Field Anal. Chem. Technol. 2000, 4, 3–13. [Google Scholar] [CrossRef]
- Leary, P.E.; Dobson, G.S.; Reffner, J.A. Development and Applications of Portable Gas Chromatography–Mass Spectrometry for Emergency Responders, the Military, and Law-Enforcement Organizations. Appl. Spectrosc. 2016, 70, 888–896. [Google Scholar] [CrossRef]
- Son, H.W.; Lee, J.S.; Lim, S.-H. Miniaturized Gas Analysis System for Detection of Trace-level Volatile Organic Compound Mixtures. In Proceedings of the 17th International Meeting on Chemical Sensors—IMCS 2018, Wien, Austria, 15–19 July 2018. [Google Scholar] [CrossRef]
- Alkhabet, M.M.; Girei, S.H.; Salih, H.K.; Thabit, R.; Issa, M.A.; Paiman, S.; Arsad, N.; Alresheedi, M.T.; A Mahdi, M.; Yaacob, M.H. Room temperature operated hydrogen sensor using palladium coated on tapered optical fiber. Mater. Sci. Eng. B 2023, 287, 116092. [Google Scholar] [CrossRef]
- Zarei, M.; Hamidi, S.M.; Chee, K.-W.-A. Colorimetric Plasmonic Hydrogen Gas Sensor Based on One-Dimensional Nano-Gratings. Crystals 2023, 13, 363. [Google Scholar] [CrossRef]
- Darmadi, I.; Nugroho, F.A.A.; Langhammer, C. High-Performance Nanostructured Palladium-Based Hydrogen Sensors—Current Limitations and Strategies for Their Mitigation. ACS Sens. 2020, 5, 3306–3327. [Google Scholar] [CrossRef] [PubMed]
- Li, Q.; Wang, L.; Xiao, A.; Zhu, L.; Yang, Z. Hydrogen sensing towards palladium-based nanocomposites: A review. Int. J. Hydrogen Energy, 2024; in press. [Google Scholar] [CrossRef]
- Bartle, K.D.; Myers, P. History of gas chromatography. TrAC Trends Anal. Chem. 2002, 21, 547–557. [Google Scholar] [CrossRef]
- Poole, C. (Ed.) Gas Chromatography, 2nd ed.; Elsevier: Amsterdam, The Netherlands, 2021; ISBN 978-0-12-820675-1. [Google Scholar]
- McNair, H.M.; Miller, J.M.; Snow, N.H. Basic Gas Chromatography, 3rd ed.; Willey: Hoboken, NJ, USA, 2019. [Google Scholar]
- Łysko, J.M.; Latecki, B.; Nikodem, M.W.; Górska, M.; Małachowski, M. Silicon TCD for the methane and carbon monoxide detection. J. Telecomun. Inf. Technol. 2005, 19, 94–97. [Google Scholar] [CrossRef]
- de Graaf, G.; Prouza, A.A.; Ghaderi, M.; Wolffenbuttel, R. Micro thermal conductivity detector with flow compensation using a dual MEMS device. Sens. Actuators A Phys. 2016, 249, 186–198. [Google Scholar] [CrossRef]
- Zhao, B.; Feng, F.; Tian, B.; Yu, Z.; Li, X. Micro thermal conductivity detector based on SOI substrate with low detection limit. Sens. Actuators B Chem. 2020, 308, 127682. [Google Scholar] [CrossRef]
- Smith, P.A. Chapter 10 Portable Gas Chromatography. In Analytical Separation Science; Willey: Hoboken, NJ, USA, 2015. [Google Scholar] [CrossRef]
- Burroughs, G.E. Portable Gas Chromatographs. Appl. Occup. Environ. Hyg. 1999, 14, 159–162. [Google Scholar] [CrossRef]
- Udina, S.; Carmona, M.; Carles, G.; Santander, J.; Fonseca, L.; Marco, S. A micromachined thermoelectric sensor for natural gas analysis: Thermal model and experimental results. Sens. Actuators B Chem. 2008, 134, 551–558. [Google Scholar] [CrossRef]
- Bartlett, P.N.; Guerin, S. A Micromachined Calorimetric Gas Sensor: An Application of Electrodeposited Nanostructured Palladium for the Detection of Combustible Gases. Anal. Chem. 2003, 75, 126–132. [Google Scholar] [CrossRef]
- Slater, C.; Maeder, T.; Ryser, P. Portable LTCC gas viscometer for determining Wobbe number. Procedia Eng. 2010, 5, 307–310. [Google Scholar] [CrossRef]
- Oluwadare, B.S.; Adeleye, S.A.; Ogundaisi, O.A. Impact of Fuel Quality on Gas Turbine Components. Eur. J. Appl. Sci. Eng. Technol. 2024, 2, 50–58. [Google Scholar] [CrossRef] [PubMed]
- Cieślar, E. Czujnik zawartości wodoru w gazie ziemnym/Natural Gas Hydrogen Composition Sensor. Gaz Woda I Tech. Sanit. Czerwiec 2023, 1, 4–7. [Google Scholar] [CrossRef]
- Grzebyk, T.; Szyszka, P.; Dziuban, J. Identification of a Gas Composition Based on an Optical Spectrum of Plasma Generated in MEMS Ion Spectrometer. In Proceedings of the 2021 IEEE 20th International Conference on Micro and Nanotechnology for Power Generation and Energy Conversion Applications (PowerMEMS), Exeter, UK, 6–8 December 2021; pp. 148–151. [Google Scholar] [CrossRef]
- Grzebyk, T.; Szyszka, P.; Górecka-Drzazga, A.; Dziuban, J.A. Glow discharge ion source for on-chip integrated miniature MEMS spectrometers. J. Phys. Conf. Ser. 2019, 1407, 012020. [Google Scholar] [CrossRef]
- Knapkiewicz, P.; Grzebyk, T.; Dziuban, J.A. The Sensor for H2 Content Measurements in Hydrogenated Gaseous Fuel. In Proceedings of the 2023 IEEE 22nd International Conference on Micro and Nanotechnology for Power Generation and Energy Conversion Applications (PowerMEMS), Abu Dhabi, United Arab Emirates, 11–14 December 2023; pp. 27–29. [Google Scholar] [CrossRef]
- Witkowski, K.; Grzebyk, T. Neural network-assisted emission spectra analysis of gases using MEMS sensor: Predicting chemical composition and pressure. Measurement 2025, 240, 115579. [Google Scholar] [CrossRef]
- Tsochatzidis, N.A.; Karantanas, E. Assessment of calorific value at a gas transmission network. J. Nat. Gas Sci. Eng. 2012, 9, 45–50. [Google Scholar] [CrossRef]
Disclaimer/Publisher’s Note: The statements, opinions and data contained in all publications are solely those of the individual author(s) and contributor(s) and not of MDPI and/or the editor(s). MDPI and/or the editor(s) disclaim responsibility for any injury to people or property resulting from any ideas, methods, instructions or products referred to in the content. |
© 2025 by the author. Licensee MDPI, Basel, Switzerland. This article is an open access article distributed under the terms and conditions of the Creative Commons Attribution (CC BY) license (https://creativecommons.org/licenses/by/4.0/).