Insulation for Rotating Low-Voltage Electrical Machines: Degradation, Lifetime Modeling, and Accelerated Aging Tests
Abstract
1. Introduction
2. EM Development and Insulation System
2.1. EM Modern Applications
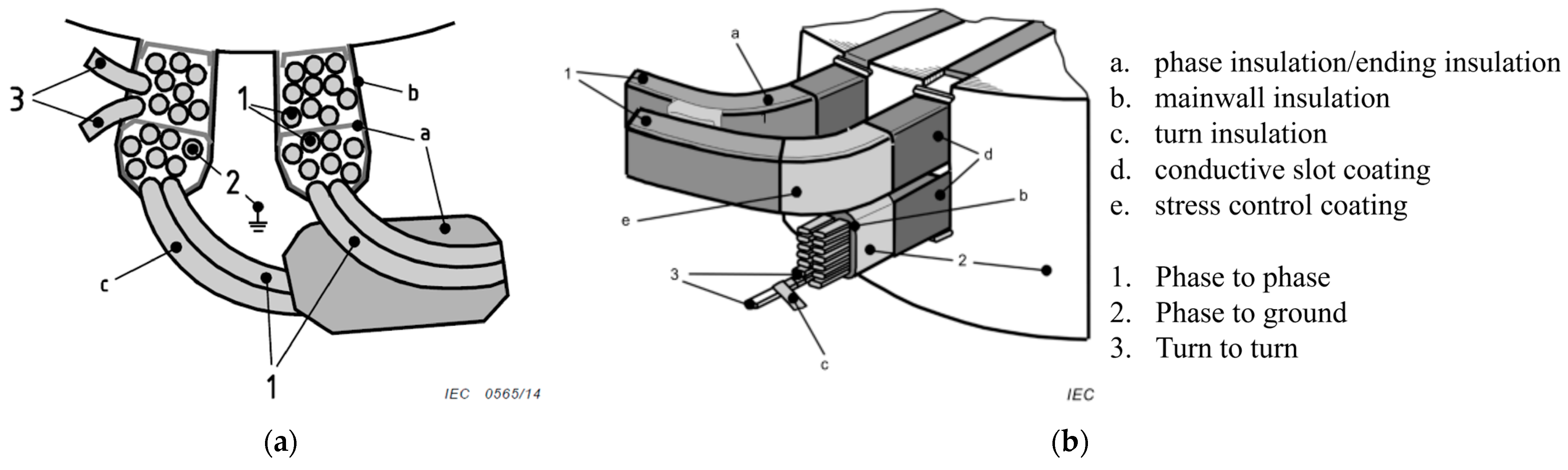
2.2. Winding and Insulation System
- The enameled round wires (i.e., round copper conductors insulated by the organic insulation) ensure the insulation among turns, and turn-to-turn insulation breakdown might quickly escalate to more severe failures [53]. For this reason, several investigations are focused on the dielectric behavior of inter-turn insulation [11,54,55];
- The phase-to-phase insulation consists of an insulation paper sheet, which is located between the phase’s coils, increasing the dielectric strength [56]. Phase separators are also placed in the end winding region [57,58], where the probability of failure occurrence is higher. Common insulation papers are made of aramid (i.e., Nomex in Dupont trade), polyester film (Mylar), or polyester fleece (Dacron) [52];
- The phase-to-ground insulation also employs insulation paper, namely slot liner, to prevent contact between coils and the stator core. The slot liner’s thickness depends on the voltage class of EMs [59], and a possible failure triggers an asymmetric fault.
3. EM Development and Insulation System
3.1. Thermal Stress and Aging
3.2. Electrical Stress and PD
3.3. Ambient Stress
3.4. Mechanical Stress

4. Insulation Lifetime Modelling
4.1. Thermal Lifetime Models
4.1.1. Thermal Lifetime Modelling at Constant Temperature
4.1.2. Thermal Lifetime Modelling at Variable Temperature
- application mission profile;
- windings temperature profile;
- lifetime model parameters obtained through ALT.
4.2. Electric Stress Lifetime Modelling

4.3. Lifetime Modelling under Thermo-Electrical Stress
4.3.1. Simoni’s Model
4.3.2. Fallou’s Model
4.3.3. Ramu’s Model
4.4. Lifetime Modelling under Thermo-Electrical Stress
4.4.1. Thermal-Induced Mechanical Stress Model
4.4.2. Thermal-Induced Mechanical Stress Model
4.5. Summary of Insulation Lifetime Models
5. Accelerate Lifetime Tests
5.1. Thermal ALT at Constant Temperature
5.1.1. Experimental Setup
5.1.2. Specimens’ Choice
5.1.3. Diagnostic Session
5.2. Thermal ALT at Variable Temperature
5.2.1. Experimental Setup
5.2.2. Specimens’ Choice
5.3. Electrical Endurance and PD Tests
5.3.1. Experimental Platform Setup for Electrical Aging
5.3.2. Specimens’ Choice
6. Reliability Oriented Design and Remaining Useful Life
7. Conclusions and Future Perspectives
Funding
Data Availability Statement
Conflicts of Interest
Abbreviation
| AEA | All Electric Aircraft | 
| ALT | Accelerated Lifetime Test | 
| EM | Electric Machine | 
| EV | Electric Vehicle | 
| EIS | Electric Insulation System | 
| ELM | Exponential Law Model | 
| eVTOL | electrical Vertical Take-Off and Landing aircraft | 
| FEA | Finite Element Analysis | 
| HV | High Voltage | 
| IEC | International Electrotechnical Commission | 
| IPM | Inverse Power Law Model | 
| LV | Low Voltage | 
| MEA | More Electric Aircraft | 
| OF | Overvoltage Factor | 
| PAI | Polyamideimide | 
| PD | Partial Discharge | 
| PDIV | Partial Discharge Inception Voltage | 
| PEI | Polyetherimide | 
| PMT | Photomultiplier Tube | 
| PoF | Physics of Failure | 
| RoD | Reliability-oriented Design | 
| PWM | Pulse Width Modulation | 
| RUL | Remaining Useful Life | 
| TEAM | Thermal, Electrical, Ambient, Mechanical | 
| Tg | Transition to Glass | 
| TP | Temperature Profile | 
| TEC | Thermal Expansion Coefficient | 
| VEC | Voltage-Endurance Coefficient | 
| VSD | Variable Speed Drive | 
| WBG | Wide Bandgap | 
References
- Swaminathan, N.; Reddy, S.R.P.; Rajashekara, K.; Haran, K.S. Flying Cars and eVTOLs—Technology Advancements, Powertrain Architectures, and Design. IEEE Trans. Transp. Electrif. 2022, 8, 4105–4117. [Google Scholar] [CrossRef]
- European Comission. Annual Analyses of the EU Air Transport Market; European Comission: Brussels, Belgium, 2016. [Google Scholar]
- IEA. Global EV Outlook 2021—Accelerating Ambitions Despite the Pandemic; Technical Report; IEA: Paris, France, 2021; p. 101. [Google Scholar]
- El-Refaie, A.; Osama, M. High Specific Power Electrical Machines: A System Perspective. CES Trans. Electr. Mach. Syst. 2019, 3, 88–93. [Google Scholar] [CrossRef]
- Galea, M.; Giangrande, P.; Madonna, V.; Buticchi, G. Reliability-Oriented Design of Electrical Machines: The Design Process for Machines’ Insulation Systems MUST Evolve. IEEE Ind. Electron. Mag. 2020, 14, 20–28. [Google Scholar] [CrossRef]
- Han, C. Lifetime evaluation of class e electrical insulation for small induction motors. IEEE Electr. Insul. Mag. 2011, 27, 14–19. [Google Scholar] [CrossRef]
- Yang, D.; Liu, X. Remaining Useful Life Prediction for bearing based on Online Oil Parameters and Vibration Signals. In Proceedings of the 2022 Global Reliability and Prognostics and Health Management (PHM-Yantai), Yantai, China, 13–16 October 2022; pp. 1–5. [Google Scholar] [CrossRef]
- Liu, Q.; Ma, G.; Cheng, C. Generative Adversarial Network Based Multi-class Imbalanced Fault Diagnosis of Rolling Bearing. In Proceedings of the 2019 4th International Conference on System Reliability and Safety (ICSRS), Rome, Italy, 20–22 November 2019; pp. 318–324. [Google Scholar] [CrossRef]
- Albrecht, P.; Appiarius, J.; Sharma, D. Assessment of the Reliability of Motors in Utility Applications—Updated. IEEE Trans. Energy Convers. 1986, EC-1, 39–46. [Google Scholar]
- He, J.; Somogyi, C.; Strandt, A.; Demerdash, N.A.O. Diagnosis of stator winding short-circuit faults in an interior permanent magnet synchronous machine. In Proceedings of the 2014 IEEE Energy Conversion Congress and Exposition (ECCE), Pittsburgh, PA, USA, 14–18 September 2014; pp. 3125–3130. [Google Scholar] [CrossRef]
- Ji, Y.; Giangrande, P.; Zhao, W.; Madonna, V.; Zhang, H.; Galea, M. Derivation of Ambient Enhancement Factors of Impregnated Twisted pairs for Partial Discharge Risk Evaluation. IEEE Trans. Transp. Electrif. 2023, 10, 485–495. [Google Scholar] [CrossRef]
- Ji, Y.; Giangrande, P.; Wang, H.; Zhao, W.; Madonna, V.; Zhang, H.; Galea, M. Time-to-failure analysis of short-duty cycle, inverter-fed electrical machines exposed to prevailing electrical stress. IEEE Trans. Aerosp. Electron. Syst. 2023, 59, 9368–9378. [Google Scholar] [CrossRef]
- Ji, Y.; Giangrande, P.; Zhao, H.; Zhao, W.; Madonna, V.; Zhang, H.; Galea, M. Electrical Machine Design Considering Corona-Resistant Wire for More Electric Aircraft Applications. IEEE Trans. Transp. Electrif. 2023, 9, 3192–3202. [Google Scholar] [CrossRef]
- IEC 60034-18-41:2014; IEC 60034 Rotating Electrical Machines—Part 18–41: Partial Discharge Free Electrical Insulation Systems (Type I) Used in Rotating Electrical Machines Fed from Voltage Converters—Qualification and Quality Control Tests. International Electrotechnical Commission: London, UK, 2014.
- MI-HDBK-217F; Reliability Prediction of Electronic Equipment. Department Defence, United States of America: Washington, DC, USA, 1991.
- Wang, H.; Liserre, M.; Blaabjerg, F.; Rimmen, P.d.P.; Jacobsen, J.B.; Kvisgaard, T.; Landkildehus, J. Transitioning to physics-of-failure as a reliability driver in power electronics. IEEE J. Emerg. Sel. Top. Power Electron. 2014, 2, 97–114. [Google Scholar] [CrossRef]
- Madonna, V.; Giangrande, P.; Galea, M. Introducing physics of failure considerations in the electrical machines design. In Proceedings of the 2019 IEEE International Electric Machines & Drives Conference (IEMDC), San Diego, CA, USA, 12–15 May 2019; pp. 2233–2238. [Google Scholar] [CrossRef]
- Lee, S.B.; Kang, T.J.; Kim, H.; Kong, T.; Lim, C. Case studies of stator winding turn insulation failures in medium voltage motors. In Proceedings of the 2017 Annual Pulp, Paper and Forest Industries Technical Conference (PPFIC), Tacoma, WA, USA, 18–23 June 2017; pp. 1–8. [Google Scholar] [CrossRef]
- Cheng, C.; Ma, G.; Zhang, Y.; Sun, M.; Teng, F.; Ding, H.; Yuan, Y. A Deep Learning-Based Remaining Useful Life Prediction Approach for Bearings. IEEE/ASME Trans. Mechatron. 2020, 25, 1243–1254. [Google Scholar] [CrossRef]
- Madonna, V.; Giangrande, P.; Lusuardi, L.; Cavallini, A.; Gerada, C.; Galea, M. Thermal Overload and Insulation Aging of Short Duty Cycle, Aerospace Motors. IEEE Trans. Ind. Electron. 2020, 67, 2618–2629. [Google Scholar] [CrossRef]
- Mancinelli, P.; Stagnitta, S.; Cavallini, A. Qualification of Hairpin Motors Insulation for Automotive Applications. IEEE Trans. Ind. Appl. 2017, 53, 3110–3118. [Google Scholar] [CrossRef]
- Ghassemi, M. Accelerated insulation aging due to fast, repetitive voltages: A review identifying challenges and future research needs. IEEE Trans. Dielectr. Electr. Insul. 2019, 26, 1558–1568. [Google Scholar] [CrossRef]
- IEC 60172-2020; Test Procedure for the Determination of the Temperature Index of Enamelled and Tape Wrapped Winding Wires. International Electrotechnical Commission: London, UK, 2015.
- IEC 60034-18-42:2017; IEC 60034: Rotating Electrical Machines—Part 18–42: Partial Discharge Resistant Electrical Insulation Systems (Type II) Tests Used in Rotating Electrical Machines Fed from Voltage Converters-Qualification. International Electrotechnical Commission: Geneva, Switzerland, 2017.
- Giangrande, P.; Madonna, V.; Nuzzo, S.; Galea, M. Moving toward a Reliability-Oriented Design Approach of Low-Voltage Electrical Machines by Including Insulation Thermal Aging Considerations. IEEE Trans. Transp. Electrif. 2020, 6, 16–27. [Google Scholar] [CrossRef]
- Kokko, V.I.J. Ageing due to thermal cycling by start and stop cycles in lifetime estimation of hydroelectric generator stator windings. In Proceedings of the 2011 IEEE International Electric Machines & Drives Conference (IEMDC), Niagara Falls, ON, Canada, 15–18 May 2011; pp. 318–323. [Google Scholar] [CrossRef]
- Rothe, R.; Hameyer, K. Life expectancy calculation for electric vehicle traction motors regarding dynamic temperature and driving cycles. In Proceedings of the 2011 IEEE International Electric Machines & Drives Conference (IEMDC), Niagara Falls, ON, Canada, 5–18 May 2011; pp. 1306–1309. [Google Scholar] [CrossRef]
- Mitsui, H.; Inoue, Y.; Kenjo, S.; Corporation, T. Thermal Cyclic Degradation of Coil Insulation for Rotating Machines. IEEE Trans. Power Appar. Syst. 1983, PAS-102, 67–73. [Google Scholar] [CrossRef]
- Huang, Z.; Reinap, A.; Alaküla, M. Degradation and fatigue of epoxy impregnated traction motors due to thermal and thermal induced mechanical stress—Part I: Thermal mechanical simulation of single wire due to evenly distributed temperature. In Proceedings of the 8th IET International Conference on Power Electronics, Machines and Drives (PEMD 2016), Glasgow, UK, 19–21 April 2016; pp. 1–6. [Google Scholar] [CrossRef]
- Huang, Z.; Reinap, A.; Alaküla, M. Degradation and fatigue of epoxy impregnated traction motors due to thermal and thermal induced mechanical stress—Part II: Thermal mechanical simulation of multiple wires due to evenly and unevenly distributed temperature. IET Conf. Publ. 2016, 2016, 1–5. [Google Scholar] [CrossRef]
- Griffo, A.; Tsyokhla, I.; Wang, J. Lifetime of machines undergoing thermal cycling stress. In Proceedings of the 2019 IEEE Energy Conversion Congress and Exposition (ECCE), Baltimore, MD, USA, 29 September–3 October 2019; pp. 3831–3836. [Google Scholar] [CrossRef]
- Sciascera, C.; Galea, M.; Giangrande, P.; Gerada, C. Lifetime consumption and degradation analysis of the winding insulation of electrical machines. IET Conf. Publ. 2016, 2016, 1–5. [Google Scholar] [CrossRef]
- Mikami, H.; Ide, K.; Shimizu, Y.; Senoo, M.; Seki, H. Historical evolution of motor technology. Hitachi Rev. 2011, 60, 38–45. [Google Scholar]
- Emadi, A.; Lee, Y.J.; Rajashekara, K. Power electronics and motor drives in electric, hybrid electric, and plug-in hybrid electric vehicles. IEEE Trans. Ind. Electron. 2008, 55, 2237–2245. [Google Scholar] [CrossRef]
- Cao, W.; Mecrow, B.C.; Atkinson, G.J.; Bennett, J.W.; Atkinson, D.J. Overview of electric motor technologies used for more electric aircraft (MEA). IEEE Trans. Ind. Electron. 2012, 59, 3523–3531. [Google Scholar] [CrossRef]
- Wheeler, P.; Bozhko, S. The more electric aircraft: Technology and challenges. IEEE Electrif. Mag. 2014, 2, 6–12. [Google Scholar] [CrossRef]
- Madonna, V.; Giangrande, P.; Galea, M. Electrical Power Generation in Aircraft: Review, Challenges, and Opportunities. IEEE Trans. Transp. Electrif. 2018, 4, 646–659. [Google Scholar] [CrossRef]
- Lukic, M.; Hebala, A.; Giangrande, P.; Klumpner, C.; Nuzzo, S.; Chen, G.; Gerada, C.; Eastwick, C.; Galea, M. State of the Art of Electric Taxiing Systems. In Proceedings of the 2018 IEEE International Conference on Electrical Systems for Aircraft, Railway, Ship Propulsion and Road Vehicles & International Transportation Electrification Conference (ESARS-ITEC), Nottingham, UK, 7–9 November 2018. [Google Scholar] [CrossRef]
- Electric Propulsion for a Disruptive Mobility Concept. 2021. Available online: https://www.rolls-royce.com/products-and-services/electrical/propulsion/air-taxis.aspx (accessed on 15 April 2024).
- Sarlioglu, B.; Morris, C.T. More Electric Aircraft: Review, Challenges, and Opportunities for Commercial Transport Aircraft. IEEE Trans. Transp. Electrif. 2015, 1, 54–64. [Google Scholar] [CrossRef]
- Kaufhold, M.; Auinger, H.; Berth, M.; Speck, J.; Eberhardt, M. Electrical stress and failure mechanism of the winding insulation in PWM-inverter-fed low-voltage induction motors. IEEE Trans. Ind. Electron. 2000, 47, 396–402. [Google Scholar] [CrossRef]
- Qi, Y.; Zafarani, M.; Akin, B.; Fedigan, S.E. Analysis and Detection of Inter-Turn Short-Circuit Fault Through Extended Self-Commissioning. IEEE Trans. Ind. Appl. 2017, 53, 2730–2739. [Google Scholar] [CrossRef]
- Toliyat, H.A.; Kliman, G.B. Handbook of Electric Motors; CRC Press: Boca Raton, FL, USA, 2004; p. 805. [Google Scholar]
- Petri, T.; Keller, M.; Parspour, N. The Insulation Resilience of Inverter-Fed Low Voltage Traction Machines: Review, Challenges, and Opportunities. IEEE Access 2022, 10, 104023–104049. [Google Scholar] [CrossRef]
- Handbook of Electrical and Electronic Insulating Materials|IEEE eBooks|IEEE Xplore. Available online: https://ieeexplore.ieee.org/book/5273622 (accessed on 12 April 2023).
- Hemmati, R.; Wu, F.; El-Refaie, A. Survey of insulation systems in electrical machines. In Proceedings of the 2019 IEEE International Electric Machines & Drives Conference (IEMDC), San Diego, CA, USA, 12–15 May 2019; pp. 2069–2076. [Google Scholar] [CrossRef]
- Li, C.; Lin, C.; Hu, J.; Liu, W.; Li, Q.; Zhang, B.; He, S.; Yang, Y.; Liu, F.; He, J. Novel HVDC spacers by adaptively controlling surface charges—Part i: Charge transport and control strategy. IEEE Trans. Dielectr. Electr. Insul. 2018, 25, 1238–1247. [Google Scholar] [CrossRef]
- Yamamot, M.; Ohashi, K. Salt Contamination of External Insulation of High-Voltage Apparatus and its Countermeasures. Trans. Am. Inst. Electr. Eng. Part III Power Appar. Syst. 1961, 80, 380–387. [Google Scholar] [CrossRef]
- IEC 60034-27-1:2017; Rotating Electrical Machines—Part 27-1: Off-Line Partial Discharge Measurements on the Winding Insulation. International Electrotechnical Commission: Geneva, Switzerland, 2017.
- Jiang, J.; Li, Z.; Li, W.; Ranjan, P.; Wei, X.; Zhang, X.; Zhang, C. A review on insulation challenges towards electrification of aircraft. High Volt. 2023, 8, 209–230. [Google Scholar] [CrossRef]
- IEC TS 62749:2020; Assessment of Power Quality—Characteristics of Electricity Supplied by Public Networks. International Electrotechnical Commission: Geneva, Switzerland, 2020.
- Chapman, M.; Frost, N.; Bruetsch, R. Insulation systems for rotating low-voltage machines. In Proceedings of the Conference Record of IEEE International Symposium on Electrical Insulation, Vancouver, BC, Canada, 9–12 June 2008; pp. 257–260. [Google Scholar] [CrossRef]
- Schump, D.E. Testing to assure reliable operation of electric motors. In Proceedings of the IEEE conference record of Forty-Second annual Conference of Electrical Engineering Problems in the Rubber and Plastics Industry, Seattle, WA, USA, 7–12 October 1990; pp. 41–46. [Google Scholar] [CrossRef]
- Ji, Y.; Giangrande, P.; Zhao, W.; Madonna, V.; Zhang, H.; Galea, M. Determination of Hotspot Temperature Margin for Rectangular Wire Windings Considering Insulation Thermal Degradation and Partial Discharge. IEEE Trans. Transp. Electrif. 2023, 10, 2057–2069. [Google Scholar] [CrossRef]
- Driendl, N.; Pauli, F.; Hameyer, K. Influence of Ambient Conditions on the Qualification Tests of the Interturn Insulation in Low-Voltage Electrical Machines. IEEE Trans. Ind. Electron. 2022, 69, 7807–7816. [Google Scholar] [CrossRef]
- Menemenlis, C.; Anis, H.; Harbec, G. Phase-to-phase insulation Part I: Generalized effects of stress parameters and gap geometry. IEEE Trans. Power Appar. Syst. 1976, 95, 643–650. [Google Scholar] [CrossRef]
- Rumi, A.; Marinelli, J.G.; Barater, D.; Cavallini, A.; Seri, P. The Challenges of Reliable Dielectrics in Modern Aerospace Applications: The Hazard of Corona Resistant Materials. IEEE Trans. Transp. Electrif. 2022, 8, 4646–4653. [Google Scholar] [CrossRef]
- Wei, Z.; You, H.; Fu, P.; Hu, B.; Wang, J. Partial Discharge Inception Characteristics of Twisted Pairs Under Single Voltage Pulses Generated by Silicon-Carbide Devices. IEEE Trans. Transp. Electrif. 2022, 8, 1674–1683. [Google Scholar] [CrossRef]
- Stone, G.C.; Culbert, I.; Boulter, E.A.; Dhirani, H. Electrical Insulation for Rotating Machines: Design, Evaluation, Aging, Testing, and Repair; Wiley: Hoboken, NJ, USA, 2004. [Google Scholar]
- Barré, O.; Napame, B. The insulation for machines having a high lifespan expectancy, design, tests and acceptance criteria issues. Machines 2017, 5, 7. [Google Scholar] [CrossRef]
- Weege, T. Basic impregnation techniques for windings. In Proceedings of the Electrical Insulation Conference and Electrical Manufacturing and Coil Winding Conference, Rosemont, IL, USA, 25 September 1997; pp. 709–715. [Google Scholar] [CrossRef]
- Bailoni, M.; Nategh, S.; Gaussens, B.; Shtyka, O.; Tajallipour, A. A Study on Insulation Components of High Voltage Electrical Machines Used in Electric Vehicles. In Proceedings of the IECON 2022—48th Annual Conference of the IEEE Industrial Electronics Society, Brussels, Belgium, 17–20 October 2022. [Google Scholar] [CrossRef]
- Nategh, S.; Barber, D.; Lindberg, D.; Boglietti, A.; Aglen, O. Review and Trends in Traction Motor Design: Primary and Secondary Insulation Systems. In Proceedings of the 2018 XIII International Conference on Electrical Machines (ICEM), Alexandroupoli, Greece, 3–6 September 2018; pp. 2607–2612. [Google Scholar] [CrossRef]
- Madonna, V.; Giangrande, P.; Galea, M. Phase to ground insulation in low voltage machines: Lifetime evaluation under enhanced thermal stress. IET Conf. Proc. 2020, 2020, 361–366. [Google Scholar] [CrossRef]
- Khang, H.V.; Saari, J.; Arkkio, A. Form-wound stator winding for high-speed induction motors. In Proceedings of the 2014 International Conference on Electrical Machines (ICEM), Berlin, Germany, 2–5 September 2014; pp. 169–175. [Google Scholar] [CrossRef]
- Berardi, G.; Nategh, S.; Bianchi, N.; Thioliere, Y. A Comparison between Random and Hairpin Winding in E-mobility Applications. In Proceedings of the IECON 2020 the 46th Annual Conference of the IEEE Industrial Electronics Society, Singapore, 18–21 October 2020; pp. 815–820. [Google Scholar] [CrossRef]
- Zou, T.; Gerada, D.; La Rocca, A.; Moslemin, M.; Cairns, A.; Cui, M.; Bardalai, A.; Zhang, F.; Gerada, C. A Comprehensive Design Guideline of Hairpin Windings for High Power Density Electric Vehicle Traction Motors. IEEE Trans. Transp. Electrif. 2022, 8, 3578–3593. [Google Scholar] [CrossRef]
- Berardi, G.; Nategh, S.; Bianchi, N. Inter-turn voltage in hairpin winding of traction motors fed by high-switching frequency inverters. In Proceedings of the 2020 International Conference on Electrical Machines (ICEM), Gothenburg, Sweden, 23–26 August 2020; pp. 909–915. [Google Scholar] [CrossRef]
- Selema, A.; Ibrahim, M.N.; Sergeant, P. Electrical Machines Winding Technology: Latest Advancements for Transportation Electrification. Machines 2022, 10, 563. [Google Scholar] [CrossRef]
- Xue, S.; Zhu, Z.Q.; Wang, Y.; Feng, J.; Guo, S.; Li, Y.; Chen, Z.; Peng, J. Thermal-Loss Coupling Analysis of an Electrical Machine Using the Improved Temperature-Dependent Iron Loss Model. IEEE Trans. Magn. 2018, 54, 8105005. [Google Scholar] [CrossRef]
- Kilper, M.; Fickel, S.; Naumoski, H.; Hameyer, K. Effects of fast switching semiconductors operating variable speed low voltage machines. In Proceedings of the 2019 9th International Electric Drives Production Conference (EDPC), Esslingen, Germany, 3–4 December 2019. [Google Scholar] [CrossRef]
- Allen, P.H.G.; Tustin, A. The Aging Process in Electrical Insulation: A Tutorial Summary. IEEE Trans. Electr. Insul. 1972, EI-7, 153–157. [Google Scholar] [CrossRef]
- Simoni, L. A General Phenomenological Life Model for Inulating Materials Under Combined Stress. IEEE Trans. Dielectr. Electr. Insul. 1999, 6, 250–258. [Google Scholar] [CrossRef]
- Tavner, P.J. Review of condition monitoring of rotating electrical machines. IET Electr. Power Appl. 2008, 2, 215–247. [Google Scholar] [CrossRef]
- Grubic, S.; Aller, J.M.; Lu, B.; Habetler, T.G. A survey on testing and monitoring methods for stator insulation systems of low-voltage induction machines focusing on turn insulation problems. IEEE Trans. Ind. Electron. 2008, 55, 4127–4136. [Google Scholar] [CrossRef]
- Szczepanski, M.; Fetouhi, L.; Sabatou, M.; Dreuilhe, S.; Pin, S.; Van de Steen, C.; Belijar, G. How does PDIV change during isothermal aging of magnet wire. In Proceedings of the 2022 IEEE Electrical Insulation Conference (EIC), Knoxville, TN, USA, 19–23 June 2022; pp. 266–271. [Google Scholar] [CrossRef]
- Cavallini, A.; Fabiani, D.; Montanari, G. Power electronics and electrical insulation systems—Part 1: Phenomenology overview. IEEE Electr. Insul. Mag. 2010, 26, 7–15. [Google Scholar] [CrossRef]
- Madonna, V.; Giangrande, P.; Zhao, W.; Zhang, H.; Gerada, C.; Galea, M. On the design of partial discharge-free low voltage electrical machines. In Proceedings of the 2019 IEEE International Electric Machines & Drives Conference (IEMDC), San Diego, CA, USA, 12–15 May 2019; pp. 1837–1842. [Google Scholar] [CrossRef]
- Persson, E. Transient Effects in Application of PWM Inverters to Induction Motors. IEEE Trans. Ind. Appl. 1992, 28, 1095–1101. [Google Scholar] [CrossRef]
- IEC 60505:2011; Evaluation and Qualification of Electrical Insulation Systems. International Electrotechnical Commission: Geneva, Switzerland, 2011.
- Muttaqin, L.F.; Asfani, D.A.; Negara, I.M.Y. Analysis of acceleration in aging insulation due to the effect of humidity and contaminant in induction motor loaded. In Proceedings of the 2017 International Seminar on Intelligent Technology and Its Applications (ISITIA), Surabaya, Indonesia, 28–29 August 2017; pp. 169–174. [Google Scholar] [CrossRef]
- Zheng, C.; Wang, Q.; Shen, Z.; Bak, C.L.; Da Silva, F.F.; Wang, H. Influence of Pressure on the PD and Induced Aging Behavior of Polyimide Insulation Under Repetitive Pulse Voltage. IEEE Trans. Dielectr. Electr. Insul. 2023, 30, 1283–1293. [Google Scholar] [CrossRef]
- Montanari, G.C.; Schwartz, S.; Cuzner, R. On the Characterization of Partial-Discharge Endurance of Dielectric Materials for Aerospace Applications. IEEE Trans. Aerosp. Electron. Syst. 2023, 59, 7590–7599. [Google Scholar] [CrossRef]
- Sili, E.; Cambronne, J.P.; Naude, N.; Khazaka, R. Polyimide lifetime under partial discharge aging: Effects of temperature, pressure and humidity. IEEE Trans. Dielectr. Electr. Insul. 2013, 20, 435–442. [Google Scholar] [CrossRef]
- Hassan, W.; Hussain, G.A.; Mahmood, F.; Amin, S.; Lehtonen, M. Effects of Environmental Factors on Partial Discharge Activity and Estimation of Insulation Lifetime in Electrical Machines. IEEE Access 2020, 8, 108491–108502. [Google Scholar] [CrossRef]
- Busch, R.; Pohlmann, F.; Müller, K. The influence of several environmental conditions on the partial discharge characteristics and on the lifetime of magnet wires under inverter pulse operation. In Proceedings of the 2001 International Symposium on Electrical Insulating Materials (ISEIM 2001), 2001 Asian Conference on Electrical Insulating Diagnosis (ACEID 2001), 33rd Symposium on Electrical and Ele, Himeji, Japan, 22 November 2001; pp. 645–648. [Google Scholar] [CrossRef]
- Rumi, A.; Marinelli, J.G.; Seri, P.; Kohler, M.; Cavallini, A. Performance of Corona Resistant Insulation for Aerospace. In Proceedings of the 2021 IEEE Electrical Insulation Conference (EIC), Denver, CO, USA, 7–28 June 2021; pp. 22–25. [Google Scholar] [CrossRef]
- Alkhalid, K.; Fu, P.; Wang, J.; Grosjean, D.; Schweickart, D.; Alsaif, F.; Wei, Z.; Hu, B. Degradation of Aviation Wires Due to Partial Discharge Under High dv/dt Square-Wave Voltages and Low Pressure. In Proceedings of the 2022 IEEE Transportation Electrification Conference & Expo (ITEC), Anaheim, CA, USA, 15–17 June 2022; pp. 507–511. [Google Scholar] [CrossRef]
- Huang, Z. Modeling and Testing of Insulation Degradation due to Dynamic Thermal Loading of Electrical Machines. Ph.D. Thesis, Lund University, Lund, Sweden, 2017. [Google Scholar]
- Nategh, S.; Boglietti, A.; Liu, Y.; Barber, D.; Brammer, R.; Lindberg, D.; Aglen, O. A Review on Different Aspects of Traction Motor Design for Railway Applications. IEEE Trans. Ind. Appl. 2020, 56, 2148–2157. [Google Scholar] [CrossRef]
- Mazzanti, G.; Montanari, G.C.; Simoni, L.; Srinivas, M.B. Combined electro-thermo-mechanical model for life prediction of electrical insulating materials. In Proceedings of the 1995 Conference on Electrical Insulation and Dielectric Phenomena, Virginia Beach, VA, USA, 22–25 October 1995; pp. 274–277. [Google Scholar] [CrossRef]
- Choudhary, M.; Shafiq, M.; Kiitam, I.; Hussain, A.; Palu, I.; Taklaja, P. A Review of Aging Models for Electrical Insulation in Power Cables. Energies 2022, 15, 3408. [Google Scholar] [CrossRef]
- Montanari, G.C.; Seri, P.; Dissado, L.A. Aging mechanisms of polymeric materials under DC electrical stress: A new approach and similarities to mechanical aging. IEEE Trans. Dielectr. Electr. Insul. 2019, 26, 634–641. [Google Scholar] [CrossRef]
- Ji, Y.; Madonna, V.; Giangrande, P.; Zhang, H.; Zhao, W.; Galea, M. Impact of Vibrations Exposure Cycles on Wire Insulation Lifetime during Thermal Qualification. In Proceedings of the 2022 IEEE Transportation Electrification Conference and Expo, Asia-Pacific (ITEC Asia-Pacific), Haining, China, 28–31 October 2022. [Google Scholar] [CrossRef]
- Putman, H.V.; Dann, W.M. Loading Transformers by Copper Temperature. Trans. Am. Inst. Electr. Eng. 1939, 58, 504–514. [Google Scholar] [CrossRef]
- O.T. Physical chemistry—An advanced treatise. J. Mol. Struct. 1977, 37, 336. [Google Scholar] [CrossRef]
- Pattini, G.; Simoni, L. Discussion on Modeling of Voltage Endurance. In Proceedings of the 1980 IEEE International Conference on Electrical Insulation, Boston, MA, USA, 9–11 June 1980; p. 15. [Google Scholar] [CrossRef]
- Simoni, L. A General Approach to the Endurance of Electrical Insulation under Temperature and Voltage. IEEE Trans. Electr. Insul. 1982, EI-17, 375. [Google Scholar] [CrossRef]
- Dakin, T.W.; Studniarz, S.A. The voltage endurance of cast epoxy resins. In Proceedings of the 1978 IEEE International Conference on Electrical Insulation, Philadelphia, PA, USA, 12–14 June 1978; pp. 216–221. [Google Scholar] [CrossRef]
- Cygan, P.; Laghari, J.R. Models for Insulation Aging under Electrical and Thermal Multistress. IEEE Trans. Electr. Insul. 1990, 25, 923–934. [Google Scholar] [CrossRef]
- Lahoud, N.; Faucher, J.; Malec, D.; Maussion, P. Electrical ageing modeling of the insulation of low voltage rotating machines fed by inverters with the design of experiments (DoE) method. In Proceedings of the 8th IEEE Symposium on Diagnostics for Electrical Machines, Power Electronics & Drives, Bologna, Italy, 5–8 September 2011; pp. 272–277. [Google Scholar] [CrossRef]
- Lahoud, N.; Faucher, J.; Malec, D.; Maussion, P. Electrical aging of the insulation of low-voltage machines: Model definition and test with the design of experiments. IEEE Trans. Ind. Electron. 2013, 60, 4147–4155. [Google Scholar] [CrossRef]
- Ji, Y.; Giangrande, P.; Zhao, W.; Madonna, V.; Zhang, H.; Galea, M. Lifetime estimation of corona-resistance wire for electrical machines operating under the partial discharge regime. In Proceedings of the 2023 IEEE Workshop on Electrical Machines Design, Control and Diagnosis (WEMDCD), Newcastle upon Tyne, UK, 13–14 April 2023; pp. 1–6. [Google Scholar] [CrossRef]
- Fallou, B. First approach on multiple accelerated life testing on electrical insulation. In Proceedings of the 1979 Annual Report of CEIDP, Whitehaven, PA, USA, 21–24 October 1979; pp. 621–628. [Google Scholar]
- Ramu, T.S. On The Estimation of Life of Power Apparatus Insulation Under Combined Electrical and Thermal Stress. IEEE Trans. Electr. Insul. 1985, EI-20, 70–78. [Google Scholar] [CrossRef]
- Occhini, E.; Pirelli, S.A. A Statistical Approach to the Discussion of the Dielectric Strength in Electric Cables. IEEE Trans. Power Appar. Syst. 1971, PAS-90, 2671–2682. [Google Scholar] [CrossRef]
- Cacciari, M.; Montanari, G.C.; Industriale, E.; Ingegneria, F.; Bologna, U. Probabilistic models for life prediction of insulating materials. J. Phys. D Appl. Phys. 1990, 23, 1592–1598. [Google Scholar] [CrossRef]
- Yang, L.; Pauli, F.; Hameyer, K. Influence of thermal-mechanical stress on the insulation system of a low voltage electrical machine. Arch. Electr. Eng. 2021, 70, 233–244. [Google Scholar] [CrossRef]
- Montanari, G.C.; Simoni, L. Aging Phenomenology and Modeling. IEEE Trans. Electr. Insul. 1993, 28, 755–776. [Google Scholar] [CrossRef]
- Pietrini, G.; Barater, D.; Immovilli, F.; Cavallini, A.; Franceschini, G. Multi-stress lifetime model of the winding insulation of electrical machines. In Proceedings of the 2017 IEEE Workshop on Electrical Machines Design, Control and Diagnosis (WEMDCD), Nottingham, UK, 20–21 April 2017; Volume 2, pp. 268–274. [Google Scholar] [CrossRef]
- Liaw, D.J.; Chen, W.H. High glass transitions of novel organosoluble polyamide-imides based on noncoplanar and rigid diimide-dicarboxylic acid. Polym. Degrad. Stab. 2006, 91, 1731–1739. [Google Scholar] [CrossRef]
- IEC 60851-5; Winding Wires—Test Methods—Part 5: Electrical Properties. International Electrotechnical Commission: London, UK, 2008.
- IEC 60034-18-21; Rotating electrical machines—Part 18–21, Functional Evaluation of Insulation Systems-Test Producer for Wire-Wound Winding Thermal Evaluation and Classification. International Electrotechnical Commission: London, UK, 2012.
- IEEE Std 117-2015 (Revision of IEEE Std 117-1974); IEEE Standard Test Procedure for Thermal Evaluation of Systems of Insulating Materials for Random-Wound AC Electric Machinery. IEEE Xplore: Piscataway, NJ, USA, 2016.
- Madonna, V.; Giangrande, P.; Galea, M. On specimens choice for thermal lifetime assessment of low voltage electrical machines insulation. In Proceedings of the 10th International Conference on Power Electronics, Machines and Drives (PEMD 2020), Online Conference, 15–17 December 2020; pp. 38–43. [Google Scholar] [CrossRef]
- ELTEK International Laboratories. What is an Electrical Insulation System? 2014. Available online: https://elteklabs.com/test-capabilities/eis/ (accessed on 15 April 2024).
- Pin, S.; Dreuilhe, S.; Fetouhi, L.; Szczepanski, M.; Stemmer, S.; Belijar, G. Lifetime estimation of type I random-wound electrical machines under active thermal cycling. In Proceedings of the 2022 IEEE Electrical Insulation Conference (EIC), Knoxville, TN, USA, 19–23 June 2022; pp. 294–298. [Google Scholar] [CrossRef]
- Dreuilhe, S.; Pin, S.; Fetouhi, L.; Stemmer, S.; Belijar, G.; Albert, L. Ageing in aircraft electromechanical chain: Design of thermal cycling bench for winding elements. In Proceedings of the 2021 IEEE Electrical Insulation Conference (EIC), Denver, CO, USA, 7–28 June 2021; pp. 42–46. [Google Scholar] [CrossRef]
- Tshiloz, K.; Smith, A.C.; Mohammed, A.; Djurovic, S.; Feehally, T. Real-time insulation lifetime monitoring for motor windings. In Proceedings of the 2016 XXII International Conference on Electrical Machines (ICEM), Lausanne, Switzerland, 4–7 September 2016; pp. 2335–2340. [Google Scholar] [CrossRef]
- IEC 60034; Rotating Electrical Machines—Part 27–5: Off-Line Measurement of Partial Discharge Inception Voltage on Winding Insulation Under Repetitive Impulse Voltage. International Electrotechnical Commission: London, UK, 2021.
- Ji, Y.; Giangrande, P.; Zhao, W.; Wang, H.; Madonna, V.; Zhang, H.; Galea, M. Moving toward Partial Discharge-Free Design of Electrical Machines for More Electric Aircraft Applications. IEEE Trans. Transp. Electrif. 2023, 9, 4668–4679. [Google Scholar] [CrossRef]
- Feilat, E.A. Lifetime Assessment of Electrical Insulation. In Electric Field; IntechOpent: Rijeka, Croatia, 2018. [Google Scholar] [CrossRef]




















| Components | HV EM | LV EM | 
|---|---|---|
| Stator Insulation Failure | 66% | 36% | 
| Rotor Failure | 13% | 9% | 
| Bearing | 13% | 41% | 
| Other | 8% | 14% | 
| Components | Turn to Turn | Phase to Phase | Phase to Ground | All the EM | |
|---|---|---|---|---|---|
| Name | enameled wires | slot separator | slot liner | slot wedge | resin and varnishes | 
| Materials | PAI, PEI, Polyvinyl Chloride. etc. | Aramid paper (i.e., Nomex in Dupont trade), polyester film (Mylar), or polyester fleece (Dacron) | Same as slot separator tapes | Rigid laminates and molded parts; pre-preg and B-stage | Polyesters, epoxies, and polyesterimides (liquids) | 
| Disclaimer/Publisher’s Note: The statements, opinions and data contained in all publications are solely those of the individual author(s) and contributor(s) and not of MDPI and/or the editor(s). MDPI and/or the editor(s) disclaim responsibility for any injury to people or property resulting from any ideas, methods, instructions or products referred to in the content. | 
© 2024 by the authors. Licensee MDPI, Basel, Switzerland. This article is an open access article distributed under the terms and conditions of the Creative Commons Attribution (CC BY) license (https://creativecommons.org/licenses/by/4.0/).
Share and Cite
Zhou, X.; Giangrande, P.; Ji, Y.; Zhao, W.; Ijaz, S.; Galea, M. Insulation for Rotating Low-Voltage Electrical Machines: Degradation, Lifetime Modeling, and Accelerated Aging Tests. Energies 2024, 17, 1987. https://doi.org/10.3390/en17091987
Zhou X, Giangrande P, Ji Y, Zhao W, Ijaz S, Galea M. Insulation for Rotating Low-Voltage Electrical Machines: Degradation, Lifetime Modeling, and Accelerated Aging Tests. Energies. 2024; 17(9):1987. https://doi.org/10.3390/en17091987
Chicago/Turabian StyleZhou, Xuanming, Paolo Giangrande, Yatai Ji, Weiduo Zhao, Salman Ijaz, and Michael Galea. 2024. "Insulation for Rotating Low-Voltage Electrical Machines: Degradation, Lifetime Modeling, and Accelerated Aging Tests" Energies 17, no. 9: 1987. https://doi.org/10.3390/en17091987
APA StyleZhou, X., Giangrande, P., Ji, Y., Zhao, W., Ijaz, S., & Galea, M. (2024). Insulation for Rotating Low-Voltage Electrical Machines: Degradation, Lifetime Modeling, and Accelerated Aging Tests. Energies, 17(9), 1987. https://doi.org/10.3390/en17091987
 
        




 
       
       