Numerical Investigation of Thermo-Flow Characteristics of Tubes with Transverse Micro-Fins
Abstract
1. Introduction
2. Materials and Methods
2.1. Experimental Validation of the CFD Code
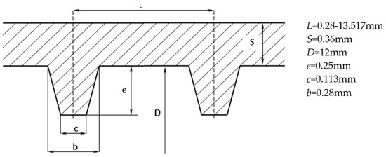
2.2. Geometrical Model
2.3. Numerical Model and Boundary Conditions
2.4. Turbulence Model
2.5. Mesh Independence Study
3. Results
3.1. Data Processing
3.2. Friction Factor
3.3. Heat Transfer
3.4. PEC (Performance Evaluation Criteria)
4. Discussion
5. Conclusions
- A numerical model was built and verified with experimental data.
- Mathematical correlations reflecting the nature of changes in the friction factor and Nusselt number as a function of the Reynolds number were determined for the studied longitudinal distances of the micro-fins.
- Using the PEC (performance evaluation criteria) method for assessing the thermal efficiency of the flow channels, the highest values were observed for micro-fins with a spacing of L = 0.831 mm and L = 1.107 mm, i.e., for the X4 and X5 geometries.
- A lack of compliance between the theoretical formulas for the friction factor for rough pipes (Moody’s diagram) and the obtained numerical results for the same relative roughness but with a regular shape was observed.
- The use of this type of micro-fin is most justified in terms of the heat transfer efficiency for the X4 and X5 geometries in the Reynolds number range of Re = 20,000–30,000, as well as for the X2 and X3 pipes in the range of Re = 30,000–120,000.
Funding
Data Availability Statement
Conflicts of Interest
Nomenclature
| Awall | outside surface of wall [m2]; |
| D | diameter [mm]; |
| ft | friction factor [-]; |
| fts | friction factor for smooth tube [-]; |
| gradp | pressure gradient [Pa/m] |
| h | heat transfer coefficient [W/m2K]; |
| e | height of micro-fin [mm]; |
| k | thermal conductivity [W/mK]; |
| L | distance between micro-fins [m]; |
| Nu | Nusselt number [-]; |
| Nus | Nusselt number for smooth tube [-]; |
| PEC | performance evaluation criteria [-]; |
| Δp | pressure drop [Pa]; |
| Pr | Prandtl number [-]; |
| q | wall heat flux [W/m2] |
| Re | Reynolds number [-]; |
| Tw | wall pipe temperature [K]; |
| Tb | bulk temperature [K]; |
| uav | average velocity [m/s]; |
| VFD | volume of fluid domain [m3] |
| ε | relative roughness [-] |
References
- Jasiński, P.B. Numerical study of the thermo-hydraulic characteristics in a circular tube with ball turbulators. Part 1: PIV experiments and a pressure drop. Int. J. Heat Mass Transf. 2014, 74, 48–59. [Google Scholar] [CrossRef]
- Jasiński, P.B. Numerical study of the thermo-hydraulic characteristics in a circular tube with ball turbulators. Part 2: Heat transfer. Int. J. Heat Mass Transf. 2014, 74, 473–483. [Google Scholar] [CrossRef]
- Jasiński, P.B. Numerical study of thermo-hydraulic characteristics in a circular tube with ball turbulators. Part 3: Thermal performance analysis. Int. J. Heat Mass Transf. 2017, 107, 1138–1147. [Google Scholar] [CrossRef]
- Wijayanta, A.T.; Pranowo; Mirmanto; Kristiawan, B.; Aziz, M. Internal flow in an enhanced tube having square-cut twisted tape insert. Energies 2019, 12, 306. [Google Scholar] [CrossRef]
- Triwijayanta, A.; Aziz, M.; Kariya, K.; Miyara, A. Article numerical study of heat transfer enhancement of internal flow using double-sided delta-winglet tape insert. Energies 2018, 11, 3170. [Google Scholar] [CrossRef]
- Kristiawan, B.; Wijayanta, A.T.; Enoki, K.; Miyazaki, T.; Aziz, M. Heat transfer enhancement of TiO2/water nanofluids flowing inside a square minichannel with a microfin structure: A numerical investigation. Energies 2019, 12, 3041. [Google Scholar] [CrossRef]
- Asirvatham, L.G.; Vishal, N.; Gangatharan, S.K.; Lal, D.M. Experimental study on forced convective heat transfer with low volume fraction of CuO/Water nanofluid. Energies 2009, 2, 97–119. [Google Scholar] [CrossRef]
- Patil, M.S.; Seo, J.H.; Kang, S.J.; Lee, M.Y. Review on synthesis, thermo-physical property, and heat transfer mechanism of nanofluids. Energies 2016, 9, 840. [Google Scholar] [CrossRef]
- Study, A.E.; Shajahan, M.I.; Michael, J.J.; Arulprakasajothi, M.; Suresh, S. Energies Effect of Conical Strip Inserts and ZrO2/DI-Water Nanofluid on Heat Transfer Augmentation: An Experimental Study. Energies 2020, 13, 4554. [Google Scholar]
- Virgilio, M.; Mayo, I.; Dedeyne, J.; Van Geem, K.M.; Marin, G.B.; Arts, T. Effects of 2-D and 3-D helical inserts on the turbulent flow in pipes. Exp. Therm. Fluid Sci. 2020, 110, 109923. [Google Scholar] [CrossRef]
- Ji, W.T.; Zhang, D.C.; He, Y.L.; Tao, W.Q. Prediction of fully developed turbulent heat transfer of internal helically ribbed tubes—An extension of Gnielinski equation. Int. J. Heat Mass Transf. 2012, 55, 1375–1384. [Google Scholar] [CrossRef]
- Córcoles, J.I.; Moya-Rico, J.D.; Molina, A.E.; Almendros-Ibáñez, J.A. Numerical and experimental study of the heat transfer process in a double pipe heat exchanger with inner corrugated tubes. Int. J. Therm. Sci. 2020, 158, 106526. [Google Scholar] [CrossRef]
- Al-Obaidi, A.R.; Alhamid, J. Investigation of flow pattern, thermohydraulic performance and heat transfer improvement in 3D corrugated circular pipe under varying structure configuration parameters with development different correlations. Int. Commun. Heat Mass Transf. 2021, 126, 105394. [Google Scholar] [CrossRef]
- Al-Obaidi, A.R.; Alhamid, J. Investigation of the effect of various corrugated pipe configurations on thermo-hydraulic flow and enhancement of heat transfer performance with the development of different correlations. Int. J. Therm. Sci. 2022, 176, 107528. [Google Scholar] [CrossRef]
- Dastmalchi, M.; Sheikhzadeh, G.A.; Arefmanesh, A. Optimization of micro-finned tubes in double pipe heat exchangers using particle swarm algorithm. Appl. Therm. Eng. 2017, 119, 1–9. [Google Scholar] [CrossRef]
- Dastmalchi, M.; Arefmanesh, A.; Sheikhzadeh, G.A. Numerical investigation of heat transfer and pressure drop of heat transfer oil in smooth and micro-finned tubes. Int. J. Therm. Sci. 2017, 121, 294–304. [Google Scholar] [CrossRef]
- Jasiński, P. Numerical optimization of flow-heat ducts with helical micro-fins, using entropy generation minimization (EGM) method. In Proceedings of the 9th IASME/WSEAS International Conference on Fluid Mechanics & Aerodynamics (FMA’ 11), Florence, Italy, 23–25 August 2011; pp. 47–54. [Google Scholar]
- Li, X.; Meng, J.; Li, Z. Roughness enhanced mechanism for turbulent convective heat transfer. Int. J. Heat Mass Transf. 2011, 54, 1775–1781. [Google Scholar] [CrossRef]
- Brognaux, L.J.; Webb, R.L.; Chamra, L.M.; Chung, B.Y. Single-phase heat transfer in micro-fin tubes. Int. J. Heat Mass Transf. 1997, 40, 4345–4357. [Google Scholar] [CrossRef]
- Zawadzki, A.; Plocek, M.; Kapusta, T.; Kasieczka, W. Heat transfer and friction factor characteristics of single-phase flow through a circular, internally micro-finned, horizontal tube fitted with twisted tape inserts—Experimental investigations. In Proceedings of the XL Refrigeration Days, Poznań, Poland, 15–17 October 2008; pp. 115–124. (In Polish). [Google Scholar]
- Liao, W.; Lian, S. Effect of compound corrugation on heat transfer performance of corrugated tube. Int. J. Therm. Sci. 2023, 185, 108036. [Google Scholar] [CrossRef]
- Manual ANSYS-CFX. Available online: http://www.ansys.com (accessed on 1 March 2018).
- Di Piazza, I.; Ciofalo, M. Numerical prediction of turbulent flow and heat transfer in helically coiled pipes. Int. J. Therm. Sci. 2010, 49, 653–663. [Google Scholar] [CrossRef]
- Eiamsa-ard, S.; Wongcharee, K.; Sripattanapipat, S. 3-D Numerical simulation of swirling flow and convective heat transfer in a circular tube induced by means of loose-fit twisted tapes. Int. Commun. Heat Mass Transf. 2009, 36, 947–955. [Google Scholar] [CrossRef]
- Celik, I.B.; Ghia, U.; Roache, P.J.; Freitas, C.J.; Coleman, H.; Raad, P.E. Procedure for estimation and reporting of uncertainty due to discretization in CFD applications. J. Fluids Eng. Trans. ASME 2008, 130, 78001–78004. [Google Scholar]
- Moody, L.F. Friction Factors for Pipe Flow. Trans. Am. Soc. Mech. Eng. 1944, 66, 671–681. [Google Scholar] [CrossRef]
- Swamee, P.K.; Jain, A.K. Explicit equations for pipe-flow problems. J. Hydraul. Div. 1976, 102, 657–664. [Google Scholar] [CrossRef]
- Wang, C.C.; Chiou, C.B.; Lu, D.C. Single-phase heat transfer and flow friction correlations for microfin tubes. Int. J. Heat Fluid Flow 1996, 17, 500–506. [Google Scholar] [CrossRef][Green Version]

















| L [mm] | 0.28 | 0.418 | 0.555 | 0.831 | 1.107 | 1.934 | 3.598 | 6.898 | 13.517 |
|---|---|---|---|---|---|---|---|---|---|
| L/D [-] | 0.023 | 0.035 | 0.046 | 0.069 | 0.092 | 0.161 | 0.299 | 0.575 | 1.126 |
| name of geometry | X1 | X2 | X3 | X4 | X5 | X6 | X7 | X8 | X9 |
| Boundary Condition | Description | Parameter | Value |
|---|---|---|---|
| Fluid domain | Water | Average temperature | 298 K |
| Reference pressure | 1 atm | ||
| Turbulence model | SST k-ω | ||
| Volume heat flux | |||
| Solid domain | Copper. | Average temperature | 298 K |
| Wall | Top surface of solid domain | Wall heat flux | 5000 |
| Translational periodicity | Inlet and outlet of fluid domain. | Pressure gradient | 76–57,900 Pa/m |
| X1 | X2 | X3 | X4 | X5 | X6 | X7 | X8 | X9 | |
|---|---|---|---|---|---|---|---|---|---|
| y0 | 0.02885 | 0.049 | 0.03662 | 0.03662 | 0.06238 | 0.07841 | 0.15778 | 0.06223 | 0.04878 |
| x0 | −688.1 | 6974.9 | 1806.7 | 1806.7 | 3924.9 | 11,555.1 | 8866.9 | 7953.6 | 13,540.9 |
| A1 | 0.02543 | 0.03526 | 0.03176 | 0.03176 | −0.03265 | −0.01287 | −0.08415 | −0.0369 | −0.00266 |
| t1 | 22,095.0 | 12,504.6 | 5123.8 | 5123.8 | 5937.5 | 50,738.5 | 6,715,600 | 35,397.1 | 221,583.0 |
| A2 | 0.0465 | −0.02554 | −0.00401 | −0.00401 | −0.02041 | −0.00965 | −0.00845 | 0.01572 | −0.00349 |
| t2 | 3075.3 | 20,253.3 | 5123.9 | 5123.9 | 60,471.8 | 50,714.8 | 7969.5 | 35,397.1 | 53,562.3 |
| A3 | −0.01114 | −0.01788 | −0.01024 | −0.01024 | 0.04278 | −0.0052 | −0.01772 | 0.00274 | −0.00338 |
| t3 | 105,718.5 | 421,954.3 | 121,313.7 | 121,313.7 | 3961.4 | 6729.3 | 43,461.64 | 35,397.2 | 53,565.9 |
| X1 | X2 | X3 | X4 | X5 | X6 | X7 | X8 | X9 | |
|---|---|---|---|---|---|---|---|---|---|
| A | 0.01 | 0.0065 | 0.0072 | 0.0138 | 0.0206 | 0.0137 | 0.0093 | 0.0061 | 0.0055 |
| B | 0.892 | 0.948 | 0.935 | 0.878 | 0.843 | 0.877 | 0.908 | 0.944 | 0.948 |
Disclaimer/Publisher’s Note: The statements, opinions and data contained in all publications are solely those of the individual author(s) and contributor(s) and not of MDPI and/or the editor(s). MDPI and/or the editor(s) disclaim responsibility for any injury to people or property resulting from any ideas, methods, instructions or products referred to in the content. |
© 2024 by the author. Licensee MDPI, Basel, Switzerland. This article is an open access article distributed under the terms and conditions of the Creative Commons Attribution (CC BY) license (https://creativecommons.org/licenses/by/4.0/).
Share and Cite
Jasiński, P.B. Numerical Investigation of Thermo-Flow Characteristics of Tubes with Transverse Micro-Fins. Energies 2024, 17, 714. https://doi.org/10.3390/en17030714
Jasiński PB. Numerical Investigation of Thermo-Flow Characteristics of Tubes with Transverse Micro-Fins. Energies. 2024; 17(3):714. https://doi.org/10.3390/en17030714
Chicago/Turabian StyleJasiński, Piotr Bogusław. 2024. "Numerical Investigation of Thermo-Flow Characteristics of Tubes with Transverse Micro-Fins" Energies 17, no. 3: 714. https://doi.org/10.3390/en17030714
APA StyleJasiński, P. B. (2024). Numerical Investigation of Thermo-Flow Characteristics of Tubes with Transverse Micro-Fins. Energies, 17(3), 714. https://doi.org/10.3390/en17030714

