Abstract
Brazil’s wind power industry (WPI) has thrived since the early 2000s, driven by a successful auction-based expansion plan. However, the recent rise of cost-competitive solar power and policy shifts favoring other energy sources, such as natural gas, have created uncertainty about the future of wind energy in Brazil and reduced the wind sector’s legitimacy. Additionally, the cancellation of wind power auctions and support for other energy sources (evidenced by the new regulation for natural gas) has sent mixed signals to the market. These actions have sparked concerns regarding the future trajectory of the WPI. This paper focuses on the long-term effects of this energy policy decision on the so-called legitimacy function of the technological innovation systems (TIS) for the case of WPI in Brazil. The study aims to identify challenges arising from the growing appeal of solar power that may hinder wind energy adoption and to offer policy recommendations to strengthen the wind sector’s legitimacy. A system dynamics model is proposed to quantify such impacts in the long run, showing the interactions between the wind power capacity, wind generation costs, and the legitimacy function of the TIS. Results show the importance of policy consistency and institutional support in fostering a stable environment for renewable energy technologies like wind power to flourish.
1. Introduction
Renewable energy auctions have been instrumental in promoting the growth of renewable electricity sources worldwide [,,,,,,,]. By driving down prices, these auctions have made wind and solar power competitive with traditional energy sources [,]. This has significantly contributed to lower electricity generation costs and reduced installation expenses for renewable energy technologies. Notably, the falling cost of photovoltaic (PV) technology has spurred the rapid expansion of large-scale solar installations, making solar the second-largest source of installed capacity, particularly in developing nations like Brazil. This shift has led many investors to favor solar power, potentially undermining the perceived legitimacy and prospects of the wind energy sector.
While auctions have been a key policy instrument for encouraging renewable energy investment in developing countries [], they have faced recent challenges, including delays, lawsuits, and reduced investment [,]. In Brazil, participation in onshore wind auctions has dwindled, leading to fewer new wind turbine installations. This trend could hinder market development, erode legitimacy, and discourage further investment in the wind sector []. However, there is a slow but steady growth in interest for offshore wind, which may result in a significant resurgence of the wind industry and a renewed sense of legitimacy in the sector. Furthermore, the interest in offshore wind is also influenced by the potential for producing green hydrogen, which was previously unheard of before 2023.
Brazil’s power industry has undergone numerous reforms since the launch of its incentive program for alternative electricity sources (PROINFA) [,,,]. Economic growth, coupled with low-interest loans and high energy demand, fueled the expansion of the wind industry. Competitive pricing achieved through auctions further bolstered the sector’s attractiveness [,,]. This situation led to an increase in private investments in wind farms, stimulating alliances and confidence to deliver larger supplies of alternative energy and generating the expansion of Brazil’s wind power innovation system [,]. This process typically relies on international investment, which is influenced by factors like trust, policy and market stability, and the perceived legitimacy of the system [].
In 2017, electricity demand fell by 1.6% over 12 months, primarily because of reduced industrial demand []. In addition, economic instability and worries about excess energy supply arise. As a result, the Federal Government announced the cancellation of auctions for wind power projects initially planned to last until 2017 []. This cancellation disrupted the perception of a stable energy market, eroding confidence in the wind industry. Brazil’s experience offers valuable insights into the design and implementation of renewable energy auctions and how policy changes can impact institutional legitimacy.
In the Brazilian case, resource mobilisation is governed by signals created by the government administration to support wind power in the long term through legislation [,]. This includes creating new policies, supporting policy development, and maintaining policy consistency. The cancellation of wind power auctions created uncertainty in the market, signaling a potential shift in government support from wind energy. This raises two critical questions: what is the effect of changes on legitimacy produced by diminishing or cancelling the renewable energy auctions for the dissemination of wind power? And what impact does the rise of clean technologies, such as solar power, have on the technological legitimacy of the wind power sector?
To address these questions, this study employs the technological innovation system (TIS) framework and system dynamics methodology. A TIS involves the dynamic interaction of agents within a specific sector, supported by an institutional infrastructure that facilitates technology generation, diffusion, and utilization []. Previous studies have adopted the TIS approach as an analytical framework based on a set of system functions to study processes of sociotechnical change in technology innovation and as a guideline for science and innovation policy [,,]. Within the literature of TIS, trust build-up is part of a critical function named legitimacy creation, which depends on the signals of market and non-market agents, such as mobilisation of resources, both human and financial [,], policy incentives, and regulation towards promoting the technology diffusion throughout the market. While the importance of TIS functions is well-established, research on how energy policy affects the legitimacy function in Latin America remains limited. Therefore, this paper aims to evaluate how the process of legitimacy creation may be influenced by changes in wind auctions driven by the increasing attractiveness of solar power in Brazil.
Legitimacy, in this context, refers to the perception that the actions of institutions related to the TIS are desirable, well-funded, appropriate, and efficient []; in that case, stable policies from wind power-related institutions are essential for reinforcing the TIS. While legitimacy may not be the sole or most critical function within a TIS, it is crucial for supporting other functions like market formation and entrepreneurial activity []. A TIS with a high degree of legitimacy is accepted on an organisational and regional scale (Kishna et al., 2017 []). Legitimacy is a generalised perception of technology and markets [], which plays a crucial role in building confidence in the industry. This involves, among other things, creating a context where policies can function and be publicly validated or endorsed; this means legitimising the system.
System dynamics modeling is particularly well-suited for capturing and analyzing feedback effects resulting from energy policy changes [,,,,,]. These models provide a valuable tool for policymakers to understand the long-term implications of their decisions and to assess policy alternatives for supporting socio-technical low-carbon transitions [,,,]. Simulation is necessary to study the nature, intensity, and timing of interactions during a transition and to identify the signs of change []. These models contribute to understanding the dynamics of the TIS in the long run [,,,,,]. This paper uses a simulation model based on system dynamics to illustrate the implications of the change in the auction energy policy in the long term through the legitimacy function of TIS, taking Brazil as a case study. This study aims to identify systemic challenges hindering the diffusion of wind energy and, based on the findings, offer policy recommendations to support the wind sector by strengthening its legitimacy.
In addition to the introduction, the paper is comprised of six sections. Section 2 presents a theoretical framework for TIS and its relation to diffusion dynamics, emphasizing the legitimacy function. Section 3 describes the methodological framework often used to analyse the implications of legitimacy building and depleting in the dynamic diffusion of the wind industry. The implementation of the methodological framework is then presented in Section 4. Section 5 discusses energy policy alternatives for the wind industry based on the simulation results. Finally, Section 6 provides the conclusions and policy implications according to the findings of our study.
2. Theoretical Considerations and Research Background
This section provides the theoretical framework to understand why the technology legitimacy influences energy policy and its role in the wind’s dissemination power in developing countries, such as Brazil. This section closes with a background of the Brazilian case.
2.1. Technology Legitimacy
The TIS framework has been widely used to understand how economic, social, political, organisational, institutional, and other factors influence the development, diffusion, and use of innovations for the transition of conventional energy (i.e., based on fossil fuel) to renewable energy (e.g., wind and solar) [,,]. This framework represents the interactions of the system’s factors by means of functions. Seven TIS functions need to interact for a technology to mature and grow into a market successfully. These functions include entrepreneurial activities, knowledge development, knowledge diffusion, the guidance of the search, market formation, resource mobilisation, and legitimation [].
The functions offer an analytical framework to assess the performance of TIS in the transition to renewable energy [,,,]. Within the analytical framework of the innovation system functions, a growing body of literature has explained both the rapid expansion of clean technologies in countries such as China and Germany as well as the significant impediments or obstacles in deploying these technologies [,,,].
This framework does not belittle the importance of other functions in TIS development, as these functions are critical for technological diffusion []. Instead, this study focuses on the legitimacy function because it allows us to examine strategies for shaping and selecting an environment that can provide inroads for actors to streamline wind energy production. Likewise, the effect of strengthened legitimacy within a TIS generates spillover effects over other functions of TIS, like market creation. Indeed, the market requires signals from decision-makers to minimise future risks, particularly during a technology transition like wind power generation, which faces numerous sources of uncertainty. When public institutions create an environment of trust related to the future use and adoption of technologies, privates tend to diminish uncertainty in their risk perception, and thus, they make new investments, increase the old ones, create new firms, and reinforce market creation []. Therefore, legitimacy strengthens the activities regarding the mobilisation and allocation of essential financial, material, and human capital inputs [].
Literature focused on legitimacy creation in wind power TIS is growing, in part because it is one of the most critical functions within the TIS [,,,,]. This function has been overlooked in the literature in the past, perhaps because it is an intangible characteristic that is difficult to measure or because it has no unique definition []. However, what we know about legitimacy is that government policies and public institutions play a critical role in its formation [,]; thus, sudden changes in regulation tend to diminish market formation because those changes tend to delegitimise the TIS [].
2.2. The Relevance of Legitimacy for Energy Polciy
The literature on energy transitions argues that technologies grow and diffuse if placed in a favourable setting [,,,]. A favourable setting is comprised of the development of appropriate mechanisms, which allow alliances for electricity market formation. These alliances are often driven by the mixed effect of science, technology, and innovation (STI) and energy policies []. The mixed impact of the STI and energy policy can be analysed by mapping the growth and development of interest groups and their coalitions, which produced a new technology, lobbied for resources support through a favourable tax regime, and, in doing so, created a legitimacy for a new technological trajectory [] and favoured market development [].
At the same time, the transition to low-carbon economies is a long-term process affected by several factors related to developing new technologies, like technology transfer and adoption, creating an institutional framework supporting the transition, growing human capital prepared to assume new roles, and so on. Thus, for the generation of efficient new technology markets, a key factor for the transition is the generation of trust among investors and entrepreneurs []; this is especially true in the case of the WPI, in which the upfront investments are high.
Energy policy is essential in creating alliances that foster legitimacy in business activity []. In the case of Brazil, the program for alternative sources of electricity (e.g., PROINFA) fostered alliances for the formation of the electricity market in the past []. As a result, since 2009, Brazil’s number of owners of wind power projects increased from 16 to 49 actors, significantly influencing the wind industry’s expansion []. In the wind industry, desirable energy policy should be aligned with organisational objectives created by a collective social process, promoting clean technologies, and improving investors’ confidence. Although Brazil has a robust auction-based policy to boost wind power, a change in policy could affect the diffusion dynamics of wind industry. Also, these changes can affect legitimacy from agents of WPI.
Higher legitimacy levels generate impacts on the political strength of the TIS, influence the institutional setting, and reinforce positive signals to investors and entrepreneurs [], which in turn will increase their investments [], create more technology, reinforce market creation, and will build-up more trust []. Thus, the research on the legitimacy function of the TIS can offer insights into how future policies will affect the TIS, particularly, in this case, the Brazilian wind industry [].
This paper provides new instruments to the TIS framework, including the energy policy, supported by systems modelling techniques and computational experimentation (i.e., simulation platform). The proposed simulation platform helps to develop an endogenous understanding of how industry actors and government policies influence the future pathway or technological trajectory of emerging technologies, such as wind power, in developing countries.
2.3. The Brazilian Wind Power Sector
The Brazilian energy sector underwent structural reforms in 2004 with the introduction of the auction system for energy contracting [,]. These reforms divided the Brazilian market into two environments: Regulated Contracting Environment (RCE) and Free Contracting Environment (FCE) []. In FCE, only the so-called free consumers could buy energy. Under these conditions, commercial relations are freely agreed upon and governed by contracts that establish deadlines and volumes. In RCE, purchases and sales occur through auctions with the lowest electricity price, where purchases are restricted to energy distribution companies []. However, the auctions have been limited by the lack of transmission infrastructure in Brazil [,,,]. The leading institutions that compose the Brazilian regulated market are outlined in Figure 1.

Figure 1.
Main institutions present in the Brazilian regulated market.
CNPE is the advisory body for formulating energy policies and guidelines. Similarly, MME is responsible for conducting energy policies for the country, following the guidelines defined by CNPE. Linked to MME, CMSE and EPE are accountable for the security of electricity supply and the planning and expansion of the Brazilian energy sector, respectively. Finally, ANEEL is a regulatory agency responsible for regulating and supervising both CCEE and ONS. CCEE is charged with commercialising electric energy, while ONS is responsible for technical operations. Maintaining electricity operations to guarantee securing supply and trade-off between different renewable sources becomes an enormous challenge.
Entrepreneurial activities are more strongly linked to the function of legitimacy through market participation and technology use by actors. The perceived legitimacy of the TIS depends on both technological and market legitimacy []. In this sense, if technological and market legitimacy increase, then wind technology adoption increases. In the case of Brazil, the first relevant suppliers of the wind industry began operations in 1995. By 2010, the number of suppliers increased and expanded rapidly across the country. By mid-2014, there were already ten wind turbine suppliers, nine tower manufacturers, and four blade manufacturers in the country. Many attribute this growth to the energy policy adopted, which later contributed to an increase in perceived legitimacy by the federal government [,]. Nowadays, the growth of solar suppliers has outpaced the number of suppliers of the wind supply chain [].
The lower costs of solar panels may lead most manufacturers in Brazil to prioritise solar power system installations over wind turbines. Notably, wind turbine models and components were initially designed for European and American wind conditions and tailored for multinational projects [], making them less appealing and potentially less suitable for the local wind industry. This shift in preference could pose significant challenges to the continued growth of wind power in Brazil’s electricity market.
As wind power auctions have fostered the participation of local suppliers in the electricity market, the investors’ confidence in wind technology has increased. Brazil has experienced significant advances in its energy policy, and the wind industry has shown a high growth rate, reaching a 26 GW capacity in 2024 []. However, reforms to the energy policy could affect the building and depletion of legitimacy. Additionally, the declining cost of solar panels has increased the attractiveness of this technology, placing wind power investors at a disadvantage.
Promoting auctions for wind power contracting is an overarching factor of the wind industry in Brazil. The Brazilian government and related public companies promote the regulated auction guidelines and determine the values auctioned. Contracts for wind power are regulated by energy auctions (beginning in 2009), which is crucial for the development of this industry in the country. Nevertheless, this contracting has decreased in recent years, completely ceasing in 2016 and 2017, which has impacted the fast-paced spread of wind power. Additionally, the lack of incentives for creating new markets, such as those related to offshore wind production, might negatively influence the legitimacy of wind technology in the future.
3. Model Description
This section provides a detailed explanation of the system dynamics model used in this study. We begin by presenting a conceptual model, known as a causal loop diagram (CLD), which illustrates the overall structure of the system and its key relationships []. CLDs are widely used to visualize the dynamic behavior of a system by mapping feedback loops and time delays. This CLD captures the crucial feedback mechanisms that drive the hypothesized behavior of the wind power sector in response to policy interventions. Understanding these feedback structures is essential for assessing the impact of energy policies and strategies on the system’s performance. Drawing on insights from previous research on wind power transitions [,,,], the CLD was specifically designed to illustrate how auction-based policies influence the dynamics of the wind industry.
Second, the CLD was converted into a quantitative model to simulate the dynamic behaviour hypothesis. More specifically, system conceptualisation is developed into a computer simulation model where different parameters make up various structural components and are then applied with equations. These equations allow the model to act as an experimental laboratory to simulate different policies, strategies, and plans that may affect the wind energy industry [].
3.1. Dynamic Hypothesis
The CLD is illustrated in Figure 2. Broadly speaking, the hypothesis states that changes in wind contracting increase or decrease according to the implemented auction policy, which affects the legitimacy of wind technology and the diffusion of wind power. It also explains that the diffusion of wind power affects the wind industry’s installed capacity and experience curve.

Figure 2.
Stylised overview of the causal loop diagram.
Loops B1 and B2 represent the wind industry’s demand-supply balancing and building capacity, respectively. In the case of loop B1, the capacity margin or reserve margin is calculated as the difference between peak demand and wind power installed capacity, which determines the electricity price. Therefore, the reserve margin negatively affects the price because when the margin is small, the electricity price increases, impacting electricity demand. Expansion of wind power takes place for economic and environmental reasons; investors who perceive technology as attractive and appropriate are more likely to buy it, as represented by reinforcing loop R2. Installed capacity increases when there are incentives (e.g., from auctions) to invest in wind industry. These incentives are directly linked to price. That is, when attraction is higher, there is more incentive to invest in wind power (as illustrated in loop B2).
Loop B3 represents the effects of auction-based policy on diffusion of wind power. This loop shows how a change in auctions policy affects installed capacity of wind power, which depends on contracted auctions by the federal government. While loop R1 exhibits the feedback of legitimacy influence on the attractiveness of wind power. Technological legitimacy of wind power increases when development and diffusion increase (loop R3). Market legitimacy increases with the development of formal market rules such as auctions-based policy and the build-up of infrastructure for the energy system.
3.2. Simulation Model Components
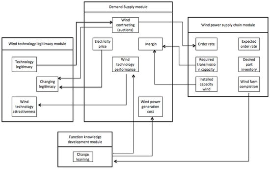
The simulation model in this study comprises four interconnected modules, as depicted in Figure 3.
- Wind Power Supply Chain Module: This module simulates the behavior of suppliers, industry players, and project developers to assess the overall performance of the wind power supply chain.
- Demand-Supply Module: This module determines the required wind power capacity based on auction policies. It also calculates the electricity price, considering generation and transmission margins, which in turn influences customer decisions based on system conditions.
- Wind Technology Legitimacy Module: This module is crucial for incorporating the concept of legitimacy into the model. It calculates how auction policies influence the perceived legitimacy of wind technology, which directly affects investment decisions.
- Knowledge Development Module: This module reflects the learning and innovation processes within the wind industry. As wind farms are steadily constructed, learning capacity increases and generation costs decrease.

Figure 3.
Overview of the SD model design.
The simulation model was designed to assess the impact of auction policies on the wind power industry over a 13-year period (2018–2030), taking into account both the delays associated with policy cancellations and future projections. This time horizon allows for a mid-term evaluation of how auction-based policies affect the wind industry and whether they align with stakeholder objectives.
Since electricity demand drives auction-based policies in the wind sector, fluctuations in demand can influence electricity prices . These price fluctuations, in turn, affect the installed capacity of wind power .
In addition, changes in decision rules (policies) affect the goals of wind power auctions, which can cause a discrepancy. In the case of Brazil, the discrepancy is the between the desired capacity of wind power and the current installed capacity. Equation (1) shows the contracting decision rule of wind power–wind contracting , which includes the time to build capacity , and Equation (2) shows the goals of wind power auctions . is the price average at capacity auctions determined by the electricity demand.
Another key model feature is its legitimacy function, detailed in Appendix A. A detailed description of the code used in the simulation model is available at [].
3.3. Robustness and Validity of the Simulation Model
A historical test was conducted to validate the results of the simulation model, following the methodology described by Sterman []. The data used for validation were obtained from ABEEólica [] and the National Electric Energy Agency [], covering the period from 1999 to 2023. The installed capacity of wind power and electricity demand served as the primary variables for the validation process.
The model successfully reproduces the historical trend observed in both the installed capacity of wind power and electricity demand, as illustrated in Figure 4. The accuracy of the simulation model’s historical fit was assessed using Theil’s inequality statistics and the correlation coefficient, as detailed in Table 1. Mean bias proportion (Um) shows that the forecast errors are not heavily skewed in one direction, considering it is a low value. Varies proportion (Us) suggests that a significant proportion of the error stems from differences in variability in the forecast and actual for the first value (0.21). While the value of the electricity demand (0.02) indicates that variability is most perfectly captured by the forecast. Covariance proportion (Uc) shows, in the first value (0.73), that most of the error is due to differences in the pattern of the forecast and actual values. In contrast, the second value (0.40) suggests better alignment of patterns. Theil’s inequality statistics show a high similarity between the mean values of the simulated and actual data, along with consistent trends. This strong alignment between the simulated results and actual values shows the model’s reliability, particularly for policy analysis purposes.

Figure 4.
Validity testing for the installed capacity of wind power.

Table 1.
Error analysis of the simulation model.
3.4. Model Assumptions and Limitations
The simulation model considered four sectors, including the installed capacity of both solar and wind power. It also accounted for other energy sources, such as hydroelectricity and biomass. The main assumptions and inputs in the model are as follows:
- The model utilises databases published by the Brazilian energy agency, known as ANEEL [] and ABEEólica [].
- Data used for the validation model cover the years 1999 to 2023.
- The average time required to build transmission lines was estimated at four years, while constructing new solar and wind power capacity required two and four years, respectively.
- The simulation model incorporates the average bids of wind auctions (1.8 GW) and the highest bids in wind auctions (2.3 GW).
It is important to mention that the simulation model considers some limitations. This study, while acknowledging the success of new solar auctions, did not analyse specific details regarding potential adaptations to better utilise complementarity between renewable sources. Additionally, although the Brazilian energy system is divided into four subsystems, the model contemplates all regions as a single unified system.
Although the simulation model allows for assessing the effects of both the increase of solar power and auction cancellations, it should be adapted for use in other countries with similar conditions.
4. Policy Analysis
To understand how changes in energy policy affect the growth of wind power in Brazil, we developed four scenarios that explore different policy pathways. These scenarios focus on how policy shifts, both in wind power auctions and transmission infrastructure, influence market confidence and the perceived legitimacy of the wind industry.
Table 2 provides a detailed overview of these scenarios, which were designed to analyse the effects of auction-based energy policy reforms. The scenarios consider two key factors: On the one hand, they incorporate the average bids of wind auctions (1.8 GW) and higher wind auctions (2.3 GW). On the other hand, they consider the response time to building new infrastructure for electricity transmission as a function of wind contracting.
- Scenario 1: business as usual (BAU). This scenario represents the cancellation of auctions and delays in transmission infrastructure (business as usual, BAU). The scenario also reflects the growth of solar power in Brazil due to the decreasing cost of solar panels []. Recently, incentives from solar auctions policy have helped the solar market share surpass that of wind power. This scenario was used as a baseline case against the following ones.
- Scenario 2: insufficient wind auctions, increase solar, and sufficient transmission lines. The second scenario entails the expansion of transmission infrastructure with a suitable capacity but limited wind industry growth due to the cancellation of auctions. This scenario reflects the cancellation of wind auctions in 2017 due to a decrease in electricity demand. It demonstrates how changes in electricity demand can impact auction policies.
- Scenario 3: sufficient wind auctions and insufficient transmission lines. The third scenario simulates a situation where wind power auctions continue, but their timing and scale are not coordinated with the development of new transmission infrastructure. This can lead to bottlenecks and grid congestion, hindering the efficient integration of new wind power.
- Scenario 4: coordinated auctions policy. The final scenario (i.e., Scenario 4) models a highly coordinated approach, where stakeholders actively collaborate and plan to ensure that wind power auctions and transmission infrastructure projects are aligned. This proactive planning helps to avoid grid constraints and facilitates the smooth integration of new wind farms. A collaborative approach, as modeled here, synchronises wind and solar power auctions with transmission infrastructure projects, thus ensuring seamless complementary of new wind and solar farms and preventing grid limitations.

Table 2.
Scenarios to analyses diffusion dynamics of the wind industry.
The four scenarios are evaluated by measuring how the legitimacy function is affected by auction policy reform. These scenarios also present the implications of legitimacy function on the diffusion of wind power and wind generation cost.
4.1. Wind Power Industry Legitimacy
Uncoordinated decisions of energy policy can influence market legitimacy negatively [], which affects the attractiveness of wind technology, and consequently, the perception of investors. Figure 5 illustrates how market legitimacy in the wind industry changes under different policy scenarios. These scenarios highlight the impact of policy consistency and reliability on investment decisions within the wind sector.

Figure 5.
Evolution of the market legitimacy of the wind power industry.
The first scenario reflects the existing dynamics of Brazil’s electricity market, where solar power growth surpasses that of wind power, wind auctions are discontinued, and transmission infrastructure remains inefficient. Over a 20–30-year horizon, these policies could significantly influence the Wind Power Industry (WPI). This scenario demonstrates that a reduction in wind power auctions leads to longer timelines for achieving capacity targets. This situation diminishes investor interest and erodes confidence in the wind industry. As a result, long-term investment in new wind farms may decline from 2025, potentially stalling industry growth and innovation.
The second scenario shows that when there are insufficient wind auctions, but the transmission capacity is suitable, the effect of unsynchronised policy positively affects legitimacy. This trend arises from the lack of constructed transmission lines or insufficient wind reserve auctions, as observed in Scenarios 1 and 2. Additionally, an increase in solar power due to the low cost of panels could influence the technological legitimacy of wind power, causing a noticeable decline starting in 2026. This situation arises when policymakers react with considerable delays to systemic problems, which may negatively affect wind industry expansion [,].
The third scenario shows what might happen through a continuing increase of wind contracting. Lack of transmission infrastructure will affect market legitimacy. Meanwhile, in the fourth scenario, there is a significant increase in the legitimacy of the wind-power supply chain. In this case, legitimacy helps to align institutions to the investors’ targets in terms of obtaining a profitable return and guaranteeing the energy supply []. Through the coordination of energy policy or the investment in infrastructure, the actors supporting the wind industry develop and start to attract significant economic support. As a result, the perceived legitimacy of the wind industry increases the diffusion of wind power, which allows wind power to raise its share in the energy matrix. In this manner, these findings coincide with previous studies [,], which show how the wind industry is developed through promoting the legitimacy of technologies.
In this context, policymakers and energy supply chain managers should plan a reorder point based on changes in demand (see, Equation (2)), considering integrated power auctions, for both solar and wind power. Additionally, they should coordinate the dispatch of both solar and wind power according to regional supply capacity and consumption in demand centers []. This coordinated strategy not only optimizes resource allocation but also enhances the overall efficiency and sustainability of the energy transition.
4.2. Diffusion of Wind Power in the Brazilian Energy Matrix
Currently, the Brazilian federal government employs an auction system to expand the wind power industry, which has experienced the most significant expansion of installed capacity between 2013 and 2014 [,]. This subsection presents different simulation scenarios that evaluate how various policies affect the diffusion of wind power. The results of market share in the Brazilian energy matrix of wind and solar power for the best scenario (Scenario 4) are shown in Figure 6. The share of installed capacity of wind power in the energy matrix is projected to reach 14% by 2031 for the most favorable diffusion conditions and approximately 10% under the most unfavorable diffusion conditions (e.g., cancellation of wind auctions and increase of the market share of solar power). Comparing the first scenario to the second and third scenarios indicated no relevant differences over the simulated period.

Figure 6.
Market share of solar and wind power for Scenario 4.
In this context, wind power has played a significant role in the energy matrix, with nearly a 50% growth by 2020 in the Northeast and North regions [,]. However, since all Brazilian regions have favorable irradiance, this could facilitate the rapid spread of photovoltaic (PV) solar energy across the country, compared to wind power, as shown in Figure 6. Brazil is also characterized by large hydroelectric plants, which could support a sustainable increase, while solar and wind power continue to grow their market share because of their favourable conditions (technical and low cost).
4.3. Implications of Legitimacy on Wind Generation Cost
The current positioning of wind industries in the value chain is often a consequence of a long evolution and history []. As industry and learning experiences accumulate over time, Brazil achieves a major potential for low-cost energy production. However, the cancellation of wind contracting is a concern for the sustainable development of the wind-power supply chain. Figure 7 presents simulations of the levelized cost of electricity for the four scenarios being contemplated in this paper. Results show that under a synchronized policy, generation costs are low due to suitable coordination among electricity generation and transmission (Scenarios 2 and 4). Conversely, when wind power auctions and transmission infrastructure development are not synchronized, the cost of wind generation increases significantly, as seen in Scenarios 1 and 3. This comparison underscores the importance of coordinated policies, particularly in cases like Scenario 3, where the lack of coordination leads to the highest generation costs.

Figure 7.
The dynamic of wind generation under four scenarios.
5. Discussion
The cancellation of wind power auctions and subsequent delays in new energy projects can have far-reaching consequences beyond the wind industry itself, particularly for the Federal Government’s emission reduction goals. The increasing adoption of renewable energy has spurred research on its impact on power markets and energy policy [,,]. The growing market for clean technologies creates a need for coordination among stakeholders. The Federal Government, therefore, should plan joint permitting stages and construction of new technologies, as well as transmission auctions, environmental licensing, and operations [,].
Economic incentives are vital for promoting renewable energy technologies in electricity generation, as emphasized by []. The federal government can strategically set low energy prices (tariffs) to attract investment in new power plants, thereby driving the expansion of renewable generation capacity through auctions. This approach enhances investment legitimacy. However, historical data reveal a substantial decline in auction prices, nearly 50% between 2009 and late 2012, due to factors like currency devaluation and rising interest rates [,].
Past market failures often stem from inadequate institutional arrangements that hinder market development and undermine investment legitimacy [,]. Therefore, understanding the impact of auction cancellations on wind power diffusion is critical for addressing these market failures and strengthening institutional legitimacy. Additionally, the growth of other energy sources, such as solar and green hydrogen, requires a coordinated policy for installed capacity to promote complementarity and reduce the uncertainty inherent in renewables.
Uncoordinated policies can create discrepancies between generation capacity and transmission capacity [,]. Effective policy coordination is essential for successful auction mechanisms [], and thus for maintaining the legitimacy function. This challenge can be addressed by strategically allocating new transmission lines based on the potential of each renewable energy source and then using auctions to select projects for development [,]. In this respect, the transmission infrastructure must be planned before generation. The results of our analysis suggest that the diffusion of the wind power industry depends on coordination among energy sector actors as well as joint planning of transmission infrastructure and capacity generation. These conditions could improve the legitimacy function in the long term. Therefore, a planning policy that involves collaboration with communities, investors, and policymakers fosters greater trust among stakeholders and helps alleviate delays inherent to the energy projects.
The simulation results demonstrate that in Scenarios 1, 2, and 3, the market share of wind power falls short of the expectations set by the Brazilian Wind Energy Association. This shortfall arises from the cancellation or insufficiency of wind power auctions. Policy decisions, such as auction cancellations, can negatively impact legitimacy and discourage future investment. Legitimacy is a key driver for wind power expansion, as it reflects industry acceptance and confidence in government support.
Previous studies have shown that various countries have adopted auctions for renewables as a strategy to achieve carbon neutrality. However, the implementation of these policies has presented challenges depending on the specific environmental and contextual factors. In Colombia, for example, although 2.2 GW of renewable capacity has been added through this mechanism, significant challenges remain in integrating renewables into the electricity mix []. These include project delays, an overreliance on hydroelectric and thermal power plants due to storage limitations, and an increase in thermal capacity to meet demand during scarcity periods [,]. Other studies highlight that European countries implementing renewable energy auctions often demonstrate inconsistent policy strategies [,]. In fact, many auction designs are not fully aligned with their initially proposed objectives [].
In this context, this study suggests aligning the goals of auctions for different renewable sources by collaborating with communities, investors, and policymakers from the formulation of alternatives of inclusive policy.
6. Conclusions and Policy Implications
This study examines how changes in auction policy legitimacy affect the growth of wind power and its associated generation costs in Brazil. One relevant contribution was discovering policy alternatives that can mitigate the negative consequences of declining legitimacy in the wind industry.
With an energy policy supported by research and technology development, industrial innovations and market creation may improve the positioning and competitiveness of their energy industries in world markets and simultaneously solve national energy needs []. However, even with strong operational capacity, the long-term sustainability of an energy industry hinges on the legitimacy of its supporting policies [].
Despite the considerable wind power potential in the North and Northeast regions of Brazil, as noted by [,], our research, consistent with other studies [,], demonstrates that the success of the wind industry depends not only on favorable wind conditions but also on strong institutional support and policy legitimacy.
Our findings further emphasize the critical role of the time required to build capacity in the coordination of energy policy. This time-based coordination facilitates the deployment of the wind industry, contributing significantly to the reduction of legitimacy challenges.
The political process of legitimacy formation through auctions influences the availability of public and private investment. Reduced legitimacy hinders the development of new wind capacity and undermines the independence of Brazil’s electricity system. Poorly implemented energy policies erode market legitimacy, highlighting the need for coordinated policy alternatives to address this issue. Future research could expand on this analysis by examining the dynamics of the wind power industry within the broader context of the technological innovation system (TIS) framework. Additionally, a comparative analysis with other renewable energy sectors, such as solar or hydroelectric power in the TIS framework, could provide additional insights into the unique challenges and opportunities faced by the Wind Power Industry (WPI).
This study employs system dynamics modeling to offer policymakers alternative approaches to evaluating auction cancellations and future projections. Our scenario analyses demonstrate that the legitimacy function plays a crucial role in the growth and diffusion of renewable energy technologies like wind power.
Author Contributions
Conceptualization, M.M.H. and M.U.M.; methodology, M.M.H. and M.U.M.; software, M.M.H. and M.U.M.; validation, M.M.H., M.U.M. and A.M.-M.; formal analysis, M.M.H.; investigation, M.M.H., M.U.M. and A.M.-M.; resources, M.M.H.; data curation, M.M.H.; writing—original draft preparation, M.M.H.; writing—review and editing, M.U.M. and A.M-M.; visualization, M.M.H.; supervision, M.M.H.; project administration, M.M.H.; funding acquisition, M.M.H. All authors have read and agreed to the published version of the manuscript.
Funding
This research was funded by the Universidad Militar Nueva Granada, grant number IMP-ECO-3402.
Data Availability Statement
The data presented in this study are available in ABeeOlica at https://abeeolica.org.br [].
Acknowledgments
The authors extend our sincere thanks to the reviewers of the System Dynamics Society for their valuable comments and suggestions on the first draft presented in the 42nd International System Dynamics Conference, which greatly contributed to the improvement of this work.
Conflicts of Interest
The authors declare no conflicts of interest. The funders had no role in the design of the study; in the collection, analyses, or interpretation of data; in the writing of the manuscript; or in the decision to publish the results.
Appendix A. Mathematical Model
Technological legitimacy is modeled using a set of differential equations that capture the effect of technology attractiveness on wind contracting (see Equation (1)) and the performance of wind power as a function of knowledge development.
Variables | Equations |
Technology_Legitimacy (t) | Technology_Legitimacy(t − dt) + (Changing_legitimacy) × dt |
Changing_legitimacy | Technology_Legitimacy × Effect_of_wind_adoption_in_growing_legitimacy |
Effect_of_legitimacy_on_the_wind_industry | Technology_Legitimacy/(Technology_Legitimacy + 0.7) |
Effect_of_tech_attractiveness_on_wind_contracting | Wind_technology_attractiveness × Demand_Supply.Wind_contracting |
Effect_of_wind_adoption_in_growing_legitimacy | GRAPH(Effect_of_tech_attractiveness_on_wind_contracting) Points: (0.000, −0.1980), (0.250, −0.0900), (0.500, −0.0220), (0.750, 0.0280), (1.000, 0.0640), (1.250, 0.0900), (1.500, 0.1120), (1.750, 0.1240), (2.000, 0.1310), (2.250, 0.1420), (2.500, 0.1480), (2.750, 0.1570), (3.000, 0.1630), (3.250, 0.1640), (3.500, 0.1670), (3.750, 0.1720), (4.000, 0.1730), (4.250, 0.1780), (4.500, 0.1780), (4.750, 0.1790), (5.000, 0.1790) |
Wind_technology_attractiveness | Wind_technology_performance × Demand_Supply.Effect_of_price_on_wind_tech_attractiveness |
Wind_technology_performance | 1/Function_knowledge_development.Effect_of_the_learning_curve |
Additionally, Figure A1 shows the simulation model that was built to represent the legitimacy function. This figure represents the effects of price (market share) and technological performance on the change in wind adoption legitimacy.

Figure A1.
Simulation model–legitimacy module.
References
- Diniz, B.A.; Szklo, A.; Tolmasquim, M.T.; Schaeffer, R. Delays in the Construction of Power Plants from Electricity Auctions in Brazil. Energy Policy 2023, 175, 113467. [Google Scholar] [CrossRef]
- Mastropietro, P.; Batlle, C.; Barroso, L.A.; Rodilla, P. Electricity Auctions in South America: Towards Convergence of System Adequacy and RES-E Support. Renew. Sustain. Energy Rev. 2014, 40, 375–385. [Google Scholar] [CrossRef]
- Porrua, F.; Bezerra, B.; Barroso, L.A.; Lino, P.; Ralston, F.; Pereira, M. Wind Power Insertion Through Energy Auction in Brazil. In Proceedings of the Power and Energy Society General Meeting, Minneapolis, MN, USA, 25–29 July 2010; pp. 1–8. [Google Scholar]
- Zapata, S.; Castaneda, M.; Herrera, M.M.; Dyner, I. Investigating the Concurrence of Transmission Grid Expansion and the Dissemination of Renewables. Energy 2023, 276, 127571. [Google Scholar] [CrossRef]
- Fleck, A.K.; Anatolitis, V. Achieving the Objectives of Renewable Energy Policy—Insights from Renewable Energy Auction Design in Europe. Energy Policy 2023, 173, 113357. [Google Scholar] [CrossRef]
- Anatolitis, V.; Azanbayev, A.; Fleck, A.K. How to Design Efficient Renewable Energy Auctions? Empirical Insights from Europe. Energy Policy 2022, 166, 112982. [Google Scholar] [CrossRef]
- Kiefer, C.P.; del Río, P. Analysing the Impact of Renewable Energy Auctions on Market Concentration. Renew. Energy 2024, 221, 119664. [Google Scholar] [CrossRef]
- Bayer, B.; Berthold, L.; Moreno Rodrigo de Freitas, B. The Brazilian Experience with Auctions for Wind Power: An Assessment of Project Delays and Potential Mitigation Measures. Energy Policy 2018, 122, 97–117. [Google Scholar] [CrossRef]
- Shrimali, G.; Konda, C.; Farooquee, A.A. Designing Renewable Energy Auctions for India: Managing Risks to Maximize Deployment and Cost-Effectiveness. Renew. Energy 2016, 97, 656–670. [Google Scholar] [CrossRef]
- Moreno, R.; Barroso, L.A.; Rudnick, H.; Mocarquer, S.; Bezerra, B. Auction Approaches of Long-Term Contracts to Ensure Generation Investment in Electricity Markets: Lessons from the Brazilian and Chilean Experiences. Energy Policy 2010, 38, 5758–5769. [Google Scholar] [CrossRef]
- Tolmasquim, M.T.; de Barros Correia, T.; Addas Porto, N.; Kruger, W. Electricity Market Design and Renewable Energy Auctions: The Case of Brazil. Energy Policy 2021, 158, 112558. [Google Scholar] [CrossRef]
- Dehler-Holland, J.; Okoh, M.; Keles, D. Assessing Technology Legitimacy with Topic Models and Sentiment Analysis—The Case of Wind Power in Germany. Technol. Forecast. Soc. Chang. 2022, 175, 121354. [Google Scholar] [CrossRef]
- Aquila, G.; Rocha, L.C.S.; Rotela Junior, P.; Pamplona, E.d.O.; Queiroz, A.R.d.; Paiva, A.P.d. Wind Power Generation: An Impact Analysis of Incentive Strategies for Cleaner Energy Provision in Brazil. J. Clean. Prod. 2016, 137, 1100–1108. [Google Scholar] [CrossRef]
- Aquila, G.; Pamplona, E.d.O.; Queiroz, A.R.d.; Rotela Junior, P.; Fonseca, M.N. An Overview of Incentive Policies for the Expansion of Renewable Energy Generation in Electricity Power Systems and the Brazilian Experience. Renew. Sustain. Energy Rev. 2017, 70, 1090–1098. [Google Scholar] [CrossRef]
- Bradshaw, A. Regulatory Change and Innovation in Latin America: The Case of Renewable Energy in Brazil. Util. Policy 2017, 49, 156–164. [Google Scholar] [CrossRef]
- De Melo, C.A.; Jannuzzi, G.D.M.; Bajay, S.V. Nonconventional Renewable Energy Governance in Brazil: Lessons to Learn from the German Experience. Renew. Sustain. Energy Rev. 2016, 61, 222–234. [Google Scholar] [CrossRef]
- Dantas, G.d.A.; de Castro, N.J.; Brandão, R.; Rosental, R.; Lafranque, A. Prospects for the Brazilian Electricity Sector in the 2030s: Scenarios and Guidelines for Its Transformation. Renew. Sustain. Energy Rev. 2017, 68, 997–1007. [Google Scholar] [CrossRef]
- Leusin, M.E.; Uriona Maldonado, M.; Herrera, M.M. Exploring the Influence of Brazilian Project Cancellation Mechanisms on New Wind Power Generation. Renew. Energy 2024, 221, 119755. [Google Scholar] [CrossRef]
- Gandenberger, C.; Strauch, M. Wind Energy Technology as Opportunity for Catching-up? A Comparison of the Tis in Brazil and China. Innov. Dev. 2018, 8, 287–308. [Google Scholar] [CrossRef]
- Hekkert, M.P.; Negro, S.O. Functions of Innovation Systems as a Framework to Understand Sustainable Technological Change: Empirical Evidence for Earlier Claims. Technol. Forecast. Soc. Chang. 2008, 76, 584–594. [Google Scholar] [CrossRef]
- Global Transmission Report. Update on Brazilian Power Sector: Key Highlights of 2017. Available online: https://globaltransmission.info/update-on-brazilian-power-sector-key-highlights-of-2017/ (accessed on 2 May 2024).
- Agencia Nacional de Energía Eléctrica-ANEEL Leiloes de Geraçao. Available online: https://www.gov.br/aneel/pt-br/centrais-de-conteudos/relatorios-e-indicadores/leiloes (accessed on 12 October 2017).
- Herrera, M.M.; Dyner, I.; Cosenz, F. Benefits from Energy Policy Synchronisation of Brazil’s North-Northeast Interconnection. Renew. Energy 2020, 162, 427–437. [Google Scholar] [CrossRef]
- Suurs, R.A.A. Motors of Sustainable Innovation: Towards a Theory on the Dynamics of Technological Innovation Systems. Ph.D. Thesis, Faculty of Geosciences, Utrecht University, Utrecht, The Netherlands, 2009. [Google Scholar]
- Li, F.G.N.; Trutnevyte, E.; Strachan, N. A Review of Socio-Technical Energy Transition (STET) Models. Technol. Forecast. Soc. Chang. 2015, 100, 290–305. [Google Scholar] [CrossRef]
- Bergek, A.; Hekkert, M.; Jacobsson, S.; Markard, J.; Sandén, B.; Truffer, B. Technological Innovation Systems in Contexts: Conceptualizing Contextual Structures and Interaction Dynamics. Environ. Innov. Soc. Transit. 2015, 16, 51–64. [Google Scholar] [CrossRef]
- Negro, S.O.; Alkemade, F.; Hekkert, M.P. Why Does Renewable Energy Diffuse so Slowly? A Review of Innovation System Problems. Renew. Sustain. Energy Rev. 2012, 16, 3836–3846. [Google Scholar] [CrossRef]
- Rohe, S.; Chlebna, C. A Spatial Perspective on the Legitimacy of a Technological Innovation System: Regional Differences in Onshore Wind Energy. Energy Policy 2021, 151, 112193. [Google Scholar] [CrossRef]
- Kishna, M.; Niesten, E.; Negro, S.; Hekkert, M.P. The Role of Alliances in Creating Legitimacy of Sustainable Technologies: A Study on the Field of Bio-Plastics. J. Clean. Prod. 2017, 155, 7–16. [Google Scholar] [CrossRef]
- Walrave, B.; Raven, R. Modelling the Dynamics of Technological Innovation Systems. Res. Policy 2016, 45, 1833–1844. [Google Scholar] [CrossRef]
- Sterman, J. Business Dynamics: Systems Thinking and Modeling for a Complex World; McGraw-Hill: New York, NY, USA, 2000; ISBN 007238915X. [Google Scholar]
- Qudrat-Ullah, H. The Physics of Stocks and Flows of Energy Systems Applications in Energy Policy; Springer: London, UK, 2016; ISBN 9783319248271. [Google Scholar]
- Laimon, M.; Mai, T.; Goh, S.; Yusaf, T. System Dynamics Modelling to Assess the Impact of Renewable Energy Systems and Energy Efficiency on the Performance of the Energy Sector. Renew. Energy 2022, 193, 1041–1048. [Google Scholar] [CrossRef]
- Ford, A. Simulating Systems with Fast and Slow Dynamics: Lessons from the Electric Power Industry. Syst. Dyn. Rev. 2018, 34, 222–254. [Google Scholar] [CrossRef]
- Castaneda, M.; Jimenez, M.; Zapata, S.; Franco, C.J.; Dyner, I. Myths and Facts of the Utility Death Spiral. Energy Policy 2017, 110, 105–116. [Google Scholar] [CrossRef]
- Papachristos, G. System Dynamics Modelling and Simulation for Sociotechnical Transitions Research. Environ. Innov. Soc. Transit. 2019, 31, 248–261. [Google Scholar] [CrossRef]
- Köhler, J.; De Haan, F.; Holtz, G.; Kubeczko, K.; Moallemi, E.; Papachristos, G.; Chappin, E. Modelling Sustainability Transitions: An Assessment of Approaches and Challenges. J. Ofartificial Soc. Soc. Simul. 2018, 21, 201. [Google Scholar] [CrossRef]
- Holtz, G.; Alkemade, F.; De Haan, F.; Köhler, J.; Trutnevyte, E.; Luthe, T.; Halbe, J.; Papachristos, G.; Chappin, E.; Kwakkel, J.; et al. Prospects of Modelling Societal Transitions: Position Paper of an Emerging Community. Environ. Innov. Soc. Transit. 2015, 17, 41–58. [Google Scholar] [CrossRef]
- Raven, R.; Walrave, B. Overcoming Transformational Failures through Policy Mixes in the Dynamics of Technological Innovation Systems. Technol. Forecast. Soc. Chang. 2020, 153, 119297. [Google Scholar] [CrossRef]
- Papachristos, G. A Mechanism Based Transition Research Methodology: Bridging Analytical Approaches. Futures 2018, 98, 57–71. [Google Scholar] [CrossRef]
- Moallemi, E.A.; de Haan, F.; Kwakkel, J.; Aye, L. Narrative-Informed Exploratory Analysis of Energy Transition Pathways: A Case Study of India’s Electricity Sector. Energy Policy 2017, 110, 271–287. [Google Scholar] [CrossRef]
- Uriona, M.; Grobbelaar, S.S. Innovation System Policy Analysis through System Dynamics Modelling: A Systematic Review. Sci. Public Policy 2019, 46, 28–44. [Google Scholar] [CrossRef]
- Holtz, G. Modelling Transitions: An Appraisal of Experiences and Suggestions for Research. Environ. Innov. Soc. Transit. 2011, 1, 167–186. [Google Scholar] [CrossRef]
- Köhler, J.; Lerch, C.; Nabitz, L.; Sartorius, C.; Walz, R. The Dynamic Simulation of TIS Functions in Transitions Pathways; Fraunhofer ISI: Karlsruhe, Germany, 2016. [Google Scholar]
- Kieft, A.; Harmsen, R.; Hekkert, M.P. Toward Ranking Interventions for Technological Innovation Systems via the Concept of Leverage Points. Technol. Forecast. Soc. Chang. 2020, 153, 119466. [Google Scholar] [CrossRef]
- Edquist, C. Systems of Innovation: Perspectives and Challenges. In the Oxford Handbook of Innovation; Fagerberg, J., Mowery, D.C., Nelson, R.R., Eds.; Oxford University Press: Oxford, UK, 2005; pp. 181–208. [Google Scholar]
- Markard, J.; Raven, R.; Truffer, B. Sustainability Transitions: An Emerging Field of Research and Its Prospects. Res. Policy 2012, 41, 955–967. [Google Scholar] [CrossRef]
- Cherp, A.; Vinichenko, V.; Jewell, J.; Brutschin, E.; Sovacool, B. Integrating Techno-Economic, Socio-Technical and Political Perspectives on National Energy Transitions: A Meta-Theoretical Framework. Energy Res. Soc. Sci. 2018, 37, 175–190. [Google Scholar] [CrossRef]
- Hekkert, M.; Suurs, R.; Negro, S.; Kuhlmann, S.; Smits, R. Functions of Innovation Systems: A New Approach for Analysing Technological Change. Technol. Forecast. Soc. Chang. 2007, 74, 413–432. [Google Scholar] [CrossRef]
- Fartash, K.; Ghorbani, A. Holding Solar Energy Hostage? Evidences from the Political Economy of the Solar Photovoltaic Innovation System in Iran. Energy Res. Soc. Sci. 2023, 106, 103304. [Google Scholar] [CrossRef]
- Huang, P.; Negro, S.O.; Hekkert, M.P.; Bi, K. How China Became a Leader in Solar PV: An Innovation System Analysis. Renew. Sustain. Energy Rev. 2016, 64, 777–789. [Google Scholar] [CrossRef]
- Yu, Z.; Gibbs, D. Sustainability Transitions and Leapfrogging in Latecomer Cities: The Development of Solar Thermal Energy in Dezhou, China. Reg. Stud 2018, 52, 68–79. [Google Scholar] [CrossRef]
- Reichardt, K.; Rogge, K.S.; Negro, S.O. Unpacking Policy Processes for Addressing Systemic Problems in Technological Innovation Systems: The Case of Offshore Wind in Germany. Renew. Sustain. Energy Rev. 2017, 80, 1217–1226. [Google Scholar] [CrossRef]
- Gomes, L.A.d.V.; Barros, L.S.d.S. The Role of Governments in Uncertainty Orchestration in Market Formation for Sustainability Transitions. Environ. Innov. Soc. Transit. 2022, 43, 127–145. [Google Scholar] [CrossRef]
- MacKinnon, D.; Afewerki, S.; Karlsen, A. Technology Legitimation and Strategic Coupling: A Cross-National Study of Floating Wind Power in Norway and Scotland. Geoforum 2022, 135, 1–11. [Google Scholar] [CrossRef]
- Schneider, N.; Rinscheid, A. The (de-)Construction of Technology Legitimacy: Contending Storylines Surrounding Wind Energy in Austria and Switzerland. Technol. Forecast. Soc. Chang. 2024, 198, 122929. [Google Scholar] [CrossRef]
- Rohe, S. The Regional Facet of a Global Innovation System: Exploring the Spatiality of Resource Formation in the Value Chain for Onshore Wind Energy. Environ. Innov. Soc. Transit. 2020, 36, 331–344. [Google Scholar] [CrossRef]
- Kebede, K.Y.; Mitsufuji, T. Technological Innovation System Building for Diffusion of Renewable Energy Technology: A Case of Solar PV Systems in Ethiopia. Technol. Forecast. Soc. Chang. 2017, 114, 242–253. [Google Scholar] [CrossRef]
- Spielhofer, R.; Schwaab, J.; Grêt-Regamey, A. How Spatial Policies Can Leverage Energy Transitions—Finding Pareto-Optimal Solutions for Wind Turbine Locations with Evolutionary Multi-Objective Optimization. Environ. Sci. Policy 2023, 142, 220–232. [Google Scholar] [CrossRef]
- Dewald, U.; Truffer, B. Market Formation in Technological Innovation Systems-Diffusion of Photovoltaic Applications in Germany. Ind. Innov. 2011, 18, 285–300. [Google Scholar] [CrossRef]
- Moallemi, E.A.; Aye, L.; de Haan, F.J.; Webb, J.M. A Dual Narrative-Modelling Approach for Evaluating Socio-Technical Transitions in Electricity Sectors. J. Clean. Prod. 2017, 162, 1210–1224. [Google Scholar] [CrossRef]
- Bayer, B. Experience with Auctions for Wind Power in Brazil. Renew. Sustain. Energy Rev. 2018, 81, 2644–2658. [Google Scholar] [CrossRef]
- Furtado, A.T.; Perrot, R. Innovation Dynamics of the Wind Energy Industry in South Africa and Brazil: Technological and Institutional Lock-Ins. Innov. Dev. 2015, 5, 263–278. [Google Scholar] [CrossRef]
- Dutra, R.M.; Szklo, A.S. Incentive Policies for Promoting Wind Power Production in Brazil: Scenarios for the Alternative Energy Sources Incentive Program (PROINFA) under the New Brazilian Electric Power Sector Regulation. Renew. Energy 2008, 33, 65–76. [Google Scholar] [CrossRef]
- Da Silva, R.C.; De Marchi Neto, I.; Silva Seifert, S. Electricity Supply Security and the Future Role of Renewable Energy Sources in Brazil. Renew. Sustain. Energy Rev. 2016, 59, 328–341. [Google Scholar] [CrossRef]
- Cardoso Júnior, R.A.F.; Magrini, A.; da Hora, A.F. Environmental Licensing Process of Power Transmission in Brazil Update Analysis: Case Study of the Madeira Transmission System. Energy Policy 2014, 67, 281–289. [Google Scholar] [CrossRef]
- Herrera, M.M.; Dyner, I.; Cosenz, F. Assessing the Effect of Transmission Constraints on Wind Power Expansion in Northeast Brazil. Util. Policy 2019, 59, 100924. [Google Scholar] [CrossRef]
- Herrera, M.M.; Uriona, M.; Dyner, I. Dynamics Performance of the Wind-Power Supply Chain with Transmission Capacity Constraints. Int. J. Electr. Comput. Eng. 2020, 10, 1142–1148. [Google Scholar] [CrossRef]
- Rigo, P.D.; Siluk, J.C.M.; Lacerda, D.P.; Spellmeier, J.P. Competitive Business Model of Photovoltaic Solar Energy Installers in Brazil. Renew. Energy 2022, 181, 39–50. [Google Scholar] [CrossRef]
- Nogueira De Oliveira, L.P.; Rodriguez Rochedo, P.R.; Portugal-Pereira, J.; Hoffmann, B.S.; Aragão, R.; Milani, R.; De Lucena, A.F.P.; Szklo, A.; Schaeffer, R. Critical Technologies for Sustainable Energy Development in Brazil: Technological Foresight Based on Scenario Modelling. J. Clean. Prod. 2016, 130, 12–24. [Google Scholar] [CrossRef]
- ABEEólica Dados ABEEólica. Available online: https://abeeolica.org.br/ (accessed on 23 January 2024).
- Dyner, I. Energy Modelling Platforms for Policy and Strategy Support. J. Oper. Res. Soc. 2000, 51, 136–144. [Google Scholar] [CrossRef]
- Herrera, M.M.; Uriona Maldonado, M.; Méndez-Morales, A. Challenges in Energy Policy Legitimacy for Wind Power Industry. In Proceedings of the 2024 International System Dynamics Conference, Bergen, Norway, 4–8 August 2024; Howick, S., Jalali, M., Rahmandad, H., Eds.; System Dynamic Society: Littleton, MA, USA, 2024. [Google Scholar]
- Da Silva, N.F.; Rosa, L.P.; Freitas, M.A.V.; Pereira, M.G. Wind Energy in Brazil: From the Power Sector’s Expansion Crisis Model to the Favorable Environment. Renew. Sustain. Energy Rev. 2013, 22, 686–697. [Google Scholar] [CrossRef]
- Costa, E.; Rodrigues Teixeira, A.C.; Silva Costa, S.C.; Consoni, F.L. Influence of Public Policies on the Diffusion of Wind and Solar PV Sources in Brazil and the Possible Effects of COVID-19. Renew. Sustain. Energy Rev. 2022, 162, 112449. [Google Scholar] [CrossRef]
- Lund, P.D. Effects of Energy Policies on Industry Expansion in Renewable Energy. Renew. Energy 2009, 34, 53–64. [Google Scholar] [CrossRef]
- Castaneda, M.; Franco, C.J.; Dyner, I. Evaluating the Effect of Technology Transformation on the Electricity Utility Industry. Renew. Sustain. Energy Rev. 2017, 80, 341–351. [Google Scholar] [CrossRef]
- Cardenas, L.M.; Franco, C.J.; Dyner, I. Assessing Emissions-Mitigation Energy Policy under Integrated Supply and Demand Analysis: The Colombian Case. J. Clean. Prod. 2016, 112, 3759–3773. [Google Scholar] [CrossRef]
- González, M.O.A.; Gonçalves, J.S.; Vasconcelos, R.M. Sustainable Development: Case Study in the Implementation of Renewable Energy in Brazil. J. Clean. Prod. 2017, 142, 461–475. [Google Scholar] [CrossRef]
- Gorayeb, A.; Brannstrom, C.; de Andrade Meireles, A.J.; de Sousa Mendes, J. Wind Power Gone Bad: Critiquing Wind Power Planning Processes in Northeastern Brazil. Energy Res. Soc. Sci. 2018, 40, 82–88. [Google Scholar] [CrossRef]
- Cepeda, M.; Finon, D. Generation Capacity Adequacy in Interdependent Electricity Markets. Energy Policy 2011, 39, 3128–3143. [Google Scholar] [CrossRef]
- Mcafee, R.P.; Mcmillan, J.; Carter, M.; Harley, K.; Howitt, P.; Kuhn, P.; Laidler, D.; Macdonald, G.; Porter, R.; Samuelson, W.; et al. Auctions and Bidding. J. Econ. Lit. 1987, 25, 699–738. [Google Scholar]
- Kunz, F.; Zerrahn, A. Benefits of Coordinating Congestion Management in Electricity Transmission Networks: Theory and Application to Germany. Util. Policy 2015, 37, 34–45. [Google Scholar] [CrossRef]
- De Jong, P.; Kiperstok, A.; Torres, E.A. Economic and Environmental Analysis of Electricity Generation Technologies in Brazil. Renew. Sustain. Energy Rev. 2015, 52, 725–739. [Google Scholar] [CrossRef]
- Rangel, R.; Arango-Manrique, A.; Corredor, L.; Sanjuan, M. Assessment of Colombian Renewable Energy Auctions Policy: Enabler or Barrier for Concentrating Solar Power Plants. Energy Policy 2024, 193, 114300. [Google Scholar] [CrossRef]
- Zapata, S.; Castaneda, M.; Aristizabal, A.J.; Dyner, I. Renewables for Supporting Supply Adequacy in Colombia. Energy 2022, 239, 122157. [Google Scholar] [CrossRef]
- Herrera, M.M.; Dyner, I.; Cosenz, F. Alternative Energy Policy for Mitigating the Asynchrony of the Wind-Power Industry’s Supply Chain in Brazil. In Innovative Solutions for Sustainable Supply Chains; Qudrat-Ullah, H., Ed.; Springer International Publishing: Cham, Switzerland, 2018; pp. 199–221. ISBN 978-3-319-94322-0. [Google Scholar]
- De Jong, P.; Dargaville, R.; Silver, J.; Utembe, S.; Kiperstok, A.; Torres, E.A. Forecasting High Proportions of Wind Energy Supplying the Brazilian Northeast Electricity Grid. Appl. Energy 2017, 195, 538–555. [Google Scholar] [CrossRef]
- Lima, D.K.S.; Leão, R.P.S.; dos Santos, A.C.S.; de Melo, F.D.C.; Couto, V.M.; de Noronha, A.W.T.; Oliveira, D.S. Estimating the Offshore Wind Resources of the State of Ceará in Brazil. Renew. Energy 2015, 83, 203–221. [Google Scholar] [CrossRef]
- Bradshaw, A.; de Martino Jannuzzi, G. Governing Energy Transitions and Regional Economic Development: Evidence from Three Brazilian States. Energy Policy 2019, 126, 1–11. [Google Scholar] [CrossRef]
Disclaimer/Publisher’s Note: The statements, opinions and data contained in all publications are solely those of the individual author(s) and contributor(s) and not of MDPI and/or the editor(s). MDPI and/or the editor(s) disclaim responsibility for any injury to people or property resulting from any ideas, methods, instructions or products referred to in the content. |
© 2024 by the authors. Licensee MDPI, Basel, Switzerland. This article is an open access article distributed under the terms and conditions of the Creative Commons Attribution (CC BY) license (https://creativecommons.org/licenses/by/4.0/).