Research on Near-Field Propagation Characteristics of Partial Discharge Electromagnetic Wave Signal in Switchgear
Abstract
1. Introduction
2. Propagation Analysis of PD Electromagnetic Wave Signal
2.1. Propagation Characteristics of Electromagnetic Wave Signal in Insulating Medium
2.2. Propagation Characteristics of Electromagnetic Wave Signal in Conductive Medium
2.3. Propagation Characteristics of Electromagnetic Wave Signal at the Interface of Composite Media
3. Simulation Scheme Design
3.1. Basic Principle of Finite-Difference Time-Domain Method
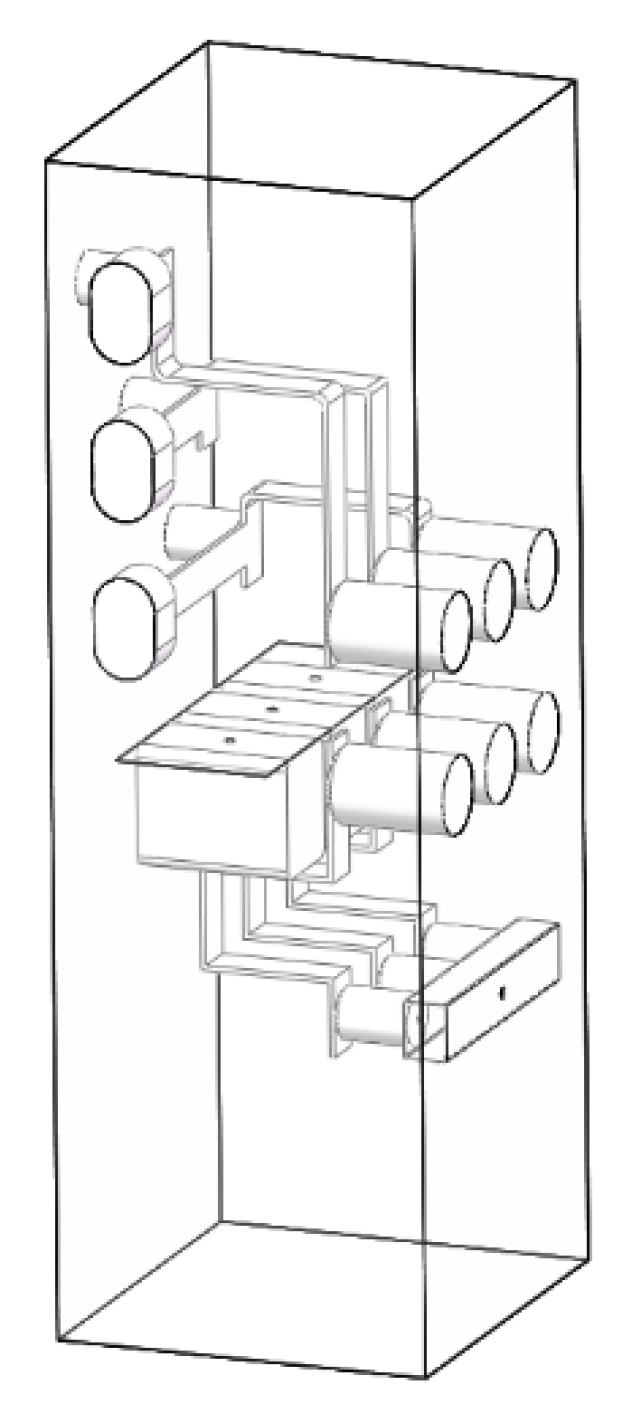
3.2. Establishment of Switchgear Model
3.3. Simulation Parameter Setting
4. Analysis of Simulation Results
4.1. Influence of Current Transformer on Near-Field Propagation Characteristics of PD Electromagnetic Wave
4.2. Influence of Insulator on Near-Field Propagation Characteristics of PD Electromagnetic Wave
4.3. Influence of Busbar on Near-Field Propagation Characteristics of PD Electromagnetic Wave
4.4. Influence of Switchgear Wall on Near-Field Propagation Characteristics of PD Electromagnetic Wave
4.5. Analysis of Placement Position of Near-Field Probe
5. Discussion
6. Conclusions
- (1)
- Different components in the switchgear have different effects on the near-field electromagnetic wave signal of PD: the current transformer, insulator and busbar have a strong attenuation effect on the amplitude of the near-field electromagnetic wave signal of PD in the switchgear, and the insulator also causes obvious signal distortion, which is not conducive to the subsequent identification of the signal. When installing the near-field probe, it is important to keep away from these three components. In addition, the cabinet wall also causes a large attenuation of the signal, and thus the probe should be installed in the switchgear.
- (2)
- The near-field probe can be installed on the inner wall or the right wall of the bottom plate of the switchgear.
Author Contributions
Funding
Conflicts of Interest
References
- Qi, B.; Li, C.; Xing, Z.; Wei, Z. Partial discharge initiated by free moving metallic particles on GIS insulator surface: Severity diagnosis and assessment. IEEE Trans. Dielectr. Electr. Insul. 2014, 21, 766–774. [Google Scholar] [CrossRef]
- Huang, L.; Tang, J.; Ling, C.; Zhang, X. Research on partial discharge pattern recognition based on multi-feature information fusion technology. High Volt. Technol. 2015, 41, 947–955. [Google Scholar] [CrossRef]
- Fotis, G.; Vita, V.; Maris, T.I. Risks in the European Transmission System and a Novel Restoration Strategy for a Power System after a Major Blackout. Appl. Sci. 2023, 13, 83. [Google Scholar] [CrossRef]
- Liu, J. Cause analysis and solution of insulation failure of 40.5 kV air insulated switchgear. Autom. Today 2018, 5, 46–47. [Google Scholar]
- Huang, Y.; Zhang, G.; Yuan, G.; Li, Y. Suspended discharge caused by the suspension of the terminal of the switch cabinet live display sensor. Electr. World 2020, 61, 11–14. [Google Scholar]
- Zu, Y.; Zu, L.; Liu, Y. Analysis and treatment of insulation failure of high-voltage switchgear. Henan Electr. Power 2015, 43, 35–39. [Google Scholar]
- Cao, P.; Xu, P.; He, J.; Gao, K.; Tian, H.; Ji, Y. Insulation defect detection technology for switchgear based on multi-source perception. China Power 2021, 54, 117–124+133. [Google Scholar]
- Suo, C.; Zhao, J.; Wu, X.; Xu, Z.; Zhang, W.; He, M. Partial Discharge Detection Technology for Switchgear Based on Near-Field Detection. Electronics 2023, 12, 336. [Google Scholar] [CrossRef]
- Wu, Y.; Zhang, H.; Wu, J.; Zhang, G. Experimental study on the propagation characteristics of UHF partial discharge signals in linear and L-shaped structures for 252 kV GIS. High Volt. Appar. 2022, 58, 223–228. [Google Scholar] [CrossRef]
- Darwish, A.; Coapes, G.; Refaat, S.S.; Abu-Rub, H.; Toliyat, H.A. PD Signal Attenuation in 550-kV GIS: Impact of Different Barriers on the Propagation of Electromagnetic Waves. IEEE Trans. Instrum. Meas. 2021, 70, 1–13. [Google Scholar] [CrossRef]
- Zhao, T.; Judd, M.D.; Stewart, B.G. Attenuation Characteristics and Time Delay of PD Electromagnetic Wave Propagation in GIS Systems. IEEE Trans. Power Deliv. 2022, 37, 937–946. [Google Scholar] [CrossRef]
- Zhang, X.; Zhang, G.; Li, Y.; Zhang, J.; Huang, R. On the Feasibility of Gap Detection of Power Transformer Partial Discharge UHF Signals: Gap Propagation Characteristics of Electromagnetic Waves. Energies 2017, 10, 1531. [Google Scholar] [CrossRef]
- Du, J.; Chen, W.; Zhang, Z.; Yang, X. Propagation characteristics of UHF signals of partial discharge in real transformers. High Volt. Technol. 2020, 46, 2185–2191. [Google Scholar] [CrossRef]
- Rostaminia, R.; Saniei, M.; Vakilian, M.; Mortazavi, S.S. Evaluation of transformer core contribution to partial discharge electromagnetic waves propagation. Int. J. Electr. Power Energy Syst. 2016, 83, 40–48. [Google Scholar] [CrossRef]
- Yao, C.; Huang, C.; Wu, B.; Chen, P.; Chen, Y.; Mi, Y. Analysis of UHF signal propagation characteristics in switchgear cabinet using finite-difference time-domain method. High Volt. Technol. 2013, 2, 272–279. [Google Scholar]
- Wang, Y.; Liu, Q.; Lu, G.; Huang, Y. Analysis of the influence of switch cabinet structure on UHF electromagnetic wave propagation characteristics. J. Electr. Technol. 2013, 28, 293–300. [Google Scholar] [CrossRef]
- Xu, L. UHF Online Monitoring System and Application of 10 kV Switchgear Discharge; Chongqing University: Chongqing, China, 2016. [Google Scholar]
- Yang, K.; Li, W.; Song, G.; Cheng, P. Operation Analysis of HV Switchgears in 2013. Smart Grid 2013, 2, 32–41. [Google Scholar]
- Zhang, X.; Li, G.; Huang, R.; Xiang, Z.; Zhao, Y.; Yao, S.; Wang, X. Statistical analysis of defect rate of GIS with different opera-tion years and operation and maintenance suggestions. High Volt. Electr. 2016, 52, 184–188, 194. [Google Scholar]
- Xu, Y.; Cheng, J.; Liu, W.; Gao, W. Evaluation of the UHF method based on the investigation of a partial discharge case in post insulators. IEEE Trans. Dielectr. Electr. Insul. 2017, 24, 3669–3676. [Google Scholar] [CrossRef]
- Cheng, J.; Xu, Y.; Ding, D.; Liu, W. Investigation of sensitivity of the ultra-high frequency partial-discharge detection technology for micro-crack in an epoxy insulator in GIS. High Volt. 2020, 5, 697–703. [Google Scholar] [CrossRef]
- Ouyang, J.; Zhang, Z.; Peng, Z.; Liu, L.; Chen, X. Characteristic radiation spectra of negative corona discharges from air needle tips. High Volt. Technol. 2012, 38, 2237–2241. [Google Scholar]
- Liu, W.; Liu, S.; Hu, X.; Yuan, Q. Experimental analysis of radiation characteristics of tip corona discharge. High Volt. Electron. 2008, 1, 20–22. [Google Scholar]
- Qiu, C.; Wang, N. (Eds.) Partial Discharge of Electrical Equipment and Its Test Technology; Machinery Industry Press: Beijing, China, 1994. [Google Scholar]
- Yee, K. Numerical solution of initial boundary value problems involving maxwell’s equations in isotropic media. IEEE Trans. Antennas Propag. 1966, 14, 302–307. [Google Scholar] [CrossRef]
- Tan, W. Optimization algorithm of electromagnetic simulation based on FDTD method. Comput. Eng. Des. 2008, 29, 6362–6364+6396. [Google Scholar]
- Chang, W.; Tang, Z.; Li, C.; Wang, C. Simulation analysis of UHF signal propagation characteristics of partial discharge in transformers. High Volt. Technol. 2009, 35, 1629–1634. [Google Scholar] [CrossRef]



















| Switchgear Elements | |||
|---|---|---|---|
| cabinet | 1 | - | |
| busbar | 1 | - | |
| CT | 3.6 | - | |
| insulator | 5.7 | - |
Disclaimer/Publisher’s Note: The statements, opinions and data contained in all publications are solely those of the individual author(s) and contributor(s) and not of MDPI and/or the editor(s). MDPI and/or the editor(s) disclaim responsibility for any injury to people or property resulting from any ideas, methods, instructions or products referred to in the content. |
© 2023 by the authors. Licensee MDPI, Basel, Switzerland. This article is an open access article distributed under the terms and conditions of the Creative Commons Attribution (CC BY) license (https://creativecommons.org/licenses/by/4.0/).
Share and Cite
Suo, C.; Zhao, J.; Wang, L.; Xu, Z.; Luo, R.; He, M.; Zhang, W. Research on Near-Field Propagation Characteristics of Partial Discharge Electromagnetic Wave Signal in Switchgear. Energies 2023, 16, 3372. https://doi.org/10.3390/en16083372
Suo C, Zhao J, Wang L, Xu Z, Luo R, He M, Zhang W. Research on Near-Field Propagation Characteristics of Partial Discharge Electromagnetic Wave Signal in Switchgear. Energies. 2023; 16(8):3372. https://doi.org/10.3390/en16083372
Chicago/Turabian StyleSuo, Chunguang, Jingjing Zhao, Lifeng Wang, Zhipeng Xu, Ruikang Luo, Mingxing He, and Wenbin Zhang. 2023. "Research on Near-Field Propagation Characteristics of Partial Discharge Electromagnetic Wave Signal in Switchgear" Energies 16, no. 8: 3372. https://doi.org/10.3390/en16083372
APA StyleSuo, C., Zhao, J., Wang, L., Xu, Z., Luo, R., He, M., & Zhang, W. (2023). Research on Near-Field Propagation Characteristics of Partial Discharge Electromagnetic Wave Signal in Switchgear. Energies, 16(8), 3372. https://doi.org/10.3390/en16083372
