1. Introduction
In general, microgrids (MGs) can be described as integrated systems composed of distributed energy resources and electrical loads operating as a single, autonomous network, in parallel or “islanded” from the distribution network [
1]. Smart microgrids are small, modern systems that mimic to a lesser extent today’s large centralized electrical system [
2]. Similar to large electrical power systems (EPS), microgrids can generate, distribute, and regulate the flow of electricity to consumers. When operating in parallel, microgrids increase the main grid capacity, reliability, and efficiency [
3]. MGs are designed to provide reliable and efficient electricity to small communities, facilities, or even individual homes, and can be powered by a variety of energy sources, such as solar panels, wind turbines, diesel generators, or batteries. Energy storage systems are usually included to ensure security (possibility of islanded operation), reliability [
4], and controllability [
5]. A microgrid can be formed by a decentralized group of electricity sources and loads that normally operates connected to a Smart grid or classic grid distribution infrastructure [
6].
Microgrids are able to operate even when the main power system is down and can strengthen the grid reliability and help to mitigate grid disturbances, as well as function as a grid resource for faster system response and recovery. Microgrids can also be used to integrate renewable energy sources, such as solar and wind power, into the local electricity supply, reducing dependence on fossil fuels and promoting sustainability. In addition, MGs can help to reduce transmission losses and increase the resilience of the power system, as well as provide greater control and flexibility over the energy supply [
7]. Despite the potential benefits, one of the relevant challenges for the implementation of microgrids in several countries, as well as in Brazil, is the absence of consolidated guidelines and standards for operation and connection. One example is the islanded operation. Currently, due to security and stability concerns during the restoration process, the regulatory framework does not allow distributed generators classified as micro/minigeneration to operate in islanded mode. However, some categories of generators, such as self-producers of energy operating in parallel with the grid, can operate islanded from the distribution grid. An adequate standardization can contribute to the development and incorporation of new technologies and even improve the electricity grid through well-structured operating agreements (for example, using microgrids providing support to the grid).
In order to propose standards and procedures in the context of microgrids, an extensive review of International Norms and Standards was carried out, such as the IEEE Std. 1547 (Standard for Interconnecting Distributed Resources with Electric Power Systems) [
8], IEEE Std. 2030.7/8/9 (IEEE Guide for Smart Grid Interoperability of Energy Technology and Information Technology Operation with the Electric Power System, End-Use Applications, and Loads) [
9], and IEC 62898 (Guidelines for Microgrid Projects Planning and Specification–P2 for Operation) [
10]. Additionally, evaluation of the strategies used by distribution agents from other countries to enable the connection and operation of microgrids was carried out, ensuring the technical requirements of voltage, frequency, stability, protections, among others, as well as the economic balance of the energy distribution market.
This paper presents an overview of the Brazilian rules and standards currently in use for the connection and operation of microgrids, a survey of the rules that should influence the creation of new regulation, and, lately, this paper discusses the aspects associated with the connection of new microgrids into the energy distribution system. The work presents results and proposed standards associated with three real microgrids developed within the framework of a research and development project called MERGE (Microgrids for Efficient, Reliable, and Greener Energy). Among the macro-objectives of the research, the initiative also aims to promote the discussion of critical points for the elaboration of specific regulations and norms at the national level for the theme, considering scenarios for the implementation of large-scale microgrids. The normative set proposed in the research project classifies the microgrids according to the installed (capacity or) load, and the application of the facilities in nanogrid, Campusgrid, and congrid. With an installed load capacity of up to 75 kW, the nanogrid can be AC, DC, or hybrid. Campusgrid microgrid types would have an installed capacity ranging from 75 kW up to MW size, serving different types of loads, including potentially disruptive special loads, being able to supply buildings and incorporate energy production technologies such as solar, wind, CHP (combined heat and power), among others. A Congrid-type microgrid would have the purpose/applicability of supplying mainly residential loads, which may include photovoltaic systems (PV) and energy storage systems (ESS) operated by the utility. Finally, an initial proposal for specific standardization for Brazil’s electrical systems concerning microgrids is presented.
Paper Structure
The structure of this paper is classified into three main sections.
Section 2 presents an overview of the main standards concerning requirement criteria for microgrids and DERs. Additionally,
Section 2.2 revisits basic concepts related to formal microgrid definition, and describes some classifications and applications based on study cases of MGs.
In
Section 3, the main proposal of structures for microgrids is presented, and describes the MERGE projects microgrids, a nanogrid (small-sized MG), a congrid (in a residential condominium), and a Campusgrid (an institutional microgrid on a university campus).
Section 4 presents some key aspects and relates to the Brazilian regulatory frame and the standardization process.
Section 4.1 and 4.2 describe the issues associated with operation modes (grid connected and islanded).
Section 4.3 describes Energy Storage Systems fundamental role in MGs. A proposed standard structure for the point of connection is described in
Section 4.4.
Section 4.5 presents a procedure for technical feasibility assessment of MGs connection.
Section 4.6 describes a proposed model with attribution of actors for the decentralized management of microgrids, adapted to the institutional standards of the Brazilian sectorial model. An overview of microgrids protection is presented in
Section 4.7. Finally,
Section 5 presents some conclusions and final discussions on microgrid standards.
2. Overview of the Standards for Microgrids and Distributed Energy Sources
Microgrids are equipped with distributed energy resources (DERs)—which include generation and energy storage systems—allocated in a decentralized manner, within the area of a given distribution utility. These resources are connected close to the electrical load (downstream of the PCC—point of common coupling—or located next to consumer units, downstream of the meter—behind-the-meter). In addition to the electrical conventional generation and storage technologies, DERs can use energy efficiency actions, demand-side management strategies, and can include special loads such as electric vehicles with charging stations capable of operating in V2G mode (Vehicle to Grid) [
11,
12].
In recent years, there has been an acceleration in the insertion of DERs, justified mainly by investment and transaction costs reductions, followed by greater dissemination of telecommunication and control technologies, as well as the more active role of consumers. The recent DERs growth indicates that the diffusion of these technologies has a high disruptive potential [
13], capable of profoundly transforming the conventional electrical systems that today are predominantly operated with larger resources and centrally managed [
14] to a larger distributed resource and management.
Considering the larger use of microgrids, it has been identified a lack, or mismatch, related to guidance and standards to achieve safety and security of the distribution networks running with microgrids. That could probably be related to the disruptive behavior of the subject. Nonetheless, this paper presents a review of the international standards and recommendations, and relates to the main rules that drives the safety and security of grid operation in Brazil; finally, here a Brazilian standard is proposed, covering the main subjects of the microgrid under the distribution grid.
The national and international set of standards applied to microgrids can be segmented according to the regulatory bodies and scope of application, here, major emphasis on the Institute of Electrical and Electronics Engineers (IEEE) and the International Electrotechnical Commission (IEC). Commonly, several countries have national and regional/local electrical utilities standards and guides, which usually are based on the guidelines and standards recommended by the IEEE and IEC, but with some minor adjustments to local regulatory aspects and particularities. Therefore, here, these two main standards families are presented as follows.
2.1. International Standards IEC and IEEE
The IEEE and the IEC are two of the most accredited international actors for standardization of grid connection and operation of microgrids. As mentioned before, there are two main “families” of standards related specifically to the microgrids: the IEEE 2030 and the IEC 62898. Although the microgrids can be composed of several components that usually would be subject to specific rules or standards (such as PVs and others), the operation of the DERs in a microgrid configuration deserves a specific standardization. Keeping this in mind, the two families and their main points are presented as follows to help to understand the specificities of microgrids. The criteria for grid connection and operation of distributed generation, as well as storage systems, including microgrid controls, the minimum requirements related to power quality (including voltage and frequency levels), regulation capacity of its state variables, and definitions of grid-connected and islanded operation, are all mainly described in the IEEE 2030 and IEC 62898 standards families.
The specific standards from IEEE are: (A) IEEE Standard for the Specification of Microgrids Controllers (IEEE Std 2030.7); (B) IEEE Standard for the Testing of Microgrid Controllers (IEEE Std 2030.8); and (C) IEEE Recommended Practice for the Planning and design of Microgrid (IEEE Std 2030.9). The IEC standard family include: (D) IEC Technical Specification Part 1: Guidelines for Microgrid Projects Planning and Specification (IEC TS 62898-1); and (E) IEC Technical Specification Part 2: Guidelines for Operation (IEC TS 62898-2), those being the most relevant documents internationally accepted.
Associated with Microgrids, DERs allow greater consumer participation in the management of their own energy consumption that is based in their local generation. Broadly speaking, the distributed resources that compose a microgrid include: (i) distributed generation (DG), (ii) energy storage systems (ESS), and (iii) electric vehicles (EV) including their recharge systems. Each type of DER has specific operational characteristics and, depending on the expected impacts or behavior on the distribution network, must apply different requirements to obtain grid permission to connect. Under this context, the technical specifications for interconnection and interoperability tests between electric power systems and DERs are the focus of the IEEE Std 1547-2018—IEEE Standard for Interconnection and Interoperability of Distributed Energy Resources with Associated Electric Power Systems Interfaces.
The IEEE Std 1547-2018 establishes several aspects related to the operation performance criteria; interconnection safety and maintenance considerations; as well as general requirements responding to abnormal conditions, power quality, islanding and test specifications, and requirements for design, production, installation assessment, commissioning, and periodic testing. The IEEE 1547 standard outlines the technical requirements for interconnecting distributed energy resources (DERs), including microgrids, with electric power systems. Additionally, DERs must meet the specific standards of each technology to meet interconnection, interface, and interoperability requirements established in the IEEE 1547-2018. Considering all the analyzed documents, it was verified that, in general, some utilities have been following the guidelines of the IEEE 1547-2018 standard to guide the operating requirements of microgrids [
15], while some regions (usually in Europe) have also been adopting requirements in accordance with IEC standards.
Figure 1 illustrates the main international standards widely accepted for microgrids.
In addition to the IEC and IEEE standards, it is also important to point out that some countries/regions and regional bodies have started proposing their procedures to grant the safety and security of operation of microgrids. UL 1741 (Inverters, Converters, Controllers, and Interconnection System Equipment for Use with Distributed Energy Resources) [
16] is a safety standard that outlines the requirements for inverters, converters, controllers, and other equipment used in microgrid systems. The UL1741 standard covers issues such as overvoltage protection, fault detection, and isolation; the requirements are intended to supplement and be used in conjunction with the Standard for Interconnecting DERs with Electric Power Systems (IEEE 1547). The standard has been widely adopted in several regions. Europe, through its European Committee for Electrotechnical Standardization (CENELEC), set the standard for DERs connection into low voltage grids [
17]. Ecuador [
18], China [
19], and Italy [
20] have also prepared specific grid rules concerning the microgrids which are more complete, taking specific topics rather than using individual DER grid codes.
References [
21,
22,
23] describe an extensive analysis, and a review of the international standards on DERs and microgrids is presented. The use of a conventional DER procedure/standards for microgrid interconnection has been a strategy for filling the gaps in the absence of specific rules. The most critical aspects that must be taken into account for microgrids are classified into:
- a.
Protection—which includes concerns about the protections and operation of the microgrid interconnected and on island mode. MG plants operate with internal generation sources able to synchronize in parallel with the distribution grid; therefore, they are required to install a set of protection systems for interconnection with the local grid to ensure that the switch at the PoC (point of connection) will be disconnected from the network once a fault is detected in the grid. One serious challenge facing a microgrid network is designing a proper protection scheme [
24].
- b.
Power quality limits—the main allowable limits for the voltage levels, frequency deviations, and voltage drop are not equal among the international standards. In microgrids, power quality limits must be set for both modes of operation—under normal operation and during islanding.
- c.
Reconnection and synchronization—basically the timing and conditions where the microgrid shall be disconnected and reconnected, aiming at safety and smooth operation.
- d.
Operation parameters, such as voltage and frequency—the standards usually state the operational voltage levels and the voltage range of variations, as well as how the DERs components should behave during frequency and voltage swing; however, there are no unified values for microgrids.
- e.
Power factor control—microgrids are neither load nor generation units, but an entity with integrated DERs. Power factor control requirements are usually that the power factor is determined either for loads or for generators.
- f.
Voltage regulation and reactive capacity, frequency regulation, spinning reserve and inertia requirements—these aspects are essential in occasions where there is the need of voltage control or rapid recovery with support of reactive power, and are related to the ability of the power system to withstand short circuits and the frequency swings during and after fault events. A comparison of grid codes and requirements for generation sources connected to the transmission grid is presented in Ref. [
25]. Although challenging, a standard for microgrids with structured and unified recommendations of these aspects could contribute to long-term safe and sustainable implementation.
2.2. Microgrid Definition, Classification, and Applications
A number of microgrid definitions [
26], functional classification schemes [
27], and applications [
2], as well as technologies and outstanding issues [
28], can be found in the literature. A broadly accepted definition according to the U.S. Department of Energy by the Microgrid Exchange Group defines a microgrid as a group of interconnected loads and distributed energy resources within clearly defined electrical boundaries that act as a single controllable entity with respect to the grid that can connect and disconnect from the grid to enable it to operate in both grid-connected or island mode [
29].
MGs can be confused with backup generators (diesel genset). However, backup generators generally do not operate permanently in parallel with the grid, are used for short-term emergency power supply, and do not provide seamless transitions in unscheduled outages. On the other hand, MGs combine local assets constituting arrangements of DERs capable of operating autonomously and uninterruptedly (without interruptions even when external disturbances occur in the EPS), and with constant performance monitoring (via EMS).
MGs can be composed of several generation sources and segmented loads in the electrical network. Some of these loads can be critical, such as hospitals, vital equipment on military bases, or sensitive equipment on universities or commercial campuses and industrial plants. Therefore, these types of loads must remain operational even when an interruption occurs in the electrical system. Microgrids can be used as a reliable power source to critical loads [
30]. The use of microgrids for military defense facilities are presented in ref. [
31] (Alcântara Space Center) and ref. [
32] (Pear Harbor case). In these cases, the MG is the primary source to supply to the interconnected loads and is equipped with a control system capable of managing energy and power [
33]. The controller, when a dispatchable primary power source is available, enables automated islanding and DER-optimized operation based on decentralized or centralized coordination strategies.
Historically, MGs served the purpose of supplying remote loads in isolated regions far from the conventional distribution networks, providing generation in permanently islanded and small capacity electric systems (<1 MW) [
34]. For instance, ref. [
35] describes a microgrid in an isolated community (Lençóis Island). However, the recent reduction of costs associated with battery storage systems (BESS) and the continuous development of automation systems has technically and economically enabled the implementation in applications connected to distribution systems and close to urban centers. In some cases, microgrids have been seen as the natural evolution of installations previously equipped with DG to enable integrated and coordinated operation of variable renewable sources.
When installed on a campus (e.g., in a university), the MG can be designated as a Campusgrid. Since reliability, sustainability, resilience, and energy costs are usually university priorities, microgrids are appropriate technologies to deal with economic issues and simultaneously create living labs facilities for educational/research purposes. Ref. [
36] presents a survey of microgrids in university campuses. Ref. [
37] describes the case of the Federal University of Rio de Janeiro (Center of Technology—CT microgrid). Ref. [
38] describes the CampusGRID, a microgrid at the State University of Campinas.
When deployed in a condominium to supply a group of residential customers (or a complex of companies), the MG can be classified as a congrid. The case of an urban condominium microgrid—the Brooklyn Microgrid—is described in ref. [
39]. Small-sized microgrids, usually limited to a single costumer unit (with DERs coupled to AC or DC buses), can be designated as nanogrids [
40].
In microgrid applications connected to the distribution network, several challenges are introduced, namely: (a) normative requirements; (b) connection and operating procedures; (c) network access criteria combined with network security issues; (d) islanding authorization; (e) responsibility to provide additional energy infrastructure necessary for the operation of the microgrid and the sharing of locally generated energy [
40]. A consolidated set of technical rules and regulations tends to mitigate the risks of implementing innovative technologies. In this context, the following topic presents a description of the main technical standards associated with microgrids applicable in the context of microgrids connected to electrical systems.
2.3. Brazilian National Standards and Grid Procedures
Although the IEEE 2030, IEC 62898, and IEEE 1547 standards present general requirements and guidelines for the interconnection and proper and safe operation of microgrids and their DERs, electrical systems have specifics intrinsic to the location/region of installation. In this way, microgrids to be installed in Brazil must comply with local regulatory requirements, established by the National Electric Energy Agency (ANEEL) with the consent of agents in the electricity sector, and national technical standards, particularly on the normative set established by the Brazilian Association of Technical Standards (ABNT).
In terms of normative/regulatory guidelines, any energy resource connected to the distribution grid must follow the distribution procedures (grid rules)—PRODIST—which is composed of documents prepared by ANEEL to standardize the technical activities related to the operation and performance of electric energy distribution systems.
As expected, there are some differences in operational limits required by the IEEE standard from those imposed by PRODIST (Module 8) [
41]. As illustrated in
Table 1, the limits of the frequency variation range in normal operation are different. In addition to the operational limits required for detection and tripping times for islanding, these values are also different comparing the IEEE standard and the IEC standards, as illustrated in
Table 2 [
42].
The normative set for some technologies, such as inverters for DG, is well developed in Brazil, but there are still no specific norms for microgrids in the ABNT (Brazilian Association of Technical Standards). Recently, within the scope of COBEI (Brazilian Committee for Electricity, Electronics, Lighting and Telecommunications), the Study Commission 003 (CB-003) was established, having as reference the guidelines and requirements established in the normative family IEC 62898, with the objective of implementing (through the translation/adaptation of the related IEC standard) specific standards for microgrids connected to the national interconnected system and installed in Brazil.
In 2022, the National Institute of Metrology, Standardization, and Industrial Quality (INMETRO) regulated the use of hybrid inverters in the country, through Ordinance No. 004/2011 (updated in 2022) [
43], including regulations for on-grid inverters with batteries (hybrid) and lithium batteries. Before the publication of the document, there was no regulation by INMETRO for the use of hybrid inverters connected to the grid.
Law 14300, known as the legal framework for DG, was recently published (enacted on 6 January 2022) [
44]. Among the new rules introduced by the legislation, the legal concept of the dispatchable source generating center was created, defined as a source that can be dispatched through a local or remote controller equipped with energy storage systems. Photovoltaic power plants of up to 3 MW of installed power, which have generation modulation capacity through battery energy storage, in an amount of at least 20% of the daily generation capacity of PV generation units, can be classified as a dispatchable source. The creation of a category for photovoltaic generation with batteries tends to consolidate the use of these resources in microgrids.
3. MERGE Project Microgrids—Nanogrid, Congrid and Campusgrid—General Definitions and Proposed Regulatory Classifications
Within the scope of the MERGE (Microgrids for Efficient, Reliable and Greener Energy) project, in addition to the development of test laboratory infrastructure (at LabREI—Interdisciplinary Research in Smart Grid Laboratory), three microgrids are in development: nanogrid (a small microgrid limited to a single Consumption Unity—CU), congrid (a condominium microgrid), and Campusgrid (a microgrid with a medium voltage connection and larger load feeding at a university campus), as illustrated in
Figure 2.
Each one of these microgrids types has peculiarities associated with topology, installed power, and application.
Figure 3a illustrates the conceptual model of a nanogrid proposed in the MERGE project, which is characterized by the presence of a DC bus and, in the reference topology, contains the following elements: (1) distributed microgeneration (DG); (2) energy storage system (ESS); (3) vehicle charging station; and (4) converters and integration subsystems. The nanogrid is ideally formed so that the sum of the installed loads/generation does not exceed the limit for connecting installations in the low voltage distribution system (LVDS).
The MERGE congrid microgrid aims to implement a pilot for a set of residential loads, taking the concept to the local utility consumers. In principle, the objective is to design and implement the microgrid in a place characterized as a residential condominium, which would integrate the generation, storage, and management technologies, being able to operate in a connected mode with the distribution network or islanding (forced or intentional). The congrid concept is similar to a community microgrid [
45]. However, the main microgrid’s equipment (such as the energy storage system) are owned and operated by the energy distribution company/utility.
Currently, the Campusgrid microgrid is under implementation at Cidade Universitária Zeferino Vaz, at Unicamp/Campinas (São Paulo/Brazil) [
38]. The maximum possible resilience has been stated as one of the main requirements. Thus, in the face of disturbances that affect the operation of the distribution network, total or partial attendance of the load is expected. Campusgrid can operate connected to the concessionaire’s main grid or in an islanded way, with the possibility of exporting the surplus in the first case. When in islanded mode, in addition to the sources that will provide the microgrid, the energy storage systems and other dispatchable sources will be used to mitigate interruptions and maintain the safe and proper operation of Campusgrid.
Although academically the concept of microgrids is solid and widely accepted, one of the challenges is to overcome the adequate framing of customer units (CUs) equipped with microgrids and the consolidation/convergence of normative definitions for different microgrid categories in Brazil. Since Brazilian standards impose requirements on connection and operating conditions depending on the installed capacity and voltage level, the following topics present a proposal for structuring/categorizing microgrids, with the appropriate definitions, classified by the regulatory load and voltage limits that are imposed by ANEEL’s Normative Resolution n° 1000 (of 7 December 2021) [
46].
Figure 3.
Schematic single line diagram. (
a) Nanogrid and its DERs, with AC coupling; (
b) generic scheme of a Campusgrid microgrid. Adapted from CPFL Utility Technical Requirements GED 13 [
47].
Figure 3.
Schematic single line diagram. (
a) Nanogrid and its DERs, with AC coupling; (
b) generic scheme of a Campusgrid microgrid. Adapted from CPFL Utility Technical Requirements GED 13 [
47].
Article 23 of the ANELL REN n° 1000 addresses the framework of the Supply Voltage of consumer units according to their installed capacity and the contracted demand: I—low voltage in the aerial network, when the installed capacity in the consumer unit is equal to or less than 75 kW; II—primary distribution (medium) voltage lower than 69 kV, when the installed capacity (in the consumer unit) is higher than 75 kW and the demand to be contracted by the interested party, for the supply, is equal to or lower than 2500 kW; and III—primary distribution voltage equal to or greater than 69 kV when the demand to be contracted by is greater than 2500 kW. Using the established regulations and taking into account the technical aspects consolidated in the literature and the normative framework, three general categories of microgrids can be established: (1) nanogrids, (2) condominium microgrids, and (3) campus microgrids. The following sections describe them further.
3.1. Nanogrid—Normative Definition
Nanogrids are the smallest microgrids, limited to a single consumer unit of a distribution system, capable of connecting or disconnecting with other units through a gateway. In this system, local loads are powered by local energy production and may even choose to use a control system or energy storage [
40].
Considering the application context, the Brazilian normative and regulatory framework, a nanogrid type of microgrid can be defined referentially as a “single consumer unit, with an installed load of up to 75 kW, forming a microgrid equipped with distributed energy resources operating in a coordinated manner/controlled, with low voltage connection, with the possibility of operation connected to the distribution network or in an islanded mode, even if only momentarily, provided that it is properly dimensioned for that and it is in compliance with the Operating Agreement and the current technical standards”.
The single-line diagram defining the pattern of the nanogrids connected to the LVDS can be seen in
Figure 3a, considering AC and DC coupling and the presence of DG (renewable), conventional generator (non-renewable source), ESS, charging station for electrical vehicles, and conventional loads. The diesel generator has an interlock that is a requirement to avoid parallel operation with the distribution network (only allowed for medium and high voltage connections) or solar distributed generation.
3.2. Campusgrid and Congrid
Campusgrid or congrid microgrids can be defined as a “group of interconnected consumers (loads) operating in a coordinated manner as a single consumer unit, with an installed capacity greater than 75 kW and the contracted demand at the point of connection, equal to or less than 2500 kW, forming an autonomous micro electrical system, equipped with distributed energy resources, whose delivery point occurs at medium voltage, with the possibility of operation connected to the distribution network of the concessionaire or in an islanded way, for certain periods of time and even if only momentarily, as long as it is adequately dimensioned and in compliance with the Operating Agreement and current technical standards”.
It can be equipped with the following sub-systems: (1) essential uninterruptible loads: loads that must be supplied continuously, without short- or long-term interruptions; (2) conventional non-essential loads: loads that may have their supply interrupted in situations of disconnection of the microgrid from the distributor’s supply system; (3) energy storage system (ESS): secondary energy/power source for the loads; (4) own generation: generator(s) set(s) capable of operating in parallel with the microgrid loads; and (5) energy management system (EMS—Energy Management System): control system, at high or low level, responsible for managing and controlling the operation of the microgrid subsystems.
Campusgrid and congrid microgrids are distinguished by their implantation profile and final application. Congrid is a microgrid formed by CUs that form a residential condominium, and each costumer unit can be individualized in a nanogrid. Based on such information, the generic scheme presented in
Figure 2b illustrates a medium voltage microgrid connection topology. It is important to note, however, that a Campusgrid does not necessarily need to contain all these elements. There is also no need for the medium voltage distribution to be radial.
Figure 4 presents an illustrative diagram of a congrid-type microgrid topology with residential/commercial customer units connected to the secondary distribution network (LV). Each customer unit has measurements for individual billing, and may have their own generation and energy storage system.
Figure 5 illustrates the single-line diagram of the point of connection of a condominium microgrid under development within the scope of the MERGE project—the ANEEL R&D Project under development with financing from CPFL Energy and the participation of Unicamp, UFMA, and IATI, covering from the medium voltage distribution network, distribution transformer, general low voltage meter, transfer switch, with access to the energy storage system (ESS), and CUs. In this structure, the measurement for billing is individual and takes place together with the CUs at the low voltage delivery point. The CUs can be equipped with their own generation (microgeneration), and the ESS is centrally allocated close to the microgrid connection point (location with measurement for supervision). Storage subsystems are assets owned by the distributor (they are part of the concession’s assets). One of the objectives for the implementation of the ESS and the batteries in the condominium was to reduce the peak demand observed in the distributor’s power branch. However, the system is undergoing a retrofit to allow islanded operation, in order to operate with all the functionalities of a microgrid.
Figure 6 shows the layout of the network internal to the microgrid and the general topological structure of the congrid with a point of common coupling (point of connection) and access to the MV distribution system (circuit braker at the medium voltage network).
In summary,
Table 3 describes the main characteristics and a proposed framework for the classification of nanogrids, congrids and Campusgrids, considering the regulatory structure and the technical limits of voltage and contracted power demand at the point of connection, observing and in compliance with REN ANEEL nº 1.000, of 7 December 2021 [
46].
The connection and operation of microgrids can impose a series of operational challenges, since the presence of DERs (usually intermittent renewable generation) associated with manageable loads and storage systems, coordinated by a control/management system acting as a unique entity, is still a new condition in distribution systems. In this sense, although the development of technologies is advanced and the technological solutions are consolidated, some normative and regulatory aspects can be considered critical, and must be properly addressed to ensure the sustainable high penetration/diffusion of microgrids. Among these aspects, the microgrid operating modes and the possibility of exporting the energy surplus, the definition of actors and asset management modes, the greater complexity and the need for adequation of the protection systems, and the operation of the storage and provision of ancillary services are some of the concerns associated with the connection standard and the safety of maintenance actions, as well as the existing gap in the standardization of hybrid inverters and the correlated regulatory aspects. The following topic presents a brief description of these aspects.
4. Critical Aspects for Standardization
The main difference between the use of microgrids and the simple integration of distributed generation units to the distribution networks is the possibility of operation in both interconnected and islanded modes [
48].
The operation of a microgrid can then be divided into three modes: grid connected, islanded (or autonomous operation), and synchronization/reconnection (transient modes). The main operating modes for microgrids, according to ref. [
42], are illustrated in
Figure 7.
4.1. Operation Modes—Grid Connected Operation (Parallel Operation)
The grid connected operation mode (also known as parallel operation) occurs when the microgrid locally produces alternating current power while electrically connected to the local utility’s distribution grid. In this condition, the microgrid must have voltage and frequency values compatible with those of the distribution network [
49]. It must also meet the minimum power quality requirements, as well as not interfere with the protection and reliability functions of the distribution utility. Parallel operation can be divided in two cases: the first, all the energy produced is consumed by the customer’s load (so called non-export), and the second case are those in which part of the local produced energy is exported to the utility’s distribution system (so called export). The export is defined in relation to the point of common coupling (PCC). In most cases, it is demarcated by the energy meter; however, it may be associated with a service transformer, a disconnector switch, or some other equipment, as defined by the distribution utility.
4.2. Operation Modes—Islanded Mode Operation and Synchronization
One of the most important features of a microgrid relies on its ability to operate in both grid-connected and islanded mode, automatically shifting modes. When the microgrid operates in grid-connected mode, the main grid sets the operating conditions for voltage levels and frequency; conversely, in islanded mode, voltage and frequency are determined by the internal control system using their DERs, and therefore an appropriate control scheme is necessary to ensure stable and resilient operation [
49].
In modern MG applications, with the potential of autonomous operation, a fast and reliable detection algorithm is required to effectively distinguish between an islanding condition and other types of disturbances. A comprehensive analysis of microgrid autonomous operation during and after the islanding process, the control strategies and algorithms required for maintaining system stability and power quality during islanding, and the challenges associated with islanded microgrid operation is presented in ref. [
30].
The IEEE Std 1547.4-2011 standards provides approaches and practices for design, operation, and integration of distributed resource island systems with electric power systems (EPS). This includes the ability to separate from and reconnect to part of the area EPS, while providing power to the islanded local EPSs [
50].
According to the IEC 62898 standard, the microgrid can go into islanding mode when: (i) the power quality and stability requirements are not fully met by the main grid (to protect internal equipment and maintain its integrity), and (ii) when requested by the distribution system operator. This operator can benefit from the inclusion of microgrids (MGs) in the main grid, as it can consider them as “flexible loads” (or even “flexible generation”, depending on the direction of energy flow exchange), leading to a strategy called demand side management. This means that these loads can be disconnected whenever necessary (e.g., in the event of a contingency) and reconnected under normal grid conditions without serious economic and social impacts. In addition, the day-ahead profile for energy demand or MG generation dispatch can be configured according to pre-defined agreements between the distribution system operator and the MG operator [
51].
The transition to island operation can occur as a result of a permanent main grid failure or due to an intentional disconnection. In the case that the transition is unsuccessful (for example, due to a failure during the transition), the loads are switched off; in this case, the black-start strategy for the MGs must be deployed.
The last mode of operation is the synchronization mode. This is considered a transient mode since it is basically related to the transition from the grid connected to island operation and vice versa. During this procedure, it is imperative to pay particular attention to the transition of the grid references (voltage and frequency). The voltage reference and frequency must be taken by the local DER through speed sensors and action so that there is no discontinuity of local supply. The process to synchronize the MG to the main grid returning from a fault condition is usually simpler when planned, unlike most cases from an abrupt disconnection due to faults. In both cases, it demands specific equipment and control strategies.
When reconnecting the microgrid back with the utility system, monitoring should indicate that the proper conditions exist. Some common practices are included in ref. [
52]: after a utility disturbance, reconnection should not happen until the utility voltage is within acceptable limits and phasing is correct. The integrity of the system grounding and neutral system should also be verified prior to reconnection. If an unscheduled event triggered the disconnection from the utility, the time before reconnection may be extended to ensure the utility is stable. Active synchronization is usually required to match the voltage, frequency, and phase angle of the islanded system to the utility if a minimum disturbance on reconnection is desired [
52]. Another reconnection method employs a synchronization check device, which only reconnects the systems within certain phase differences. The microgrid should parallel with the utility without causing excessive power disturbances. In this sense, the restoration of the service is carried out by first turning off the generation and distribution units (DG), and then turning them back on in a controlled manner.
In
Figure 7, the main operational modes for MGs are detailed. According to PRODIST criteria [
41], the distribution system and the generation facilities connected to the EPS, under normal operating conditions and in steady state, operate within the frequency limits situated between 59.9 Hz and 60.1 Hz. Thus, the microgrid operates in the normal state for this frequency band. When disturbances occur in the distribution system, generation facilities must ensure that the frequency returns, within 30 s after the transgression, to the range of 59.5 Hz to 60.5 Hz, to allow recovery load-generation balance. If there is a need to cut generation or load to allow recovery of the load-generation balance, during disturbances, the frequency cannot exceed 66 Hz or be less than 56.5 Hz in extreme conditions. Therefore, if the grid frequency is higher than 66 Hz or lower than 56.5 Hz, the microgrid must switch to island mode.
According to the IEC TS 62898-2 standard, the requirements for operating a microgrid in islanded mode, except for protections, do not differ from the requirements for when it is operating connected to the distribution grid. Therefore, the limits for voltage, frequency, harmonic distortions, among others, must be equivalent and are specified by the utility standards. The microgrid must have the resources to keep these levels within limits during islanded operation as well. For microgrids connected to the distribution system, even during islanded operation, it is recommended that the microgrid must meet all operating requirements determined by PRODIST.
4.3. Energy Storage Systems in MG
Due to the variability and intermittency of DG and DERs, it can be difficult to maintain the usual frequency requirements while accommodating load fluctuations, particularly in islanded modes of operation. In this sense, energy storage systems (ESS) play a fundamental role, especially if there is the possibility of continuous parallelism and automatic disconnection from the main grid. Due to the ability to operate as a load or generator (charging or discharging), the use of ESS can mitigate the impact of renewable DG and load variations, ensuring stronger stability and reliability for the microgrid [
5].
Some of the requirements for the ESS (when the microgrid is in islanded mode), are as follows: (a) if there is more than one energy storage system, for the one with higher capacity converters, it is recommended to adopt the control in V/f mode (acting as a network former—grid forming function), to establish and maintain the voltage and frequency of the system in isochronous mode, provided that there is no other fast-acting/controllable DER (such as microturbines or diesel generators) used for this purpose; (b) when the output power of the local microgrid’s generation resources are insufficient to meet the demand, the ESS must start the power compensation acting as generation. When the output power of the non-controllable generation resources of the microgrid exceeds the demand of the load, the excess power must be absorbed by the storage system (acting as a load). If the ESS acts as a generation and it is still not possible to meet the power demand safely, the EMS must act on load shedding schemes (load shedding implemented via SPSs (special protection systems) in the electrical bulk system). On the other hand, in the case that the storage is fully charged and there is still some energy surplus, the EMS and DERs will reduce its produced power.
Regarding the critical aspects/points of attention, it should be noted that the Brazilian technical standards for storage systems via batteries (BESS—battery energy storage system) or for hybrid inverters are under development. Within the scope of ABNT, a technical commission (TC) was also created to implement standards for storage systems (TC 120). Under the Economic Freedom Act, if the country does not have up-to-date standards on a given subject, international standards must be adopted.
Another critical aspect for the implementation of battery storage systems in MGs are the ownership costs. There are several business models, such as utility-owned, customer-owned assets, or even a third-party ownership (in this option, the storage system is owned, operated, and maintained by a third-party, which provides specific storage services according to a contractual arrangement, similar to power purchase agreements (PPA) signed with independent power producers) [
53]. In nanogrids and campus microgrids, the ESS is usually owned by the customer. In condominium microgrids, the battery can be owned by the customer unit (when installed behind-the-meter as a distributed ESS—DESS) or by the utility (when it can be also employed as ancillary and grid management services).
4.4. Proposed Standard for Microgrids PCC (Point of Connection)
The microgrid connection point is deployed to perform automatic islanding (separation or decoupling), synchronization (reconnection), and dispatch controls.
Figure 8 illustrates the PoC implemented through a multifunctional relay [
54]. The PCC relay can cause automatic islanding by opening a circuit breaker (or recloser). The relay opens the PCC when it detects short circuits, open circuits, or feedback conditions. The relay is configured to distinguish between internal and external disturbances in the system. Opening the PCC provides indications for the microgrid protection and control systems. The PCC trip indication is also used to change relay protection settings across the microgrid to adapt to reduced fault current levels, and can also signal DER control systems to change their operating modes. The interconnection relay must be equipped with protection functions (such as the ANSI 25) to perform the synchronization, automatically dispatching the DERs to reduce the frequency, angle and voltage amplitude differences at the PCC [
55]. Once acceptable conditions are identified, the PCC connection switch can be closed again.
Recently (on 7 February 2023), the ANEEL Normative Resolution No. 1059 [
56] (REN 1059) was published, aiming to improve the rules for connection (and billing) of DG (microgeneration and minigeneration) connected to the power distribution grid. Although REN 1059 is not a specific resolution for microgrids, the distributed generation of microgrids connected to the distribution grid must comply with the established requisites. Among other aspects, REN 1059 establishes the minimum requirements for the grid interface and the protection functions for DG, as presented in
Table 4.
The protection and controls implemented in the PCC are essential to meet the requirements of the Operating and Connection Agreements. These contracts can define peak power usage, demand charges, generation limitations, frequency and voltage conditions, automatic load reductions initiated by the EPS, protection requirements, and more.
Since most utilities still do not have a standard for microgrid connection,
Figure 9 presents a proposed structure (constructive pattern for the concept presented previously in
Figure 8), considering a microgrid with a point of connection at medium voltage (up to 34.5 kV). The main idea is the use of signaling to demonstrate the state of operation of the power grid and the microgrid. In the Brazilian case, the standard uses the color pattern of the NR-10 standard (National Rule number 10—item 10.3.9—signaling colors: Red “L” (on-energized) Green “D” (off or de-energized). Additionally, since some microgrids may be equipped with a central control, the info can be displayed through local or remote signaling (via a microgrid monitoring system).
The proposed model also requires an informative plate, indicating the existence of a microgrid type customer unit through a warning message: ‘microgrid—electrical hazard’, as illustrated in
Figure 9. The warning signs, made of stainless steel or anodized aluminum, must be permanently affixed to the lid of the measurement box of the input standard or primary cabin of the consumer unit and at the delivery point of the installation (therefore, there are at least two plates, one at the delivery point and the other internally to the microgrid). One of the objectives of this signaling is to warn the maintenance team of the possibility of voltage in the microgrid, even in a situation of interruption in the supply of the utility distribution network.
4.5. Procedure for Technical Feasibility Assessment of MGs Connection
Due to MGs characteristics, each project is unique, with different DERs sizes and with specific potential impacts on the distribution network. Thus, to maintain safe operation, before effectively connecting a new microgrid to utility grid, a technical feasibility analysis of the connection must be carried out.
It is recommended that the technical assessment for the connection of new microgrids follow the procedures established for generation enterprises, with a four-step process: Phase 1—Connection Consultation; Phase 2—Access Information; Phase 3—Connection Request; and Phase 4—Technical Feasibility Analysis Report, as illustrated in
Figure 10.
The Connection Consultation stage refers to the obtaining of technical information by the owner of the microgrid that subsidizes him in studies relevant to access. The utility’s formal response to this request is called Access Information.
The Connection Request must be made to the grid operator by the microgrid interested in accessing the distribution system, in order to obtain the corresponding Technical Feasibility Analysis Report (TR). The TR opinion consolidates the assessment of the technical feasibility of the requested connection, and contemplates the requirements to the interested MG. The main idea is to maintain the supply to other users within the requirements defined in the PRODIST and applicable Technical Standards, even considering the new microgrid extreme operation points after connection.
In the procedure for formalizing the access request and subsequent preparation of the access opinion, the MG must: (i) formalize the request for access to the accessed grid, providing information about the enterprise; (ii) carry out the integration studies under its responsibility recommended by the accessed utility; and (iii) follow its responsibilities in relation to the specific studies of accessing the distribution system.
Finally, it is also worth noting that although the equipment and converters meet the requirements of technical standards, the connection of distributed resources, when not properly planned, can cause disturbances, such as phase imbalance, reverse flow, under/overvoltage’s, among others. In this way, when DERs are merged into a microgrid, it is recommended to reevaluate all the operation criteria. To mitigate the occurrences of unintentional disturbances, the imposition of pre-operational studies and the formation of operational agreements can be applied.
4.6. Actors, Management Modes, and Responsibilities
As in conventional electrical power systems, there are structured, well-defined, and segmented functions in sectorial institutions. Similarly, the management and operation functions of microgrids must be properly attributed to the responsible actors. The operation of microgrids with distributed generation units requires a power management strategy (PMS) and an energy management system (EMS) [
33]. Adequate EMS modeling can emulate a resilient day-ahead energy market, while minimizing the average operational costs and maximizing the use of local renewable energy sources [
57]. Ref. [
58] presents a review of energy management strategies in MGs, considering the trilemma of flexibility, affordability, and security.
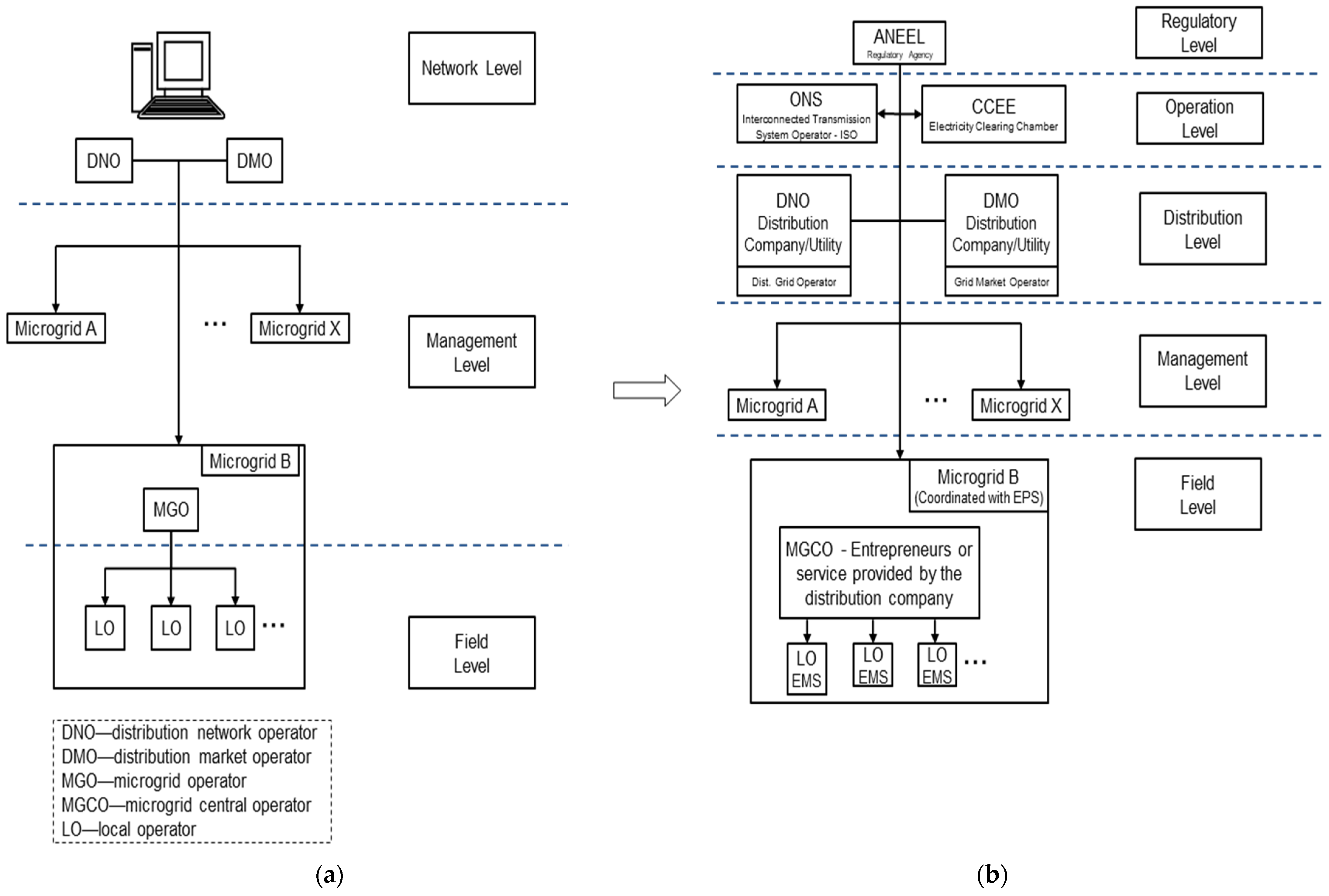
For the implementation of operation strategies, a hierarchical level is adopted to establish an operating pattern, as shown in
Figure 11a, in which the following actors are defined: (1) DNO—distribution network operator; (2) DMO—distribution market operator; and (3) MGCO—microgrid central operator (or MCC—microgrid central controller), and (4) LO—local operator, associated with each microgrid generation/load center. Due to the still incipient insertion of microgrids in Brazil, models with centralized local control have been implemented (with the local controller/operator performing both PMS and EMS functions).
Considering scenarios with massive dissemination and implementation of microgrids, the proper allocation of operational responsibilities will be essential for the electrically safe operation of the electrical system.
Figure 11b illustrates a proposal/model with attribution of actors for the decentralized management of microgrids, adapted to the institutional standards of the Brazilian sectorial model, considering the possibility of microgrids forming energy supply contracts via the FCE (free contracting environment). The regulatory and operation layers are composed of bodies that can influence/act upon technical and economic normative regulations (mainly, but not limited to): (1) ANEEL—aiming to establish the technical-economic regulation with a greater focus on the administrative-legal-contractual layers; (2) ONS (Brazilian Independent System Operator)/distributor—observing the interfaces with the network operator; and (3) CCEE (Brazilian Electricity Clearing Chamber)/distributor—observing the interfaces with the market operators. The controls implemented at each hierarchical level must be interfaced by a communication system with interoperability. The DNO and the DMO are incorporated into the management structure of the electrical system or the distribution system, with the MGCO (located in the microgrid’s operation center or implemented in the EMS itself for smaller microgrids) being the interface between the entities and the microgrid. Given the specificities of each microgrid application and the still incipient insertion in the electricity sector, the definition of responsibility among agents has not yet been addressed through specific regulations. Therefore, the topic does not have consolidated rules, thus allowing operating agreements to be signed, establishing the guidelines, requirements, rules, and general conditions of connection and operational procedures in each case.
4.7. Protections in Microgrids—Rules to Be Incorporated into Technical Regulations
Since fault current in a microgrid is constantly changing due to the presence of different sources (such as distributed generation DG or BESS) at all levels of the distribution network, and due to the fact that they can operate in islanding and normal modes, designing a proper protection scheme is a serious challenge. Conventional protection methods may be inappropriate; Therefore, special protections schemes have been developed for MGs protection. An overview of microgrid protection methods is presented in ref. [
24].
The electrical protection developed for application in microgrids must contemplate a series of requirements when it comes to short-circuit analysis. The microgrid can operate connected to the distribution grid or islanded, and, in both cases, the protection system must be able to sense and act properly so that it does not impact the distribution grid and the microgrid itself. Thus, some points must be considered when defining which protective scheme will be used in the microgrid: (1) in the event of a fault in the distribution grid, the microgrid must be able to operate in an islanded condition in order to preserve the loads within its electrical operation; (2) the microgrid must have the ability to identify and act on faults that occur within its operating network, whether connected to the distribution network or in islanded operation mode; (3) in the case of a microgrid with a high share of distributed generation, it is necessary that the short circuit levels are calculated according to the variation of the share of generation so that the trips of the protection relays are dynamically set to meet the protection requirements; (4) the protection devices must have fast and reliable communication and act according to the operating state of the microgrid; and (5) to ensure short-circuit levels within the operating range of the protective equipment, it is recommended that the microgrid design has a robust energy storage system or system with inverter and/or machine with inertial mechanics to raise current levels during a fault (in order to adequately sensibilize the protection system).
Regarding the normative aspects of protection applicable to the connection point of the consumer unit with micro and mini generation distributed with an electronic photovoltaic inverter, the equipment must fully meet the requirements of ABNT NBR 16149:2013, NBR 16150: 2013, and NBR IEC 62116:2012 [
59]. Microgrid controllers must comply with the provisions of IEC 2030.7. For the connection point, the protections must incorporate, depending on the installed power, the under and over voltage protections (27/59), under and over frequency (81 U/O), voltage unbalance (47), directional overcurrent (67), overcurrent with voltage restriction (50 V/51 V), synchronism (25), anti-islanding, overcurrent (50/51), neutral overcurrent (50 N/51 N/51 G), neutral overvoltage (59 N), power directional (32), phase angle measurement (78), and rate of change of frequency (81 df/dt).
Table 5 presents the minimum required protection functions for DG (micro or mini generation), according to REN 1059 [
56], for generation sources up to 5 MW. The generation present in microgrids, although it can remain connected to the microgrid bus during islanding, for safety reasons, must also be equipped with protection functions to detect the occurrence of main grid islanding (distribution grid outages).
5. Conclusions
This paper aimed to present an overview of the international and Brazilian national technical standards related to the connection and operation of microgrids, from small systems limited to a consumer unit—categorized as nanogrids—to medium-sized systems with connection at medium/high voltage—Campusgrids and congrids. Given the specificities associated with the integration of MGs into the Brazilian electrical system framework, within the scope of the MERGE project, proposals are being made for standards segmented into (1) connection and (2) operation, applicable to nanogrids, congrids, and Campusgrids.
In terms of operating requirements of microgrids, noting that the standards goals are to guarantee the safety of the operation and meet the voltage and frequency limits, among others, for the connection point of the microgrids to the distribution system, the limits imposed by the PRODIST from ANEEL for connecting consumer units must be met. Additionally, each of the DERs (PV solar plant, battery, EV charging stations) must also meet the technical requirements associated with each equipment technology standard. In the specific context of microgrids in Brazil, a technical standard of the ABNT NBR IEC type specifically addressing the operation requirements is under development. Thus, at this stage of maturation of the theme, the groups of international standards IEEE 1547, IEEE 2030, and IEC 68892 are used as reference documents for the operation of microgrids.
Given the initial stage of development of the standards and the regulatory framework associated with microgrids connected to EPS (distribution systems) in Brazil, this paper aimed to consolidate the discussions of characteristics and critical points, in order to contextualize the proposed rules, describing the main points that should be considered for stable and safe operation in all operating modes of small- and medium-sized microgrids. Among the critical points are the modes of operation, the minimum requirements for the different modes of operation, operational studies, interoperability of systems, and operation of storage systems in a microgrid environment. The studies, surveys, and proposals presented, together with the families of standards IEEE 1547, IEEE 2030, IEC 62898, and UL1741, can be the basis for proposing the initial operating procedures for microgrids.
Author Contributions
Conceptualization, J.F.C.C., R.Q., R.A.R. and A.R.D.; methodology, J.F.C.C.; validation, R.A.R. and A.R.D.; formal analysis, J.F.C.C.; investigation, J.F.C.C., P.R. and V.E.M.S.A.; resources, J.F.C.C., R.Q. and P.R.; writing—original draft preparation, J.F.C.C., P.R. and V.E.M.S.A.; writing—review and editing, J.F.C.C., P.R., R.Q., J.I.Y.O., F.A.A. and V.E.M.S.A.; visualization, R.G.B., J.G.M., F.A.A., F.C.R.C., R.Q., J.I.Y.O., L.C.P.S. and R.K.C.; supervision, R.G.B., P.R. and L.C.P.S.; project administration, R.G.B., P.R. and L.C.P.S.; funding acquisition, L.C.P.S. and R.G.B. All authors have read and agreed to the published version of the manuscript.
Funding
This research was funded by the Program of R&D of the National Electricity Regulatory Agency (ANEEL) and CPFL Energy. This work is related to the Project “PD-00063-3058/2019—Merge: Microgrids for Efficient, Reliable and Greener Energy”.
Data Availability Statement
Not applicable.
Acknowledgments
The authors thank the Electricity Sector R&D program, regulated by ANEEL, through the project PD-00063-3058/2019, entitled “PA3058—Merge: Microgrids for Efficient, Reliable and Greener Energy”. The main contributions and results presented in this work originate from the experience of implementing a ‘Living Lab Microgrid’ in the region of Campinas, São Paulo, Brazil. The project is part of a research and development (R&D) initiative, which involves teams from the State University of Campinas (UNICAMP), the Federal University of Maranhão (UFMA), Eletra Energy Solutions, and the Advanced Institute of Technology and Innovation (IATI), financed by the CPFL Energy Group distributors, with R&D resources from the ANEEL Regulatory Agency. The authors would like to thank the CPFL group for technical and financial support, through the Research and Development project PD-00063-3058/2019, with resources from ANEEL’s R&D program. Furthermore, the authors would like to thank the anonymous reviewers and the editor for their valuable comments and suggestions.
Conflicts of Interest
The authors declare no conflict of interest.
References
- Lasseter, B. Microgrids (distributed power generation)—Role of Distributed Generation in Reinforcing the Critical Electric Power. In Proceedings of the 2001 IEEE Power Engineering Society Winter Meeting, Columbus, OH, USA, 28 January–1 February 2001. [Google Scholar]
- Shahgholian, G. A brief review on microgrids: Operation, applications, modeling, and control. Int. Trans. Electr. Energy Syst. 2021, 31, e12885. [Google Scholar] [CrossRef]
- Alcântara, M.V.P. Smart microgrids: A new business model for electricity distribution (in portuguese). In The Power Sector; Chapter VIII; IEA: Paris, France, 2011; pp. 36–45. [Google Scholar]
- Manz, D.; Piwko, R.; Miller, N. Look Before You Leap: The Role of Energy Storage in the Grid. IEEE Power Energy Mag. 2012, 10, 75–84. [Google Scholar] [CrossRef]
- Gao, D.W. Energy Storage for Sustainable Microgrids; Elsevier: Denver, CO, USA, 2015. [Google Scholar]
- González, L.P.; Fensel, A.; Berbís, J.M.G.; Popa, A.; Seco, A.d.A. A Survey on Energy Efficiency in Smart Homes and Smart Grids. Energies 2021, 14, 7273. [Google Scholar] [CrossRef]
- Lopes, J.P.; Hatziargyriou, N.; Mutale, J.; Djapic, P.; Jenkins, N. Integrating distributed generation into electric power systems: A review of drivers, challenges and opportunities. Electr. Power Syst. Res. 2007, 77, 1189–1203. [Google Scholar] [CrossRef]
- IEEE 1547-2018; 1547-2018—IEEE Standard for Interconnection and Interoperability of Distributed Energy Resources with Associated Electric Power Systems Interfaces. IEEE Standards Association: Piscataway, NJ, USA, 6 April 2018.
- IEEE Std. 2030.7/8/9; IEEE Std. 2030.7/8/9—IEEE Guide for Smart Grid Interoperability of Energy Technology and Information Technology Operation with the Electric Power System, End-Use Applications, and Loads. IEEE Standards Association: Piscataway, NJ, USA, 2018.
- IEC TS 62898-2:2018; IEC TS 62898-2:2018—Microgrids—Part 2: Guidelines for operation. IEC—International Electrotechnical Commission: London, UK, 2018.
- FGV Energy. Distributed Energy Resources; FGV Energy: Maio, Cabo Verde, 2016. [Google Scholar]
- Energy Research Company—EPE. Tecnical Report EPE-DEA-NT-016/2018-r0: Distributed Energy Resources (in Portuguese); Ministry of Mines and Energy—MME: Rio de Janeiro, Brazil, 2018. [Google Scholar]
- Castro, J.F.C.; Marques, D.C.; Tavares, L.; Dantas, N.K.L.; Fernandes, A.L.; Tuo, J.; Medeiros, L.H.A.d.; Rosas, P. Energy and Demand Forecasting Based on Logistic Growth Method for Electric Vehicle Fast Charging Station Planning with PV Solar System. Energies 2022, 17, 6106. [Google Scholar] [CrossRef]
- World Energy Council. World Energy Trilemma; World Energy Council: London, UK, 2017. [Google Scholar]
- Missouri S&T Microgrid Industrial Consortium. Missouri Microgrid Interconnection Requirements: Prepared for the Missouri Department of Economic; Missouri S&T Microgrid Industrial Consortium: Rolla, MO, USA, 2016. [Google Scholar]
- UL 1741; UL 1741—Inverters, Converters, Controllers and Interconnection System Equipment for Use With Distributed Energy Resources, Third Edition. Underwriters Laboratories Inc.: Northbrook, IL, USA, 2022.
- AS 4777.2-2015; Requirements for Micro-Generating Plants to be Connected in Parallel with Public Low-Voltage Distribution Networks, AS 4777.2-2015. CENELEC: Brussel, Belgium, 2015.
- Agencia de Regulacion y Control de Eletricidad (ARCONEL). Microgeneración Fotovoltaica para Autoabastecimiento de Consumidores Finales de Energía Eléctrica; ARCONEL: Quito, Ecuador, 2018. [Google Scholar]
- GB/T 51341-2018; Microgrid engineering design standards—GB/T 51341-2018. China National Standards: Beijing, China, 2018.
- Italian Eletrothecnical Commission. Reference Technical Rules for the Connection of Active and Passive Users to the LV Electrical Utilities; Italian Eletrothecnical Commission: Milano, Italy, 2019. [Google Scholar]
- Rebollal, D.; Carpintero-Rentería, M.; Santos-Martín, D. Microgrid and Distributed Energy Resources Standards and Guidelines Review: Grid Connection and Operation Technical Requirements. Energies 2021, 14, 523. [Google Scholar] [CrossRef]
- Bui, D.M.; Lien, K.-Y.; Chen, S.-L.; Cheng, X.-Y.; Lin, M.-S. Standards Commonly Used for Microgrids—A Research Project to Develop an Industry Microgrid Standard in Taiwan. Electr. Power Compon. Syst. 2016, 44, 2143–2160. [Google Scholar] [CrossRef]
- Dhakal, P.; Poudel, A. Microgrid Interconnection Standards: A Review. IEEE Access 2020, 8, 156184–156199. [Google Scholar]
- Hosseini, S.A.; Abyaneh, H.A.; Sadeghi, S.H.H.; Razavi, F.; Nasiri, A. An overview of microgrid protection methods and the factors involved. Renew. Sustain. Energy Rev. 2016, 64, 174–186. [Google Scholar] [CrossRef]
- Landera, Y.G.; Zevallos, O.C.; Neto, R.; Castro, J.; Neves, F. A Review of Grid Connection Requirements for Photovoltaic Power Plants. Energies 2023, 16, 2093. [Google Scholar] [CrossRef]
- Olivares, D.E.; Mehrizi-Sani, A.; Etemadi, A.H.; Cañizares, C.A.; Iravani, R.; Kazerani, M.; Hajimiragha, A.H.; Gomis-Bellmunt, O.; Saeedifard, M.; Palma-Behnke, R.; et al. Trends in Microgrid Control. IEEE Trans. Smart Grid 2014, 5, 1905–1919. [Google Scholar] [CrossRef]
- Martin-Martínez, F.; Sánchez-Miralles, M.R.A. A literature review of Microgrids: A functional layer based classification. Renew. Sustain. Energy Rev. 2016, 62, 1133–1153. [Google Scholar] [CrossRef]
- Hirsch, A.; Parag, Y.; Guerrero, J. Microgrids: A review of technologies, key drivers, and outstanding issues. Renew. Sustain. Energy Rev. 2018, 90, 402–411. [Google Scholar] [CrossRef]
- Ton, D.; Smith, M. The US department of energy’s microgrid initiative. Electr. J. 2012, 25, 84–94. [Google Scholar] [CrossRef]
- Katiraei, F.; Iravani, M.; Lehn, P. Micro-grid autonomous operation during and subsequent to islanding process. IEEE Trans. Power Deliv. 2005, 20, 248–257. [Google Scholar] [CrossRef]
- Branco, C.C.; Moraes, F.; Oliveira, H.; Neto, P.; Saavedra, O.; de Matos, J.; Oliveira, C.; Ribeiro, L.; Oliveira, A.; Júnior, M.; et al. Mission Critical Microgrids: The Case of the Alcântara Space Center. Energies 2022, 15, 3226. [Google Scholar] [CrossRef]
- Anderson, W. Smart Power Infrastructure Demonstration for Energy Reliability and Security (SPIDERS)—Technology Transition Final Public Report; Joint Capability Technology Demonstration (JCTD)—Naval Facilities Engineering Command: Pearl Harbor, HI, USA, 2015. [Google Scholar]
- Katiraei, F.; Iravani, R.; Hatziargyriou, N.; Dimeas, A. Microgrid Management—Control and Operation Aspects of Microgrids. IEEE Power Energy Mag. 2008, 6, 54–65. [Google Scholar] [CrossRef]
- Ton, D.; Guttromson, R.; Glover, S.; Stamp, J.; Bhatnagar, D.; Bower, J.R.W. The Advanced Microgrid: Integration and Interoperability; Sandia National Laboratories: Albuquerque, NM, USA/ Livermore, CA, USA, 2014. [Google Scholar]
- Cosme, D.L.S.; Saavedra, O.R.; Ribeiro, L.A.d.S.; Matos, J.G.d.; Oliveira, H.A.; Lima, S.L.d.; Pinheiro, L.d.P.A. Performance Analysis and Impact of the Improvements added in Ten-Years of Operation of Microgrid of Lençóis Island. In Proceedings of the IECON 2019—45th Annual Conference of the IEEE Industrial Electronics Society, Lisbon, Portugal, 14–17 October 2019. [Google Scholar]
- Muqeet, H.; Munir, H.; Javed, H.; Shahzad, M.; Jamil, M.; Guerrero, J. An Energy Management System of Campus Microgrids: State-of-the-Art and Future Challenges. Energies 2021, 14, 6525. [Google Scholar] [CrossRef]
- Bellido, M.H.; Rosa, L.P.; Pereira, A.O.; Falcão, D.M.; Ribeiro, S.K. Barriers, challenges and opportunities for microgrid implementation: The case of Federal University of Rio de Janeiro. J. Clean. Prod. 2018, 188, 203–216. [Google Scholar] [CrossRef]
- Quadros, R.; Jucá, J.; Cypriano, J.G.; Silva, R.; Silva, L.; Bento, R. Implementation of Microgrid on the University Campus of UNICAMP-Brazil: Case Study. J. Electron. Adv. Electr. Eng. 2021, 1, 21–25. [Google Scholar] [CrossRef]
- Mengelkamp, E.; Gärttner, J.; Rock, K.; Kessler, S.; Orsini, L.; Weinhardt, C. Designing microgrid energy markets: A case study: The Brooklyn Microgrid. Appl. Energy 2018, 210, 870–880. [Google Scholar] [CrossRef]
- Burmester, D.; Rayudu, R.; Seah, W.; Akinyele, D. A review of nanogrid topologies and technologies. Renew. Sustain. Energy Rev. 2017, 67, 760–775. [Google Scholar] [CrossRef]
- ANEEL—Brazilian Regulatory Agency for Electricity. Electricity Distribution Procedures in the National Electric System—PRODIST—Modulo 8—Quality of Power (in portuguese); MME—Ministry of Mines and Energy: Ministério de Minas e Energia, Brazil, 2022. [Google Scholar]
- Palizban, O.; Kauhaniemi, K.; Guerrero, J.M. Microgrids in Active Network Management-Part II: System Operation, Power Quality and Protection. Renew. Sustai-Nable Energy Rev. 2014, 36, 440–451. [Google Scholar] [CrossRef]
- National Institute of Metrology, Standardization and Industrial Quality—INMETRO. Portaria no. 004, de 04 de Janeiro de 2011; INMETRO: Duque de Caxias, Brazil, 2022. [Google Scholar]
- Presidency of the Republic of Brazil. Law No. 14,300, of 6 January 2022—Establishes the Legal Framework for Microgeneration and Distributed Minigeneration, the Electric Energy Compensation System and the Social Renewable Energy Program; National Congress/Presidency of the Republic: Brasília, Brazil, 2022. [Google Scholar]
- Trivedi, R.; Patra, S.; Sidqi, Y.; Bowler, B.; Zimmermann, F.; Deconinck, G.; Papaemmanouil, A.; Khadem, S. Community-Based Microgrids: Literature Review and Pathways to Decarbonise the Local Electricity Network. Energies 2022, 15, 918. [Google Scholar] [CrossRef]
- ANEEL—Brazilian Regulatory Agency for Electricity. Normative Resolution No. 1,000—7 December 2021—Establishes the Rules for the Provision of the Public Electric Energy Distribution Service (in Poruguese); MME—Ministry of Mines and Energy: Ministério de Minas e Energia, Brasilia, Brazil, 2021. [Google Scholar]
- CPFL Energy. Utility Technical Requirements GED13—Supply in Secondary Distribution Voltage (in Portuguese); CPFL Energy: Campinas, Brazil, 2020. [Google Scholar]
- Lasseter, R.; Akhil, A.; Marnay, C.; Stephens, J.; Dagle, J.; Guttromson, R.; Meliopoulous, A.S.; Yinger, R.; Eto, J.; Integration of Distributed Energy Resources. The CERTS Microgrid Concept. Lawrence Berkeley National Laboratory, 2002. Available online: https://escholarship.org/uc/item/9w88z7z1 (accessed on 12 March 2023).
- IEC TS 62898-2; IEC TS 62898-2: Guidelines for Operation. IEC—International Electrotechnical Comission: London, UK, 2018.
- IEEE Std 1547. 4-2011; IEEE Std 1547.4-2011—Guide for Design, Operation, and Integration of Distributed Resource Island Systems with Electric Power Systems. IEEE Standards Association: Piscataway, NJ, USA, 2011. [Google Scholar]
- Zacharia, L.; Kyriakou, A.; Hadjidemetriou, L.; Kyriakides, E.; Panayiotou, C.; Azzopardi, B.; Borg, N.M.e.N. Islanding and Resynchronization Procedure of a University Campus Microgrid. In Proceedings of the International Conference on Smart Energy Systems and Technologies (SEST), Sevilla, Spain, 10–12 September 2018. [Google Scholar]
- Kroposki, B.; Basso, T.; DeBlasio, R. Microgrid Standards and Technologies. In Proceedings of the 2008 IEEE Power and Energy Society General Meeting—Conversion and Delivery of Electrical Energy in the 21st Century, Pittsburgh, PA, USA, 20–24 July 2008. [Google Scholar]
- Kim, D.K.; Yoneoka, S.; Banatwala, A.Z.; Kim, Y.; Nam, K.-Y.; Torregosa, C.L. Handbook on Battery Energy Storage System; Asian Development Bank—Sustainable Development and Climate Change Department: Mandaluyong, Philippines, 2018. [Google Scholar]
- Manson, S. Industry Perspectives (Schweitzer Engineering Laboratories): Connecting a Microgrid to the Grid; Microgrid Knowledge: Westborough, MA, USA, 2017. [Google Scholar]
- Edwards, W.; Manson, S. Using Protective Relays for Microgrid Controls; no. TP6824; Schweitzer Engineering Laboratories, Inc.: Pullman, WA, USA, 2018; Volume 20180209, pp. 1–7. [Google Scholar]
- ANEEL—Brazilian Regulatory Agency for Electricity. Normative Resolution No. 1,059—7 February 2023—Improves the Rules for the Connection and Billing of Microgeneration and Distributed Minigeneration Plants in Electricity Distribution Systems; MME—Ministry of Mines and Energy, Ministério de Minas e Energia: Brasilia, Brazil, 2023. (In Portuguese) [Google Scholar]
- Silva, J.A.A.; López, J.C.; Arias, N.B.; Rider, M.J.; Silva, L.C.d. An optimal stochastic energy management system for resilient microgrids. Appl. Energy 2021, 300, 117435. [Google Scholar] [CrossRef]
- Pamulapati, T.; Cavus, M.; Odigwe, I.; Allahham, A.; Walker, S.; Giaouris, D. A Review of Microgrid Energy Management Strategies from the Energy Trilemma Perspective. Energies 2023, 16, 289. [Google Scholar] [CrossRef]
- CPFL Energy. Utility Technical Requirements GED 15303—Connection of Distributed Micro and Mini Generation under Electric Energy Compensation System; CPFL Energy: Campinas, Brazil, 2019. (In Portuguese) [Google Scholar]
| Disclaimer/Publisher’s Note: The statements, opinions and data contained in all publications are solely those of the individual author(s) and contributor(s) and not of MDPI and/or the editor(s). MDPI and/or the editor(s) disclaim responsibility for any injury to people or property resulting from any ideas, methods, instructions or products referred to in the content. |
© 2023 by the authors. Licensee MDPI, Basel, Switzerland. This article is an open access article distributed under the terms and conditions of the Creative Commons Attribution (CC BY) license (https://creativecommons.org/licenses/by/4.0/).