A Novel ZVS/ZCS Push-Pull LC Resonant DC-DC Converter for Energy Sources
Abstract
1. Introduction
- ZVS of the primary-side switch and ZCS of the output diode can reduce switching losses and improve efficiency.
- Compared with the half-bridge architecture, all primary-side switches are driven by low-side gate drivers, no floating gate driver is required, which simplifies the drive circuit design and reduces costs.
- The duty cycle of the switching frequency is adjusted to be close to 0.5 to maximize device utilization.
- A resonant capacitor connected in series with the secondary-side winding can isolate the DC current to avoid transformer magnetic saturation.
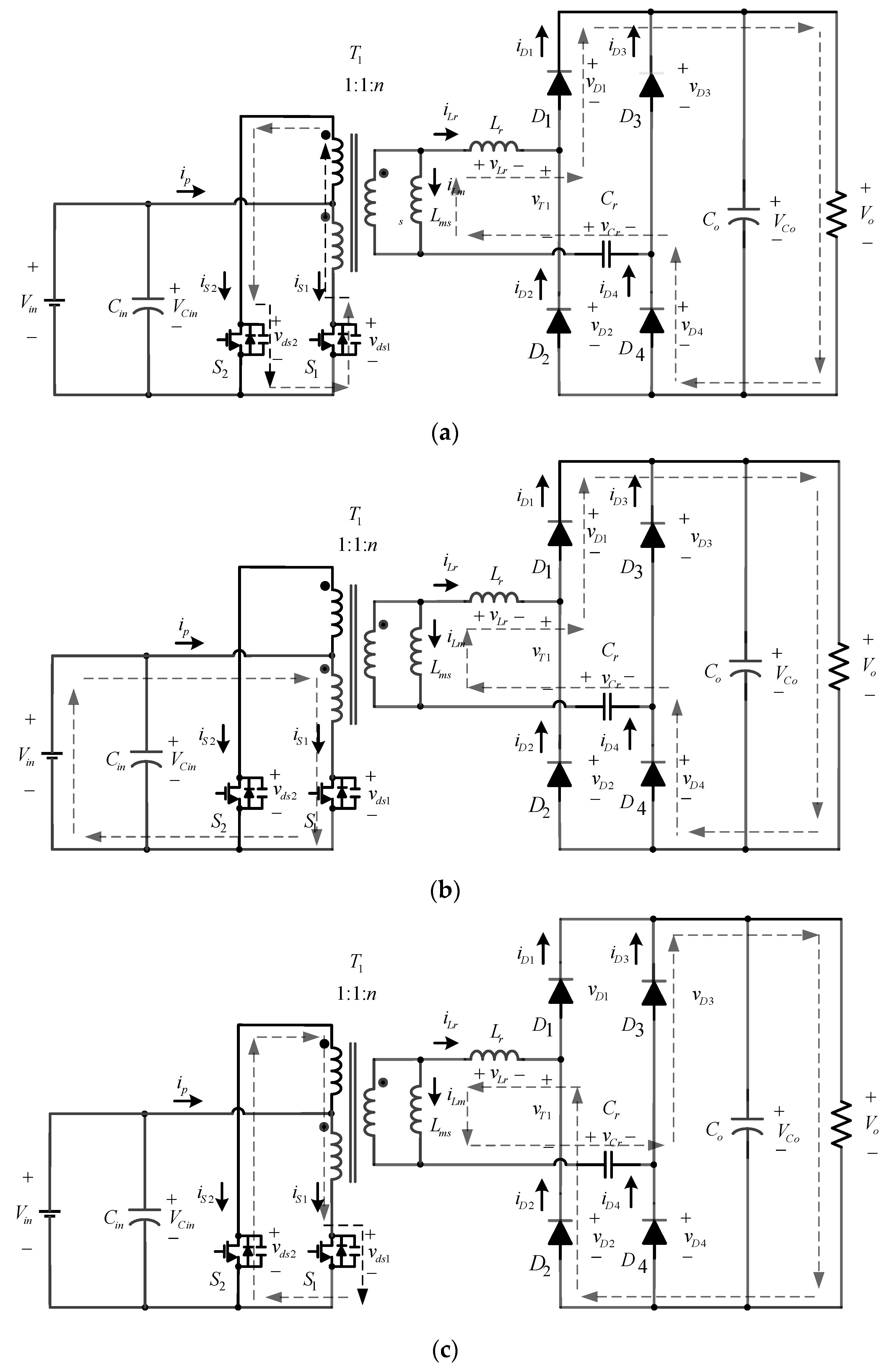
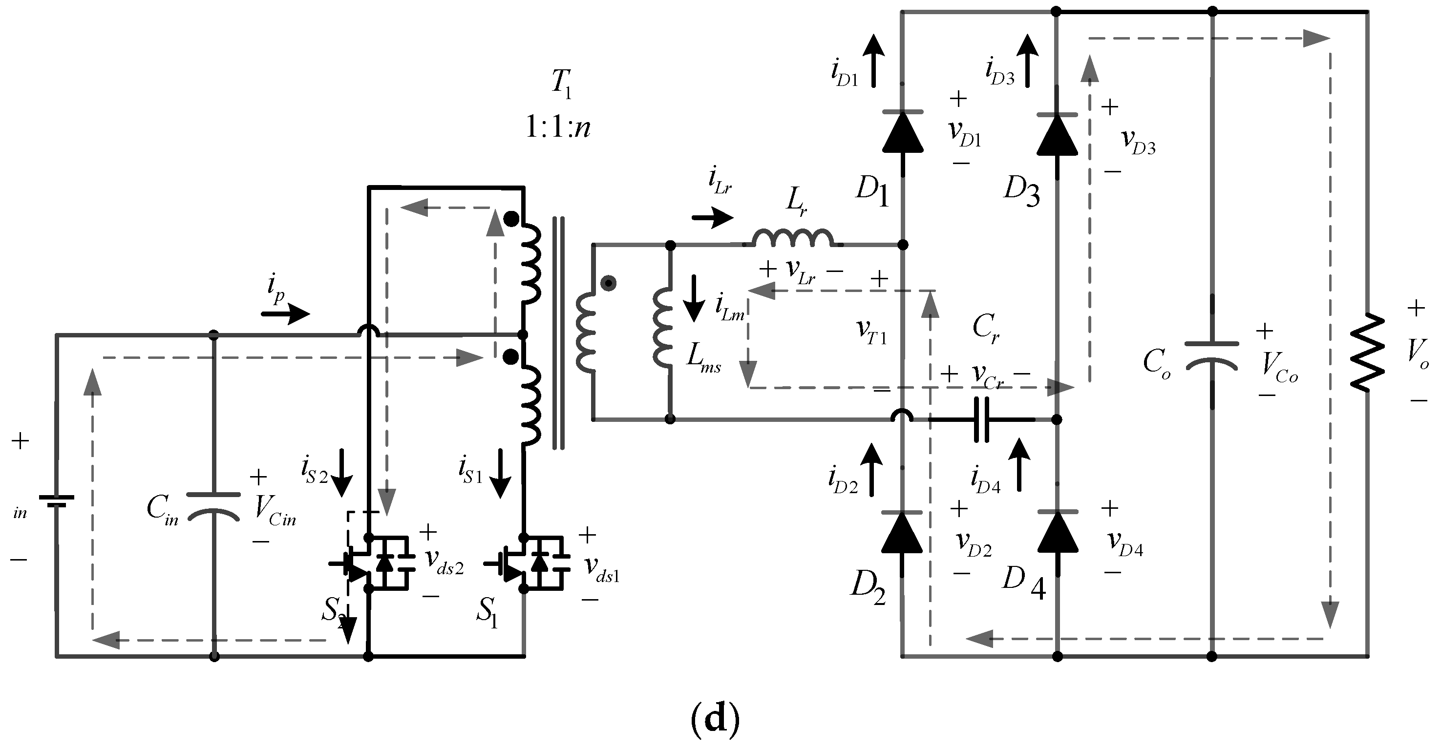
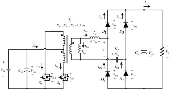
2. Proposed LC-Resonant Push–Pull Converter Topology
2.1. Topology Description
- (1)
- Cin and Co are used as the voltage-stabilizing capacitors for the input and output of the converter. The capacitance is large enough to keep the voltage stable at a fixed voltage, and the corresponding voltage signs are defined as VCin and VCo.
- (2)
- Vin is the input voltage and Vo is the output voltage.
- (3)
- Iin is the input current and Io is the output current.
- (4)
- ip, iS1 and iS2 are the input current on the primary side, the current in the switch S1, and the current of the switch S2, respectively.
- (5)
- iLr and iLm are the output current and magnetizing current of the secondary-side transformer, respectively; iD1, iD2, iD3 and iD4 are the current flowing through the output rectifier diodes D1, D2, D3 and D4, respectively.
- (6)
- vLr and vT1 are the voltage on the resonant inductance and the output voltage on the secondary side of the transformer, respectively; vCr is the voltage on the resonant capacitor; vD1, vD2, vD3 and vD4 are the voltages across the output rectifier diodes D1, D2, D3 and D4, respectively.
- (7)
- n is named turns ratio and defined as the number of the secondary-side turns Ns divided by the number of the primary-side turns Np (=Np1 = Np2).
2.2. Series-Load Resonant Converter Analysis
3. Circuit Analysis
- Switches S1 and S2 are ideal, but the body diodes of the switches are DS1 and DS2, respectively.
- The turns ratio of the high frequency transformer is 1:1:n and is modeled as an ideal transformer with magnetizing inductance Lms, leakage inductance Llks, Llkp1 and Llkp2.
- Because the output capacitor Co is large enough, the output voltage of Vo is constant.
4. Design Considerations
- (1)
- To determine the turns ratio n
- (2)
- To calculate the maximum voltage stress Vs_max of the drain source of the MOSFET switch
- (3)
- To calculate the voltage stress across the output diode
- (4)
- To design the secondary-side magnetizing inductance Lms
- (5)
- To calculate values of resonant elements
5. Simulation and Experimental Results
5.1. Simulation Rsults
5.2. Experimental Results
6. Conclusions
Author Contributions
Funding
Data Availability Statement
Conflicts of Interest
References
- Mohtasham, J. Review Article-Renewable Energies. Energy Procedia 2015, 74, 1289–1297. [Google Scholar] [CrossRef]
- Lawder, M.T.; Suthar, B.; Northrop, P.W.C.; De, S.; Hoff, C.M.; Leitermann, O.; Crow, M.L.; Santhanagopalan, S.; Subramanian, V.R. Battery Energy Storage System (BESS) and Battery Management System (BMS) for Grid-Scale Applications. Proc. IEEE 2014, 102, 1014–1030. [Google Scholar] [CrossRef]
- Lowder, T.; Xu, K. The Evolving U.S. Distribution System: Technologies, Architectures, and Regulations for Realizing a Transactive Energy Marketplace; Technical Report; National Renewable Energy Laboratory: Golden, CO, USA, 2020. [Google Scholar]
- Mumtaz, F.; Yahaya, N.Z.; Meraj, S.T.; Singh, B.; Kannan, R.; Ibrahim, O. Review on non-isolated DC-DC converters and their control techniques for renewable energy applications. Ain Shams Eng. J. 2021, 12, 3747–3763. [Google Scholar] [CrossRef]
- Hossain, M.Z.; Selvaraj, J.A.L.; Rahim, N.A. High voltage-gain full-bridge cascaded dc-dc converter for photovoltaic application. Public Library of Science: San Francisco, CA, USA, 2018.
- Tomaszuk, A.; Krupa, A. High efficiency high step-up DC/DC converters-a review. Bull. Pol. Acad. Sci. Tech. 2011, 59, 475–483. [Google Scholar] [CrossRef]
- Padhee, S.; Pati, U.C.; Mahapatra, K. Overview of high-step-up DC–DC converters for renewable energy sources. IETE Tech. Rev. 2018, 35, 99–115. [Google Scholar] [CrossRef]
- Sreelekha, S.; Vivek, P.V.; Anupama, P.K. A high step up DC-DC converter using isolated coupled inductor. Int. Res. J. Eng. Technol. 2020, 7, 6989–6993. [Google Scholar]
- Swaminathan, N.; Lakshminarasamma, N.; Cao, Y. DCM and CCM operation of buck-boost full-bridge DC-DC converter. In Proceedings of the IEEE Applied Power Electronics Conference and Exposition, Phoenix, AZ, USA, 14–17 June 2021; pp. 292–297. [Google Scholar]
- Wei, Y.; Luo, Q.; Mantooth, A. A hybrid half-bridge LLC resonant converter and phase shifted full-bridge converter for high step-up application. In Proceedings of the IEEE Workshop on Wide Bandgap Power Devices and Applications in Asia, Suita, Japan, 23–25 September 2020; pp. 1–6. [Google Scholar]
- Anand, M.; Rahul, P.P.; Eldhose, K.P.; Alex, L.T. Design of interleaved push pull converter for photovoltaic systems. IOSR J. Eng. 2018, 1, 73–80. [Google Scholar]
- Ying, J.; Zhu, Q.; Lin, H.; Wu, Z. A zero-voltage-switching (ZVS) push-pull DC/DC converter for UPS. In Proceedings of the The Fifth International Conference on Power Electronics and Drive Systems, Singapore, 17–20 November 2003; pp. 1495–1499. [Google Scholar]
- Veeresh, H.; Ashok, K. ZCS/ZVS push pull DC/DC converter. Int. J. Latest Technol. Eng. 2015, 4, 73–79. [Google Scholar]
- Jafari, A.; Matioli, E. High step-up high-frequency zero-voltage switched GaN-based single-stage isolated DC-DC converter for PV integration and future DC grids. In Proceedings of the PCIM Europe, Nuremberg, Germany, 5–7 June 2018; pp. 325–330. [Google Scholar]
- Sha, D.; Luo, T. A novel push-pull forward converter with a passive resonant network introduced in the secondary winding. In Proceedings of the IEEE Applied Power Elctronics Conference and Exposition, Fort Worth, TX, USA, 16–20 March 2014; pp. 2081–2086. [Google Scholar]
- Wu, T.F.; Hung, J.C.; Tsai, J.T.; Tsai, C.T.; Chen, Y.M. An active-clamp push-pull converter for battery sourcing applications. IEEE Trans. Ind. Appl. 2008, 44, 196–204. [Google Scholar] [CrossRef]
- Wu, Q.; Wang, Q.; Xu, J.; Xu, Z. Active-clamped ZVS current-fed push–pull isolated dc/dc converter for renewable energy conversion applications. IET Power Electron. 2018, 11, 373–381. [Google Scholar] [CrossRef]
- Tandon, S.; Rathore, A.K. Analysis and design of series LC partial-resonance-pulse-based ZCS current-fed push-pull converter. IEEE Trans. Ind. Appl. 2021, 57, 4234–4241. [Google Scholar] [CrossRef]
- Yuan, Y.; Chang, L.; Song, P. A new LCL-resonant push-pull DC-DC converter for inverter applications. In Proceedings of the Large Engineering Systems Conference on Power Engineering, Montreal, QC, Canada, 10–12 October 2007; pp. 261–264. [Google Scholar]
- Sam, A.R. Resonant LLC Converter: Operation and Design; Infineon Technologies, Application Note, AN 2012-09, V1.0; Infineon Technologies North America (IFNA) Corp: Durham, NC, USA, 2012. [Google Scholar]
- Boonyaroonate, I.; Mori, S. A new ZVCS resonant push-pull DC/DC converter topology. In Proceedings of the Seventeenth Annual IEEE Applied Power Electronics Conference and Exposition, Dallas, TX, USA, 10–14 March 2002; pp. 1097–1100. [Google Scholar]
- Bilsalam, A.; Jinati, T.; Wongphasuk, W.; Ekkaravarodome, C.; Chunkag, V. High step-up push-pull resonant converter based on current source class-D rectifier. In Proceedings of the International Conference on Electrical Engineering/Electronics, Computer, Telecommunications and Information Technology, Prachuap Khiri Khan, Thailand, 24–27 May 2019; pp. 533–536. [Google Scholar]
- Bilsalam, A.; Ekkaravarodome, C.; Chunkag, V.; Thounthong, P. Analyzing the effect of parasitic capacitance in a full-bridge Class-D current source rectifier on a high step-up push-pull multiresonant converter. Sustainability 2021, 13, 5477. [Google Scholar] [CrossRef]
- Chen, W.; Lu, Z.; Zhang, X.; Ye, S. A novel ZVS step-up push-pull type isolated LLC series resonant dc-dc converter for UPS systems and its topology variations. In Proceedings of the Twenty-Third Annual IEEE Applied Power Electronics Conference and Exposition, Austin, TX, USA, 24-28 February 2008; pp. 1073–1078. [Google Scholar]
- Rahman, A.N.; Chiu, H.J.; Hsieh, Y.C. Design of wide input voltage range high step-up DC-DC converter based on secondary-side resonant tank full bridge LLC. In Proceedings of the 3rd International Conference on Intelligent Green Building and Smart Grid (IGBSG), Yilan, Taiwan, 22–25 April 2018; pp. 1–6. [Google Scholar]
- Liu, F.; Wan, J.; Jiang, L.; Li, Y.; Liu, K.-Z. A new soft-switching AC-DC converter based on coupled inductors for onboard charging applications. IEEE Trans. Power Electron. 2023, 38, 3433–3443. [Google Scholar] [CrossRef]
- Wang, S.; Zhou, C.; Riaz, S.; Guo, X.; Zaman, H.; Mohammad, A.; Al-Ahmadi, A.A.; Alharbi, Y.M.; Ullah, N. Adaptive fuzzy-based stability control and series impedance correction for the grid-tied inverter. Math. Biosci. Eng. 2023, 20, 1599–1616. [Google Scholar] [CrossRef] [PubMed]
- Li, J.; Riaz, S.; Zaman, H.; Hao, P.; Luo, Y.; Mohammad, A.; Al-Ahmadi, A.A.; Ullah, N. Duplex PD inertial damping control paradigm for active power decoupling of grid-tied virtual synchronous generator. Math. Biosci. Eng. 2022, 19, 12031–12057. [Google Scholar]
- Ye, M.Y.; Song, P.G.; Li, S.; Xiao, Y.H. Voltage-fed push-Pull PWM converter featuring wide ZVS range and Low circulating loss with simple auxiliary circuit. J. Power Electron. 2018, 18, 965–974. [Google Scholar]
- Wu, Q.; Wang, Q.; Xu, J.; Li, H.; Xiao, L. A high-efficiency step-up current-fed push-pull quasi-resonant converter with fewer components for fuel cell application. IEEE Trans. Ind. Electron. 2017, 64, 6639–6648. [Google Scholar] [CrossRef]
- Jia, P.; Yuan, Y. Analysis and design of an isolated high stepup converter based on the secondary side quasi-resonant loops. IET Power Electron. 2020, 13, 1129–1143. [Google Scholar] [CrossRef]



















| Parameter | Symbol | Specification |
|---|---|---|
| Input voltage | Vin | 43~52 V |
| Output voltage | Vo | 370~410 V |
| Output power | Po | 100~500 W |
| Switching frequency | fs | 135 kHz |
| Duty cycle | D | 0.42~0.46 |
| Transformer turns ratio | Np1:Np2:Ns | 4:4:40 |
| Magnetizing inductance | Lms | 720 µH |
| Leakage inductance | Llk (Lr) | 100 µH |
| Resonant capacitance | Cr | 14.1 nF |
| Transformer core | T1 | PC40 (LP2930) |
| Primary-side switches | S1, S2 | IPP200N15N3G |
| Secondary-side diodes | D1, D2, D3, D4 | BYV29X-600 |
| Input voltage Vin (V) | 43 | 44 | 46 | 48 | 50 | 52 |
| Input curent Iin (A) | 1.16 | 2 | 10.5 | 10.5 | 10.5 | 10.5 |
| Output voltage Vo (V) | 380 | 380 | 381 | 398 | 415 | 421 |
| Output power Wo (W) | 45 | 84 | 468 | 489 | 510 | 527 |
| Efficiency η | 90.2% | 95.5% | 96.9% | 97.0% | 97.1% | 96.5% |
| Parameter | [18] | [24] | [29] | [30] | [31] | Proposed |
|---|---|---|---|---|---|---|
| Input voltage | 42–48 V | 36–60 V | 45–56 V | 30–50 V | 34–40 | 43–52 V |
| Output voltage | 380 V | 240 V | 200 V | 350 V | 380 V | 370–410 V |
| Output power | 500 W | 600 W | 500 W | 510 W | 400 W | 520 W |
| Max. efficiency | 96.5% | 96.2% | 93.02% | 96.12% | 96.1% | 97.1% |
| Control technique | Variable frequency | Variable frequency | Variable duty cycle | Variable duty cycle | Variable frequency | Variable duty cycle |
| No. of main switches | 2 | 2 | 3 | 3 | 2 | 2 |
| No. of diodes | 2 | 4 | 6 | 2 | 6 | 4 |
| No. of inductors/ transformers/ capacitors | 1/1/3 | 2/1/1 | 1/1/2 | 1/1/3 | 1/1/4 | 0/1/1 |
Disclaimer/Publisher’s Note: The statements, opinions and data contained in all publications are solely those of the individual author(s) and contributor(s) and not of MDPI and/or the editor(s). MDPI and/or the editor(s) disclaim responsibility for any injury to people or property resulting from any ideas, methods, instructions or products referred to in the content. |
© 2023 by the authors. Licensee MDPI, Basel, Switzerland. This article is an open access article distributed under the terms and conditions of the Creative Commons Attribution (CC BY) license (https://creativecommons.org/licenses/by/4.0/).
Share and Cite
Tai, Y.-K.; Hwu, K.-I. A Novel ZVS/ZCS Push-Pull LC Resonant DC-DC Converter for Energy Sources. Energies 2023, 16, 2892. https://doi.org/10.3390/en16062892
Tai Y-K, Hwu K-I. A Novel ZVS/ZCS Push-Pull LC Resonant DC-DC Converter for Energy Sources. Energies. 2023; 16(6):2892. https://doi.org/10.3390/en16062892
Chicago/Turabian StyleTai, You-Kun, and Kuo-Ing Hwu. 2023. "A Novel ZVS/ZCS Push-Pull LC Resonant DC-DC Converter for Energy Sources" Energies 16, no. 6: 2892. https://doi.org/10.3390/en16062892
APA StyleTai, Y.-K., & Hwu, K.-I. (2023). A Novel ZVS/ZCS Push-Pull LC Resonant DC-DC Converter for Energy Sources. Energies, 16(6), 2892. https://doi.org/10.3390/en16062892

