Vertical Axis Wind Turbine Layout Optimization
Abstract
1. Introduction
- We compare the wind farm layout optimization of the commonly used HAWTs and the experimental VAWTs.
- We show that the energy density of VAWTs can be much higher than HAWTs, leading to more efficient use of sea areas.
- We present and solve the first layout optimization formulation that considers the direction of rotation of VAWTs, thus fully exploiting the asymmetric wakes that they create.
2. Literature
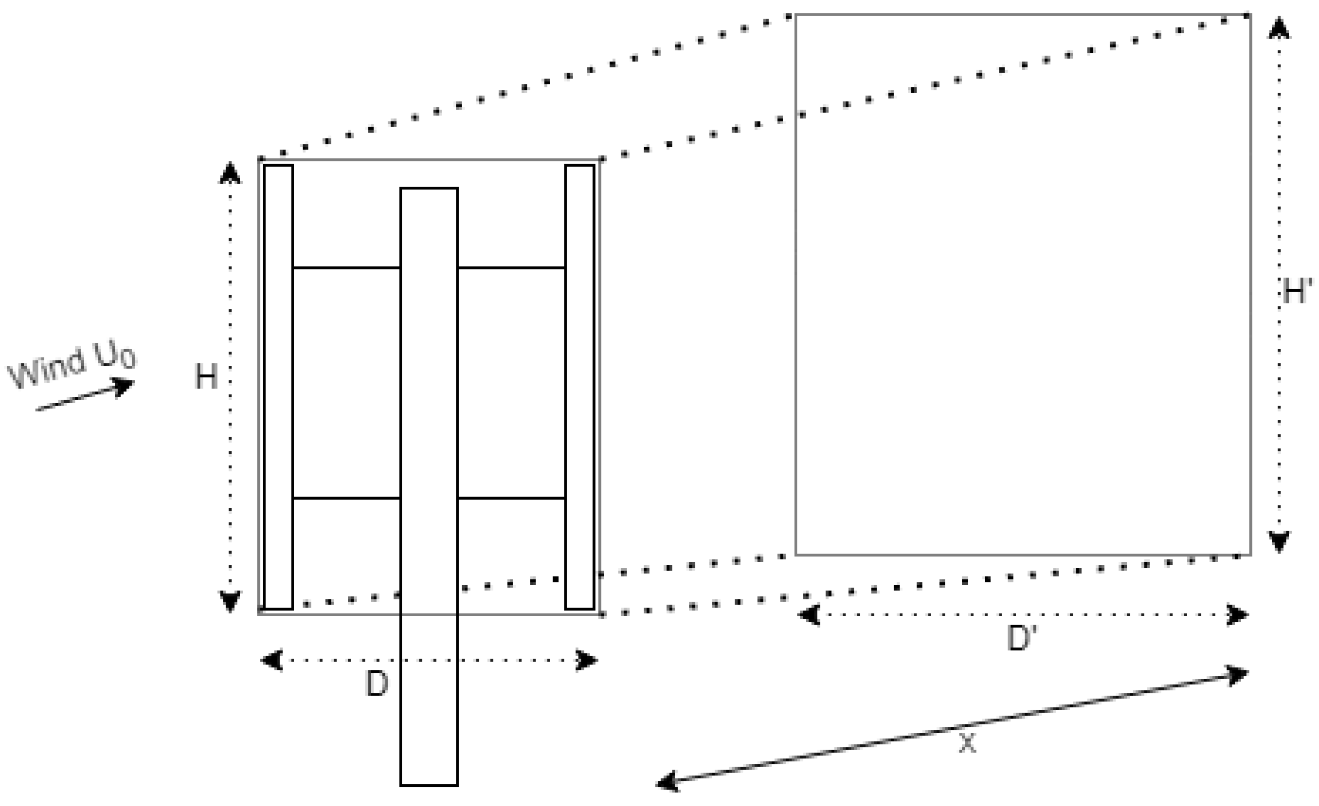
3. Wake Model
3.1. Top-Hat Wake Model
3.2. Gaussian Wake Model
3.3. Asymmetric Gaussian Wake Model
4. Turbines
5. Heuristic
6. Asymmetric Wakes Layout Optimization
7. Results
8. Conclusions
Author Contributions
Funding
Data Availability Statement
Conflicts of Interest
Abbreviations
| VAWTs | Vertical Axis Wind Turbines |
| HAWTs | Horizontal Axis Wind Turbines |
| NPV | Net Present Value |
| VNS | Variable Neighborhood Search |
References
- Castellani, F.; Astolfi, D.; Peppoloni, M.; Natili, F.; Buttà, D.; Hirschl, A. Experimental Vibration Analysis of a Small Scale Vertical Wind Energy System for Residential Use. Machines 2019, 7, 35. [Google Scholar] [CrossRef]
- Vertical Axis Wind Turbines Advantages & Disadvantages. 2017. Available online: https://blog.arcadia.com/vertical-axis-wind-turbines-advantages-disadvantages/ (accessed on 4 August 2022).
- Riegler, H. HAWT versus VAWT. Refocus 2003, 4, 44–46. [Google Scholar] [CrossRef]
- Hansen, J.T.; Mahak, M.; Tzanakis, I. Numerical modelling and optimization of vertical axis wind turbine pairs: A scale up approach. Renew. Energy 2021, 171, 1371–1381. [Google Scholar] [CrossRef]
- Dabiri, J.O. Potential order-of-magnitude enhancement of wind farm power density via counter-rotating vertical-axis wind turbine arrays. J. Renew. Sustain. Energy 2011, 3, 043104. [Google Scholar] [CrossRef]
- Chen, X.; Agarwal, R. Optimal placement of horizontal-and vertical-axis wind turbines in a wind farm for maximum power generation using a genetic algorithm. Int. J. Energy Environ. 2012, 3, 927–938. [Google Scholar]
- Lam, H.; Peng, H. Development of a wake model for Darrieus-type straight-bladed vertical axis wind turbines and its application to micro-siting problems. Renew. Energy 2017, 114, 830–842. [Google Scholar] [CrossRef]
- Zhang, B.; Song, B.; Mao, Z.; Tian, W. A novel wake energy reuse method to optimize the layout for Savonius-type vertical axis wind turbines. Energy 2017, 121, 341–355. [Google Scholar] [CrossRef]
- Bons, N. Optimization of Vertical Axis Wind Turbine Farm Layout; American Institute of Aeronautics and Astronautics: Reston, VA, USA, 2010. [Google Scholar]
- Sahebzadeh, S.; Rezaeiha, A.; Montazeri, H. Towards optimal layout design of vertical-axis wind-turbine farms: Double rotor arrangements. Energy Convers. Manag. 2020, 226, 113527. [Google Scholar] [CrossRef]
- Vergaerde, A.; De Troyer, T.; Muggiasca, S.; Bayati, I.; Belloli, M.; Kluczewska-Bordier, J.; Parneix, N.; Silvert, F.; Runacres, M.C. Experimental characterisation of the wake behind paired vertical-axis wind turbines. J. Wind. Eng. Ind. Aerodyn. 2020, 206, 104353. [Google Scholar] [CrossRef]
- Vergaerde, A.; De Troyer, T.; Standaert, L.; Kluczewska-Bordier, J.; Pitance, D.; Immas, A.; Silvert, F.; Runacres, M.C. Experimental validation of the power enhancement of a pair of vertical-axis wind turbines. Renew. Energy 2020, 146, 181–187. [Google Scholar] [CrossRef]
- Su, H.; Meng, H.; Qu, T.; Lei, L. Wind tunnel experiment on the influence of array configuration on the power performance of vertical axis wind turbines. Energy Convers. Manag. 2021, 241, 114299. [Google Scholar] [CrossRef]
- Bremseth, J.; Duraisamy, K. Computational analysis of vertical axis wind turbine arrays. Theor. Comput. Fluid Dyn. 2016, 30, 387–401. [Google Scholar] [CrossRef]
- Duraisamy, K.; Lakshminarayan, V. Flow physics and performance of vertical axis wind turbine arrays. In Proceedings of the 32nd AIAA Applied Aerodynamics Conference, Atlanta, GA, USA, 16–20 June 2014; p. 3139. [Google Scholar]
- Silva, J.E.; Danao, L.A.M. Varying VAWT cluster configuration and the effect on the individual rotor and overall cluster performance. Energies 2021, 14, 1567. [Google Scholar] [CrossRef]
- Abkar, M. Theoretical modeling of vertical-axis wind turbine wakes. Energies 2019, 12, 10. [Google Scholar] [CrossRef]
- Bedon, G.; Paulsen, U.S.; Madsen, H.A.; Belloni, F.; Castelli, M.R.; Benini, E. Aerodynamic Benchmarking of the DeepWind Design. Energy Procedia 2015, 75, 677–682. [Google Scholar] [CrossRef]
- Bortolotti, P.; Tarres, H.C.; Dykes, K.; Merz, K.; Sethuraman, L.; Verelst, D.; Zahle, F. IEA Wind Task 37 on Systems Engineering in Wind Energy—WP2.1 Reference Wind Turbines; Technical report; International Energy Agency: Paris, France, 2019.
- Cazzaro, D.; Pisinger, D. Variable neighborhood search for large offshore wind farm layout optimization. Comput. Oper. Res. 2022, 138, 105588. [Google Scholar] [CrossRef]
- Pisinger, D. Upper bounds and exact algorithms for p-dispersion problems. Comput. Oper. Res. 2006, 33, 1380–1398. [Google Scholar] [CrossRef]
- Mladenović, N.; Hansen, P. Variable neighborhood search. Comput. Oper. Res. 1997, 24, 1097–1100. [Google Scholar] [CrossRef]















Disclaimer/Publisher’s Note: The statements, opinions and data contained in all publications are solely those of the individual author(s) and contributor(s) and not of MDPI and/or the editor(s). MDPI and/or the editor(s) disclaim responsibility for any injury to people or property resulting from any ideas, methods, instructions or products referred to in the content. |
© 2023 by the authors. Licensee MDPI, Basel, Switzerland. This article is an open access article distributed under the terms and conditions of the Creative Commons Attribution (CC BY) license (https://creativecommons.org/licenses/by/4.0/).
Share and Cite
Cazzaro, D.; Bedon, G.; Pisinger, D. Vertical Axis Wind Turbine Layout Optimization. Energies 2023, 16, 2697. https://doi.org/10.3390/en16062697
Cazzaro D, Bedon G, Pisinger D. Vertical Axis Wind Turbine Layout Optimization. Energies. 2023; 16(6):2697. https://doi.org/10.3390/en16062697
Chicago/Turabian StyleCazzaro, Davide, Gabriele Bedon, and David Pisinger. 2023. "Vertical Axis Wind Turbine Layout Optimization" Energies 16, no. 6: 2697. https://doi.org/10.3390/en16062697
APA StyleCazzaro, D., Bedon, G., & Pisinger, D. (2023). Vertical Axis Wind Turbine Layout Optimization. Energies, 16(6), 2697. https://doi.org/10.3390/en16062697

