Impact of the Evaporation Temperature on the Air Drying Rate for a Finned Heat Exchanger
Abstract
1. Introduction
2. Theoretical Model
3. Experimental Test
4. Verification of Results
5. The Effect of Evaporation Temperature on Air-Drying Rate
6. Summary
- Theoretical SMER calculations are widely studied, but the overall efficiency in real devices is often neglected, which can change the final results by several per cent, as shown in this article for the analysed case;
- Theoretical analysis of the influence of the evaporation temperature on the rate of air drying showed that it is reasonable to strive to design systems based on positive temperatures close to 0 °C;
- Actual efficiency values for equipment and heat exchangers were introduced on the basis of experimental studies. The SMER value for 0 °C after taking into account the efficiency was 1.91 ± 0.06 . By increasing the boiling point to 10 °C, the index decreased to less than 25% to 0.44 ± 0.01 , increasing the electricity consumption and the duration of dehumidifying the same volume of air;
- The dependence of the SMER on the cycle parameters makes it possible to optimise cycle control and dryer design.
Author Contributions
Funding
Data Availability Statement
Acknowledgments
Conflicts of Interest
Nomenclature
| surface area, | |
| specific heat capacity at constant pressure, | |
| diameter, | |
| energy consumption, Wh | |
| exchanger width, | |
| gravitational acceleration, | |
| exchanger height, | |
| enthalpy, | |
| Heat transfer coefficient related to surface A, | |
| molar mass, | |
| mass, | |
| mass flow, | |
| number of rows | |
| number of transfer units | |
| number of pipes | |
| number of injections | |
| atmospheric pressure, | |
| saturation pressure, | |
| critical pressure, | |
| partial pressure of water vapour molecules in the air, | |
| heat transfer coefficient of the exchanger, | |
| cooling capacity, | |
| thermal resistance of pollutants, | |
| heat of vaporisation, | |
| spacing longitudinal | |
| spacing transversal | |
| temperature, | |
| heat capacity of medium flux, | |
| moisture content in the air, | |
| Greek Symbols: | |
| heat transfer coefficient, | |
| thickness, | |
| efficiency | |
| thermal conductivity, | |
| dynamic viscosity, | |
| density, | |
| surface tension, | |
| relative air humidity, | |
| fin pitch, | |
| Subscripts: | |
| I | heat pump first operation point |
| II | heat pump second operation point |
| 1 | start/inlet value |
| end/outlet value | |
| c | refrigerant |
| cz | frontal area of exchanger |
| evap | condensate |
| o | evaporation |
| p | air |
| w | inner surface |
| outer surface | |
| fin | |
| liquid phase in a saturated state | |
| gas phase in a saturated state |
References
- Mujumdar, A.S.; Huang, L. Global R&D Needs in Drying. Dry Technol. 2007, 25, 647–658. [Google Scholar] [CrossRef]
- Colak, N.; Hepbasli, A. A review of heat-pump drying (HPD): Part 2—Applications and performance assessments. Energy Convers. Manag. 2009, 50, 2187–2199. [Google Scholar] [CrossRef]
- Minea, V. Drying heat pumps—Part I: System integration. Int. J. Refrig. 2013, 36, 643–658. [Google Scholar] [CrossRef]
- Lee, K.H.; Kim, O.J. Investigation on drying performance and energy savings of the batch-type heat pump dryer. Dry Technol. 2009, 27, 565–573. [Google Scholar] [CrossRef]
- U.S. Department of Energy, Office of Energy Efficiency and Renewable Energy, Building Technologies Program. Energy Efficiency Program for Consumer Products and Commercial and Industrial Equipment; Technical Support Document; U.S. Department of Energy: Washington, DC, USA, 2021.
- Cao, X.; Zhang, J.; Li, Z.-Y.; Shao, L.-L.; Zhang, C.-L. Process simulation and analysis of a closed-loop heat pump clothes dryer. Appl. Therm. Eng. 2021, 199, 117545. [Google Scholar] [CrossRef]
- Rossi, S.J.; Neves, L.C.; Kieckbusch, T.G. Thermodynamic and energetic evaluation of heat pump applied to the drying of vegetable. In Proceedings of the 8th International Drying Symposium (IDS92), Montreal, Canada, 2–5 August 1992; pp. 1475–1484. [Google Scholar]
- Mellmann, J.; Fürll, C. Drying facilities for medicinal and aromatic plants–specific energy consumption and potential for optimization. J. Med. Spice Plants 2008, 13, 127–133. [Google Scholar]
- Clements, X.J.S.; Jolly, P. Study of Heat Pump Assisted Microwave Drying. Dry. Technol. 1993, 11, 1583–1616. [Google Scholar] [CrossRef]
- Patel, K.K.; Kar, A. Heat pump assisted drying of agricultural produce—An overview. J. Food Sci. Technol. Mysore 2011, 49, 142–160. [Google Scholar] [CrossRef]
- Ziegler, T.; Niebling, F.; Teodorov, T.; Mellmann, J. Heat pump drying of medicinal and spice plants—Possibilities of energy efficiency enhancement. J. Med. Spice Plants 2009, 14, 160–166. [Google Scholar]
- Ziegler, I.T.; Jubaer, H.; Mellmann, I.J. Simulation of a heat pump dryer for medicinal plants. Chem. Ing. Tech. 2012, 85, 353–363. [Google Scholar] [CrossRef]
- Schmidt, E.L.; Klocker, K.; Flacke, N.; Steimle, F. Applying the transcritical CO2 process to a drying heat pump. Int. J. Refrig. 1998, 21, 202–211. [Google Scholar] [CrossRef]
- Oktay, Z. Testing of a heat-pump-assisted mechanical opener dryer. Appl. Therm. Eng. 2003, 23, 153–162. [Google Scholar] [CrossRef]
- Graban, A.; Groll, E.; Braun, J.; Ziviani, D. Review of Heat Pump Tumble Clothes Dryer Energy Efficiency and Related Technologies. In Proceedings of the International Refrigeration and Air Conditioning Conference, West Lafayette, IN, USA, 24–28 May 2021. [Google Scholar]
- Fernandez-Golfin Seco, J.I.; Fernandez-Golfin Seco, J.J.; Hermoso, E.; Conde Garcia, M. Evaluation at industrial scale of electric-driven heat pump dryers (HPD). Holz Roh Werkst. 2004, 4, 261–267. [Google Scholar] [CrossRef]
- Prasertsan, S.; Saen-Saby, P. Heat pump dryers: Research and development needs and opportunities. Dry Technol. 1998, 16, 251–270. [Google Scholar] [CrossRef]
- Abrahamsson, K.; Stenstrom, S.; Aly, G.; Jernqvist, A. Application of heat pump systems for energy conservation in paper drying. Int. J. Energy Res. 1998, 21, 631–642. [Google Scholar] [CrossRef]
- Zhao, J.; Jian, Q.; Zhang, N.; Luo, L.; Huang, B.; Cao, S. The improvement on drying performance and energy efficiency of a tumbler clothes dryer with a novel electric heating element. Appl. Therm. Eng. 2018, 128, 531–538. [Google Scholar] [CrossRef]
- Deans, J. The modelling of a domestic tumbler dryer. Appl. Therm. Eng. 2001, 21, 977–990. [Google Scholar] [CrossRef]
- Rezk, K.; Forsberg, J. Geometry development of the internal duct system of a heat pump tumble dryer based on fluid mechanic parameters from a CFD software. Appl. Energy 2011, 88, 1596–1605. [Google Scholar] [CrossRef]
- Shengchun, L.; Xueqiang, L.; Mengjie, S.; Hailong, L.; Zhili, S. Experimental investigation on drying performance of an existed enclosed fixed frequency air source heat pump drying system. Appl. Therm. Eng. 2018, 130, 735–744. [Google Scholar] [CrossRef]
- Li, Z.; Wu, W.; Wang, J.; Wang, H.; Yu, X. Effect of compressor speeds on performance of a closed loop heat pump drying system. Appl. Therm. Eng. 2021, 195, 117220. [Google Scholar] [CrossRef]
- Niezgoda-Zelasko, B.; Zalewski, W. Chłodnicze I Klimatyzacyjne Wymienniki Ciepła. Obliczenia Cieplne, 1st ed.; Wydawnictwo Politechniki Krakowskiej: Cracow, Poland, 2013. [Google Scholar]
- Wongwises, S.; Anansauwapak, B. Prediction of evaporation of defrosted water in refrigerator water trays. Int. Commun. Heat Mass Transf. 2005, 32, 403–415. [Google Scholar] [CrossRef]
- Zalewski, W.; Kot, J. Obliczenia cieplne wymiennika stanowiącego ujęcie dolnego źródła ciepła powietrznej pompy ciepła. Czas. Inżynierii Lądowej Sr. I Archit. Politech. Rzesz. 2016, 63, 543–552. [Google Scholar] [CrossRef]
- Zalewski, W. Obliczenia cieplno-przepływowe wentylatorowych chłodnic powietrza (cz. 1). Chłodnictwo Organ Nacz. Organ. Tech. 2015, 50, 40–44. [Google Scholar] [CrossRef]
- Shah, R.K.; Sekulic, D.P. Fundamentals of Heat Exchanger Design; John Wiley & Sons: Hoboken, NJ, USA, 2003. [Google Scholar] [CrossRef]
- Schmidt, K.G. Heat Transfer to Finned Tubes. In VDI Heat Atlas, 2nd ed.; Springer: Berlin/Heidelberg, Germany, 2010; pp. 1273–1278. [Google Scholar] [CrossRef]
- Mołczan, T.; Cyklis, P. Mathematical Model of Air Dryer Heat Pump Exchangers. Energies 2022, 15, 7092. [Google Scholar] [CrossRef]
- Program Refrigeration Utilities version 2,84. Available online: www.et.dtu.dk/CoolPack (accessed on 17 November 2022).
- EBM Papst. Catalogue: Compact Fans for AC, DC and EC Version 2019-04. Available online: https://www.ebmpapst.fr/media/content/info-center/downloads/catalogs/Compact_fans_for_AC_and_DC_EN_04_2019.pdf (accessed on 19 February 2023).
- EBM Papst. Catalogue: Fans and Motors for Refrigerated Display Cases Version 2019-07. Available online: https://www.ebmpapst.com/content/dam/ebm-papst/media/catalogs/industries/Catalog_Axialfans_ESM-iQ_EN.pdf (accessed on 19 February 2023).





| Evaporator | |||||||||||
|---|---|---|---|---|---|---|---|---|---|---|---|
| (m) | (m) | (m) | (m) | (m) | (m) | (m) | (m) | (-) | (-) | (-) | (W) |
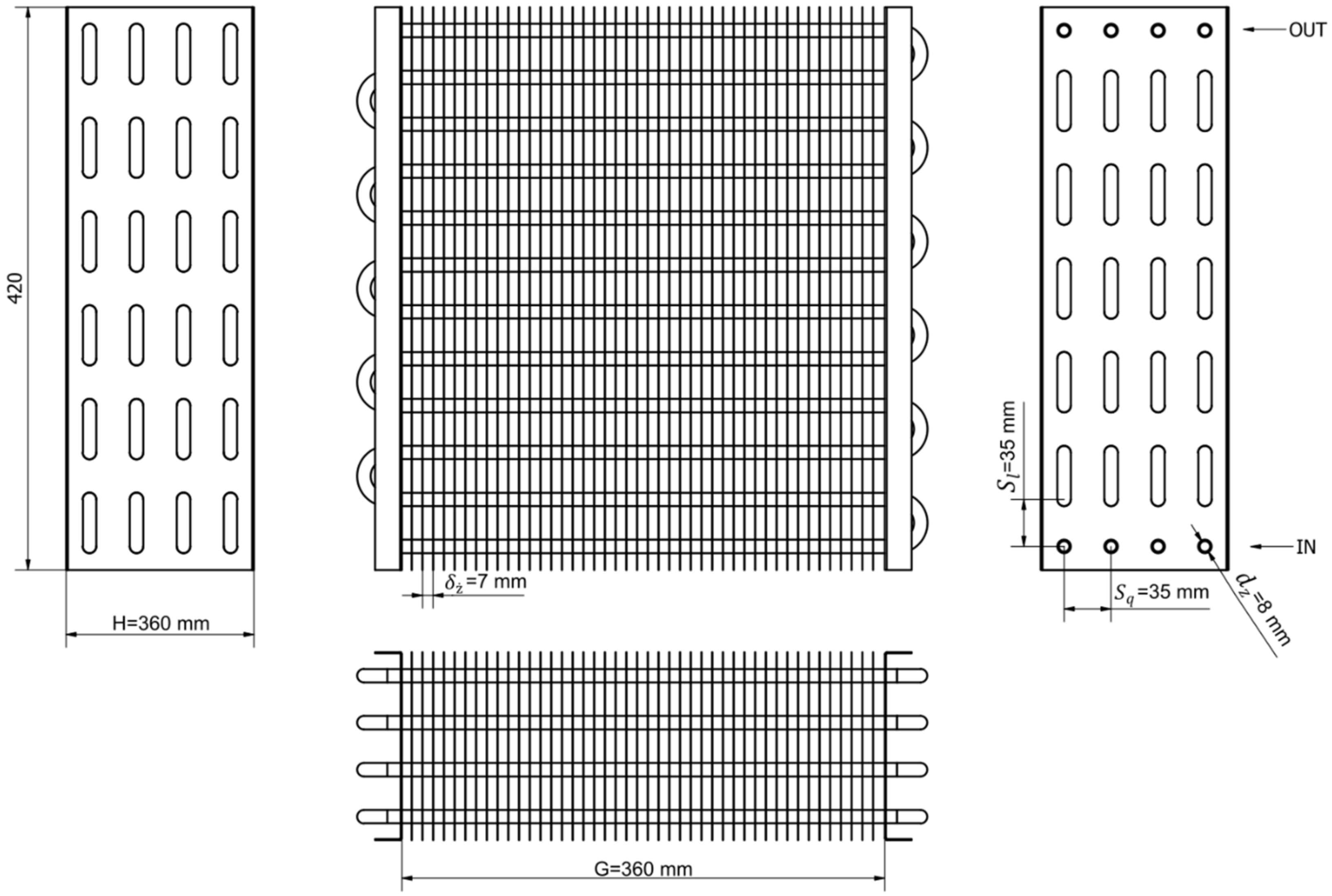
| 0.36 | 0.14 | 0.008 | 0.0072 | 0.035 | 0.035 | 0.007 | 0.0002 | 4 | 4 | 12 | 1270 |
| Refrigerant | Air | |||
|---|---|---|---|---|
| Properties | Properties | |||
| (kg/m3) | (kg/m3) | |||
| (kg/m3) | (J/(kgK)) | |||
| (kg/(ms)) | (W/(mK)) | |||
| (kg/(ms)) | (kg/(ms)) | |||
| (W/(mK)) | (-) | |||
| (W/(mK)) | ||||
| ((J/kgK)) | ||||
| ((J/kgK)) | ||||
| (-) | ||||
| (-) | ||||
| (J/kg) | ||||
| (kg/kmol) | ||||
| (N/m) | ||||
| (Pa) | ||||
| (Pa) | ||||
| Iteration | 1.0 °C | 4.0 °C | |||||||
|---|---|---|---|---|---|---|---|---|---|
| 1 | 2 | 3 | 4 | 1 | 2 | 3 | 4 | 5 | |
| Heat transfer coefficient, αp, W/(m2K) | 27 | 27 | 27 | 27 | 27 | 27 | 27 | 27 | 27 |
| Heat transfer coefficient, αc, W/(m2K) | 1156 | 1009 | 1028 | 1028 | 1082 | 949 | 991 | 989 | 987 |
| Heat transfer coefficient, ka, W/(m2K) | 380 | 354 | 355 | 356 | 372 | 336 | 341 | 342 | 342 |
| Cooling capacity, W | 2302 | 2161 | 2164 | 2164 | 1982 | 1785 | 1807 | 1811 | 1809 |
| Evaporator outlet temperature, °C | 10.5 | 10.6 | 10.6 | 10.6 | 12.4 | 12.3 | 12.2 | 12.3 | 12.3 |
| Evaporator outlet relative humidity, % | 88.8 | 95.7 | 95.5 | 95.5 | 85.2 | 96.0 | 95.9 | 95.5 | 95.6 |
| Condensate mass after 60 min, kg | - | - | - | 1.33 | - | - | - | - | 1.03 |
| Criterion, | - | 0.0012 | 0.0014 | 0.0002 | - | 0.11 | 0.012 | 0.0023 | 0.0009 |
| First Operating Point | Second Operating Point | |
|---|---|---|
| Average temperature of inlet air before the evaporator (T1 and T2), tp1 | 24.7 °C | 24.7 °C |
| Average temperature of outlet air behind the evaporator (T3 and T4), tp2 | 12.7 °C | 14.0 °C |
| 59.9% | 59.9% | |
| Average relative humidity of outlet air behind the evap. (RH3 and RH4), | 89.9% | 88.5% |
| Average temperature of the evaporator injection pipe (TR1) | 1.3 °C | 3.9 °C |
| Average evaporator outlet pipe temperature (TR2) | 3.3 °C | 4.8 °C |
| Energy consumption, E | 690 W | 724 W |
| Average air velocity in the duct before the exchanger, wp | 1.51 m/s | 1.51 m/s |
| Condensation / Evaporation temperature (to and tk) | 43.0 °C/1.0 °C | 43.0 °C/4.0 °C |
| Condensate mass after 60 min of the test (mevap) | 1.21 kg | 0.94 kg |
| First Operating Point | Second Operating Point | |
|---|---|---|
| ) | 54.6 | 54.6 |
| ) | 33.5 | 36.3 |
| The actual cooling capacity of the exchanger | 1862 | 1611 |
| Cooling Capacity Q (W) | Outlet Evaporator Air Temperature (°C) | Outlet Evaporator Air Relative Humidity (%) | Mass of Condensate after Tests (kg) | Compressor Electricity Consumption (Wh) | ||
|---|---|---|---|---|---|---|
| Calculations | I | 2164 | 10.6 | 95.5 | 1.33 | 625 |
| II | 1809 | 12.3 | 95.6 | 1.03 | 647 | |
| Tests | I | 1862 | 12.7 | 89.9 | 1.21 | 652 |
| II | 1611 | 14.0 | 88.5 | 0.94 | 686 |
| Evaporation Temperature (°C) | Cooling Capacity Q (W) | Outlet Evaporator Air Temperature (°C) | Outlet Evaporator Air Relative Humidity (%) | Mass of Condensate after Tests (kg) | Compressor Electricity Consumption (Wh) |
|---|---|---|---|---|---|
| 0 | 2279 | 9.98 | 95.5 | 1.43 | 618 |
| 1 | 2164 | 10.56 | 95.5 | 1.33 | 625 |
| 2 | 2047 | 11.13 | 95.5 | 1.23 | 632 |
| 3 | 1929 | 11.70 | 95.6 | 1.14 | 640 |
| 4 | 1809 | 12.26 | 95.6 | 1.03 | 647 |
| 5 | 1689 | 12.82 | 95.6 | 0.93 | 655 |
| 6 | 1561 | 13.39 | 95.6 | 0.82 | 662 |
| 7 | 1444 | 13.92 | 95.6 | 0.71 | 669 |
| 8 | 1319 | 14.46 | 95.6 | 0.60 | 676 |
| 9 | 1193 | 15.00 | 95.6 | 0.48 | 683 |
| 10 | 1065 | 15.53 | 95.6 | 0.37 | 690 |
Disclaimer/Publisher’s Note: The statements, opinions and data contained in all publications are solely those of the individual author(s) and contributor(s) and not of MDPI and/or the editor(s). MDPI and/or the editor(s) disclaim responsibility for any injury to people or property resulting from any ideas, methods, instructions or products referred to in the content. |
© 2023 by the authors. Licensee MDPI, Basel, Switzerland. This article is an open access article distributed under the terms and conditions of the Creative Commons Attribution (CC BY) license (https://creativecommons.org/licenses/by/4.0/).
Share and Cite
Mołczan, T.; Cyklis, P. Impact of the Evaporation Temperature on the Air Drying Rate for a Finned Heat Exchanger. Energies 2023, 16, 2132. https://doi.org/10.3390/en16052132
Mołczan T, Cyklis P. Impact of the Evaporation Temperature on the Air Drying Rate for a Finned Heat Exchanger. Energies. 2023; 16(5):2132. https://doi.org/10.3390/en16052132
Chicago/Turabian StyleMołczan, Tomasz, and Piotr Cyklis. 2023. "Impact of the Evaporation Temperature on the Air Drying Rate for a Finned Heat Exchanger" Energies 16, no. 5: 2132. https://doi.org/10.3390/en16052132
APA StyleMołczan, T., & Cyklis, P. (2023). Impact of the Evaporation Temperature on the Air Drying Rate for a Finned Heat Exchanger. Energies, 16(5), 2132. https://doi.org/10.3390/en16052132

