Next Article in Journal
Fuel Consumption Dependence on a Share of Reduction Processes in Imperial Smelting Furnace
Next Article in Special Issue
Blanket Cooling of a Fusion Reactor
Previous Article in Journal
A Novel Temperature-Independent Model for Estimating the Cooling Energy in Residential Homes for Pre-Cooling and Solar Pre-Cooling
Previous Article in Special Issue
A Review on Geothermal Renewable Energy Systems for Eco-Friendly Air-Conditioning
 
 
Font Type:
Arial Georgia Verdana
Font Size:
Aa Aa Aa
Line Spacing:
Column Width:
Background:
Article

Heat Integration for Phenols and Ammonia Recovery Process of Coal Gasification Wastewater Considering Optimization of Process Parameters

1
School of Chemical Engineering, East China University of Science and Technology, Shanghai 200237, China
2
Shanghai Engineering Research Center of Coal Gasification, East China University of Science and Technology, Shanghai 200237, China
*
Author to whom correspondence should be addressed.
Energies 2022, 15(23), 9258; https://doi.org/10.3390/en15239258
Submission received: 7 November 2022 / Revised: 1 December 2022 / Accepted: 5 December 2022 / Published: 6 December 2022
(This article belongs to the Special Issue Volume II: Heat Transfer and Heat Recovery Systems)

Abstract

:
A heat integration optimization method that considers the changes in process parameters is proposed to find the global optimal process scheme for a coal chemical company’s phenols and ammonia recovery process. The phenols and ammonia recovery process is simulated by Aspen Plus, and a programming method for heat exchanger networks synthesis that can simultaneously optimize process parameters and heat integration is constructed by Matlab. Taking the total annual cost as the objective function, the following process parameters are optimized: the hot feed temperature and cold/hot feed ratio of sour water stripper, the temperature of three-step partial condensation system, the feed temperature and column pressure of both solvent distillation column and solvent stripper. The result shows that, compared with the heat integration process under original process parameters, the new heat integration process saves 14.3% energy consumption and reduces the total annual cost by about 15.1%. The new heat integration process provides guidance for the optimization of the phenols and ammonia recovery process. The proposed heat integration optimization method based on changing process parameters is an effective and practical tool that offers good application prospects.

1. Introduction

Coal gasification wastewater is the wastewater produced in the process of producing coal gas or replacing natural gas in a gasifier, and it mainly comes from washing, condensation, and fractionation sections [1]. The characteristics of this wastewater are high levels of toxicity and high concentration of pollutants, mainly containing phenols, ammonia, carbon dioxide, etc. It is difficult to achieve complete degradation of organic pollutants in the biochemical treatment process [2].
The combined technical route of chemical separation, biochemical treatment, and depth treatment is commonly used to treat highly concentrated organic wastewater containing phenols from coal gasification in industry [3,4,5]. The coal gasification wastewater contains concentrations of phenolic substances which will poison and inactivate the working flora in the biochemical treatment section. So, the phenols and ammonia recovery section of coal gasification wastewater before the biochemical treatment section has a non-negligible status. Its primary purpose is to recover most of the acidic substances, phenols, and ammonia in the coal gasification wastewater [6].
Two categories of the phenols and ammonia recovery process are roughly divided according to the order of phenols and ammonia removal, the two-column process based on the Lurgi coal gasification wastewater treatment process, and the single-column process based on the South China University of Technology wastewater treatment process. The former is not deaminated before phenols removal, resulting in alkaline wastewater, which reduces the efficiency of polyphenol removal [7]. The latter can remove the crude phenols from the wastewater better but requires a large amount of medium- and high-pressure steam [8].
In order to meet the requirements of green chemistry and zero pollution emission, there is a need to develop a heat integration process that can save energy and accomplish the wastewater purification index at the same time. Many optimal processes have been proposed by researchers from the perspective of energy conservation, which indicates that the existing processes have great potential to reduce energy consumption through further process optimization and heat integration. Gai et al. [9] proposed two options for heat integration between solvent distillation column and solvent stripper based on the wastewater treatment process of South China University of Technology, among which the depressurized heat integration process and the pressure-swing heat integration process can save 18.6% and 18.2% of energy consumption, respectively. Cui et al. [10] obtained a new heat integration process by thermally integrating the sour water stripper column and solvent recovery system, saving 30.9% of energy consumption. In addition, the application of heat pumps has been extensively studied in the heat integration of phenols and ammonia recovery process. Chen et al. [11] analyzed the feasibility of steam recompression process using Grand Composite Curve and designed a new integration process. The final process saves USD 1.095 million in total annual utility consumption. Zahid [12] used Aspen Hysys to design the vapor recompression scheme of a sour water stripping unit in a refinery. Compared with the traditional design, the proposed vapor recompression design can reduce the demand for cooling and heating facilities by 90% and 22%, respectively. Gai et al. [13] used the flashing mechanical vapor recompression heat pump to reduce the energy consumption of sulfur-containing wastewater.
The above research demonstrated the feasibility and effectiveness of heat integration. However, the process can still be further improved. Jin et al. [14] pointed out that the traditional heat integration design program needs to start with a good process design; that is, to optimize the design parameters of the process first, and then conduct the heat integration design. This may lead to the omission of some more competitive solutions. Therefore, the simultaneous optimization of process parameters and heat integration has attracted more and more attention from scholars [15,16,17,18]. There have been many studies applying this method to actual processes. Huang et al. [19] used an extended Duran–Grossmann model to optimize the heat exchanger network of the coal-to-SNG process. By optimizing the operating parameters, the exergy efficiency of the coal-to-SNG plant increased by 1.28% compared to the original industrial plant. Khor et al. [20] addressed the flowsheet optimization of the synthesis of a petroleum refinery to attain an optimal heat-integrated configuration or topology.
Despite the successful application of some processes of the simultaneous optimization of process parameters and heat integration, the use of simultaneous optimization methods in the process of phenols and ammonia recovery is practically not described in the literature. Therefore, in this study, considering the high energy consumption and high cost of the wastewater treatment process of a coal chemical company, the process technology is improved. The whole process simulation of the phenols and ammonia recovery process is completed by Aspen Plus according to the specific data of the coal chemical company. A heat exchanger network synthesis program that can simultaneously optimize process parameters and heat integration schemes is constructed. The total annual cost (TAC) is used as the objective function, then the influence of some operating parameters on the heat exchanger network is analyzed. This paper is presented in the following order: the second section describes and simulates the process of phenols and ammonia recovery; the third section provides the mathematical model of heat integration; the fourth section presents the results; the last section summarizes the conclusions.

2. Process Description and Simulation

The process flow of phenols and ammonia recovery in the coal chemical plant is shown in Figure 1. This process contains a single pressurized column to achieve simultaneous acid stripping from the column top and deamination from the side line. The phenols-containing wastewater, after deacidification and deamination, enters the top of an extraction column, and the methyl isobutyl ketone (MIBK) extractant enters the extraction column from the bottom. MIBK and the wastewater are in continuous counter-current contact, and the phenols-containing MIBK comes out from the top of the extraction column, while the dephenolsized wastewater is discharged from the bottom. The extraction solution from the top of the extraction column is pumped into a solvent distillation column equipped with reboiler, and the raffinate is pumped into a solvent stripper.
The ELECNRTL thermodynamics models in Aspen Plus are used to provide properties database [21]. Based on industrial data, the feed composition is shown in Table 1.
To meet the biochemical treatment requirements [10,22], the design specifications of each output product are stipulated as follows.
(1)
In order to avoid pipeline blockage, the compositions of water and ammonia in the acid gas at the top of the sour water stripper should be less than 3 wt% and 1.5 wt%, respectively.
(2)
The purity of crude ammonia product should reach 98 wt% after the three-step partial condensation system.
(3)
After the treatment of phenols and ammonia removal, the concentrations of total phenols, ammonia, and hydrogen sulfide in the wastewater are reduced to below 500, 150, and 50 mg/L, respectively.
(4)
MIBK should be reduced to 5 mg/L in the bottom discharge of solvent stripper.
(5)
The MIBK in the crude phenols product at the bottom of solvent distillation column should be less than 0.2 wt%.
(6)
In order to recover and utilize the solvent MIBK, the concentration of MIBK in the recovered stream at the top of solvent stripper and solvent distillation column should be greater than 97 wt%.
In order to match stream data with factory data and regulations as much as possible, the operating parameters of stripper and distillation columns are shown in Table 2.
After the simulation of the whole process is completed, the simulation results are compared with the actual industrial data, as shown in Table 3. The results show that the simulated outlet temperature and pressure of each column are consistent with the actual operating conditions, which verifies the reliability of the simulation results.
The heat exchanger information obtained from the simulation is organized as shown in Table 4. The parameters of each heat exchanger consist of three parts: initial temperature, target temperature, and required heat load. They will be imported into the heat exchanger network design model as input variables for the program programmed by Matlab.

3. Methodology of Heat Integration

3.1. Problem Description

Ten hot streams and six cold streams (containing three vapor flows) were matched to each other, supplemented by four sizes of utilities, including cooling water, 0.6 MPa low-pressure steam, 1.5 MPa medium-pressure steam, and 2.8 MPa medium-pressure steam, to obtain the heat exchanger network solution with the lowest total annual cost.

3.2. Objective Function

The objective function of the integrated heat exchanger network problem is total annual cost function (TAC) calculated under the selected heat exchanger network, which contains two parts: annual capital cost and operating cost [23,24]. The operating cost contains the cost of steam and cooling water consumed during the operation of the complete heat exchanger network equipment, and the capital cost is simplified to the cost of the column shell and heat exchanger equipment. The specific formula is shown below.
T A C = C h e x + C c o l p a y b a c k   p e r i o d + A N C y e a r
where Chex denotes the equipment cost of the heat exchanger in the system. ANC denotes the consumption cost of the utilities in the system. The specific calculation method can be referred to the objective function equation of the heat exchanger network proposed by Lewin [25].
C h e x = k = 1 n s ( A 0 + A 1 S k m )
A N C = A 2 s 1 = 1 n u 1 H s 1 + A 3 s 2 = 1 n u 2 H s 2 + A 4 s 3 = 1 n u 3 H s 3 + A 5 s 4 = 1 n u 4 H s 4
ns denotes the number of heat exchangers in the heat exchanger network. nu1~nu4 show the number of flows using cooling water, 0.6 MPa low pressure steam, 1.5 MPa medium pressure steam, and 2.8 MPa medium pressure steam, respectively. S represents the heat transfer area of a particular heat exchanger in m2. H indicates the amount of utility consumption used for a particular flow in kJ/h. A0~5 express the economic factors of the heat exchanger equipment and each of the utility, and the specific values are shown in Table 5 [10,26].
Ccol denotes the cost of the shell equipment for the distillation columns, which is calculated as follows.
C c o l = 17640 D 1.066 ( 0.61 N T + 3 ) 0.802
D denotes the design inner diameter of the distillation column and NT represents the theoretical number of stages of the distillation column. The payback period is calculated at three years, and the annual equipment work time is 8000 h.

3.3. Material Balance and Energy Balance

The structure of the heat exchanger network consists of several heat exchangers that can perform a thermal coupling between different streams. Each heat exchanger must follow the laws of material balance and energy balance. As shown in Figure 2, t h , i j k and t h , i j k indicate the inlet and outlet temperatures of the heat stream in the heat exchanger codenamed ijk (i represents the cold stream code, j represents the hot stream code, and k represents the number of stages in which it is located), respectively, and similarly t c , i j k and t c , i j k respectively represent the inlet and outlet temperatures of the cold stream in the heat exchanger code-named ijk. T h , j I and T h , j T denote the initial and target temperatures of heat stream j, respectively. T c , i I and T c , i T represent the initial and target temperatures of cold stream i, respectively. After matching the hot and cold streams, the streams that still did not reach the heat transfer target were heat exchanged with suitable utilities in the auxiliary heat exchanger to achieve the final heat transfer requirements. t h u , j and t h u , j represent the inlet and outlet temperatures of heat stream j in the corresponding auxiliary heat exchanger, respectively. t c u , i and t c u , i denote the inlet and outlet temperatures of the cold stream i in the corresponding auxiliary heat exchanger, respectively.

3.3.1. Energy Balance for Each Streams

In the heat exchanger network, the target heat exchange to be achieved by each stream is fixed, and the heat exchange is shared by each heat exchanger in the stream. Therefore, the energy balance equation for each stream is as follows.
Heat   stream :   Q h , j = k = 1 n R i = 1 n C Q i j k + Q h u , j = W h , j ( T h I T h T )
Cold   stream :   Q c , i = k = 1 n R j = 1 n H Q i j k + Q c u , i = W c , i ( T c T T c I )
Qijk denotes the heat exchange of heat stream j and cold stream i at the heat exchanger on stage k. If there is no heat exchanger at this position, it is specified that Q i j k = 0 . Wh,j and Wc,i represent the heat capacity flow rates of heat flow j and cold flow i, respectively.

3.3.2. Energy Balance for Heat Exchangers

A heat exchanger is an equipment that transfers part of the heat from one hot stream to another cold stream. In this study, only the split of heat streams was allowed to simplify the structure of the heat exchanger network. According to the law of energy conservation, the heat loss of the hot stream should be equal to the heat absorbed by the cold stream, so the energy balance formula of the heat exchanger is as follows.
Q i j k = y i j k W h , j ( t h , i j k t h , i j k ) = W c , i ( t c , i j k t c , i j k )
where yijk denotes the i-th splition of heat stream j at the k-th level to match cold stream i. If the j-th heat stream is not matched with the i-th cold stream at the k-th level, then j i j k = 0 .

3.3.3. Material Balance at the Diversion Node

Each heat stream can theoretically be divided into at most nC shares of diversion in each stage. Then, the material balance at the diversion node is given by
i = 1 n C y i j k = 1

3.3.4. Energy Balance at the Merge Node

At each stage of one heat stream, the divided nC streams of heat stream are reunited after exchanging energy with the corresponding nC cold streams, respectively. Then, the energy balance equation at the merging node is as follows.
W h , j t j , k = i = 1 n C ( y i j k W h , j t h , i j k )
where tj,k denotes the temperature of the heat stream entering the next stage after merging the heat stream j through the k-th stage. After calculating the exit temperature of the heat stream through the heat exchanger, the temperature of the heat stream in the next stage can be calculated by the above equation.

3.4. Thermodynamic Constraints

The heat exchangers mentioned in this paper are assumed to be counterflow heat exchangers. For counterflow heat exchangers, the temperature difference on both sides must meet the minimum driving force constraint.
t h , i j k t c , i j k Δ T m i n
t h , i j k t c , i j k Δ T m i n
where ΔTmin represents the minimum driving force of the counterflow heat exchanger.

3.5. Area Calculation of Heat Exchanger

According to the heat exchange of each heat exchanger and the inlet and outlet temperature of the corresponding hot and cold streams, the area of the heat exchanger can be calculated as follows
Q i j k = u S i j k Δ T m
Δ T m = ( t h , i j k t c , i j k ) ( t h , i j k t c , i j k ) l n { ( t h , i j k t c , i j k ) / ( t h , i j k t c , i j k ) }
where u represents the heat transfer coefficient. For cooled heat exchanger, u = 0 . 852 kW / ( K m 2 ) . For re-boiling heat exchangers, u = 0 . 568 kW / ( K m 2 ) . If the cold and hot streams are vapor streams, and there is little temperature change before and after heat exchange, then ΔTm is taken as the difference between the two.

3.6. Algorithm Implementation

The stage-wise superstructure model proposed by Yee [27] was used as the heat exchanger network model. A two-layer nested optimization structure was adopted in the algorithm [17]. The discrete variables represented by heat exchanger network structure were optimized in the upper layer using genetic algorithm (GA). The continuous variables (split flow rate and exchanger heat load) were optimized in the lower layer through particle swarm algorithm (PSO). The structural characteristics of each heat exchanger network were expressed in the algorithm by the incidence matrix [20]. The independent and dependent variables were obtained by structure identification of the heat exchanger network incidence matrix [28]. The specific steps of this hybrid genetic algorithm for heat exchanger network design are given in Figure 3.
The program runs in the following steps: after receiving the heat exchanger data from Aspen Plus, it first enters the PSO algorithm to complete the optimization of the heat exchanger parameters and then enters the GA algorithm to achieve the optimization of the heat exchanger network system by selection, crossover, and mutation.

4. Results and Discussions

The algorithm’s operation process is shown in Figure 4.
As can be seen from Figure 4, after 15 generations of genetic inheritance, the individuals with optimal TAC are reproduced in the population. These individuals continue to develop and grow in the subsequent evolution, so that the average TAC of the population reaches the optimal TAC level after 60 generations of genetic inheritance and remains unchanged afterward. It indicates that the established hybrid genetic algorithm has a strong convergence ability. Herein, the effects of some process parameters on the total annual cost of heat integrated process are analyzed.

4.1. Effects of Column Pressure in Solvent Distillation Column and Solvent Stripper

Cui et al. mentioned that the heat integration between these two columns could be accomplished by adjusting the pressure of the solvent distillation column and the solvent stripper [9]. In this paper, the effect of two column pressures on the optimization of the heat exchanger network is discussed. The process simulation under changing pressure conditions of the two columns was first completed using Aspen Plus, and the simulated data were imported by separate operations. The final optimization results are shown in Figure 5.
Changing the pressure of solvent distillation column and solvent stripper will affect initial temperature, target temperature, and required heat load of some heat exchangers, thus forcing the hybrid genetic algorithm to seek a new optimal heat exchanger network structure. From Figure 5, it can be seen that when the pressures of solvent stripper and solvent distillation column are set to 0.8/1.2 atm, respectively, the total annual cost of the optimal heat exchanger network reaches the lowest.
The total annual cost of the heat integration process, on the other hand, is only slightly affected by adjusting the pressure of the twin columns, as shown in Figure 5, which is consistent with Cui et al.’s findings [9] in the literature. Therefore, this shows that there is a limit to the heat distribution and temperature distribution in the process section by adjusting the parameters in the column.

4.2. Effect of Cold-to-Hot Feed Ratio and Hot Feed Temperature

The raw material is divided into two streams before entering the sour water stripper. One stream enters the top of the column as a cold stream and the other stream is heated and enters the middle section of the column. The cold-to-hot feed ratio and the hot feed temperature affect the reboiler heat load of the sour water stripper. If the cold-to-hot feed ratio increases or the hot feed temperature decreases, the reboiler heat load required to complete the product indicators will increase. Usually, hot feed is preheated by matching with other streams, so the changes in cold-to-hot feed ratio and hot feed temperature on the total annual cost after heat exchanger network structure optimization were analyzed, as shown in Figure 6.
It can be obviously seen from Figure 6 that the total annual cost after heat integration gradually increases as the cold-to-hot feed ratio continues to increase. As the hot feed temperature increases, the total annual cost after heat integration decreases and then increases. At a hot-to-cold feed ratio of 0.15 and a hot feed temperature of 146 °C, the total annual cost after heat integration is the lowest.
Sufficient heat exchange needs to be provided to drive the separation of the products, which includes the reboiler heat load and the feed heat load. The feed heat load is better integrated by the heat exchanger network than the reboiler heat load. In other words, the more heat required to separate the product that is provided by the heat exchange outside the column, the more easily the heat can be used in the heat exchanger network. It can also be seen from the analysis in Section 4.1 that stripping the required heat from the column is actually a means of avoiding reforming the heat distribution and temperature distribution by adjusting the parameters in the column.

4.3. Effect of the Temperature of the Three-Step Partial Condensation System

According to the literature, the temperature of three condensers affects not only the purity of crude ammonia gas, but also the energy consumption of the sour water stripper [8]. Among them, the first and second condensers together affect the heat load of the sour water stripper, and the third condenser mainly affects the purity of the extracted crude ammonia gas. The temperature of the third stage condenser must be set at about 40 °C to ensure that the purity of crude ammonia is greater than 98 wt%. The effect of the temperature of the first and second stage condensers on total annual cost is shown in Figure 7.
As shown in Figure 7, although the temperature of the first and second condensers affect the heat load of the sour water stripper, the effect on the overall phenols and ammonia recovery process is negligible. Such an observation may be due to the amount of ammonia extracted from the side lines being smaller compared to the amount of wastewater extracted from the bottom of the column (mass ratio of about 1:10). The heat load required by the three subsequent condensers is much smaller than the heat load of the heat exchangers on the other main roads, so the impact on the overall heat exchanger network is negligible.

4.4. Effect of the Feed Temperature in Solvent Stripper and Solvent Distillation Column

The effect of feed temperature of solvent stripper and solvent distillation column on the total annual cost of phenols and ammonia recovery process for coal gasification wastewater after heat integration was investigated, and the results are shown in Figure 8.
Figure 8 presents that the feed temperature of the solvent stripper has little effect on the total annual cost, while the total annual cost gradually decreases as the feed temperature of the solvent distillation column increases. When the feed temperatures of the solvent stripper column and thr solvent distillation column are set to 85/120 °C, respectively, the total annual cost of the phenols ammonia recovery process after heat integration is the lowest.
From the perspective of the whole process, the material flow rate that is required to be treated by the solvent distillation column is larger than the solvent stripper, and more heat needs to be provided, so the total annual cost after heat integration is more sensitive to the heat distribution of the solvent distillation column.

4.5. Summary

Through the previous analysis, it can be seen that the process parameters that can significantly affect the total annual cost of heat integration process are cold to hot feed ratio and hot feed temperature of the sour water stripper, column pressure, feed temperature of solvent distillation column, and column pressure of the solvent stripper.
Two ideas for implementing heat integration and simultaneous process parameter optimization for chemical processes using column equipment may be obtained from the analysis of the impact of the aforementioned factors on the annual total cost:
(1)
Optimize the heat distribution and temperature distribution in the process by optimizing the conditions outside the tower as far as possible;
(2)
Optimize the heat exchange equipment on the main material flow with large flow rate as far as possible.
In this phenols and ammonia recovery process, the optimal parameters at the lowest total annual cost were obtained as shown in Table 6.
At this point the incidence matrix is:
[ 2 0 4 0 0 0 7 7 9 0 0 2 0 0 3 0 0 0 ]
The corresponding heat exchanger network structure is shown in Figure 9, containing seven heat exchangers, six coolers, and three heaters, consuming 10,668 kW of cold utilities and 13,444 kW of heat utilities, with a total annual cost of 306,400 USD/year.
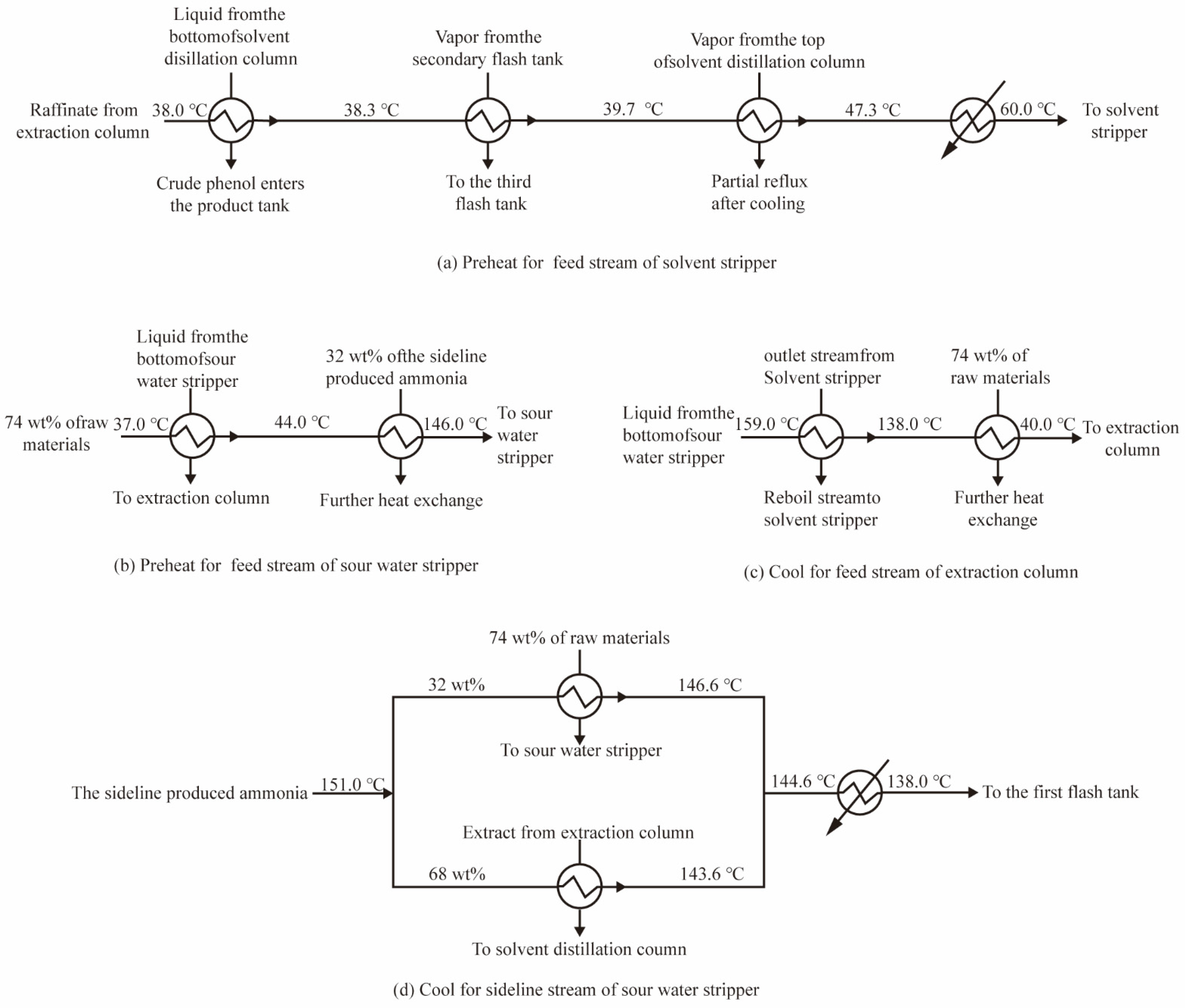
According to the obtained heat exchanger network structure, the process simulation of phenols ammonia recovery process of coal gasification wastewater with heat exchanger network structure was completed on Aspen Plus. The schematic diagram of the heat exchanger network streams direction is shown in Figure 10.
The main streams of the heat exchanger network are divided into four routes.
(a)
The extracted residue from the extraction column was heat exchanged with the bottom discharge of the solvent distillation column, the gas phase from the second flash tank, and the gas phase discharge from the top of the solvent distillation column, and then heated to 60 °C by the auxiliary heater and fed into the solvent stripper.
(b)
The raw material is divided into 74 wt% and heated to 146 °C by heat transferring with the bottom discharge of the sour water stripper and the ammonia-containing gas extracted from the side line, and then fed into the sour water stripper as hot feed.
(c)
The bottom wastewater discharge from the sour water stripper provides heat for the reboiling flow of the solvent stripper, and then cools down to 40 °C through the hot feed stream.
(d)
The ammonia-containing gas extracted from the side line is divided into two streams through the splitter, one of which is heat exchanged with the raw material hot stream, and the other is heat exchanged with the extract of the extraction column. Two streams are combined after the heat exchange is completed and enter the first flash tank.
The parameter optimization and unoptimized heat integration process comparison is shown in Table 7.
On the premise of considering the optimization of process parameters, the heat integration of the phenols and ammonia recovery process of coal gasification wastewater can further obtain greater room for improvement on the basis of conventional heat integration. The new heat integration process not only saves 18.2% of equipment costs, but also greatly improves the heat transfer matching between streams, which reduces the total utility consumption by 14.3%. In general, the new heat integration solution can further save 15.1% of the total annual cost compared with the conventional heat integration solution. The heat integration scheme has provided guidance for the optimization of the phenols and ammonia recovery process.

5. Conclusions

In conclusion, the present work explored the heat integration of the phenols and ammonia recovery process from coal gasification wastewater considering the changes in process parameters. The simulation and optimization of this process were carried out using Aspen Plus. A programming method for heat exchanger network synthesis based on hybrid genetic algorithm was established by Matlab, which can optimize process parameters and heat integration simultaneously.
Based on the stream information obtained from Aspen Plus simulation, the heat integration process of phenols and ammonia recovery process is designed and optimized by combining it with the heat exchanger network optimization. Taking the total annual cost after heat integration as the objective function, the following process parameters are optimized: the hot feed temperature and cold/hot feed ratio of the sour water stripper, the set temperature of the three-step partial condensation system, the feed temperature and column pressure of the solvent distillation column and the solvent stripper. The results show that the total annual cost after heat integration is the lowest when the cold-to-hot feed ratio is set to 0.15, the hot feed temperature of sour water stripper is set to 146 °C, the temperature of the three-step partial condensation system is set to 138/106/40 °C, the feed temperatures of the solvent stripper and solvent distillation column are 85/120 °C, and the column pressures are 0.8/1.2 atm. Compared with the conventional heat integration process, the total energy consumption is reduced by 14.3%, and the equipment cost is reduced by 18.2% in the new heat integration process. In a comprehensive analysis, its total annual cost was reduced by 15.1% compared with the original heat integration process.
Two principles of simultaneously optimizing heat integration and process parameters for chemical processes with column equipment are summarized by the proposed heat integration optimization method. According to these two principles, it is expected to further optimize the large-scale chemical processes with preliminary heat integration, thereby providing theoretical guidance for the economic and environmental development of large-scale chemical processes.

Author Contributions

Q.Y.: funding acquisition, project administration, resources; J.Z.: investigation, visualization, writing—original draft; Y.L.: methodology, software; P.Y.: supervision, validation, writing—review and editing; F.W.: data curation, formal analysis. All authors have read and agreed to the published version of the manuscript.

Funding

This research was funded by the National Natural Science Foundation of China (Grant No. 22178113). And The APC was funded by Qiliang Ye.

Institutional Review Board Statement

Not applicable.

Informed Consent Statement

Not applicable.

Conflicts of Interest

The authors declare no conflict of interest.

Nomenclature

Abbreviations
MIBKMethyl isobutyl ketone
HENHeat exchanger network
GAGenetic algorithm
PSOParticle swarm optimization
TACTotal annual costs
Parameters and variables
H1~HnHot stream
C1~CnCold stream
NStage of heat exchanger network
TGiven temperature
iIndex of cold stream
jIndex of hot stream
kIndex of stage
CEquipment cost
ACost calculation parameters
SHeat exchanger area
nNumber of items
HUtilities consumption
DColumn design inner diameter
NTTheoretical plates
TStream temperature
QHeat exchange
WHeat capacity flow rate
ySplit flow rate
ΔTminMinimum temperature driving force of heat exchanger
UHeat transfer coefficient
ΔTmLogarithmic mean temperature difference
XFIndependent variable of split flow rate
XQIndependent variable of heat load
Subscripts
HHot stream
cCold stream
hexHeat exchanger
colColumn
sCode of heat exchanger
u1~u4Codes of different utilities
cuUtility heat exchanger in cold stream
huUtility heat exchanger in hot stream
Superscripts
IInitial temperature
TTarget temperature
Inlet temperature
Outlet temperature
*Parameter flag after normalization

References

  1. Yu, Z.; Chen, Y.; Feng, D.; Qian, Y. Process Development, Simulation, and Industrial Implementation of a New Coal-Gasification Wastewater Treatment Installation for Phenol and Ammonia Removal. Ind. Eng. Chem. Res. 2010, 49, 2874–2881. [Google Scholar] [CrossRef]
  2. Busca, G.; Berardinelli, S.; Resini, C.; Arrighi, L. Technologies for the removal of phenol from fluid streams: A short review of recent developments. J. Hazard. Mater. 2008, 160, 265–288. [Google Scholar] [CrossRef]
  3. Zhu, H.; Han, Y.; Xu, C.; Han, H.; Ma, W. Overview of the state of the art of processes and technical bottlenecks for coal gasification wastewater treatment. Sci. Total Environ. 2018, 637–638, 1108–1126. [Google Scholar] [CrossRef] [PubMed]
  4. Cui, Z.; Tian, W.; Fan, C.; Guo, Q. Novel design and dynamic control of coal pyrolysis wastewater treatment process. Sep. Purif. Technol. 2020, 241, 116725. [Google Scholar] [CrossRef]
  5. Bokun, C.; Siyu, Y.; Yangyang, W.; Miyangzi, S.; Yu, Q. Intensified phenols extraction and oil removal for industrial semi-coking wastewater: A novel economic pretreatment process design. J. Clean. Prod. 2020, 242, 118453. [Google Scholar] [CrossRef]
  6. Ruesgas-Ramón, M.; Figueroa-Espinoza, M.C.; Durand, E. Application of Deep Eutectic Solvents (DES) for Phenolic Compounds Extraction: Overview, Challenges, and Opportunities. J. Agric. Food Chem. 2017, 65, 3591–3601. [Google Scholar] [CrossRef]
  7. Cui, P.; Chen, B.; Yang, S.; Qian, Y. Optimal design of an efficient polyphenols extraction process for high concentrated phenols wastewater. J. Clean. Prod. 2017, 165, 1395–1406. [Google Scholar] [CrossRef]
  8. Du, S.; Wang, J.; Jin, W.; Wu, W. Complex Mechanism of Phenol Extraction of Coal Gasification Wastewater. Pol. J. Environ. Stud. 2019, 28, 1105–1113. [Google Scholar] [CrossRef]
  9. Cui, P.; Mai, Z.; Yang, S.; Qian, Y. Integrated treatment processes for coal-gasification wastewater with high concentration of phenol and ammonia. J. Clean. Prod. 2017, 142, 2218–2226. [Google Scholar] [CrossRef]
  10. Gai, H.; Feng, Y.; Lin, K.; Guo, K.; Xiao, M.; Song, H.; Chen, X.; Zhou, H. Heat integration of phenols and ammonia recovery process for the treatment of coal gasification wastewater. Chem. Eng. J. 2017, 327, 1093–1101. [Google Scholar] [CrossRef]
  11. Bokun, C.; Yu, Q.; Siyu, Y. Integration of thermo-vapor compressors with phenol and ammonia recovery process for coal gasification wastewater treatment system. Energy 2018, 166, 108–117. [Google Scholar] [CrossRef]
  12. Zahid, U. Techno-economic evaluation and design development of sour water stripping system in the refineries. J. Clean. Prod. 2019, 236, 117633. [Google Scholar] [CrossRef]
  13. Gai, H.; Chen, S.; Lin, K.; Zhang, X.; Wang, C.; Xiao, M.; Huang, T.; Song, H. Conceptual design of energy-saving stripping process for industrial sour water. Chin. J. Chem. Eng. 2020, 28, 1277–1284. [Google Scholar] [CrossRef]
  14. Jin, L.; Zhang, X.; Cui, C.; Xi, Z.; Sun, J. Simultaneous process parameters and heat integration optimization for industrial organosilicon production. Sep. Purif. Technol. 2021, 265, 118520. [Google Scholar] [CrossRef]
  15. Zhuang, Y.; Zhou, C.; Zhang, L.; Liu, L.; Du, J.; Shen, S. A simultaneous optimization model for a heat-integrated syngas-to-methanol process with Kalina Cycle for waste heat recovery. Energy 2021, 227, 120536. [Google Scholar] [CrossRef]
  16. Babaie, O.; Esfahany, M.N. Optimum process configuration for ETBE production based on TAC minimization. Sep. Purif. Technol. 2020, 256, 117744. [Google Scholar] [CrossRef]
  17. Babaie, O.; Esfahany, M.N. Optimization and heat integration of hybrid R-HIDiC and pervaporation by combining GA and PSO algorithm in TAME synthesis. Sep. Purif. Technol. 2019, 236, 116288. [Google Scholar] [CrossRef]
  18. Schack, D.; Liesche, G.; Sundmacher, K. The FluxMax approach: Simultaneous flux optimization and heat integration by discretization of thermodynamic state space illustrated on methanol synthesis process. Chem. Eng. Sci. 2019, 215, 115382. [Google Scholar] [CrossRef]
  19. Huang, B.; Li, Y.; Gao, R.; Zuo, Y.; Dai, Z.; Wang, F. Simultaneous optimization and heat integration of the coal-to-SNG process with a branched heat recovery steam cycle. Comput. Chem. Eng. 2018, 117, 117–128. [Google Scholar] [CrossRef]
  20. Khor, C.S.; Elkamel, A. Optimal synthesis of a heat-integrated petroleum refinery configuration. Can. J. Chem. Eng. 2016, 94, 1939–1946. [Google Scholar] [CrossRef]
  21. Soares, A.D.F.; Penteado, E.D.; Diniz, A.A.R.; Komesu, A. Influence of operational parameters in sour water stripping process in effluents treatment. J. Water Process Eng. 2021, 41, 102012. [Google Scholar] [CrossRef]
  22. Gai, H.; Song, H.; Xiao, M.; Feng, Y.; Wu, Y.; Zhou, H.; Chen, B. Conceptual design of a modified phenol and ammonia recovery process for the treatment of coal gasification wastewater. Chem. Eng. J. 2016, 304, 621–628. [Google Scholar] [CrossRef]
  23. Khalili, N.; Kasiri, N.; Ivakpour, J.; Khalili-Garakani, A.; Khanof, M. Optimal configuration of ternary distillation columns using heat integration with external heat exchangers. Energy 2019, 191, 116479. [Google Scholar] [CrossRef]
  24. Beninca, M.; Trierweiler, J.O.; Secchi, A. Heat integration of an Olefins Plant: Pinch Analysis and mathematical optimization working together. Braz. J. Chem. Eng. 2011, 28, 101–116. [Google Scholar] [CrossRef]
  25. Lewin, D.R. A generalized method for HEN synthesis using stochastic optimization—II.: The synthesis of cost-optimal networks. Comput. Chem. Eng. 1998, 22, 1387–1405. [Google Scholar] [CrossRef]
  26. Ulyev, L.; Kanischev, M.; Chibisov, R.; Vasilyev, M. Heat Integration of an Industrial Unit for the Ethylbenzene Production. Energies 2021, 14, 3839. [Google Scholar] [CrossRef]
  27. Yee, T.F.; Grossmann, I.E.; Kravanja, Z. Simultaneous optimization models for heat integration—I. Area and energy targeting and modeling of multi-stream exchangers. Comput. Chem. Eng. 1990, 14, 1151–1164. [Google Scholar] [CrossRef]
  28. Rathjens, M.; Fieg, G. A novel hybrid strategy for cost-optimal heat exchanger network synthesis suited for large-scale problems. Appl. Therm. Eng. 2019, 167, 114771. [Google Scholar] [CrossRef]
Figure 1. Flow chart of phenols and ammonia recovery process. T1: Sour water stripper; T2: Extraction column; T3: Solvent stripper; T4: Solvent distillation column; F1~3: Flash tanks; V1~3: Storage tanks; H1~10: Cooler; C1~6: Heater.
Figure 1. Flow chart of phenols and ammonia recovery process. T1: Sour water stripper; T2: Extraction column; T3: Solvent stripper; T4: Solvent distillation column; F1~3: Flash tanks; V1~3: Storage tanks; H1~10: Cooler; C1~6: Heater.
Energies 15 09258 g001
Figure 2. Heat transfer model for stream matching.
Figure 2. Heat transfer model for stream matching.
Energies 15 09258 g002
Figure 3. Heat exchange network design procedure steps.
Figure 3. Heat exchange network design procedure steps.
Energies 15 09258 g003
Figure 4. The running process of the algorithm.
Figure 4. The running process of the algorithm.
Energies 15 09258 g004
Figure 5. Effect of column pressure of solvent stripper and solvent distillation column on the total annual cost of the heat integration process.
Figure 5. Effect of column pressure of solvent stripper and solvent distillation column on the total annual cost of the heat integration process.
Energies 15 09258 g005
Figure 6. Effect of cold-to-hot feed ratio and hot feed temperature of sour water stripper on total annual cost of heat integration process.
Figure 6. Effect of cold-to-hot feed ratio and hot feed temperature of sour water stripper on total annual cost of heat integration process.
Energies 15 09258 g006
Figure 7. Effect of the temperature of the first and second condensers on the total annual cost of the heat integration process. As indicated by the arrow, the red line represents the variation of TAC with the temperature of the first condenser, while the blue line represents the variation of TAC with the temperature of the second condenser.
Figure 7. Effect of the temperature of the first and second condensers on the total annual cost of the heat integration process. As indicated by the arrow, the red line represents the variation of TAC with the temperature of the first condenser, while the blue line represents the variation of TAC with the temperature of the second condenser.
Energies 15 09258 g007
Figure 8. Effect of feed temperature of solvent stripper and solvent distillation columns on total annual cost of heat integration process.
Figure 8. Effect of feed temperature of solvent stripper and solvent distillation columns on total annual cost of heat integration process.
Energies 15 09258 g008
Figure 9. Final heat exchange network structure. The red line represents the hot streams for heating, the blue line represents the cold streams for cooling, and the solid circle represents the heat exchanger. The arrow indicates the direction of heat transfer.
Figure 9. Final heat exchange network structure. The red line represents the hot streams for heating, the blue line represents the cold streams for cooling, and the solid circle represents the heat exchanger. The arrow indicates the direction of heat transfer.
Energies 15 09258 g009
Figure 10. Schematic diagram of the stream direction in the heat exchange network. The arrow indicates the direction of heat transfer.
Figure 10. Schematic diagram of the stream direction in the heat exchange network. The arrow indicates the direction of heat transfer.
Energies 15 09258 g010
Table 1. Wastewater feed composition.
Table 1. Wastewater feed composition.
ComponentsH2OPhenolHydroquinoneNH3CO2H2S
wt%96.181.160.232.120.5420 ppm
Table 2. Operating parameters of the stripper and distillation columns.
Table 2. Operating parameters of the stripper and distillation columns.
NameSoul Water Stripping ColumnSolvent Stripping ColumnSolvent Distillation Column
Number of stages55619
Distillate rate/kg∙h−1530254013,000
Reflux ratio//0.2
Pressure/bar6/6.051.03/1.041.03/1.05
Feed stages1 #/5 #1 #12 #
# stands for column plate serial number.
Table 3. Comparison of simulation values and actual parameters.
Table 3. Comparison of simulation values and actual parameters.
Equipment NumberIndicatorActual ValueSimulated Value
T1Top temperature/°C40~12073
Sideline temperature/°C152151
Bottom temperature/°C162159
T2Top temperature/°C40 ± 538
Bottom temperature/°C40 ± 538
T3Top temperature/°C9386
Bottom temperature/°C10199
T4Top temperature/°C100 ± 1093
Bottom temperature/°C200 ± 10201
Table 4. Information on the heat exchanger obtained from the simulation.
Table 4. Information on the heat exchanger obtained from the simulation.
No.Stream NameInitial TemperatureTarget TemperatureHeat Load
°C°CkW
H1Stripper cold feed373560.6
H2Stripper bottom outlet1594013,769.2
H3Solvent distillation column condenser113931934.5
H4Solvent distillation column bottom outlet2015597.0
H5Solvent stripper condenser8655574.2
H6Solvent stripper bottom outlet99505894.8
H71st ammonia-rich gas condenser1511384585.5
H82nd ammonia-rich gas condenser138106950.8
H93rd ammonia-rich gas condenser10640322.1
H10Ammonia condensate to tank13060775.5
C1Stripper hot feed3714611,118.2
C2Solvent distillation column feed3899834.6
C3Solvent stripper feed38875448.5
C4Stripper reboiler15915910,424.3
C5Solvent distillation column reboiler2012011712.8
C6Solvent stripper reboiler99992136.7
Table 5. Economic factor values for heat exchanger equipment and utilities.
Table 5. Economic factor values for heat exchanger equipment and utilities.
A0A1mA2A3A4A5
×10−6 USD/kJ×10−6 USD/kJ×10−6 USD/kJ×10−6 USD/kJ
072960.654.437.788.228.22
Table 6. Optimal parameters at the lowest total annual cost.
Table 6. Optimal parameters at the lowest total annual cost.
NameDesign ParametersOriginal ProcessNew ProcessUnit
Sour water stripperRatio of cold feed to hot feed0.250.15/
Hot feed temperature135146°C
Three-step partial condensation systemThe first stage condensation temperature138138°C
The second stage condensation temperature106106°C
The third stage condensation temperature4040°C
Solvent stripperPressure1.00.8atm
Feed temperature9085°C
Solvent distillation columnPressure1.01.2atm
Feed temperature100120°C
Table 7. Comparison of heat integration results with the original process.
Table 7. Comparison of heat integration results with the original process.
Equipment CostCooling WaterLow Pressure Steam (0.6 MPa)Medium Pressure Steam (1.5 MPa)Medium Pressure Steam (2.8 MPa)Total Energy ConsumptionTAC
×105 USD×105 USD/year×105 USD/year×105 USD/year×105 USD/year×105 USD/year×105 USD/year
Original process21.750.31024.683.8528.8436.09
New process17.800.05022.302.3624.7130.64
Comparison−18.2%−83.9%0−9.6%−38.7%−14.3%−15.1%
Publisher’s Note: MDPI stays neutral with regard to jurisdictional claims in published maps and institutional affiliations.

Share and Cite

MDPI and ACS Style

Ye, Q.; Zeng, J.; Li, Y.; Yuan, P.; Wang, F. Heat Integration for Phenols and Ammonia Recovery Process of Coal Gasification Wastewater Considering Optimization of Process Parameters. Energies 2022, 15, 9258. https://doi.org/10.3390/en15239258

AMA Style

Ye Q, Zeng J, Li Y, Yuan P, Wang F. Heat Integration for Phenols and Ammonia Recovery Process of Coal Gasification Wastewater Considering Optimization of Process Parameters. Energies. 2022; 15(23):9258. https://doi.org/10.3390/en15239258

Chicago/Turabian Style

Ye, Qiliang, Jiang Zeng, Yuan Li, Peiqing Yuan, and Fuchen Wang. 2022. "Heat Integration for Phenols and Ammonia Recovery Process of Coal Gasification Wastewater Considering Optimization of Process Parameters" Energies 15, no. 23: 9258. https://doi.org/10.3390/en15239258

APA Style

Ye, Q., Zeng, J., Li, Y., Yuan, P., & Wang, F. (2022). Heat Integration for Phenols and Ammonia Recovery Process of Coal Gasification Wastewater Considering Optimization of Process Parameters. Energies, 15(23), 9258. https://doi.org/10.3390/en15239258

Note that from the first issue of 2016, this journal uses article numbers instead of page numbers. See further details here.

Article Metrics

Back to TopTop