Modeling and Control of a Hybrid Multi DOF Motor for a Tilted Rotating System
Abstract
1. Introduction
2. Structure and Design of the HMDOF Motor
2.1. Structure of the HMDOF Motor
2.2. Details of the Tilting Motor
2.3. Details of the Rotating Motor
3. Modeling for HMDOF Motor Simulation
3.1. Coordinate System of the HMDOF Motor
3.2. Torque Equations of the HMDOF Motor
3.3. Torque Equation of the Tilting Motor
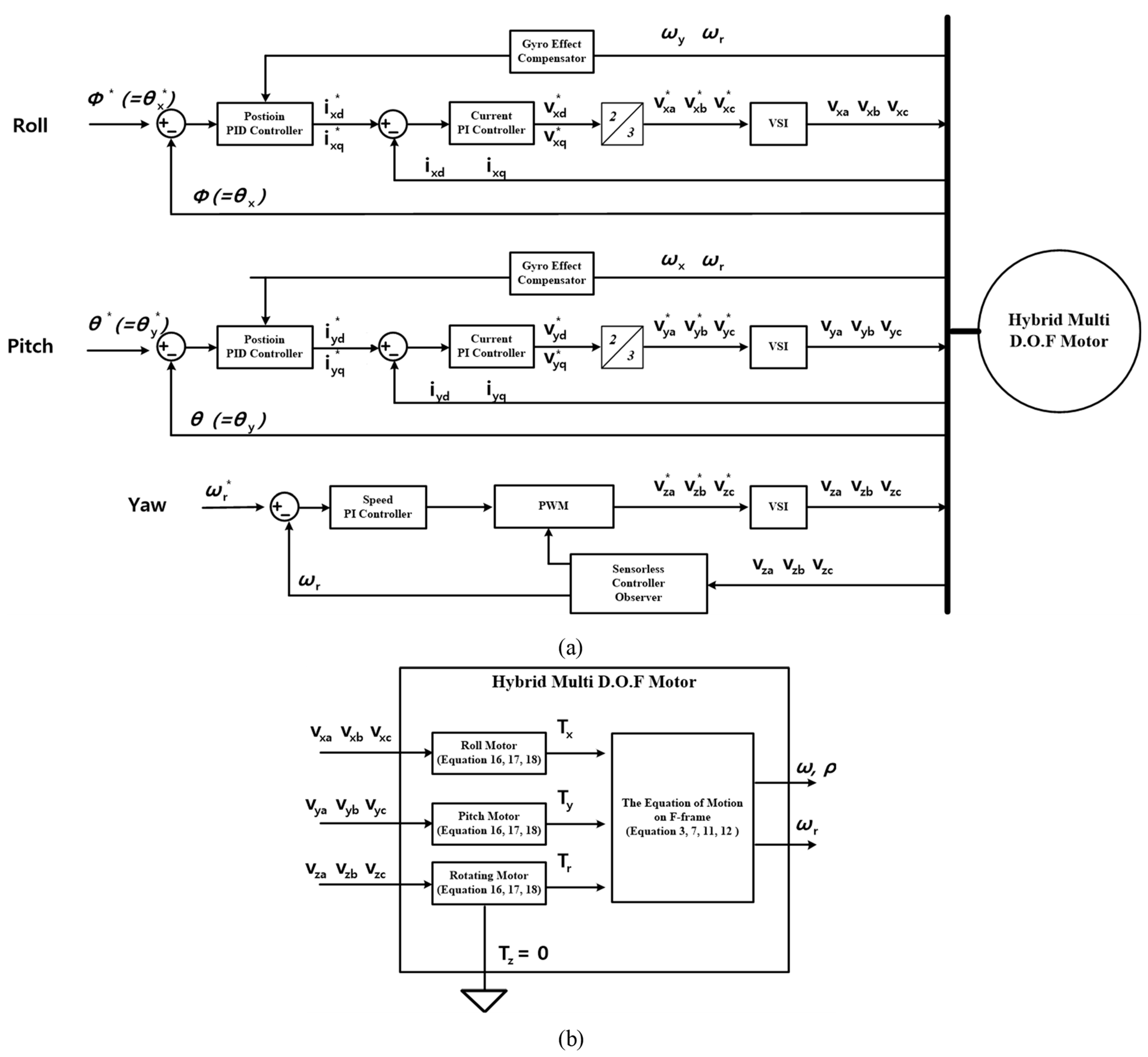
4. Simulation and Experiment of the HMDOF Motor Control
4.1. Simulation of the HMDOF Motor Control
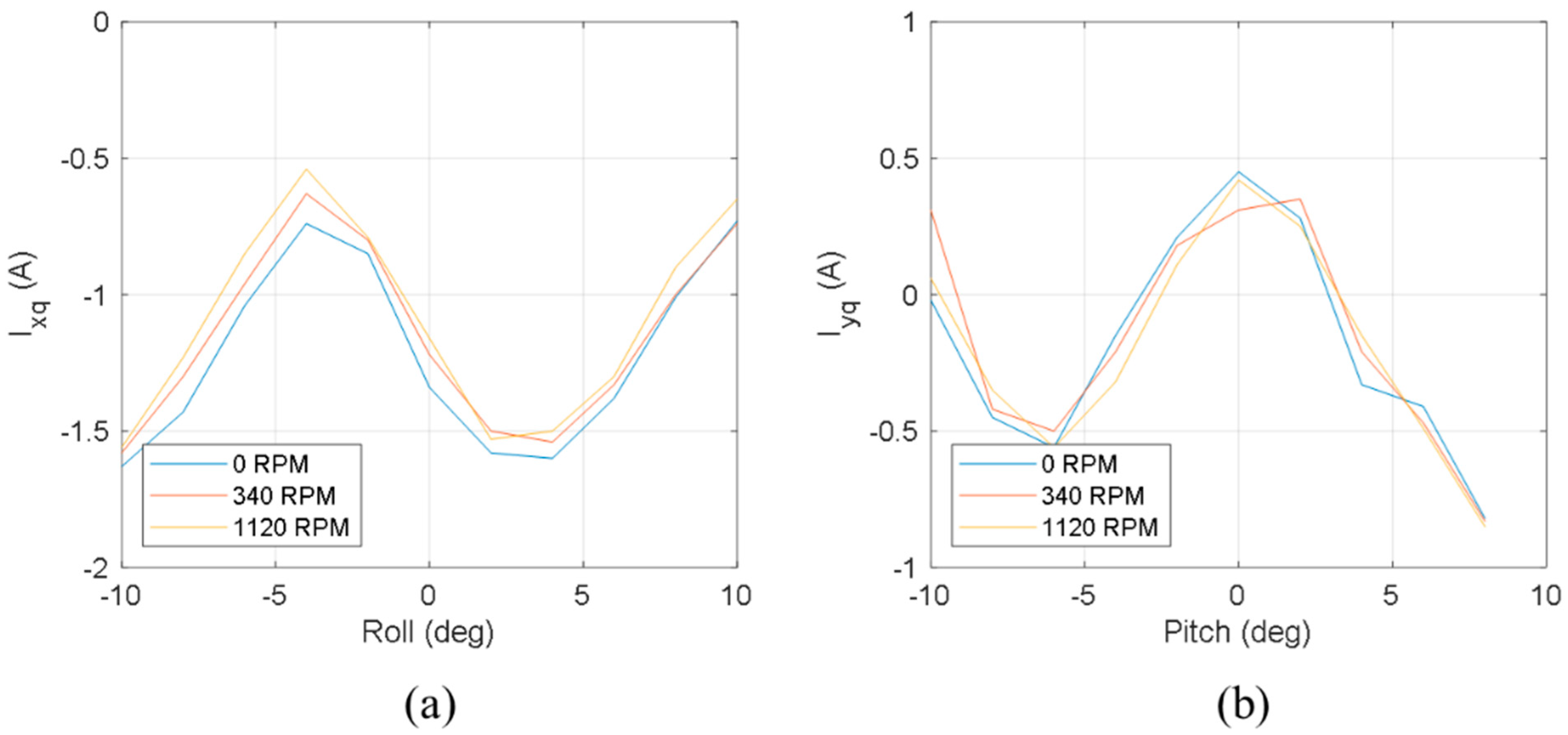
4.2. Experimnets on the HMDOF Motor Control
5. Conclusions
Author Contributions
Funding
Institutional Review Board Statement
Informed Consent Statement
Data Availability Statement
Conflicts of Interest
References
- Xia, K.; Xing, H.; Ding, L.; Gao, H.; Liu, G.; Deng, Z. Virtual decomposition based modeling for multi-DOF manipulator with flexible joint. IEEE Access 2019, 7, 91582–91592. [Google Scholar] [CrossRef]
- Cheng, J.; Bi, S.; Yuan, C.; Cai, Y.; Yao, Y.; Zhang, L. Dynamic Modeling Method of Multibody System of 6-DOF Robot Based on Screw Theory. Machines 2022, 10, 499. [Google Scholar] [CrossRef]
- Lee, D.G.; Seo, T.W. Lightweight multi-DOF manipulator with wire-driven gravity compensation mechanism. IEEE/ASME Trans. Mech. 2017, 22, 1308–1314. [Google Scholar] [CrossRef]
- Ryll, M.; Bülthoff, H.H.; Giordano, P.R. A novel overactuated quadrotor unmanned aerial vehicle: Modeling, control, and experimental validation. IEEE Trans. Control Syst. Technol. 2015, 23, 540–556. [Google Scholar] [CrossRef]
- Zheng, P.; Tan, X.; Kocer, B.B.; Yang, E.; Kovac, M. TiltDrone: A Fully-Actuated Tilting Quadrotor Platform. IEEE Robot. Autom. Lett. 2020, 5, 6845–6852. [Google Scholar] [CrossRef]
- Zhong, G.; Cao, J.; Chai, X.; Bai, Y. Design and Performance Analysis of a Triphibious Robot with Tilting-Rotor Structure. IEEE Access 2021, 9, 10871–10879. [Google Scholar] [CrossRef]
- Arakawa, A.; Hasegawa, T.; Watanabe, K.; Nagai, I. Control of Attitude Angle for a Tilted Quadrotor. In Proceedings of the 2018 IEEE International Conference on Mechatronics and Automation, Jilin, China, 5–8 August 2018. [Google Scholar]
- Elfeky, M.; Elshafei, M.; Saif, A.W.A.; Al-Malki, M.F. Quadrotor helicopter with tilting rotors: Modeling and simulation. In Proceedings of the 2013 World Congress on Computer and Information Technology, Sousse, Tunisia, 22–24 June 2013. [Google Scholar]
- Ahmed, A.M.; Katupitiya, J. Modeling and Control of a Novel Vectored-Thrust Quadcopter. J. Guid. Control Dyn. 2021, 44, 1399–1409. [Google Scholar] [CrossRef]
- Park, H.J.; Lee, H.J.; Cho, S.Y.; Ahn, H.W.; Lee, K.D.; Park, C.Y.; Won, S.H.; Lee, J. A Performance study on a permanent magnet spherical motor. IEEE Trans. Magn. 2013, 49, 2307–2310. [Google Scholar] [CrossRef]
- Jinjun, G.; Kim, D.H.; Son, H. Effects of Magnetic Pole Design on Orientation Torque for a Spherical Motor. IEEE/ASME Trans. Mech. 2013, 18, 1420–1425. [Google Scholar] [CrossRef]
- Li, Z. Robust Control of PM Spherical Stepper Motor Based on Neural Networks. IEEE Trans. Ind. Elec. 2009, 56, 2945–2954. [Google Scholar]
- Dehez, B.; Galary, G.; Grenier, D.; Raucent, B. Development of a spherical induction motor with two degrees of freedom. IEEE Trans. Magn. 2006, 42, 2077–2089. [Google Scholar] [CrossRef]
- Leve, F.A. Evaluation of Steering Algorithm Optimality for Single-Gimbal Control Moment Gyroscopes. IEEE Trans. Cont. Syst. Tech. 2014, 22, 1130–1134. [Google Scholar] [CrossRef]
- Sakaidani, Y.; Hirata, K.; Niguchi, N.; Maeda, S. Experimental verification of feedback control of a 2-DOF spherical actuator. IEEE Trans. Magn. 2014, 50, 8204404. [Google Scholar] [CrossRef]
- Lee, H.J.; Liu, H.C.; Lee, J.J.; Lee, J.; Jung, D.H. Hybrid Multi-DOF Motor for Multi-Copter Unmanned Aerial Vehicle. IEEE Trans. Mag. 2019, 55. [Google Scholar] [CrossRef]
- Lee, H.J.; Ahn, H.W.; Lee, J.K.; Lee, J.; Won, S.H. Newly proposed hybrid type mutli-DOF operation motor for multi-copter UAV systems. In Proceedings of the 2015 IEEE Energy Conversion Congress and Exposition, Montreal, QC, Canada, 20–24 September 2015. [Google Scholar]
- Hong, H.S.; Won, S.H.; Lee, H.W.; Bae, J.N.; Lee, J. Design of Torque Actuator in Hybrid Multi-DOF System Considering Magnetic Saturation. IEEE Trans. Magn. 2015, 51. [Google Scholar] [CrossRef]
- Jang, G.H.; Kim, M.G. Optimal Commutation of a BLDC Motor by Utilizing the Symmetric Terminal Voltage. IEEE Trans. Magn. 2006, 42, 3473–3475. [Google Scholar] [CrossRef]
- Zhang, H.; Liu, G.; Zhou, X.; Zheng, S. High-Precision Sensorless Optimal Commutation Deviation Correction Strategy of BLDC Motor with Asymmetric Back EMF. IEEE Trans. Ind. Inform. 2021, 17, 5250–5259. [Google Scholar] [CrossRef]
- Yao, X.; Zhao, J.; Lu, G.; Lin, H.; Wang, J. Commutation error compensation strategy for sensorless brushless DC motors. Energies 2019, 12, 203. [Google Scholar] [CrossRef]
- Giernacki, W.; Gośliński, J.; Goślińska, J.; Espinoza-Fraire, T.; Rao, J. Mathematical modeling of the coaxial quadrotor dynamics for its attitude and altitude control. Energies 2021, 14, 1232. [Google Scholar] [CrossRef]
- Lyu, P.; Lai, J.; Liu, J.; Zhang, Q. A Thrust Model Aided Fault Diagnosis Method for the Altitude Estimation of a Quadrotor. IEEE Trans. Aerosp. Electron. Syst. 2018, 54, 1008–1019. [Google Scholar] [CrossRef]
- Azid, S.I.; Kumar, K.; Cirrincione, M.; Fagiolini, A. Robust motion control of nonlinear quadrotor model with wind disturbance observer. IEEE Access 2021, 9, 149164–149175. [Google Scholar] [CrossRef]
- Singh, K.; Mehndiratta, M.; Feroskhan, M. QuadPlus: Design, Modeling, and Receding-Horizon-Based Control of a Hyperdynamic Quadrotor. IEEE Trans. Aerosp. Electron. Syst. 2022, 58, 1766–1779. [Google Scholar] [CrossRef]
- Wu, Y.; Hu, K.; Sun, X. Modeling and control design for quadrotors: A controlled hamiltonian systems approach. IEEE Trans. Veh. Technol. 2018, 67, 11365–11376. [Google Scholar] [CrossRef]











| Variables | Value | Unit |
|---|---|---|
| Max. voltage | 12 | V |
| Operating angle | −30~30 | deg |
| Outer diameter | 30 | mm |
| Inner diameter | 16.8 | mm |
| No. of turns | 480 | Turns |
| Coil diameter | 0.04 | mm |
| Air gap | 0.3 | mm |
| Magnet length | 1.5 | mm |
| Stack length | 15 | mm |
| Stator yoke | 1.3 | mm |
| Shaft diameter | 6 | mm |
| Variables | Value | Unit |
|---|---|---|
| Max. voltage | 12 | V |
| Rated speed | 3000 | Rpm |
| Outer diameter | 107.5 | mm |
| Inner diameter | 90 | mm |
| No. of turns | 13 | Turns |
| Coil diameter | 0.6 | mm |
| Air gap | 1 | mm |
| Magnet length | 1 | mm |
| Stack length | 20 | mm |
| Stator yoke | 1.25 | mm |
| Rotor yoke | 1.75 | mm |
| Variables | Value | Unit |
| Number of Poles () | 8 | - |
| DC link Voltage | 20 | V |
| Current limit | 3 | A |
| Operating angle | −15~15 | deg |
| Resistance () | 1.8 | ohm |
| Inductance () | 1.49 | mH |
| PM linkage flux () | 25.8 | mWb |
| The moment of inertia () | 0.005 | kg·m2/s |
Publisher’s Note: MDPI stays neutral with regard to jurisdictional claims in published maps and institutional affiliations. |
© 2022 by the authors. Licensee MDPI, Basel, Switzerland. This article is an open access article distributed under the terms and conditions of the Creative Commons Attribution (CC BY) license (https://creativecommons.org/licenses/by/4.0/).
Share and Cite
Park, H.-J.; Go, S.-C. Modeling and Control of a Hybrid Multi DOF Motor for a Tilted Rotating System. Energies 2022, 15, 7436. https://doi.org/10.3390/en15197436
Park H-J, Go S-C. Modeling and Control of a Hybrid Multi DOF Motor for a Tilted Rotating System. Energies. 2022; 15(19):7436. https://doi.org/10.3390/en15197436
Chicago/Turabian StylePark, Hyun-Jong, and Sung-Chul Go. 2022. "Modeling and Control of a Hybrid Multi DOF Motor for a Tilted Rotating System" Energies 15, no. 19: 7436. https://doi.org/10.3390/en15197436
APA StylePark, H.-J., & Go, S.-C. (2022). Modeling and Control of a Hybrid Multi DOF Motor for a Tilted Rotating System. Energies, 15(19), 7436. https://doi.org/10.3390/en15197436

