The Review and Development of Devices with an Increasing Rate of Penetration (ROP) in Deep Formation Drilling Based on Drill String Vibration
Abstract
:1. Introduction
2. Basic Characteristics and Law of Drill String Vibration
3. Principle and Current Situation of Down-Hole Devices with an Increasing ROP Based on Drill String Vibration
3.1. Principle of Pressurization and Acceleration of Down-Hole Drilling Fluid Based on Drill String Vibration
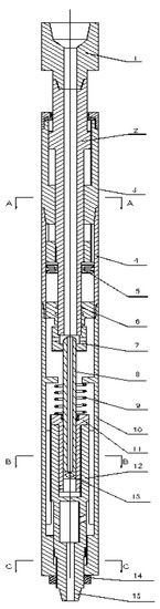
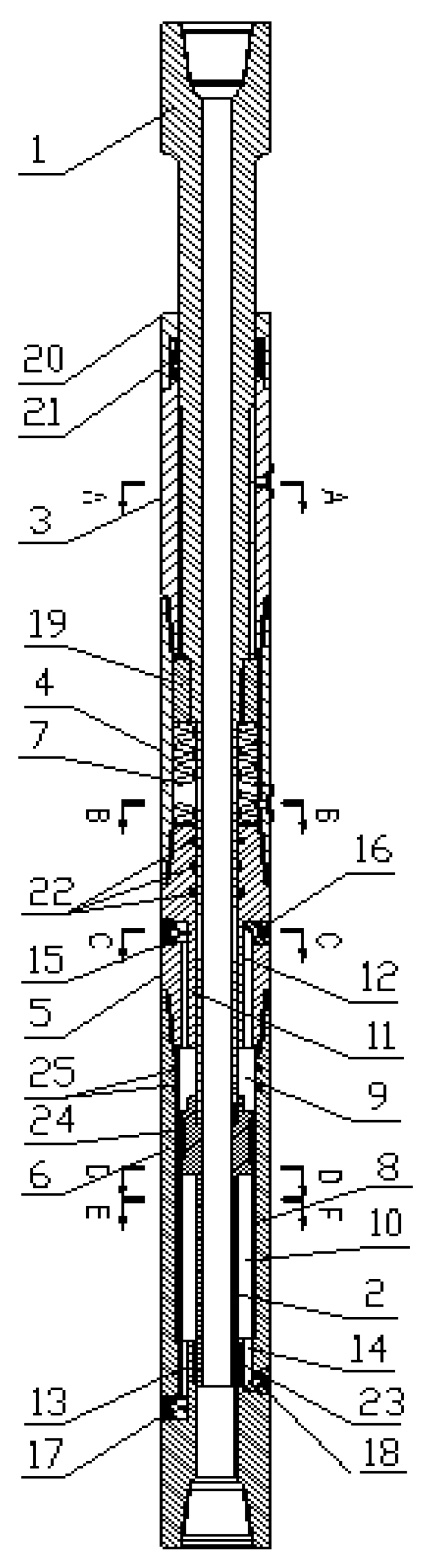
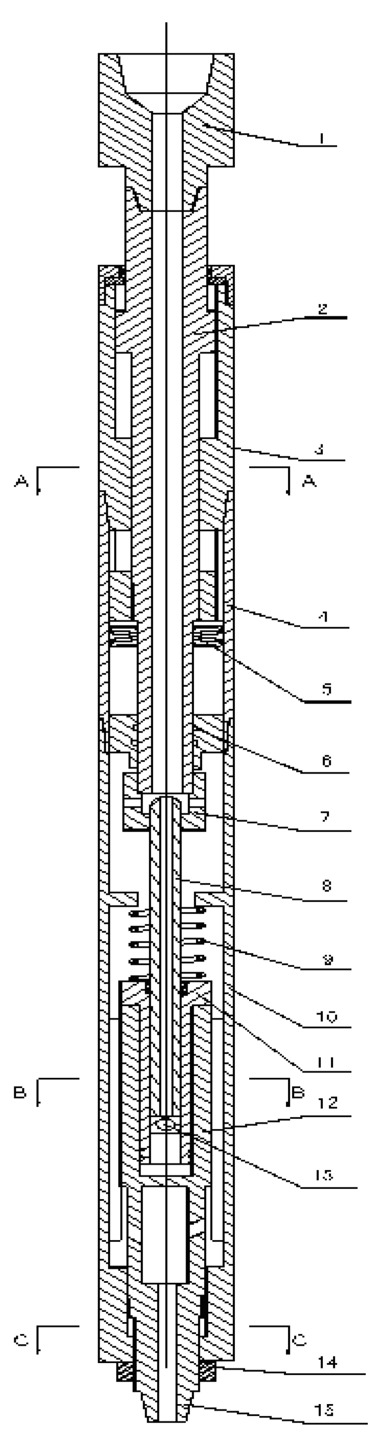
3.2. Drilling String Shock Absorption and Down-Hole Hydraulic Pressurizing Device
3.3. Drilling String Absorption and Hydraulic Pulsed Jet Generator Device
3.4. A Down-Hole High-Pressure Jet Drilling Device Transforming Drilling String Vibration Energy
4. New Ideas of Down-Hole Devices with an Increasing ROP Based on Drill String Vibration
4.1. Mechanical Down-Hole Vibration Absorption Impact Drilling Tool
4.2. Down-Hole Torsional Impact Excitation Device Based on Drill String Vibration
4.3. Bottom-Hole Annulus Drilling Fluid Pressure-Reducing Device Based on Drill String Vibration
5. The Future Development Prospects of Speed-Raising Devices
6. Conclusions and Understanding
Author Contributions
Funding
Institutional Review Board Statement
Informed Consent Statement
Data Availability Statement
Conflicts of Interest
References
- Li, H.; Zhu, M.; Pan, X.; Wang, H. Downhole boost pressure drilling technology and the road ahead. Oil Drill. Prod. Technol. 1998, 20, 20–24. [Google Scholar]
- Yanglie, Z.; Zaiyang, W. Violent vibration and control of drill string. Oil Field Equip. 1999, 28, 6–10. [Google Scholar]
- Hu, S.Y.; Zhang, L.H.; Liao, Q.B. Development of modern drilling technology and future of petroleum exploration and production. Nat. Gas Ind. 2005, 25, 93–96. [Google Scholar]
- Shen, Z. Development trend of the modern drilling technology. Pet. Explor. Dev. 2005, 32, 89–91. [Google Scholar]
- Dou, L.B.; Shen, Z.H.; Li, G.S.; Fu, J.S.; Wang, H.Z. Research prograss on ultra-high pressure jet drilling by down-hole pressure boost. Spec. Oil Gas Reserv. 2012, 19, 1–7. [Google Scholar]
- Wang, Z. Discussion on theory & methodology of suctionpulse drilling technique. Oil Drill. Prod. Technol. 2005, 27, 13215. [Google Scholar]
- Liu, C.Q.; Xu, M.L.; Tang, P.H. Present situation and development trent of downhole electromotive drill. Drill. Prod. Technol. 2008, 31, 115–117. [Google Scholar]
- Guan, Z.C.; Liu, Y.W.; Wei, W.Z.; Bo, H.; Xu, Y.; Shi, Y. Downhole drill string absorption & hydraulic supercharging device’ working principle and analysis of speed-increasing effect. Pet. Drill. Technol. 2012, 40, 8–13. [Google Scholar]
- Liao, L.; Guan, Z.; Shi, Y.; Liu, Y.; Wu, D. Mechanism and applicability of increasing drilling rate for downhole boosting device. Acta Pet. Sin. 2015, 36, 1141–1147. [Google Scholar]
- Liu, Y.; Guan, Z.; Zhang, H. Research status and prospect of ROP-enhancing technology based on drill string vibration. China Offshore Oil Gas 2017, 29, 131–137. [Google Scholar]
- Guo, X.; Yang, J.; Zhou, D. Development and prospect of the drilling technologies in 2019. World Pet. Ind. 2019, 26, 64–69. [Google Scholar]
- Xu, Y.; Zhou, C.; Qi, W. A new design of downhole supercharger. Mach. Hydraul. 2010, 38, 61–64. [Google Scholar]
- Li, G.; Shi, H.; Zhonghou, S. Mechanisms and tests for hydraulic pulsed cavitating jet assisted drilling. Petroeum Explor. Decelopment 2008, 35, 239–243. [Google Scholar]
- Su, Y.; Lu, B.; Liu, Y. Status and research suggestions on the drilling and completion technologies for onshore deep and ultra deep wells in China. Oil Drill. Prod. Technol. 2020, 43, 527–542. [Google Scholar]
- Wang, H.; Huang, H.; Bi, W.; Ji, G.; Zhou, B.; Zhou, L. Deep and ultra-deep oil/gas well drilling technologies: Progress and prospect. Nat. Gas Ind. 2021, 41, 163–177. [Google Scholar]
- Hou, X.; Guo, Z. Present situation and development trend of oil drilling technology in China. Chem. Eng. Des. Commun. 2021, 47, 36–37. [Google Scholar]
- Wei, W.Z.; Guan, Z.C.; Liu, Y.W.; Shi, Y.C. Experimental research on longitudinal vibration characteristics of pendulum assembly in straight hole. J. China Univ. Pet. (Ed. Nat. Sci.) 2007, 31, 64–68. [Google Scholar]
- Liu, Y. Design Research on Drilling String Shock Absorption & Down Hole Hydraulic Pressurizing System. Master’s Thesis, College of Petroleum Engineering in China University of Petroleum (East China), Dongying, China, 2007; p. 7. [Google Scholar]
- Liu, Y.; Guan, Z.; Wei, W. Experimental study on rotary characteristics of bottom pendulum assembly. Drill. Prod. Technol. 2008, 31, 27–29. [Google Scholar]
- Yongwang, L.; Zhichuan, G.; Yucai, S. Experimental research on rotation and longitudinal vibration regularity of slick bottom hole assembly in bottom hole. Oil Field Equip. 2012, 41, 52–56. [Google Scholar]
- Guan, Z.; Wei, W.; Liu, Y. Drilling String Shock Absorption & Down Hole Hydraulic Pressurizing System. CN 201010119842.0, 18 August 2013. [Google Scholar]
- Zhang, P.; Zhu, Y.; Zhang, Q.; Song, Z.; Yu, W.; Liang, C. Research and development of automatic and intelligent technologies for drilling rig. China Pet. Mach. 2015, 43, 13–17. [Google Scholar]
- Yang, M.; Yang, Y.; Bian, W.; Wu, J. Drilling progress and technological improvement of ultradeep wells in Russia. Oil Drill. Prod. Technol. 2021, 43, 15–20. [Google Scholar]
- Li, G.; Liao, H.; Huang, Z.; Shen, Z.H. Rock damage mechanisms under ultra-high pressure water jet impact. J. Mech. Eng. 2009, 45, 284–293. [Google Scholar] [CrossRef]
- Zhang, Y.Y.; Liu, Y.W.; Xu, Y.J.; Ren, J.H. Drilling characteristics of combinations of different high pressure jet nozzles. J. Hydrodyn. Ser. B 2011, 23, 384–390. [Google Scholar] [CrossRef]
- Guan, Z.; Liu, Y.; Wei, W.; Guan, B.; Shi, Y.; Zhang, H. Ultra High Pressure Drilling Fluid Flow System and Its Construction Method for Underground Supercharger. CN 201110171384.X, 23 June 2011. [Google Scholar]
- Guan, Z.; Liu, Y.; Wei, W.; Bo, H.; Xu, Y.; Shi, Y. Downhole drill string absorption & hydraulic supercharging device’ structure principle and its field application. Pet. Drill. Technol. 2012, 40, 8–13. [Google Scholar]
- Liu, Y.; Guan, Z. Discussion on the energy sources of down-hole accelerate ROP Tool in the process of drilling deep or ultra-deep well. In Proceedings of the International Conference on Remote Sensing, Environment and Transportation Engineering (RSETE 2012), Nanjing, China, 1–3 June 2012; pp. 886–890. [Google Scholar]
- Guan, Z.; Liu, Y.; Wei, W.; Zhang, H. The System for Used Ultra High Pressure to Improve Drilling Speed. CN 201210207320.5, 21 June 2012. [Google Scholar]
- Guan, Z.; Liu, Y.; Xu, Y.; Zhang, H. The Ultra High Pressure Pulse Jet Assisted Rock Breaking and Improving Drilling Speed System. CN 201220669797.0, 12 June 2013. [Google Scholar]
- Zhang, H. Design and Application of Hydraulic Pulsed Jet Generator Based on the Research of Fluctuation of Weight on Bit in Vertical Well; College of Petroleum Engineering in China University of Petroleum (East China): Qingdao, China, 2016; p. 3. [Google Scholar]
- Ye, H. Present conditions and development trends of drilling engineering technology. Oil Forum 2018, 37, 23–31. [Google Scholar]
- Yang, Y.; Zhu, G.; Zhang, Z.; Li, X.; Tian, H.; Guo, X. Noteworthy advanced international petroleum engineering technology. Oil Forum 2012, 31, 43–50. [Google Scholar]
- Guan, Z.; Liu, Y.; Zhang, H.; Shi, Y.; Liao, H. Drilling String Absorption & Hydraulic Pulsed Jet Generator System and Drilling Method. CN 201310047969.X, 6 February 2013. [Google Scholar]
- Guan, Z.; Zhang, H.; Liu, Y. Downhole Full Displacement Pressurizing System. CN 201320133787.X, 4 September 2013. [Google Scholar]
- Liu, Y.; Guan, Z.; Zhang, H.; Ma, G.; Jia, X.; Chen, B.; Chen, X.; An, L. A downhole high-pressure jet drilling device transforming drilling string vibration energy. Nat. Gas Ind. 2017, 37, 91–96. [Google Scholar]
- Yang, S.; Zhang, P.; Wang, F. Prospect of new control technologies on drilling rigs and drilling operations. China Pet. Mach. 2019, 47, 9–16. [Google Scholar]
- Calderoni, A.; Savini, A.; Treviranus, J.; Oppelt, J. Outstanding economic advantages based on new straight-hole drilling device proven in various oilfield locations. In Proceedings of the SPE Annual Technical Conference and Exhibition, Houston, TX, USA, 3–6 October 1999. [Google Scholar]
- Guan, Z.; Liu, Y.; Shi, Y. Mechanical Downhole Vibration Absorption Impact Drilling Tool. CN 201010617044.0, 25 June 2014. [Google Scholar]
- Liu, Y.; Guan, Z.; Hu, H. Downhole Torsional Impact Excitation Device Based on Drill String Vibration. CN 201410514618.X, 29 September 2014. [Google Scholar]
- Liu, Y.; Guan, Z.; Shi, Y. Bottom Hole Annulus Drilling Fluid Pressure Reducing Device and Method Based on Drill String Vibration. CN 201811401209.3, 22 November 2018. [Google Scholar]








Publisher’s Note: MDPI stays neutral with regard to jurisdictional claims in published maps and institutional affiliations. |
© 2022 by the authors. Licensee MDPI, Basel, Switzerland. This article is an open access article distributed under the terms and conditions of the Creative Commons Attribution (CC BY) license (https://creativecommons.org/licenses/by/4.0/).
Share and Cite
Liu, Y.; Niu, Y.; Guan, Z.; Lyu, S. The Review and Development of Devices with an Increasing Rate of Penetration (ROP) in Deep Formation Drilling Based on Drill String Vibration. Energies 2022, 15, 7377. https://doi.org/10.3390/en15197377
Liu Y, Niu Y, Guan Z, Lyu S. The Review and Development of Devices with an Increasing Rate of Penetration (ROP) in Deep Formation Drilling Based on Drill String Vibration. Energies. 2022; 15(19):7377. https://doi.org/10.3390/en15197377
Chicago/Turabian StyleLiu, Yongwang, Yixiang Niu, Zhichuan Guan, and Shuquan Lyu. 2022. "The Review and Development of Devices with an Increasing Rate of Penetration (ROP) in Deep Formation Drilling Based on Drill String Vibration" Energies 15, no. 19: 7377. https://doi.org/10.3390/en15197377
APA StyleLiu, Y., Niu, Y., Guan, Z., & Lyu, S. (2022). The Review and Development of Devices with an Increasing Rate of Penetration (ROP) in Deep Formation Drilling Based on Drill String Vibration. Energies, 15(19), 7377. https://doi.org/10.3390/en15197377
