Next Article in Journal
Impact of Solar Thermal Energy on the Energy Matrix under Equatorial Andean Context
Next Article in Special Issue
Cooling Modelling of an Electrically Heated Ceramic Heat Accumulator
Previous Article in Journal
Improved Active Disturbance Rejection Control (ADRC) with Extended State Filters
Previous Article in Special Issue
How to Improve an Offshore Wind Station
 
 
Font Type:
Arial Georgia Verdana
Font Size:
Aa Aa Aa
Line Spacing:
Column Width:
Background:
Article

Identification of Transient Steam Temperature at the Inlet of the Pipeline Based on the Measured Steam Temperature at the Pipeline Outlet

Department of Thermal Processes Air Protection and Waste Utilization, Cracow University of Technology, 31155 Cracow, Poland
Energies 2022, 15(16), 5804; https://doi.org/10.3390/en15165804
Submission received: 21 July 2022 / Revised: 5 August 2022 / Accepted: 8 August 2022 / Published: 10 August 2022
(This article belongs to the Special Issue Numerical Heat Transfer and Fluid Flow 2022)

Abstract

:
A solution to the inverse heat transfer problem (IHP) occurring in steam pipelines is presented in the paper. The transient steam temperature at the pipeline inlet was determined from the steam temperature measured at the pipeline outlet. Temporary changes of steam temperature at the turbine inlet are set by the turbine manufacturer and result from the conditions of safe starting of the turbine and maintaining high durability of its components. The boiler start-up should be carried out so that the time-temperature changes at the boiler outlet equal the time-temperature changes determined using the inverse problem. In this paper, the inverse problem of heat transfer in the pipeline was solved by the finite volume method using data smoothing, future times steps, and Tikhonov regularization that stabilized the solution of the inverse problem. The determined transient steam temperature at the pipeline inlet was compared with the measured temperatures. The steam temperature at the inlet to the pipeline, which is the solution to the inverse problem, agrees very well with the measured temperature, as the absolute value of the relative difference ε T between measured and calculated temperature is between 0.045% and 0.3%, and the root mean square error RMSE is within the range of 0.038 K to 0.322 K.

1. Introduction

In inverse problems, the boundary conditions are identified, or the fluid physical properties are determined based on the measured responses of the system.
Typically, inverse heat conduction problems (IHCP) are solved, and much less attention is paid to inverse convective heat transfer issues in the literature.
A method for solving non-linear inverse heat conduction using the space marching method is presented in [1]. The internal surface temperature of the cylindrical element and the heat flux was determined from the measured wall temperature using a temperature sensor near the inner surface of the element. The resulting temperature distribution across the component wall was used to calculate the thermal stresses at the inner surface. The excellent accuracy of the method presented in [1] was achieved by eliminating random disturbances of measured wall temperature and its first-order derivative using moving digital filters.
Inverse problems are often solved for unsteady heat conduction [2,3]. The paper [2] presents the solution to the IHCP using the Trefftz method. The authors presented two methods for solving IHCPs. The conjugate gradient method with the Tikhonov regularization method was used to stabilize the inverse solution when measured temperatures were perturbed with random errors. They showed that the regularization results in a shorter computation time, while methods using iterations do not always lead to convergent solutions. The paper [2] shows that Trefftz numerical functions can be used to solve non-linear IHCP.
An algorithm is presented in [3] for the solution of an IHCP: for determining the steady-state distribution of the heat transfer coefficient (HTC) on one surface of a slab wall from the known temperature distribution in a plane inside the slab. It was assumed that the thermal boundary conditions on the other wall surfaces were known.
The algorithm is based on the finite volume discretization of the slab and on the formulation and the subsequent inversion of square matrices linking the wall surface temperature and heat flux to that of measured temperature at the inner plane [3].
The paper [4] presents a sequential gradient-based method for non-linear one-dimensional heat conduction. A quasi-Newton update strategy was used to determine the transient HTC on the solid surface. Compared to the traditional sequential conjugate gradient method, the proposed method gave more accurate, reliable, and stable results.
There are considerable stability problems with the solutions of the IHCPs, which are very sensitive to random temperature measurement errors. The paper [5] developed a hybrid algorithm for selecting regularization parameters which give low error variances for estimated parameters. Consequently, the algorithm can reduce the total error and provide better stability for the IHCP solution.
Determining the unsteady temperature of flowing fluid at high pressure from thermometer indications is also an inverse problem [6,7]. Accurate fluid temperature measurement is critical since correct identification of thermal stresses depends heavily on it.
A new method for determining the fluid temperature based on measuring the temperature of the pipeline wall near its inner surface and the readings of a thermometer is presented in [6]. The thermometer for measuring the temperature of a flowing fluid has the form of a solid cylinder in the axis of which the temperature is measured using a thin thermocouple. The fluid temperature determined from the pipeline wall temperature measurement and the temperature determined from the thermometer readings should be equal. From this temperature equality condition, the correlation to Nusselt’s number was determined on the outer surface of a thermometer transversely swept by steam or another fluid.
Jaremkiewicz et al. [7] present a method for measuring the unsteady steam temperature based on a new fast response thermometer. The proposed thermometer can be adapted to a wide range of temperatures and steam pressures by optimum design and suitable materials for the thermometer housing. This paper [7] demonstrates the effect of temperature measurement accuracy on the values of stresses calculated in pressure components.
The permissible time variations of fluid temperature and pressure in pipelines and other pressure components can be determined using the procedure outlined in [8], which is based on the European Standard [9] for calculating allowable heating and cooling rates for thick-walled components. The fluid temperature was determined from the solution of the first-order ordinary differential equation for time, considering that the allowable rate of fluid temperature change is a linear function of fluid pressure.
An essential issue of the flexibility of thermal power blocks is to optimize pipeline heating and cooling so that the sum of circumferential thermal and pressure stress at the edge of the pipeline opening is less than the allowable stress. The optimum time variations of the fluid temperature are determined using the solution to the IHP [10]. The heating time of the cylindrical element from the initial temperature to the given final temperature is about 40% shorter than the heating time determined using the European Standard [9].
The interesting IHP was solved in [11]. The rotational speed of the fan forcing air through the heat exchanger was sequentially determined so that the calculated water temperature at the heat exchanger outlet was equal to the set temperature. The golden section method was used to solve the non-linear IHP. Three methods were used to stabilize the determined fan speed: the Tikhonov regularization method, Beck’s future time steps, and smoothing of the measured outlet water temperature using a moving averaging filter.
IHPs also occur in identifying leakages in various types of aboveground and underground pipelines. Leakages are usually identified by measuring the flow and thermal parameters of the flowing fluid or medium around the pipeline.
A review and comparative study of computer-based methods for pipeline leak detection were carried out in [12].
A method for leak detection in buried pipelines based on measurements of the temperature and moisture of the soil was developed in [13]. A CFD (Computational Fluid Dynamics) modelling was used to validate the proposed method.
During start-up, shut-down, and load changes, thick-walled steam boiler elements operating under high pressure and high-temperature conditions cause high thermal stresses. In thick walls, significant temperature differences occur during transient operation, accompanied by the formation of high thermal stresses. The largest, in value, stresses and deformations usually occur at the edges of openings. Circumferential stresses at the hole’s edge of varying signs, compressive during heating and tensile during cooling, causing fatigue cracking. The stresses lead to low-cycle cracking, failure, and accelerated degradation of the block components [14]. For this reason, thick-walled boiler elements limit the maximum heating and cooling rates during the start-up or shut-down of the boiler.
The heating of the steam pipeline connecting the boiler to the turbine is essential for the start-up of the boiler and turbine [15]. The pipeline design, internal and external diameters, length, and material for a steam boiler type are different and depend on the operating parameters of the steam. The working fluid, i.e., superheated steam fed to the turbine, must have appropriate parameters (temperature and pressure). Moreover, the large wall pipeline thickness and the length pipeline influence the fluid temperature drop. Significant changes in the working fluid parameters substantially affect the lifetime of turbine components. It is not only the turbine rotor at risk but also the turbine casing as thick-walled components.
The literature on modelling thermal-flow phenomena in pipelines is scarce despite its very high practical relevance.
It is difficult to find information in the literature on modelling steam pipelines’ transient operation. The steam and pipeline wall temperatures at the given boundary and initial conditions were determined numerically in [16]. The direct heat transfer problem was solved using the finite volume method.
Flow and thermal phenomena in superheater tubes are much more frequently analyzed [17,18,19,20,21]. Due to the small wall thickness of superheater tubes, little attention is paid to the temperature distribution over the wall thickness. The wall thickness of the pipeline is much greater. There are often holes in the walls of the pipelines with a high concentration of stresses at their edges. A high concentration of thermal stresses also occurs in Y- or T-shaped tees in the pipelines. For this reason, pipelines’ flow-thermal and strength analysis is highly important for their safe long-term operation.
Two types of models analyze heat transfer in pipelines and tube heat exchangers. The first is a model with distributed parameters, in which the system of partial differential equations is solved to determine the fluid and wall parameters [21,22]. The second model is a model with concentrated parameters, described by the system of ordinary differential equations [23]. The solution to the IHCP can be used to determine the temperature distribution in the wall of pressure thick-walled elements [24,25,26]. Solving inverse problems is very sensitive to random measurement errors [24,25]. Therefore, the measured time changes in the temperature are approximated by an appropriate function, or digital filters are used to eliminate random errors from the input data [18,27].
This paper developed a new numerical model of the steam pipeline. The pipeline connects the boiler to the turbine. The steam turbine works at specific input parameters of superheated steam. To ensure its safe and trouble-free start-up operation, the changes in time of the input steam parameters cannot be rapid, and the steam temperature cannot differ more from the rotor and turbine casing temperature compared to allowed values. Too rapid a steam temperature change may cause high stresses in the pipeline and the turbine’s structural components. The steam temperature at the outlet of the pipeline connecting the boiler and the turbine, i.e., before the turbine, depends on the steam temperature at the steam pipeline inlet.
In this work, the new IHP was solved to determine the time variation of temperature at the pipeline inlet with a known temperature at the turbine inlet. The time variation of the temperature at the turbine inlet is due to the conditions of safe turbine start-up or the steam temperature before the turbine is known from measurements. To the author’s knowledge, the IHP solved in this paper has not yet been analyzed in the available literature.

2. Numerical Model

A scheme of the steam pipeline connecting the boiler with the turbine in a 120 MW unit is shown in Figure 1. Superheated steam from the last superheater stage flows into the outlet chambers, connected from both sides of the boiler with steam pipelines (2 rin = 245 mm, sw = 30 mm). Next, the pipelines are connected through a T-pipe to the main steam pipeline (2 rin = 324 mm, sw = 40 mm).
First, the analyzed domain consisting of steam pipeline and steam was divided into control volumes (Figure 2). In the radial direction, the pipeline is divided into n finite volumes, and in the longitudinal direction into m finite volumes. Only half of the pipeline was analyzed due to symmetry.
The equation of the transient heat transfer for the pipeline wall has the form
ρ w   c p , w T w t = · [ k w ( T w )   T w ]
The heat balance Equation (1) in a cylindrical coordinate system is as follows
ρ w   c p w T w t = 1 r r [ r   k w ( T w ) T w r ] + z [ k w ( T w ) T w z ]
Heat balance equations were formed for each node, including nodes in control volumes near the boundary with the steam. For example, the equation for a node i for a control volume located in the wall area is
d T w , i d t = a ( T w , i ) k w ( T w , i ) [ r j Δ r k w ( T w , i ) + k w ( T w , ( i 1 ) ) r j + 1 2 r j 2 ( T w , ( i 1 ) T w , i ) + r j + 1 Δ r k w ( T w , ( i + 1 ) ) + k w ( T w , i ) r j + 1 2 r j 2 ( T w , ( i + 1 ) T w , i ) + k w ( T w , ( i + n + 1 ) ) + k w ( T w , i ) 2 ( Δ z ) 2 ( T w , ( i + n + 1 ) T w , i )                                            + k w ( T w , ( i n 1 ) ) + k w ( T w , i ) 2 ( Δ z ) 2 ( T w , ( i n 1 ) T w , i ) ]                                        
where:
Δ r = r o u t r i n   n ,     Δ z = L m
The symbol n denotes the number of the control volumes in radial directions in the pipeline wall. Over the length of the pipeline, we have m finite volumes of length Δz. Similarly, the heat balance equations for the steam region were formed. For example, after transformation, the heat balance equation for a node i takes the form
d T f , i + 1 d t = m ˙ ρ f ( T f , i )   A T f , i + 1 T f , i Δ z h i n ( T c z , i )   U i n A   ρ f ( T f , i )   c p , f ( T f , i ) [ T f , i + 1 + T f , i 2 T w , i ( n + 1 ) + 1 + T w , ( i 1 ) · ( n + 1 ) + 1 2 ]
After formulating the energy conservation equation for all control volumes, a system of ordinary differential equations was obtained. The Runge-Kutta method of the fourth order was used to solve the formed system of ordinary differential equations.
The following boundary and initial conditions were assumed
T f | t = 0 = T 0
T w | t = 0 = T w , 0
T f | z = 0 = f ( t )
k w T w r | r = r i n = h i n ( T w | r = r i n T f )
k w T w r | r = r o u t = 0
k w T w z | z = 0 = 0
k w T w z | z = L = 0
The heat transfer coefficient hin (Figure 2) on the inside surface of the pipeline was determined from the following formula
h i n = N u   k f   d i n
The correlation proposed by Taler [28] was used to determine Nusselt numbers Nu in Equation (13)
N u = N u m , q ( R e = 2300 ) + ( ξ 8 ) ( R e 2300 ) P r 1.008 1.08 + 12.4 ( ξ 8 ) ( 1 2 ) ( P r ( 2 3 ) 1 ) [ 1 + ( d i n L ) ( 2 3 ) ] 2300 < R e < 10 6 ,     0.1 < P r < 1000                
The friction factor ξ in Equation (14) is given by the correlation of Taler [29]
ξ = [ 1.2776 log ( R e ) 0.406 ] 2.246
The symbol N u m , q ( R e = 2300 ) designates the Nusselt number at Re = 2300 for laminar flow at the tube with constant wall heat flux [30]. At the beginning of the transitional flow, i.e., the end of the laminar flow for Reynolds number Re = 2300, the second term on the right-hand side of Equation (14) is equal to zero.

3. Inverse Problems in Heating up the Pipeline Connecting the Boiler with the Turbine during the Start-Up of the Unit

The paper presents a numerical method to determine the steam temperature as a function of time at the pipeline inlet Tf(t)|z=0m, at which the steam temperature at the pipeline outlet Tf(t)|z=45m (turbine inlet) is known f(t) from the measurement. The problem formulated in this way is an inverse transient heat transfer problem. The inverse problem is much more difficult to solve than the direct one, as random errors influence the stability and accuracy of the determination of the inlet steam temperature in the measured transient steam temperature at the outlet of the pipeline.
Random measurement errors influence the solution of IHP significantly. Therefore, the measured temperature variation was approximated by a local polynomial of third-degree with respect to time. Similarly, the accuracy of approximation of the time derivatives from measured steam temperature f(t) is essential. In numerical methods, for example, moving digital filters or so-called future steps are used to reduce the impact of random measurement errors.
The following assumptions were adopted in the solution of the IHP:
  • the steam temperature g(t) at the outlet of the pipeline is known from the measurements,
  • the external surface of the pipeline as well as the cross-section of the pipeline wall at the inlet and outlet of the pipeline, are perfectly thermally insulated,
  • the transient temperature field in the pipeline wall is two-dimensional, while in the steam region, it is one-dimensional, i.e., the temperature of the steam flowing through the pipeline varies only along the steam flow path,
  • the pipeline inlet steam temperature is determined from the measured time variations of the pipeline outlet temperature, i.e., from the solution of IHP.
Random measurement errors from the measured temperature and its first-order derivative after time are partly eliminated using moving digital filters. The Beck future time steps [24] in solving IHCP are also applied. Future steps are an effective tool for increasing the stability of solutions to inverse problems and making it possible to determine the time variation of the inlet temperature with a smaller time step. Beck’s concept of future time steps is extended in this paper. The time step of the solution of the inverse problem is several to a dozen times larger than the integration step of the system of differential equations present in the solution of the direct problem. The single time step in solving the inverse problem is divided into smaller time steps, the size of which is derived from the stability condition for the solution of the direct problem.
The temperature Tf(t)|z=0 = Tf1 of the steam at the pipeline inlet was determined sequentially (Figure 2).
The steam inlet temperature in the time interval tM−1 < t < tM+F (Figure 3) was determined using the least squares method with F future time steps. The following squared differences between the calculated steam temperature T f , m + 1 c a l c ( t ) , and measured fluid temperatures T f , m + 1 m e a s ( t ) over the time interval [tM−1, tM+F] must be minimum (Figure 3).
S [ T f , 1 c a l c ( t M ) ] = t M 1 t M + F [ T f , m + 1 c a l c ( t ) T f , m + 1 m e a s ( t ) ] 2 d t + w r , ( d T f , 1 c a l c ( t ) d t | t = t M ) 2 m i n
The second term on the right-hand side of Equation (16) represents the regularization term of order one in the Tikhonov regularization [31] that is used in this paper. The inlet steam temperature Tf,1(tM) was determined with a basic time step equal to Δtb = tM − tM−1 = kb Δt. The time step Δtb is a multiple of the step Δt used to solve a direct heat transfer problem using the finite volume method. At the time t = tM−1, the steam inlet temperature Tf,1(tM−1) is known, while the steam temperature Tf,1(tM) at the time t = tM was sought. The time step Δtb should be chosen so that the change of steam temperature at the pipeline inlet Tf,1 at time t = tM−1 caused the change of steam temperature at the pipeline outlet at time t = tM.
Step Δtb is kb times larger than step Δt used in determining the temperatures of the pipeline wall and steam from Equations (3) and (5), respectively. The step Δt must not be too large for the solution of the system of Equations (3)–(5) to be stable.
To ensure the stability of determining the wall and steam temperature should be the Fourier stability condition for the wall, and the Courant-Friedrichs-Lewy condition for the steam should be satisfied. The allowable time step Δt results from the Courant-Friedrichs-Lewy condition [32].
w z , i Δ t   Δ z   1 ,               i = 1 ,   , m + 1
The steam velocity wi at the i-th finite volume inlet is calculated from the following equation
w z , i = 4   m ˙ π   ρ i   d i n   2  
where the symbol ρ i denotes the steam density at the i-th finite volume inlet.
The steam temperature at the pipeline inlet was determined with the time step Δtb based on the preset steam temperature at the pipeline outlet. The steam temperature at the pipeline outlet was calculated with a time step Δt using the mathematical model of the pipeline developed. The steam temperature T f , 1 c a l c ( t M ) was determined by minimizing the sum given by Equation (16).
S [ T f , 1 c a l c ( t M ) ] = i = 1 k b ( F + 1 ) [ T f , m + 1 c a l c ( t i ) T f , m + 1 m e a s ( t i ) ] 2 + w r ( T f , 1 c a l c ( t M + F ) T f , 1 c a l c ( t M 1 ) t M + F t M 1 ) 2
where w r = w r , / Δ t , t i = t M 1 + i Δ t ,   i = 1 , ,   k 2 ( F + 1 ) .
Equation (19) is the discrete form of Equation (16), calculating the integral in Equation (16) using the rectangular method.
For too small values of basic step Δtb, it is not possible to determine the steam temperature variation Tf,1 at the pipeline inlet in the time interval tM−1 ≤ t ≤ tM based on the set or measured outlet steam temperature variation T f , m + 1 m e a s ( t ) . For a too small time step Δtb, there are instabilities in the determined pipeline inlet temperature.
For the solution stabilization, the future time interval tM ≤ t ≤ tM+F is used (Figure 3).
By increasing the analyzed time interval from tM−1 ≤ t ≤ tM to tM−1 ≤ t ≤ tM+F, there is a measurable change in steam temperature at the pipeline outlet T f , m + 1 c a l c ( t ) as a result of the temperature change of the fluid at the pipeline inlet T f , 1 c a l c ( t ) during the time tM−1. After determination of the fluid temperature Tf,1(tM+F) at time point tM+F, it is assumed that this temperature value occurs only in the basic range tM−1 ≤ t ≤ tM. The analysis at the next time step [tM, tM+1] is repeated with the time tM as the starting point and not the time point tM+F.
The temperature of the fluid Tf,1 (tM) was determined by the golden-section search method [32], for which the sum S [ T f , 1 c a l c ( t M ) ] given by Equation (19) attained minimum.
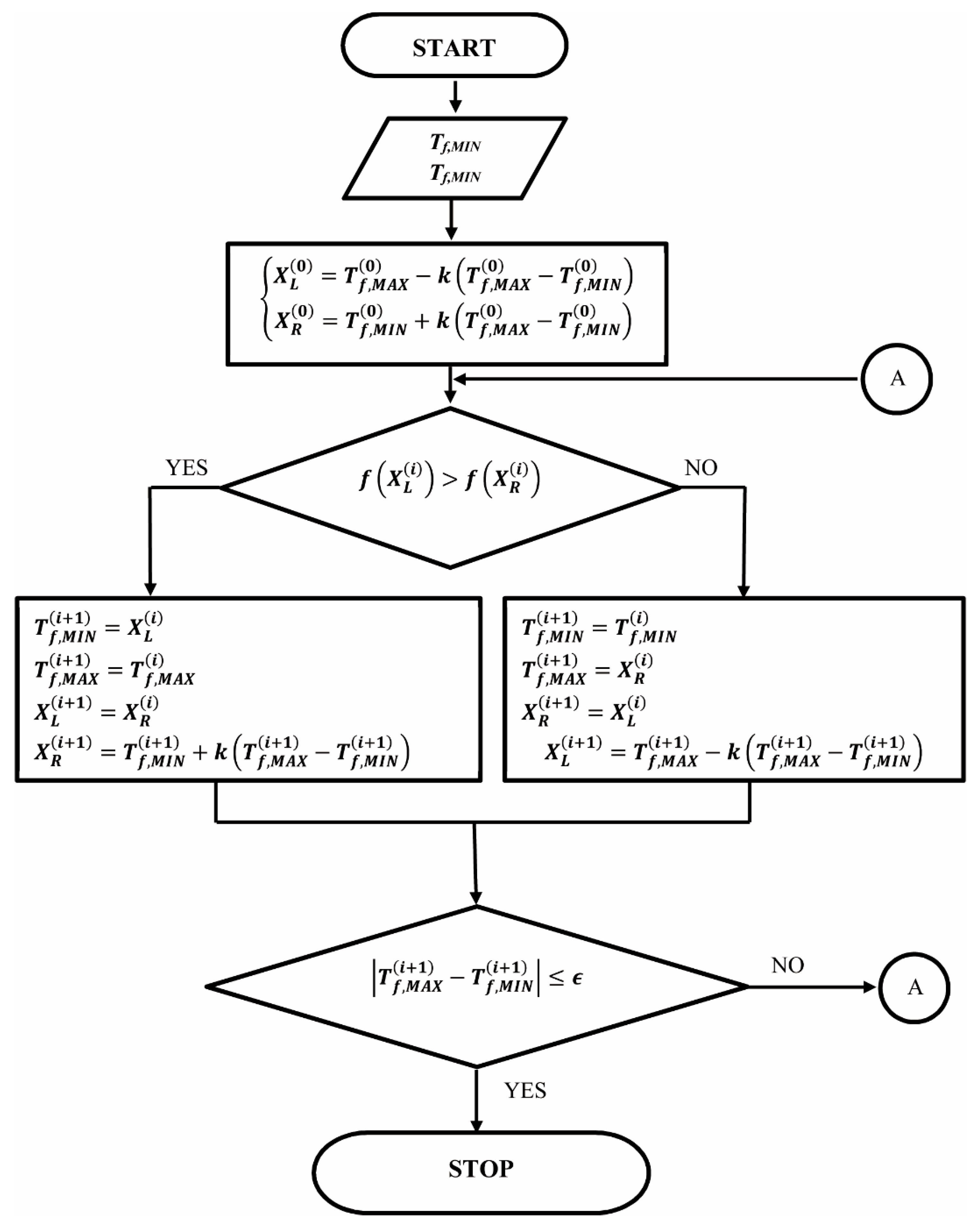
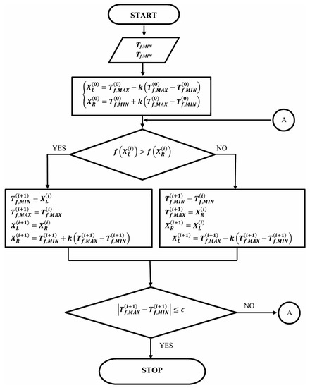
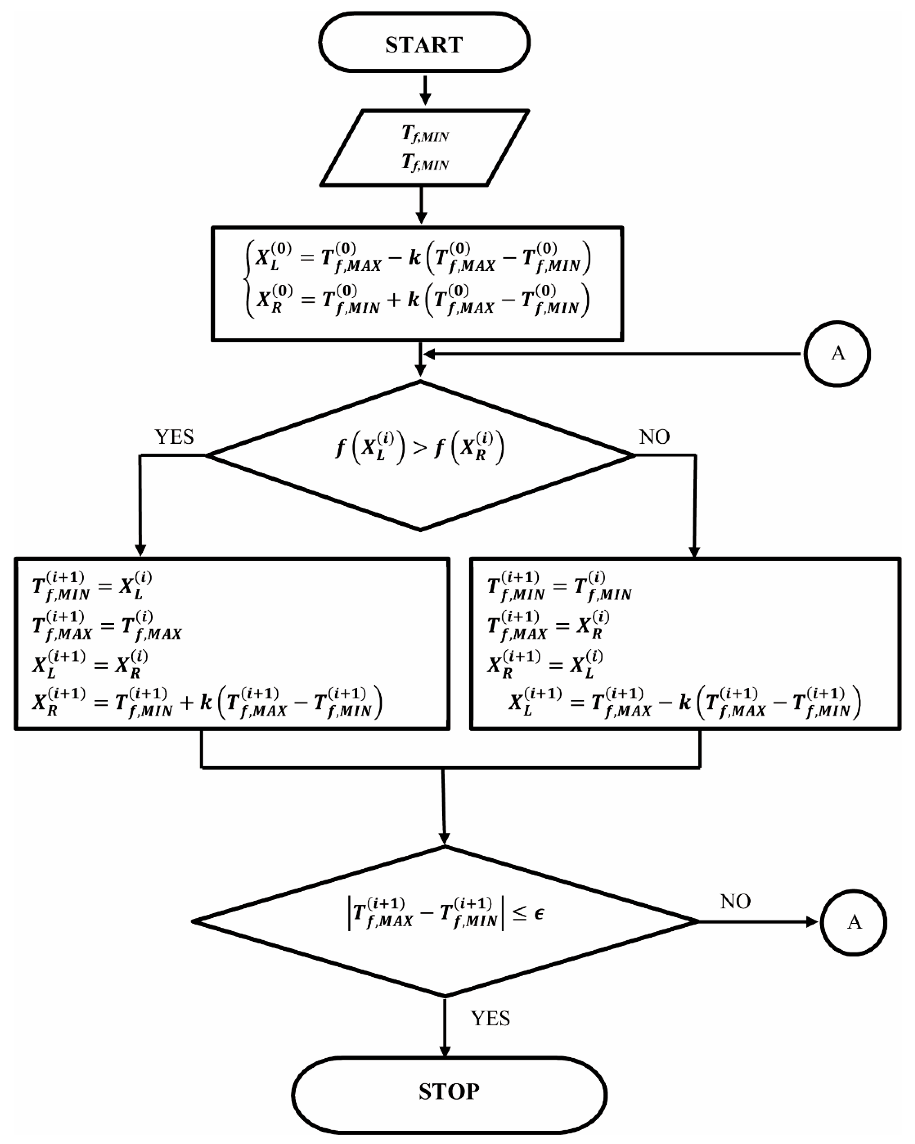
Figure 4 shows the block diagram of the program for the sequential steam temperature at the pipeline inlet Tf,1 using the golden section method.
First, the limits of the interval [Tf,MIN, Tf,MAX] are set in which the desired inlet temperature T f , 1 c a l c ( t ) lies, for which the S sum is defined by Equation (19) reaches a minimum. The steam temperature calculated values at points XL and XR takes values in the range Tf,MIN < XL < XR < Tf,MAX. The value of the factor k is k ≈ 0.61803398. The golden division factor k is a constant factor that reduces the interval value at each iteration until the condition (Tf,MAXTf,MIN) ≤ ϵ is satisfied.

4. Thermal Stresses

The temperature distribution throughout the pipeline wall, obtained by solving the IHCP, is used to determine the thermal stresses in the whole surface and considered on boundary surfaces.
The radial, longitudinal and circumferential thermal stresses are determined, assuming that the pipeline ends can move freely. The thermal stress equations are given by [33].
σ r = E β T 2 ( 1 ν ) ( 1 r i n 2 r 2 ) [ T ¯ w ( t ) T ¯ w ( r , t ) ]
σ φ = E β T 2 ( 1 ν ) [ ( 1 r i n 2 r 2 ) T ¯ w ( t ) + ( 1 r i n 2 r 2 ) T ¯ w ( r , t ) 2 T w ( r , t ) ]
σ z = E β T 1 ν [ T ¯ w ( t ) T w ( r , t ) ]
Equations (20)–(22) giving the thermal stress components consider the radial temperature distribution in the pipeline, as the temperature drop in the pipeline wall in the direction of steam flow is minor.
In Equations (20)–(22), the symbols T ¯ w ( t ) and T ¯ w ( r , t ) denote the mean wall temperature that is given by the following formulas.
T ¯ w ( t ) = 2 r o u t 2 r i n 2 r i n r o u t r T w d r   2 Δ r r o u t 2 r i n 2 [ r 2 T w 1 + T w 2 2 + r n + 1 T w n + T w n + 1 2 + i = 2 n 1 r i + r i + 1 2 T w i ]
T ¯ w ( r , t ) = T ¯ w ( r i , t ) = 2 r 2 r i n 2 r i n r r T w d r 2 Δ r r i 2 r i n 2 [ r 2 T w 1 + T w 2 2 + j = 2 i r j + r j + 1 2 T w j ]
where the symbols r 2 , r i ,   i = 3 n + 1 , and r j ,   j = 1 n + 2 denote the radiuses (Figure 2).
The radial stresses σr is equal to zero on the inner and outer surface of the tube ( σ | r = r i n = σ | r = r o u t = 0 ) . The circumferential σφ and the axial σz thermal stresses on these surfaces are equal σ φ | r = r i n = σ z | r = r i n ,   σ φ | r = r o u t = σ z | r = r o u t ) .

5. Result

The calculations were carried out for the steam pipeline with the following data: rout = 0.162 m, rin = 0.122 m, sw = 0.04 m, and L = 45 m. The steam tube is made of steel 14MoV63. The pipeline wall was divided into 100 control volumes. The number of control volumes in the radial direction is n + 1 = 5 and m + 1 = 21 in the axial direction (Figure 2). The pipeline wall and steam temperatures were calculated for each node lying in the center of the control volumes.
Data from the direct heat conduction problem solution were treated as “exact measurement data”. Both exact and measurement data were used to carry out many simulations. Figure 5 shows the temperature variation T f , m + 1 m e a s ( t ) , pressure p, and steam mass flow rate m ˙ as functions of time t used in the first calculation test.
The temperature T f , 1 c a l c ( t ) at the pipeline inlet obtained from the IHP solution for “exact measurement data” is shown in Figure 6. Figure 6b compares the steam temperature determined by T f , 1 c a l c ( t ) with the expected steam temperature T f , 1 m e a s ( t ) .
To assess the accuracy of solving IHCP, a relative difference between the inlet steam temperature T f , 1 c a l c ( t ) obtained from the IHP solution and measured temperature T f , 1 m e a s ( t ) was calculated as follows.
ε T = | T f , 1 m e a s ( t ) T f , 1 c a l c ( t ) T f , 1 m e a s ( t ) | × 100 %
Root-Mean Square Error (RMSE) was calculated as follows.
RMSE = j = 1 N m e a s [ T f , 1 m e a s ( t j ) T f , 1 c a l c ( t j ) ] 2 N m e a s
where the symbol N m e a s stands for the number of measurement points.
The relative difference ε T as a function of time is depicted in Figure 7. The relative error does not exceed 0.016 %, while the Root-Mean Square Error (RMSE) is 0.087 K.
The analysis of the results shown in Figure 5 and Figure 6 shows excellent conformity of the calculated temperature T f , 1 c a l c ( t ) and measured temperature T f , 1 m e a s ( t ) . The IHP was solved using data from a power plant to verify the model’s effectiveness and accuracy. Based on the measured steam temperature at the end of the pipeline T f , m + 1 m e a s ( t ) , the steam temperature T f , 1 c a l c ( t ) was estimated using the developed method.
Figure 8 illustrates the steam temperature variation T f , m + 1 m e a s ( t ) , pressure p, and mass flow rate m ˙ as a function of time t obtained from the measurement.
Then the inverse problem was solved based on actual measurement data. Figure 8 depicts the measured steam temperature T f , m + 1 m e a s ( t ) , pressure p, and mass flow rate m ˙ of steam measured at the end of the pipeline. The IHP was solved to determine T f , 1 c a l c ( t ) . The basic time step Δtb was equal to Δtb = kb·Δt = 30 × 0.04 = 1.2 s with the time step Δt = 0.04 s used for the solution of the direct problem. The number of future time intervals and the regularization factor were F = 2, wr = 0.01, respectively.
Figure 9a shows the calculated fluid temperature at the inlet T f , 1 c a l c ( t ) and outlet T f , m + 1 c a l c ( t ) of the pipeline. A comparison of the calculated steam temperature T f , 1 c a l c ( t ) and the measured steam temperature T f , 1 m e a s ( t ) is shown in Figure 9b.
For the determined steam temperature Tf at the pipeline inlet, the relative error was determined using Equation (25); the change in time of this error is depicted in Figure 10.
The analysis of the results shown in Figure 9b reveals that the steam temperature at the pipeline inlet T f , 1 c a l c ( t ) determined from the IHCP solution, differs slightly from the steam temperature obtained from the T f , 1 c a l c ( t ) measurements. The RMSE = 0.038 K.
Figure 11 shows the time variations in temperature, pressure, and steam mass flow rate obtained from the measurements used in the next calculation test. The calculations were performed for a basic time step equal to Δtb = kb·Δt = 1.2 s (Δt = 0.04 s), where the number of basic time steps was kb = 30. The number of future time intervals F = 2 and the regularization factor wr = 0.01 were assumed.
Figure 12a presents the time variations in the outlet steam temperature T f , m + 1 c a l c ( t ) of the pipeline and the variations in the inlet steam temperature T f , 1 c a l c ( t ) determined by solving the IHP. A comparison between the IHP solution T f , 1 c a l c ( t ) and the measured steam temperature T f , 1 m e a s ( t ) is shown in Figure 12b.
Analyzing the results depicted in Figure 12, it can be seen that there is very good agreement between the calculated steam temperature T f , 1 c a l c ( t ) and the measured temperature T f , 1 m e a s ( t ) . The average value of the RMSE is 0.322 K for this case.
The relative difference ε T between the fluid temperature obtained from the inverse solution and the measured temperature at the pipeline inlet is shown in Figure 13. The maximum value of the relative difference is ε T = 0.296%.
The analysis of the results (Figure 11 and Figure 12) shows that the differences between the steam temperature obtained from the inverse solution and the fluid temperature assumed in the direct solution are small. The small value of RMSE indicates a very good agreement between the inverse solution and measured steam temperature.

6. Conclusions

A steam turbine operates with prescribed parameters of the superheated steam at the turbine inlet. To ensure a safe and trouble-free operation of the turbine, the time changes of the inlet steam parameters must not be abrupt and do not differ from permissible values. Too rapid steam temperature changes can cause high stress in the pipeline and the turbine construction elements. To ensure trouble-free operation, the variation of steam temperature at the turbine inlet is necessary.
The paper developed the procedure for solving IHP to determine the time change of pipeline inlet temperature directly behind the boiler based on the prescribed measured steam temperatures before the steam turbine inlet.
The procedure proposed in this paper can be used to control the operation of the boiler so that, at its outlet, the steam temperature is equal to the steam temperature determined from the inverse solution. In this way, changes in the steam temperature upstream of the turbine will correspond to the requirements of the turbine user or changes due to conditions for safe turbine operation.
In summary, it can be stated that the developed mathematical model can be used to simulate transient temperature changes in pressure pipelines used in power plants. It allows us to determine the temperature distribution and stresses occurring in the pipeline wall and to calculate the allowable medium temperature change rate in time so that the allowable stress values are not exceeded.
The permissible temperature time changes at the pipeline outlet can also be determined from the condition of not exceeding thermal stresses, e.g., in components of the quick-closing valve before the turbine or the turbine rotor. The procedure for determining the allowable steam temperature variations downstream of the boiler will be identical to that presented in the paper.
The developed computational algorithm is efficient, allowing quick results of transient processes that occur in the pipeline during its operation.
Future studies will determine the allowable time variation of steam temperature at the turbine inlet due to not exceeding the allowable thermal stresses in the turbine quick-closing valve and the rotor and turbine body. These will be the basis for determining the corresponding changes in boiler outlet steam temperature and, subsequently, for the complete automation of the steam power plant start-up.

Funding

This research received no external funding.

Institutional Review Board Statement

Not applicable.

Informed Consent Statement

Not applicable.

Conflicts of Interest

The author declares no conflict of interest.

Nomenclature

a thermal diffusivity a = k / ( c p   ρ ) , m2/s
A cross-section area, m2
CFDComputational Fluid Dynamics,
  c p , f specific heat capacity at constant pressure, J/(kg·K)
c p , w specific heat capacity of the heat tube material, J/(kg·K)
d i n inner diameter, m
E modulus of elasticity (Young’s modulus), Pa
f fluid temperature at the inlet of the pipeline, °C
F future time steps, s
g fluid temperature at the outlet of the pipeline, °C
h heat transfer coefficient, W/(m2·K)
HTCHeat Transfer Coefficient,
IHCPInverse Heat Conduction Problems,
IHPInverse Heat Problem,
k golden division factor k ≈ 0.61803398,
k b number of basic time steps,
k w thermal conductivity, W/(m·K)
L length of the pipeline, m
m number of nodes in the longitudinal direction,
m ˙ steam mass flow rate, kg/s
n number of nodes in a radial direction,
N u Nusselt numbers,
N u m , q mean Nusselt number for laminar tube flow,
p absolute pressure, Pa
P r Prandtl number,
r radius, m
R e Reynolds number,
RMSERoot-Mean Square Error, K
r i n inner radius, m
r o u t outer radius, m
s w wall thickness, m
t time, s
T 0 initial temperature, °C
T f fluid temperature, °C
T w wall temperature, °C
T ¯ ( t ) mean temperature on the wall thickness, °C or K
T ¯ ( r , t ) mean temperature of the wall between rin and r, °C or K
U i n overall heat transfer coefficient, W/(m2·K)
w r regularization factor,
w z , i steam velocity at the inlet of the i-th finite volume, m/s
Greek symbols
β T linear thermal expansion coefficient, 1/K
Δ r radial step Δ r = ( r o u t r i n ) / n , m
Δ t time step, s
Δ t b basic time step, s
Δ z axial step Δ z = L / m , m
ε T relative difference, %
ν Poisson’s ration,
ξ friction factor,
ρ density, kg/m3
σ r radial stresses component, Pa
σ φ longitudinal stresses component, Pa
σ z circumferential stresses component, Pa
gradient operation (nabla),
Subscripts
0 initial value,
f fluid (steam),
i node number,
i n inner,
M I N minimum,
M A X maximum,
o u t outer,
w wall,
Superscripts
c a l c calculated,
m e a s measured,

References

  1. Taler, J. A new space marching method for solving inverse heat conduction problems. Forsch. Lngenieurwesen 1999, 64, 296–306. [Google Scholar] [CrossRef]
  2. Frąckowiak, A.; Wróblewska, A.; Ciałkowski, M. Trefftz numerical functions for solving inverse heat conduction problems. Int. J. Therm. Sci. 2022, 177, 107566. [Google Scholar] [CrossRef]
  3. Ciofalo, M. Solution of an inverse heat conduction problem with third-type boundary conditions. Int. J. Therm. Sci. 2022, 175, 107466. [Google Scholar] [CrossRef]
  4. Tourn, B.A.; Hostos, J.C.A.; Fachinotti, V.D. A modified sequential gradient-based method for the inverse estimation of transient heat transfer coefficients in non-linear one-dimensional heat conduction problems. Int. Commun. Heat Mass Transf. 2021, 127, 105488. [Google Scholar] [CrossRef]
  5. Ahn, C.; Park, C.; Park, D.; Kim, J. Optimal hybrid parameter selection for stable sequential solution of inverse heat conduction problem. Int. J. Heat Mass Transf. 2022, 183, 122076. [Google Scholar] [CrossRef]
  6. Jaremkiewicz, M.; Taler, J. Measurement of Transient Fluid Temperature in a Pipeline. Heat Transf. Eng. 2018, 39, 1227–1234. [Google Scholar] [CrossRef]
  7. Jaremkiewicz, M.; Taler, D.; Dzierwa, P.; Taler, J. Determination of Transient Fluid Temperature and Thermal Stresses in Pressure Thick-Walled Elements Using a New Design Thermometer. Energies 2019, 12, 222. [Google Scholar] [CrossRef] [Green Version]
  8. Taler, J.; Taler, D.; Kaczmarski, K.; Dzierwa, P.; Trojan, M.; Jaremkiewicz, M. Allowable Rates of Fluid Temperature Variations and Thermal Stress Monitoring in Pressure Elements of Supercritical Boilers. Heat Transf. Eng. 2019, 40, 1430–1441. [Google Scholar] [CrossRef]
  9. European Standard EN 12952-3; Water-Tube Boilers and Auxiliary Installations. Part 3: Design and Calculation for Pressure Parts. European Committee for Standardization: Brussels, Belgium, 2011.
  10. Taler, D.; Dzierwa, P.; Kaczmarski, K.; Taler, J. Increase the flexibility of steam boilers by optimization of critical pressure component heating. Energy 2022, 250, 123855. [Google Scholar] [CrossRef]
  11. Taler, D. Direct and Inverse Heat Transfer Problems in Dynamics of Plate Fin and Tube Heat Exchangers. In Heat Transfer—Mathematical Modelling, Numerical Methods and Information Technology; InTech: Rijeka, Croatia, 2011; pp. 77–100. [Google Scholar]
  12. Sekhavati, J.; Hashemabadi, S.H.; Soroush, M. Computational methods for pipeline leakage detection and localization: A review and comparative study. J. Loss Prev. Process Ind. 2022, 77, 104771. [Google Scholar] [CrossRef]
  13. Wang, X.; Liu, L.; Duan, R.; Liu, Y.; Wei, Z.; Yang, X.; Liu, X.; Li, Z. A method for leak detection in buried pipelines based on soil heat and moisture. Int. Commun. Heat Mass Transf. 2022, 135, 106123. [Google Scholar] [CrossRef]
  14. Rusin, A.; Bieniek, M. Maintenance planning of power plant elements based on avoided risk value. Energy 2017, 134, 672–680. [Google Scholar] [CrossRef]
  15. Taler, J.; Taler, D.; Kaczmarski, K.; Dzierwa, P.; Trojan, M.; Sobota, T. Monitoring of thermal stresses in pressure components based on the wall temperature measurement. Energy 2018, 160, 500–519. [Google Scholar] [CrossRef]
  16. Taler, D.; Kaczmarski, K. Mathematical modelling of the transient response of pipeline. J. Therm. Sci. 2016, 25, 549–557. [Google Scholar] [CrossRef]
  17. Chaibakhsh, A.; Ghaffari, A.; Moosavian, S.A.A. A simulated model for a once-through boiler by parameter adjustment based on genetic algorithms. Simul. Model. Pract. Theory 2007, 15, 1029–1051. [Google Scholar] [CrossRef]
  18. Taler, D.; Trojan, M.; Dzierwa, P.; Kaczmarski, K.; Taler, J. Numerical simulation of convective superheaters in steam boilers. Int. J. Therm. Sci. 2018, 129, 320–333. [Google Scholar] [CrossRef]
  19. Taler, J.; Węglowski, B.; Pilarczyk, M. Monitoring of thermal stresses in pressure components using inverse heat conduction methods. Int. J. Numer. Methods Heat Fluid Flow 2017, 27, 740–756. [Google Scholar] [CrossRef]
  20. Trojan, M.; Taler, D. Thermal simulation of superheaters taking into account the processes occurring on the side of the steam and flue gas. Fuel 2015, 150, 75–87. [Google Scholar] [CrossRef]
  21. Serov, E.P.; Korolkov, B.P. Dynamics of Steam Generators; Energoizdat: Moscow, Russia, 1981. [Google Scholar]
  22. Wang, H.; Wang, H.; Zhu, T.; Deng, W. A novel model for steam transportation considering drainage loss in pipeline networks. Appl. Energy 2017, 188, 178–189. [Google Scholar] [CrossRef]
  23. Roffel, B.; Betlem, B. Process Dynamics and Control, Modeling for Control and Prediction; John Wiley & Sons Ltd.: Chichester, UK, 2006. [Google Scholar]
  24. Beck, J.V.; Blackwell, B.; Haji-Sheikh, A. Comparison of some inverse heat conduction methods using experimental data. Int. J. Heat Mass Transf. 1996, 39, 3649–3657. [Google Scholar] [CrossRef]
  25. Blackwell, B.; Beck, J.V. A technique for uncertainty analysis for inverse heat conduction problems. Int. J. Heat Mass Transf. 2010, 53, 753–759. [Google Scholar] [CrossRef]
  26. Mohebbi, F.; Sellier, M.; Rabczuk, T. Estimation of linearly temperature-dependent thermal conductivity using an inverse analysis. Int. J. Therm. Sci. 2017, 117, 68–76. [Google Scholar] [CrossRef]
  27. Jarny, Y.; Maillet, D. Lecture 10: Linear Inverse Heat Conduction Problems–Two Basic Examples; Metti 5 Spring School: Roscoff, France, 2011; pp. 1–18. [Google Scholar]
  28. Taler, D. A new heat transfer correlation for transition and turbulent fluid flow in tubes. Int. J. Therm. Sci. 2016, 108, 108–122. [Google Scholar] [CrossRef]
  29. Taler, D. Determining velocity and friction factor for turbulent flow in smooth tubes. Int. J. Therm. Sci. 2016, 105, 109–122. [Google Scholar] [CrossRef]
  30. Gnielinski, V. Heat Transfer in Pipe Flow. In VDI Heat Atlas, 2nd ed.; VDI-Gesellschaft Verfahrenstechnik und Chemieingenieurwesen, Ed.; Springer: Berlin/Heidelberg, Germany, 2010; pp. 693–699. [Google Scholar]
  31. Tikhonov, A.N.; Arsenin, V.Y. Solution of Ill-Posed Problems; V.H. Winston & Sons: New York, NY, USA, 1977. [Google Scholar]
  32. Dahlquist, G.; Björck, Å. Numerical Methods; Dover Publications: Mineola, NY, USA, 2012. [Google Scholar]
  33. Hetnarski, R.B.; Noda, N.; Tanigawa, Y. Thermal Stresses, 2nd ed.; Taylor & Francis Inc.: Boca Raton, FL, USA, 2002. [Google Scholar]
Figure 1. The pipeline connecting the boiler and turbine.
Figure 1. The pipeline connecting the boiler and turbine.
Energies 15 05804 g001
Figure 2. Division of the computational domain into finite volumes.
Figure 2. Division of the computational domain into finite volumes.
Energies 15 05804 g002
Figure 3. Approximation the time changes of the steam at the pipe inlet by stepwise curve (a), and the concept of future time steps, F = 3 (b).
Figure 3. Approximation the time changes of the steam at the pipe inlet by stepwise curve (a), and the concept of future time steps, F = 3 (b).
Energies 15 05804 g003
Figure 4. Block diagram of a program to determine the fluid temperature using the golden division method.
Figure 4. Block diagram of a program to determine the fluid temperature using the golden division method.
Energies 15 05804 g004
Figure 5. The temperature variation T f , m + 1 m e a s ( t ) , pressure p and steam mass flow rate m ˙ as functions of time t at the pipeline outlet z = 45 m.
Figure 5. The temperature variation T f , m + 1 m e a s ( t ) , pressure p and steam mass flow rate m ˙ as functions of time t at the pipeline outlet z = 45 m.
Energies 15 05804 g005
Figure 6. The steam temperature variation as a function of time (a) at the inlet of the pipeline T f , 1 c a l c ( t ) and at the turbine inlet T f , m + 1 c a l c ( t ) , (b) comparison of the temperature T f , 1 c a l c ( t ) obtained by solving IHP with measured temperature T f , 1 m e a s ( t ) .
Figure 6. The steam temperature variation as a function of time (a) at the inlet of the pipeline T f , 1 c a l c ( t ) and at the turbine inlet T f , m + 1 c a l c ( t ) , (b) comparison of the temperature T f , 1 c a l c ( t ) obtained by solving IHP with measured temperature T f , 1 m e a s ( t ) .
Energies 15 05804 g006
Figure 7. Relative difference between the inlet steam temperature T f , 1 c a l c ( t ) obtained from the IHP solution and “exact” measured temperature T f , 1 m e a s ( t ) .
Figure 7. Relative difference between the inlet steam temperature T f , 1 c a l c ( t ) obtained from the IHP solution and “exact” measured temperature T f , 1 m e a s ( t ) .
Energies 15 05804 g007
Figure 8. The steam temperature variation T f , m + 1 m e a s ( t ) , pressure p and steam mass flow rate m ˙ as a function of time t on the pipeline outlet.
Figure 8. The steam temperature variation T f , m + 1 m e a s ( t ) , pressure p and steam mass flow rate m ˙ as a function of time t on the pipeline outlet.
Energies 15 05804 g008
Figure 9. The steam temperature variation as a function of time (a) on the inlet pipeline T f , 1 c a l c ( t ) and on the turbine inlet T f , m + 1 c a l c ( t ) , (b) comparison of the temperatures determined T f , 1 c a l c ( t ) and the expected Tf1,m.
Figure 9. The steam temperature variation as a function of time (a) on the inlet pipeline T f , 1 c a l c ( t ) and on the turbine inlet T f , m + 1 c a l c ( t ) , (b) comparison of the temperatures determined T f , 1 c a l c ( t ) and the expected Tf1,m.
Energies 15 05804 g009
Figure 10. The relative difference between the inlet steam temperature T f , 1 c a l c ( t ) obtained from the IHP solution and the actual measured temperature T f , 1 m e a s ( t ) .
Figure 10. The relative difference between the inlet steam temperature T f , 1 c a l c ( t ) obtained from the IHP solution and the actual measured temperature T f , 1 m e a s ( t ) .
Energies 15 05804 g010
Figure 11. The temperature variation Tf, pressure p and steam mass flow rate m ˙ as a function of time t on the pipeline outlet.
Figure 11. The temperature variation Tf, pressure p and steam mass flow rate m ˙ as a function of time t on the pipeline outlet.
Energies 15 05804 g011
Figure 12. The steam temperature variation as a function of time (a) at the pipeline inlet T f , 1 c a l c ( t ) and at the turbine inlet T f , m + 1 c a l c ( t ) , (b) comparison of the temperatures T f , 1 c a l c ( t ) by solving the IHP and the measured temperature T f , 1 m e a s ( t ) .
Figure 12. The steam temperature variation as a function of time (a) at the pipeline inlet T f , 1 c a l c ( t ) and at the turbine inlet T f , m + 1 c a l c ( t ) , (b) comparison of the temperatures T f , 1 c a l c ( t ) by solving the IHP and the measured temperature T f , 1 m e a s ( t ) .
Energies 15 05804 g012
Figure 13. The relative difference between the inlet steam temperature T f , 1 c a l c ( t ) obtained from the IHP solution and the actual measured temperature T f , 1 m e a s ( t ) .
Figure 13. The relative difference between the inlet steam temperature T f , 1 c a l c ( t ) obtained from the IHP solution and the actual measured temperature T f , 1 m e a s ( t ) .
Energies 15 05804 g013
Publisher’s Note: MDPI stays neutral with regard to jurisdictional claims in published maps and institutional affiliations.

Share and Cite

MDPI and ACS Style

Kaczmarski, K. Identification of Transient Steam Temperature at the Inlet of the Pipeline Based on the Measured Steam Temperature at the Pipeline Outlet. Energies 2022, 15, 5804. https://doi.org/10.3390/en15165804

AMA Style

Kaczmarski K. Identification of Transient Steam Temperature at the Inlet of the Pipeline Based on the Measured Steam Temperature at the Pipeline Outlet. Energies. 2022; 15(16):5804. https://doi.org/10.3390/en15165804

Chicago/Turabian Style

Kaczmarski, Karol. 2022. "Identification of Transient Steam Temperature at the Inlet of the Pipeline Based on the Measured Steam Temperature at the Pipeline Outlet" Energies 15, no. 16: 5804. https://doi.org/10.3390/en15165804

APA Style

Kaczmarski, K. (2022). Identification of Transient Steam Temperature at the Inlet of the Pipeline Based on the Measured Steam Temperature at the Pipeline Outlet. Energies, 15(16), 5804. https://doi.org/10.3390/en15165804

Note that from the first issue of 2016, this journal uses article numbers instead of page numbers. See further details here.

Article Metrics

Back to TopTop