Next Article in Journal
Low Resistance Hot-Spot Diagnosis and Suppression of Photovoltaic Module Based on I-U Characteristic Analysis
Next Article in Special Issue
Monitoring Energy Efficiency and Environmental Ship Index by Cruise Seaports in Northern Europe
Previous Article in Journal
Heuristic Intrusion Detection Based on Traffic Flow Statistical Analysis
Previous Article in Special Issue
Energy Recovery from Waste—Closing the Municipal Loop
error_outline You can access the new MDPI.com website here. Explore and share your feedback with us.
 
 
Font Type:
Arial Georgia Verdana
Font Size:
Aa Aa Aa
Line Spacing:
Column Width:
Background:
Article

Energy Consumption by DHW System with a Circulation Loop as an Energy Efficiency Component, Based on an Example of a Residential Building †

by
Marcin Klimczak
1,
Grzegorz Bartnicki
1 and
Piotr Ziembicki
2,*
1
Faculty of Environmental Engineering, Wrocław University of Science and Technology, C.K. Norwida 4/6 St., 50-373 Wrocław, Poland
2
Faculty of Civil Engineering, Architecture and Environmental Engineering, University of Zielona Góra, Prof. Z. Szafrana 15 St., 65-516 Zielona Góra, Poland
*
Author to whom correspondence should be addressed.
This paper is an extended version of our paper published in 10th Conference on Interdisciplinary Problems in Environmental Protection and Engineering (EKO-DOK 2018), Polanica-Zdrój, Poland, 16–18 April 2018; pp. 1–8.
Energies 2022, 15(11), 3952; https://doi.org/10.3390/en15113952
Submission received: 15 April 2022 / Revised: 15 May 2022 / Accepted: 19 May 2022 / Published: 27 May 2022

Abstract

In the EU countries, almost 50% of the produced energy is used in residential buildings. More than 25% of this energy is used to produce domestic hot water, of which almost 80% is used to heat water in domestic hot water circulation systems. This is due to high expectations on the part of residents based on their comfort, in particular regarding the supply of heat for heating and domestic hot water. In the course of their long-term research conducted on real systems, the authors confirmed that the operation of domestic hot water distribution systems causes significant costs, mainly due to heat losses. Therefore, typical variants of energy optimization of such systems were analyzed. Tests have shown that selected solutions, such as the use of control automation, are not sufficient, and recommended additional thermal insulation may not be applicable due to technical reasons. With an aim of finding a solution to the problem, the publication analyzes operational data from an existing heat source and domestic hot water circulation system in a residential building. On the basis of these analyses, a solution was proposed to reduce energy consumption within the installation by means of its hydraulic optimization. The reduction of heat losses in domestic hot water installation by means of a method presented by the authors is estimated at approximately 20%.

1. Introduction

One of the main goals of the climate policy pursued by the EU countries for many years has been to reduce pollutant emissions, including CO2, as well as to increase energy efficiency, both in construction and industry [1,2,3,4]. In the course of many meetings attended by the representatives of EU governments, as well as by specialists and scientists in the field of climate, energy and related industries, many climate policy objectives have been approved. A document “Conclusions on 2030 Climate and Energy Policy Framework” drawn up in 2014, which provides for at least 40% reduction in greenhouse gas emissions and the achievement of the share of renewable energy sources (RES) at the level of at least 27% in total energy consumption by 2030, is a good example of such an objective [5]. Subsequent meetings and decisions, including, for example, the decision of the European Parliament in 2018, which increased the RES 2030 targets to 35%, confirm that a further increase in climate targets should be expected in the coming years [6,7]. The arrangements which are currently in force, such as the conclusions of the meeting of the Council of Europe in December 2020, state that in order to achieve climate neutrality in line with the goals of the Paris Agreement by 2050, it is necessary to reduce net greenhouse gas emissions in the EU by at least 55% by 2030 (compared to the level from 1990). It is an ambitious goal, the achievement of which will require a broad approach to issues related to the reduction of energy consumption and the optimization of the processes of its production and distribution. It should be emphasized that such ambitious goals will not be attainable (no matter at what level they will be finally set) without improving energy efficiency. Residential buildings consume approximately 50% of the total energy [1,8,9,10,11]. This fact, combined with the planned legislative changes, means that it is in the area of housing construction where solutions should be sought to reduce energy consumption and thus reduce emissions of CO2.
Buildings are complex technical systems with a number of installations affecting their energy consumption. One of the most important systems, apart from heating installation, is domestic hot water production and distribution installation. In accordance with regulations, domestic hot water circulation installation is obligatory in multifamily residential buildings; therefore, the only possible action to reduce their environmental impact would be to improve their energy efficiency. Analyses and calculations carried out by Perez-Lombard and institutions such as the International Energy Agency (IEA), among others, indicate that over 25% of energy used in buildings accounts for the production of domestic hot water [11,12], and Bohm and Burke additionally specify that almost 80% of energy is used for heating water in domestic hot water circulation systems [13,14]. Therefore, it is obvious that reducing energy consumption in these systems will significantly contribute both to the reduction in greenhouse gas emissions and to increased energy efficiency. It should also be emphasized that because modern construction technologies significantly reduce heat losses by the use of external partitions, preparation of domestic hot water constitutes an increasing part of energy demand in residential buildings [13]. This trend will continue in the future, as the legal regulations in force provide for further improvement of thermal protection in buildings [15].
Despite the facts and figures quoted above showing that the problem of energy efficiency of hot water circulation systems in multifamily residential buildings is of great importance, there are not many scientific studies dealing with these issues. The currently conducted research in the field of energy optimization of domestic hot water distribution systems in buildings focuses mainly on: thermal insulation of pipelines, quality of installation design and the use of simulation analyses for modeling domestic hot water systems, replacement of central circulation installations with local solutions, and optimization of energy sources operating for the purposes of preparing domestic hot water, as well as on supporting domestic hot water installations with the use of renewable energy sources, mainly solar collectors.
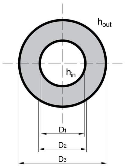
Heat losses in domestic hot water installations result from heat losses from pipes to the environment. Figure 1 shows a cross-section of a pipe along with its insulation.
Equations showing the physical side of this phenomenon can be found in [16,17], among others. Equation (1) shows the heat loss to the environment of temperature T o u t from a single insulated conductor of length L, outer diameter of insulation D 3 , in which the liquid flows with temperature T i n .
Q = π · D 3 · L · U · T i n T o u t
where:
Q—pipeline heat losses, [ W ],
D3—outer diameter of insulation, [ m ],
L—pipe length, [ m ],
U—overall heat transfer coefficient, [ W / ( m 2   K ) ],
Tin—liquid temperature, [ C ],
Tout—environment temperature, [ C ].
The U-factor can be described by Equation (2).
U = 1 D 3 D 1 · h i n + D 3 · ln D 2 D 1 2 · k p i p e + D 3 · ln D 3 D 2 2 · k i n s u l a t i o n + 1 h o u t
where:
D3—outer diameter of insulation, [ m ],
D2—outer diameter of pipe, [ m ],
D1—inner diameter of pipe, [ m ],
hin—heat transfer coefficient of the pipe wall, [ W / ( m 2   K ) ],
hout—heat transfer coefficient at the outside insulation surface, [ W / ( m 2   K ) ],
kpipe—thermal conductivity of pipe material, [ W / ( m   K ) ],
kinsulation—thermal conductivity of insulation, [ W / ( m   K ) ].
The individual values in the denominator of the above formula refer to heat transfer resistance. The first one refers to heat resistance on the inside of the pipe, the second one to heat resistance through the wall of the pipe, the third one represents heat resistance through the insulation, and the fourth stands for heat resistance from the insulation to the surroundings. Due to the fact that the first two values are significantly smaller than the others, the flow velocity of the medium inside the pipeline does not have a significant influence on the U coefficient. The most important factors for heat losses are the diameter of the insulation (heat exchange area with the environment) and the type of insulation. The heat transfer coefficient at the outside of the insulation depends on conditions outside of the pipeline, which can be assumed constant for a given type of pipeline installation. Flow velocity in a pipeline influences the temperature difference in a given section of the pipeline. Lower flow velocity in the pipeline means greater temperature drop and lower temperature of hot water at the recipient with the same heat losses from the pipeline. The research findings related to the optimization of domestic hot water installations by means of improving the thermal insulation of pipelines are shown, among others, in publications [13,18,19].
In his publication [18], Boait indicates that undoubtedly domestic hot water production and distribution systems would benefit from better insulation of tanks and pipes. However, the author emphasizes that despite the increased legal requirements regarding the insulation of domestic hot water pipes, they do not apply to the existing buildings and installations but only to newly designed ones. Modernization of installations in the existing buildings is technically unfeasible and economically unjustified. The research carried out by the author demonstrates that the comparison of installations with increased thickness of pipe insulation to the existing systems reveals a reduction of losses and an improvement in their efficiency on the level of 3 to 12%.
The authors of publication [19] came to similar conclusions, also arguing that additional expenditure on the replacement of the insulation of the existing pipelines would be unacceptable to residents in multifamily residential buildings. Moreover, in the conditions of Polish construction industry, it is often not possible to carry out such modernization due to the location of domestic hot water pipes in installation shafts or wall chases. At the same time, it is justified to extend the operation of buildings in order to reduce the environmental burden with postdemolition construction waste. Therefore, the moment of modernization of domestic hot water and circulation systems is the right moment to apply new, additional thermal insulation. After 25–30 years of operation, complete replacement of pipes is not only more economical but also the only technically acceptable solution due to corrosion and limescale deposits reducing the pipes’ cross-section. Pomianowski et al. in [20] additionally point out that extending the operation of domestic hot water installations increases the economic efficiency of installations used to obtain renewable energy for the preparation of domestic hot water and that, at the same time, investing in renewable energy creates an opportunity to modernize building installations.
In publication [13], Bøhm also indicates that in the case of newly built facilities it is worth considering the use of coaxial pipes (a circulation pipe is located inside a supply pipe), which may cause the reduction of heat losses even by approximately 40%. At the same time, the author emphasizes that this is an expensive and novel solution. The problem of optimizing the design of domestic hot water installations is another, relatively frequently analyzed issue.
The authors of publications [16,21,22,23,24,25] emphasize that it is necessary to use computer simulation in order to properly design these installations. In publication [21], Ahmed additionally points to incorrect preorder assumptions for the demand of domestic hot water as one of the main reasons for the increase in operating costs of domestic hot water installations, which indirectly increases their energy consumption and emission levels. Despite the obvious benefits of computer optimization of the designed domestic hot water distribution systems, it should be emphasized that the use of these methods is only possible for newly designed installations. Energy optimization of existing installations is not possible by means of these methods.
An interesting solution to the problem of energy efficiency of centralized domestic hot water circulation systems is presented by Lee in [26], i.e., to use an individual hot water circulator with water reheat piping for each recipient. According to the author, this may reduce heat losses in domestic hot water circulation systems by 50%. However, it should be emphasized that the cost of the solution (estimated by the author of the publication at 500$) makes the economic justification of the investment difficult, especially in older buildings. Other authors discussed this issue, for example in publications [27,28,29,30]. Each of the cited works feature investment costs and difficult-to-achieve reasonable payback time.
Another interesting solution, presented by Persson in [31], is the use of domestic hot water circulation circuits to power washing machines and dishwashers. According to the results presented by the author, it reduces electric energy consumption of these devices, but is irrelevant from the point of view of the efficiency of domestic hot water installations. For this reason, it will not be discussed in this publication.
Energy sources working for the needs of domestic hot water heating constitute an important issue raised in the context of energy optimization of domestic hot water systems. In publication [18], Boait presented a list of optimal energy sources for heating domestic hot water, which shows that the best solutions are heat pumps and gas cogeneration units. In publication [32], Benakopoulos proposed an innovative solution of a heat source for the production of domestic hot water, operating with lowered parameters of the heat factor. It is an interesting solution, especially in connection with sorption cooling technological systems, described, among others, in publication [33].
Many authors, e.g., in publications [23,24,34,35], indicated the necessity to support the production of domestic hot water with the use of renewable energy sources, in particular including solar collectors of various designs. Application of such solutions also positively influences the reduction of the amount of nonrenewable primary energy used for the purposes of water heating in domestic hot water circulation systems. From a practical point of view, such solutions may be often difficult to implement due to investment costs, as well as, and perhaps most of all, due to difficulties in the settlement and distribution of operating costs between residents of a given building.
From the point of view of inhabitants, the most important aspect of the correct functioning of their circulation system is to maintain the required parameters for hot water at the outlet of the tap. Therefore, hydraulic adjustment, which will also be directly responsible for the pumping costs, exerts the greatest impact on proper functioning of such an installation. In practice, both static and dynamic control methods are used. The method of static regulation is based on the use of balancing valves with initial settings (which are equivalent to the classic orifice-based regulation method [36]). In such a properly managed installation, with no hot water consumption in the risers, water flows are meant to ensure correct temperature in individual risers. Water uptake in this type of system results in its dysregulation, whereas dynamic regulation methods are designed to maintain correct parameters within the installation regardless of variable water flows. The most common method is to use thermostatic valves at the bottom of risers in order to maintain return temperature. Methods of selecting thermostatic circulation valves ([37,38,39,40] among others) are based on an assumption of a constant temperature of circulation water at a valve. In both types of control, water flow depends on heat losses in the pipes. In the first case, theoretical circulating water stream is constant and independent of domestic hot water consumption at a given moment, whereas in the second case, the stream is variable, depending on the drop in water temperature in individual risers.
Other considerations for optimization include the costs of pumping in the circulation system and the costs of failing to meet the parameters of domestic hot water. While the first component can be calculated (flux as well as linear and local losses on pipes and fittings), the second component, i.e., the cost of additionally consumed hot water by residents, is impossible to calculate based on the existing residential water meters. In the work [41], one can find a comparison of the functioning of domestic hot water installation operating with and without a circulation system. According to it, the maximum daily difference in water consumption in an installation without circulation was 80% higher than in an installation with circulation. Such a difference is related to a much longer waiting time for hot water at water outlets. In the event of a disruption of the circulation system, one can expect additional costs for recipients supplied from end risers of up to 50% of the cost of living in relation to risers that are located close to the heat source.
The conducted review of the current research work indicates at deficiencies in the analyses of the possibilities of reducing heat losses in domestic hot water circulation installations through their hydraulic optimization, e.g., by means of automatic control. The insofar conducted research, e.g., by the authors of publications [37,38,42,43,44], focuses on commonly used methods of ensuring the required hot water temperature by means of thermostatic valves. All methods of selecting thermostatic valves presented in the literature are based on the assumption that the temperature of circulating water in the place where the thermostatic valve is installed is constant (it is not subject to daily changes with significant hysteresis). This approach is insufficient; therefore, the authors of this publication have carried out additional research.

2. Methodology

Research on energy consumption of domestic hot water preparation, distribution and circulation systems was carried out in 4 heat sources (Figure 2).
Objects A5 and A6 are gas boiler houses with installed DHW heaters (3 × 750 d m 3 ) providing partial accumulation of domestic hot water. Each boiler house supplies three residential buildings. The installation of hot utility water from the boiler room A5 to building B2 is led through an insulated pipeline in the garage hall, while building B3 is supplied by an underground domestic hot water system made of preinsulated pipes. The A5 boiler house supplies a total of 45 risers of hot utility water in buildings B1, B2 and B3. A similar situation occurs in the case of the A6 boiler house, which also supplies a total of 45 installation risers in buildings B4, B5 and B6, leading installation pipelines in the garage hall to building B5 and preinsulated pipelines in the ground to building B6. In total, the boiler houses supply 254 flats with hot domestic hot water via 90 risers.
Heat sources E1 and E2 are district heating substations in which hot water is prepared in a flow system (without accumulation). Each district heating substation supplies power to two residential buildings. The E1 district heating node supplies buildings B9 and B10, while domestic hot water is supplied to the B9 building through a preinsulated network laid in the ground. A similar situation is in the case of the E2 district heating node, which supplies buildings B7 and B8, while domestic hot water is supplied to the B7 building through a preinsulated network laid in the ground. In total, district heating substations supply hot water to 150 flats via 64 risers.
Circulation systems in buildings B1–B10 are equipped with thermostatic control valves. The analyses carried out by the authors searched for the possibility of reducing heat losses from pipes by applying additional insulation, as well as for optimization of the functioning of the circulation system by measuring temperature in the sources and selected risers.
DHW preparation is related to the provision of an appropriate amount of heat, which can be accordingly calculated:
Q D H W = V D H W · ρ · c p · T D H W T C W · 10 6
where:
QDHW—DHW energy consumption, [ G J ],
VDHW—DHW volumetric consumption, [ m 3 ],
ρ—water density, [ k g / m 3 ],
cp—specific heat of water, [ k J / ( k g   K ) ],
TDHW—domestic hot water temperature, [ C ],
TCW — domestic cold water temperature, [ C ].
The presence of a circulation system and the occurrence of heat losses during the transfer of domestic hot water are conducive to actual energy expenditure related to the preparation, delivery and maintenance of comfort by means of domestic hot water system being greater than the value determined from the above dependence.

3. Results and Discussion

Heating of water from 10 to 55 C requires 0.189   G J / m 3 . The density equal to 1000 k g / m 3 and 4.19   k J / ( k g   K ) was adopted. However, it should be noted that the temperature of cold water is subject to daily and seasonal fluctuations. In the summer of 2021, the observed temperatures of cold water at the entrance to the domestic hot water preparation system were 18 C , and in July they reached over 21 C . In order to take the influence of variable cold water temperature on further analyses into account, the need of heating by 40 K , which gives 0.168   G J / m 3 , was assumed.
The mode of operation and, consequently, the energy consumption of the domestic hot water system, and especially its circulation, are specific to a specific building or system, and there may be significant differences between similar systems. The amount of heat loss on transmission will be determined by insulating properties of the materials used to insulate pipes, by the size of the installation, by the temperature and velocity of air surrounding the pipes, as well as by the DHW distribution profile (daily and annual).
These differences also appear between the examined objects. For example, in July 2021, heat input for the preparation of domestic hot water was from 0.288   G J / m 3 to 0.366   G J / m 3 , which is over 27% more. The comparison of the real and theoretical heat input for the preparation and delivery of a unit volume of domestic hot water in 4 heat supply systems in 2018–2021 is shown in Figure 3. The obtained results correspond with research results presented by other authors. Ruusala et al. in [45] concluded that even the use of modern techniques of dynamic energy simulation of the whole building failed to reduce the differences between the results of calculations and measurements, which the authors described as significant. Kragh et al., in their publication [46] showed that the differences between computational and measurement data can reach up to 80%, and Fokaides in the publication [47] proved that these differences exceeded 150% in the tested object. Publications of other authors show that in some cases the actual heat consumption may be up to 3 times higher than the results obtained in calculations.
It can be noticed that regardless of a facility, the actual energy expenditure on the functioning of a domestic hot water preparation system, the installation of its distribution and the circulation system are much higher than the theoretical values. Observations made in 2018–2021 indicate that preparation and delivery of a unit of volume ( 1 m 3 ) of domestic hot water in facilities equipped with circulation systems requires from 0.275   G J to 0.366   G J . Therefore, they are values ranging from 64% to 118% higher than the estimated values based on theoretical dependence. To more fully illustrate the discussed issue, the average values of the surplus (actual heat expenditure as compared to theoretical heat expenditure) were determined and, for example, for the A5 system it amounted to 199% in 2018, 169% in 2019, 190% in 2020 and 211% in 2021. The obtained results indicate that the share of heat losses from installation pipes significantly increases energy expenditure in hot water supply to multifamily buildings. Measures such as equipping circulation systems with control valves (including thermostatic valves) did not significantly improve the efficiency of these systems.

3.1. Possibilities of Reducing Heat Loss from Pipes with Insufficient Insulation

The research carried out by the authors confirms a thesis that improvement in insulation of hot tap water pipelines in the existing multifamily buildings is limited for technical reasons. At the same time, the insulation is far from sufficient, because it was made in accordance with the (old) standard [48]. On-site inspection and excavations revealed that domestic hot water risers and circulation systems in all analyzed buildings run in tight brick shafts and access to them is impossible without serious structural intervention. For this reason, it is not technically possible to reinforce or replace insulation on these pipes.
In the course of the conducted analyses, horizontal pipelines located under the ceiling of an unheated garage were also checked and it was shown that there was no possibility to change the way the pipes are laid out or to increase their thickness by applying additional pipeline insulation without limiting the height of passages in garages. This is a common situation in construction industry in Poland. At the same time, it should be emphasized that changes in insulation affect the amount of energy consumed by the building. For example, for building E2, after the change, the design heat loss will decrease from 12.3   k W to 11.9   k W (3.5%), and annual energy consumption will decrease by 12.6   G J . This means that with an energy price of 25 ⋹ for 1 G J , the payback time will exceed 30 years. Therefore, it is not a profitable investment and it is unlikely to be implemented without additional financial support. However, we must bear in mind that the technical infrastructure in use is often in a state of high wear and tear. Knowledge about the possibility of increasing energy efficiency may be an impulse to resign from repairs and replacement of fittings in favor of comprehensive modernization. In each case, the replacement of worn out devices should be used to carry out the expediency of thorough modernization. Naturally, these considerations should take into account other relevant circumstances, such as financial and environmental aspects, including the possibility of reducing CO2 emissions, as well as reduction of risks of increased costs, utility interruptions and reduced quality of delivery. In terms of dynamic technical and social changes, referring only to the payback period or similar considerations may lead to wrong decisions.

3.2. Analysis of the Correct Operation of the Existing Domestic Hot Water and Circulation Systems

The authors have been measuring temperatures on domestic hot water and circulation water systems since 2017. Temperature measurements were mostly based on contact sensors placed on the outer surface of pipes under the insulation (except for temperature measurements in domestic hot water heaters). Measurements in heat sources were performed with the use of PT500 sensors (manufacturer: “Termo-Precyzja”, Wrocław, Poland) attached to Metronic MPI CN-16-1 recorders (manufacturer: “METRONIC SYSTEMS Andrzej Kurdziel”, Kraków, Poland). Momentary measurements on the risers were made with Testo 115i clamp thermometers and recorders with 1-wire sensors. Temperature in the sources was recorded every 2 min (PT500), on the risers every 2 s (testo 115i) and every 1 min (1-wire). All analyses were performed in the R programming language [49], and the graphs presented in the article were created with the use of ggpolt package [50].

3.2.1. Measurements in the Boiler Plant A6

Figure 4 shows examples of daily changes in hot water temperature in boiler room A6.
The domestic hot water system was operational at that time at a preset temperature of 55 C . Due to the nature of the boiler room operation, the preset temperature at the outlet from the heaters was not constant. Its fluctuation (differences of the order of 10 K ) was caused, among others, by insufficient capacity and efficiency of domestic hot water heaters in relation to the occurring temporary consumption of domestic hot water and the permissible changes in the settings in the automatic control system. In an extreme case, it was observed that when the containers were unloaded during consumption peaks, the temperature dropped even to 35 C . It should be noted that due to the specificity of the source (boiler room), there will always be a temperature hysteresis in domestic hot water heaters, usually assumed at 5 C , which means that the difference in hot water temperature in the analyzed boiler room should be between 50–55 C . Gas boilers are equipped with standard controllers offered by manufacturers and it is not possible to reduce hysteresis value for domestic hot water temperature below the value provided by the boiler manufacturer. Such a limitation is justified and is intended to protect boiler units from being switched on too frequently. However, from the point of view of domestic hot water installations and users, it leads to significant fluctuations in hot water temperature and has a negative impact on the operation of thermostatic valves installed on circulation system risers.
Figure 5 shows the course of hot water temperature variability on a selected working day.
Periods of reduced temperature corresponding to periods with reduced domestic hot water consumption (0:30–4:30 and 9:30–16:00) are preset within the automated system, depending on the specificity of given days. In the case of a district heating substation, much smaller fluctuations in the temperature of domestic hot water are noticeable, which do not exceed 2 C for short periods of time, and the range of variation is generally limited to 1.5   C . So far, the circulation installation has been treated as an auxiliary installation, and as a consequence, its correct operation has not been particularly monitored. However, it is responsible for consumption of significant amounts of heat, and thus its operation affects energy efficiency of heat distribution systems as well as the level of CO2 emissions. Information about current temperature values in the circulation circuit has a large diagnostic value and can be helpful in identifying faulty conditions or malfunctions of e.g., thermostatic valves. Monitoring temperature in individual risers provides direct information on ongoing problems in given sections of the system. It seems that the right postulate is to develop monitoring of internal thermal installations in buildings through additional metering of water temperature at the base of domestic hot water risers. The immediate goal of such a circulation system would be to maintain correct values of this parameter. Additionally, knowledge about circulation temperature variability profiles would be particularly useful in simulations of the operation of domestic hot water preparation systems and in their optimization. It should be noted that the currently used inference based on collected measurement data of circulation systems within heat sources is much more difficult and may lead to erratic conclusions. A circulating water stream is a mixture of streams coming from individual risers, and the temperature of the mixture, being weighted temperature of the streams, will therefore constitute an inaccurate basis for diagnostic assessments. Low circuit temperature may mean low flow in a circulating water, resulting in problems with ensuring comfortable use of hot water. However, increased DHW consumption is an equally likely consequence.

3.2.2. Measurements in the E1 District Heating Substation

Figure 6 and Figure 7 show the course of the hot water temperature variability on a selected working day in the E1 node. The automatic control system provides for periods of reduced temperature corresponding to periods with reduced consumption of domestic hot water (0:30–4:30 and 9:30–16:00). For holidays, time intervals for temperature reduction are different due to the specificity of such days. In the case of a district heating substation, much smaller fluctuations in the temperature of domestic hot water are noticeable, which do not exceed 2 C for short periods of time, and the variability range is generally limited to 1.5   C . Both the measurements in both heat junctions on the farthest risers supplied from them and the reactions of inhabitants attest to the correct functioning of the circulation system equipped with thermostatic valves at a stable temperature in the source.

3.2.3. Measurements on the Farthest Risers from Heat Sources

The last part of the research involved measurements carried out on selected risers of domestic hot water and circulation installations located farthest from heat sources. Figure 5 shows a discharge of a recorded average temperature in a 24-h cycle in the domestic hot water installation in a riser located farthest from the A6 source. The red line shows temperature distribution on working days (DR) and the green line at weekends (DW). As can be seen in the chart, the minimum temperatures significantly differ from the required hot water temperature of 55 C , which causes a significant increase in water consumption by the inhabitants adjacent to the farthest risers, increasing the consumption of water and energy necessary for its heating.
Mańkowski in his work [36] emphasizes that the malfunction of the circulation system leads not only to a periodic reduction in the temperature of hot tap water at points of use, but also to significant losses of tap water and heat. The opening of the tap valve causes the outflow of water at a temperature that makes it impossible to use it as intended (hygienic purposes, cleaning purposes). In this case, users keep the water flowing until the medium reaches the desired temperature. By its nature, such conduct must result in an increase in the consumption of domestic hot water. The cost of additionally consumed hot water cannot be calculated based on the existing residential water meters, as it is impossible to distinguish between water consumption at the correct temperature and consumption at a reduced temperature. Such a distinction could only be made by means of continuous heat meter measurement. In the work [41] you can find a comparison of the operation of a domestic hot water system with and without a circulation system. According to the study, the maximum daily difference in water consumption in a system without circulation was 80% higher than in a system with circulation. Such a difference is related to a much longer waiting time for hot water with the required temperature at the water outlet. In an event of a disruption of the circulation system, additional costs can be expected for customers supplied from end risers in the amount of up to 50% of consumption costs in relation to risers that are located close to the heat source. Lowering domestic hot water temperature also lowers the temperature of the circulating water. Daily distribution of the minimum (min), maximum (max) and average temperatures recorded at weekends in the circulation pipe farthest from the boiler room A6 is shown in Figure 8.
With significant fluctuations in the temperature of domestic hot water at the outlet from the source, a disturbance of the circulation system was observed, resulting in an increase in the circulation water flow as a result of lowering the temperature below that which had been set on the thermostatic valves and, consequently, further lowering of temperature on the risers away from the boiler room. A circulation system operating in this way does not really fulfill its role, i.e., it does not provide users with quick access to hot water at a required temperature. As a result of the lowering of domestic hot water temperature in the source and disrupting the circulation system, the costs of hot water consumption for residents in the farthest risers are higher. It should be emphasized that periods with lowered domestic hot water temperature are limited in time (usually up to 30–40 min) and are associated with increased consumption of this medium. Thus, they do not increase the risk of Legionella as these bacteria start to multiply after approximately 2–3 h [52]. In addition, it should be noted that national regulations require the use of periodic increase in the temperature of domestic hot water to protect against the development of Legionella or the use of chemical disinfection methods, which is always included in heating network regulations (guidelines for the technology of heating nodes) or in design and installation specifications.

3.2.4. Conclusions from Measurements

When hot water temperature from the source is lower than 55 C , e.g., when there are consumption peaks and discharge of the tanks, the return temperatures in individual risers are lowered and the installation is disrupted. Particularly unfavourable conditions occur in extreme risers, which is emphasized by the inhabitants who use them. Figure 9 shows a change in circulation water flow at its variable temperature through the Danfoss MTCV thermostatic valve at a circulation temperature of 55 C and the design differential pressure upstream of the valve 20 k Pa .
For the analyzed buildings, with the above assumptions, the water flow on the circulation riser is at a level of about 150 d m 3 / h . This stream corresponds to approximately 10 times the vertical airflow. For the boiler room A6, the design circulation flow is therefore 6.75   m 3 / h . If the circulation temperature is lowered by 5 C (to 50 C ), the stream on the riser will double, if it is lowered by 10 C , the stream will triple. Such a change in the flow through risers will significantly increase pressure loss within the system. In the absence of pressure and flow compensation on the circulation pump, the circulation system will be disrupted, i.e., the flow through the nearest risers will increase, and flows through risers located farther from the heat source will decrease. Such behavior of the installation is consistent with the results of calculations of temperatures, flow rates and valve opening degrees at the lower than required pump head, presented in Wollenstrand in the publication [53].
In the domestic hot water heater located in the boiler room, there is a temperature hysteresis set at 5 C , while the temperature of domestic hot water, which flows from the technological system of the heat source during its highest consumption, is lower than 55 C . It should also be noted, which is also pointed out by the inhabitants of buildings, that water temperature in the circulation system indicates a reduction in the parameters (temperature) of hot water in the risers. Extreme (most distant) conditions are particularly unfavorable. Figure 9 shows the course of changes in the minimum water flow in the circulation system at a variable temperature of circulating water on the MTCV thermostatic valve, the operating parameters of which correspond to the actual system parameters (55 C , Δ p before the valve 20 k Pa ). In a properly working domestic hot water installation, a vertical stream of water it is set at approximately 150 m 3 / h , which equates to about 10 times vertical water change. Thus, the total flow in the risers in the discussed source will be 4.8   m 3 / h . In a situation where domestic hot water temperature drops to 50 C , vertical flow will increase by 300 d m 3 / h , and when the temperature drops to 45 C , the flow will increase to 480 d m 3 / h , which will disrupt the domestic hot water circulation system (with unchanged pump head). In addition, flows through risers closest to the source will be increased, and the water stream will significantly decrease in extreme risers, which will result in a drop in temperature in the risers. This is exactly the situation in the analyzed buildings, i.e., despite the correctly selected and maintained hot utility water circulation pump and thermostatic valves, there is a long waiting time for hot water in the taps.

4. Conclusions

In the existing building, a significant improvement in thermal insulation of hot water or circulation pipes is severely limited. The main reason for this is complete absence or little space available for additional insulation material. Additionally, potentially long payback periods mean that financial support is expected for this type of investment. The available thermostatic circulation valves are designed for hot water installations in which a constant temperature of the medium is maintained. In the domestic hot water installation supplied from a system equipped with capacity heaters (gas boiler room), the presence of thermostatic valves contributed to further disruption in the installation. In the case of buildings supplied with heat from a district heating node (no accumulation of domestic hot water), thermostatic valves fulfilled their role.
Several technical solutions can be applied to reduce the possibility of deregulation of the installation. In the existing installations, it is possible to lower the temperature of the thermostatic valves (e.g., to 45 C ) at a cost of reducing the comfort of domestic hot water supply. The second method (the most frequently used) is to significantly oversize the circulation pump, increasing both the investment costs and the pumping costs. Another way is to use fittings that make it possible to increase hydraulic resistance (pressure drops) on the risers located closest to the heat source (e.g., valves equipped with both temperature regulation and manual resistance setting). In this way, the risk of an uncontrolled increase in the flow in these parts of the installation will be reduced, in the event that the domestic hot water temperature drops significantly (e.g., during periods of increased consumption). Stabilization of the working conditions of the circulation pump and the lowering of pumping costs will be here an additional benefit. Another solution is the use of dynamic regulation on the risers (constant flow valves), which enables constant flows through individual risers, regardless of the temperature of the circulating water. In the scope of recommendations for operating services, it is necessary to indicate the need to conduct periodic checks of the correct operation of circulating thermostatic valves. It will also be advantageous to perform periodic hydraulic adjustments due to possible sedimentation of deposits on the inside of the pipes. In the summer, due to reduced heat losses, in cases where it does not cause disruptions to the installation, it seems justified to limit the circulating water stream.
In the absence of guidelines or their highly individual character (specific for each building or system), introducing restrictions in the operation of domestic hot water circulation systems in the summer period should be carried out in an experimental mode. The installation of flow measuring devices in individual sections of the circulation system greatly facilitates and increases hydraulic efficiency and options to regulate the system. Based on research carried out by the authors as well as on publications of other authors (cited in this manuscript), it seems justified to create a knowledge base of computational procedures (mathematical models) intended for the dimensioning of circulation systems in multifamily buildings.
In the case of this research, the district heating node made it possible to obtain a stable temperature of domestic hot water, which significantly improved the efficiency of this installation. Similar effects would be obtained if the installation was supplied from a heat pump or a modern boiler room. In this case, the change of the heat source from a gas boiler room to a district heating node was dictated by lower final energy cost for consumers. It is clear that district heating systems need to change. According to the assumptions of the fourth generation of heating networks [54], it is expected that the temperatures in the heating network will be reduced even to 45 C , that domestic hot water temperature will be limited to 40 C and that hybrid nodes with additional heat pumps will be used. Such solutions will allow for more effective operation of heat networks also in the summer.
The proposed methodology refers to as well as has been developed and tested on existing buildings. The authors of the publication did not conduct research on newly designed domestic hot water installations in new facilities. Analyses in this area are planned in the next stages of the research. In order to plan research procedures, negotiations with developers in one of the largest cities in Poland are currently underway. Analyses of the research conducted by other scientists reveal that the topic is not fully understood, and in their publications the authors present estimated values of the reduction of heat losses in pipelines (5–15%), resulting from their thermal insulation performed in accordance with applicable regulations. The reduction of heat losses in the domestic hot water installation by means of the method presented by the authors is estimated at approximately 20%. It can be assumed that the relations in newly designed buildings will be similar, but as mentioned above, such analyses have not been carried out yet and are planned for the next stage of the research. The results of these studies will be presented in subsequent publications, which are planned to be implemented after the completion of analyses.

Author Contributions

Conceptualization, M.K. and G.B.; methodology, M.K., G.B. and P.Z.; software, G.B.; validation, P.Z.; formal analysis, P.Z.; investigation, M.K., G.B. and P.Z.; resources, M.K., G.B.; data curation, P.Z.; writing—original draft preparation, M.K. and G.B.; writing—review and editing, P.Z., M.K. and G.B.; visualization, G.B.; supervision, P.Z. All authors have read and agreed to the published version of the manuscript.

Funding

This research received no external funding.

Institutional Review Board Statement

Not applicable.

Informed Consent Statement

Not applicable.

Data Availability Statement

Not applicable.

Conflicts of Interest

The authors declare no conflict of interest.

References

  1. Bertelsen, N.; Vad Mathiesen, B. EU-28 Residential Heat Supply and Consumption: Historical Development and Status. Energies 2020, 13, 1894. [Google Scholar] [CrossRef]
  2. Desonie, D. Climate: Causes and Effects of Climate Change; Redwood: London, UK, 2010. [Google Scholar]
  3. Letcher, T.M. (Ed.) Climate Change: Observed Impacts on Planet Earth, 2nd ed.; Elsevier: Amsterdam, The Netherlands, 2015. [Google Scholar]
  4. Marszal, A.J.; Heiselberg, P.; Bourrelle, J.S.; Musall, E.; Voss, K.; Sartori, I.; Napolitano, A. Zero Energy Building—A review of definitions and calculation methodologies. Energy Build. 2011, 43, 971–979. [Google Scholar] [CrossRef]
  5. European Council. Conclusions on 2030 Climate and Energy Policy Framework; European Council: Brussels, Belgium, 2014. [Google Scholar]
  6. European Union. Energy Roadmap 2050; Technical Report; European Union: Luxembourg, 2012. [Google Scholar] [CrossRef]
  7. Economidou, M.; Todeschi, V.; Bertoldi, P.; D’Agostino, D.; Zangheri, P.; Castellazzi, L. Review of 50 years of EU energy efficiency policies for buildings. Energy Build. 2020, 225, 110322. [Google Scholar] [CrossRef]
  8. Martinopoulos, G.; Papakostas, K.T.; Papadopoulos, A.M. A comparative review of heating systems in EU countries, based on efficiency and fuel cost. Renew. Sustain. Energy Rev. 2018, 90, 687–699. [Google Scholar] [CrossRef]
  9. Belussi, L.; Barozzi, B.; Bellazzi, A.; Danza, L.; Devitofrancesco, A.; Fanciulli, C.; Ghellere, M.; Guazzi, G.; Meroni, I.; Salamone, F.; et al. A review of performance of zero energy buildings and energy efficiency solutions. J. Build. Eng. 2019, 25, 100772. [Google Scholar] [CrossRef]
  10. Jung, N.; Paiho, S.; Shemeikka, J.; Lahdelma, R.; Airaksinen, M. Energy performance analysis of an office building in three climate zones. Energy Build. 2018, 158, 1023–1035. [Google Scholar] [CrossRef]
  11. International Energy Agency. World Energy Outlook 2018; IEA: Paris, France, 2018; p. 661. [Google Scholar]
  12. Pérez-Lombard, L.; Ortiz, J.; Coronel, J.F.; Maestre, I.R. A review of HVAC systems requirements in building energy regulations. Energy Build. 2011, 43, 255–268. [Google Scholar] [CrossRef]
  13. Bøhm, B. Production and distribution of domestic hot water in selected Danish apartment buildings and institutions. Analysis of consumption, energy efficiency and the significance for energy design requirements of buildings. Energy Convers. Manag. 2013, 67, 152–159. [Google Scholar] [CrossRef]
  14. Burke, S.; Von Seth, J.; Ekström, T.; Maljanovski, C.; Wiktorsson, M. Mapping of Domestic Hot Water Circulation Losses in Buildings—Preliminary Results from 134 Measurements. E3S Web Conf. 2020, 172, 12009. [Google Scholar] [CrossRef]
  15. Minister of Infrastructure. Regulation of the Minister of Infrastructure of 12 April 2002 on the Technical Conditions to Be Met by Buildings and Their Location; Minister of Infrastructure: Warsaw, Poland, 2002. [Google Scholar]
  16. Čarnogurská, M.; Příhoda, M.; Puškár, M.; Fabian, M.; Dobáková, R.; Kubík, M. Measurement and mathematical modelling of heat loss in the pipe systems of a central heat distribution network. Measurement 2016, 94, 806–811. [Google Scholar] [CrossRef]
  17. McNabb, A.; Weir, G.J. Heat losses from an insulated pipe. J. Math. Anal. Appl. 1980, 77, 270–277. [Google Scholar] [CrossRef][Green Version]
  18. Boait, P.J.; Dixon, D.; Fan, D.; Stafford, A. Production efficiency of hot water for domestic use. Energy Build. 2012, 54, 160–168. [Google Scholar] [CrossRef]
  19. Cholewa, T.; Siuta-Olcha, A.; Anasiewicz, R. On the possibilities to increase energy efficiency of domestic hot water preparation systems in existing buildings—Long term field research. J. Clean. Prod. 2019, 217, 194–203. [Google Scholar] [CrossRef]
  20. Pomianowski, M.Z.; Johra, H.; Marszal-Pomianowska, A.; Zhang, C. Sustainable and energy-efficient domestic hot water systems: A review. Renew. Sustain. Energy Rev. 2020, 128, 109900. [Google Scholar] [CrossRef]
  21. Ahmed, K.; Pylsy, P.; Kurnitski, J. Hourly consumption profiles of domestic hot water for different occupant groups in dwellings. Sol. Energy 2016, 137, 516–530. [Google Scholar] [CrossRef]
  22. Kitzberger, T.; Kilian, D.; Kotik, J.; Pröll, T. Comprehensive analysis of the performance and intrinsic energy losses of centralized Domestic Hot Water (DHW) systems in commercial (educational) buildings. Energy Build. 2019, 195, 126–138. [Google Scholar] [CrossRef]
  23. Hohne, P.A.; Kusakana, K.; Numbi, B.P. Scheduling and economic analysis of hybrid solar water heating system based on timer and optimal control. J. Energy Storage 2018, 20, 16–29. [Google Scholar] [CrossRef]
  24. Baneshi, M.; Bahreini, S.A. Impacts of hot water consumption pattern on optimum sizing and techno-economic aspects of residential hybrid solar water heating systems. Sustain. Energy Technol. Assess. 2018, 30, 139–149. [Google Scholar] [CrossRef]
  25. Lomet, A.; Suard, F.; Chèze, D. Statistical Modeling for Real Domestic Hot Water Consumption Forecasting. Energy Procedia 2015, 70, 379–387. [Google Scholar] [CrossRef]
  26. Lee, M.C. Reducing CO2 emissions in the individual hot water circulation piping system. Energy Build. 2014, 84, 475–482. [Google Scholar] [CrossRef]
  27. Brazeau, R.H.; Edwards, M.A. A review of the sustainability of residential hot water infrastructure: Public health, environmental impacts, and consumer drivers. J. Green Build. 2011, 6, 77–95. [Google Scholar] [CrossRef]
  28. Brazeau, R.H.; Edwards, M.A. Water and energy savings from on-demand and hot water recirculating systems. J. Green Build. 2013, 8, 75–89. [Google Scholar] [CrossRef]
  29. Brazeau, R.H.; Edwards, M.A. Optimization of electric hot water recirculation systems for comfort, energy and public health. J. Green Build. 2013, 8, 73–89. [Google Scholar] [CrossRef]
  30. Thorsen, J. Analysis on flat station concept. In Proceedings of the 12th International Symposium on District Heating and Cooling, Tallinn, Estonia, 5–7 September 2010. [Google Scholar]
  31. Persson, T. Dishwasher and washing machine heated by a hot water circulation loop. Appl. Therm. Eng. 2007, 27, 120–128. [Google Scholar] [CrossRef]
  32. Benakopoulos, T.; Vergo, W.; Tunzi, M.; Salenbien, R.; Svendsen, S. Overview of Solutions for the Low-Temperature Operation of Domestic Hot-Water Systems with a Circulation Loop. Energies 2021, 14, 3350. [Google Scholar] [CrossRef]
  33. Ziembicki, P.; Bernasiński, J.; Kozioł, J. The production of chilled water from a low-temperature medium of district heating systems. In Proceedings of the 32nd International Conference on Efficiency, Cost, Optimization, Simulation and Environmental Impact of Energy Systems, Wrocław, Poland, 23–28 June 2019; Institute of Thermal Technology, Silesian University of Technology: Wrocław, Poland, 2019; pp. 4647–4659. [Google Scholar]
  34. Evarts, J.C.; Swan, L.G. Domestic hot water consumption estimates for solar thermal system sizing. Energy Build. 2013, 58, 58–65. [Google Scholar] [CrossRef]
  35. Mugnier, D.; Seleme, L.R. Concept and Practical Results for a Solar DHW System in Multi-family Houses with Decentralized Storages. Energy Procedia 2015, 70, 388–393. [Google Scholar] [CrossRef][Green Version]
  36. Mańkowski, S. Projektowanie Ciepłej Wody Użytkowej; ARKADY: Warsaw, Poland, 1981. [Google Scholar]
  37. Nowakowski, E. Termostatyczne zawory regulacyjne w obiegu cyrkulacyjnym instalacji ciepłej wody. Rynek Instalacyjny 2009, 4, 51–52. [Google Scholar]
  38. Szaflik, W. Współpraca cyrkulacyjnych podpionowych zaworów termoregulacyjnych z instalacja̧ ciepłej wody i ich dobór. Ciepłownictwo, Ogrzew. Went. 2007, 12, 16–18. [Google Scholar]
  39. Danfoss. Multifunctional Thermostatic Circulation Valve MTCV; Technical report; Danfoss: Nordborg, Denmark, 2016. [Google Scholar]
  40. Oventrop. “Aquastrom C” Double Regulating and Commissioning Valves for Circulation Pipes in Potable Water Installations; Technical Report; Oventrop: Olsberg, Germany, 2016. [Google Scholar]
  41. Polarczyk, I.; Fijewski, M. Impact of the circulation system on domestic hot water consumption. E3S Web Conf. 2017, 22, 00137. [Google Scholar] [CrossRef]
  42. Becq, A.; Chèze, D. Influence of mixing valve dynamics and recirculation loop connection to solar tank on large hot water system performances. Sol. Energy 2021, 218, 211–225. [Google Scholar] [CrossRef]
  43. Fernández-Seara, J.; Uhía, F.J.; Pardiñas, Á.Á.; Bastos, S. Experimental analysis of an on demand external domestic hot water production system using four control strategies. Appl. Energy 2013, 103, 85–96. [Google Scholar] [CrossRef]
  44. Rahmatmand, A.; Vratonjic, M.; Sullivan, P.E. Energy and thermal comfort performance evaluation of thermostatic and electronic mixing valves used to provide domestic hot water of buildings. Energy Build. 2020, 212, 109830. [Google Scholar] [CrossRef]
  45. Ruusala, A.; Laukkarinen, A.; Vinha, J. Comparison between calculated and billed building energy consumption values of schools and daycare centers. In Proceedings of the 4th Central European Symposium on Building Physics, Prague, Czech Republic, 2–5 September 2019; p. 6. [Google Scholar] [CrossRef]
  46. Kragh, J.; Rose, J.; Knudsen, H.N.; Jensen, O.M. Possible explanations for the gap between calculated and measured energy consumption of new houses. Energy Procedia 2017, 132, 69–74. [Google Scholar] [CrossRef]
  47. Fokaides, P.A.; Maxoulis, C.N.; Panayiotou, G.P.; Neophytou, M.K.; Kalogirou, S.A. Comparison between measured and calculated energy performance for dwellings in a summer dominant environment. Energy Build. 2011, 43, 3099–3105. [Google Scholar] [CrossRef]
  48. PKN. PN-B-02421:2000 Heating and District Heating—Heat Insulation of Pipelines, Valves and Equipment—Specification and Reception Tests; Technical Report; PKN: Warsaw, Poland, 2000. [Google Scholar]
  49. R Core Team. R: A Language and Environment for Statistical Computing; R Foundation for Statistical Computing: Vienna, Austria, 2017. [Google Scholar]
  50. Wickham, H. ggplot2 Elegant Graphics for Data Analysis; Springer: New York, NY, USA, 2009. [Google Scholar]
  51. Klimczak, M.; Bartnicki, G. Possibility of reducing the costs of hot water distribution while maintaining the user’s comfort. In Proceedings of the 10th Conference on Interdisciplinary Problems in Environmental Protection and Engineering (EKO-DOK 2018), Polanica-Zdrój, Poland, 16–18 April 2018. [Google Scholar]
  52. Van Der Kooij, D.; Veenendaal, H.R.; Scheffer, W.J. Biofilm formation and multiplication of Legionella in a model warm water system with pipes of copper, stainless steel and cross-linked polyethylene. Water Res. 2005, 39, 2789–2798. [Google Scholar] [CrossRef]
  53. Wollenstrand, J.; Persson, T. Funkcjonowanie instalacji c.w.u. a właściwości termostatycznych zaworów cyrkulacyjnych. In Proceedings of the VIII Polish District Heating Forum, Miedzyzdroje, Poland, 13–15 September 2004; pp. 208–215. [Google Scholar]
  54. Lund, H.; Werner, S.; Wiltshire, R.; Svendsen, S.; Thorsen, J.E.; Hvelplund, F.; Mathiesen, B.V. 4th Generation District Heating (4GDH): Integrating smart thermal grids into future sustainable energy systems. Energy 2014, 68, 1–11. [Google Scholar] [CrossRef]
Figure 1. Cross-section of insulated pipe [16].
Figure 1. Cross-section of insulated pipe [16].
Energies 15 03952 g001
Figure 2. A technological diagram of the research installation.
Figure 2. A technological diagram of the research installation.
Energies 15 03952 g002
Figure 3. Comparison of the real and theoretical heat input for the preparation and delivery of a unit volume of domestic hot water in 4 heat supply systems in 2018–2021.
Figure 3. Comparison of the real and theoretical heat input for the preparation and delivery of a unit volume of domestic hot water in 4 heat supply systems in 2018–2021.
Energies 15 03952 g003
Figure 4. Examples of daily changes in hot water temperature in boiler room A6.
Figure 4. Examples of daily changes in hot water temperature in boiler room A6.
Energies 15 03952 g004
Figure 5. Hourly profile of average temperature of circulation for working day (DR) and weekends (DW) [51].
Figure 5. Hourly profile of average temperature of circulation for working day (DR) and weekends (DW) [51].
Energies 15 03952 g005
Figure 6. The course of domestic hot water temperature on a working day—power supplied from a heating node.
Figure 6. The course of domestic hot water temperature on a working day—power supplied from a heating node.
Energies 15 03952 g006
Figure 7. The course of domestic hot water temperature on a weekend day—power supplied from a heating node.
Figure 7. The course of domestic hot water temperature on a weekend day—power supplied from a heating node.
Energies 15 03952 g007
Figure 8. Minimum and maximum temperatures of circulating water on week days (DR), and average temperatures of circulating water on weekends (DW) on the furthest riser [51].
Figure 8. Minimum and maximum temperatures of circulating water on week days (DR), and average temperatures of circulating water on weekends (DW) on the furthest riser [51].
Energies 15 03952 g008
Figure 9. Changes in the minimum flow at a fluctuating circulation temperature in an MTCV thermostatic valve at a calculation pressure difference of 20 k Pa [51].
Figure 9. Changes in the minimum flow at a fluctuating circulation temperature in an MTCV thermostatic valve at a calculation pressure difference of 20 k Pa [51].
Energies 15 03952 g009
Publisher’s Note: MDPI stays neutral with regard to jurisdictional claims in published maps and institutional affiliations.

Share and Cite

MDPI and ACS Style

Klimczak, M.; Bartnicki, G.; Ziembicki, P. Energy Consumption by DHW System with a Circulation Loop as an Energy Efficiency Component, Based on an Example of a Residential Building. Energies 2022, 15, 3952. https://doi.org/10.3390/en15113952

AMA Style

Klimczak M, Bartnicki G, Ziembicki P. Energy Consumption by DHW System with a Circulation Loop as an Energy Efficiency Component, Based on an Example of a Residential Building. Energies. 2022; 15(11):3952. https://doi.org/10.3390/en15113952

Chicago/Turabian Style

Klimczak, Marcin, Grzegorz Bartnicki, and Piotr Ziembicki. 2022. "Energy Consumption by DHW System with a Circulation Loop as an Energy Efficiency Component, Based on an Example of a Residential Building" Energies 15, no. 11: 3952. https://doi.org/10.3390/en15113952

APA Style

Klimczak, M., Bartnicki, G., & Ziembicki, P. (2022). Energy Consumption by DHW System with a Circulation Loop as an Energy Efficiency Component, Based on an Example of a Residential Building. Energies, 15(11), 3952. https://doi.org/10.3390/en15113952

Note that from the first issue of 2016, this journal uses article numbers instead of page numbers. See further details here.

Article Metrics

Back to TopTop