Researching on the Deterministic Channel Models for Urban Microcells Considering Diffraction Effects
Abstract
1. Introduction
2. Theory of Ray Launching Method
2.1. Three-Dimensional Ray Launching Method
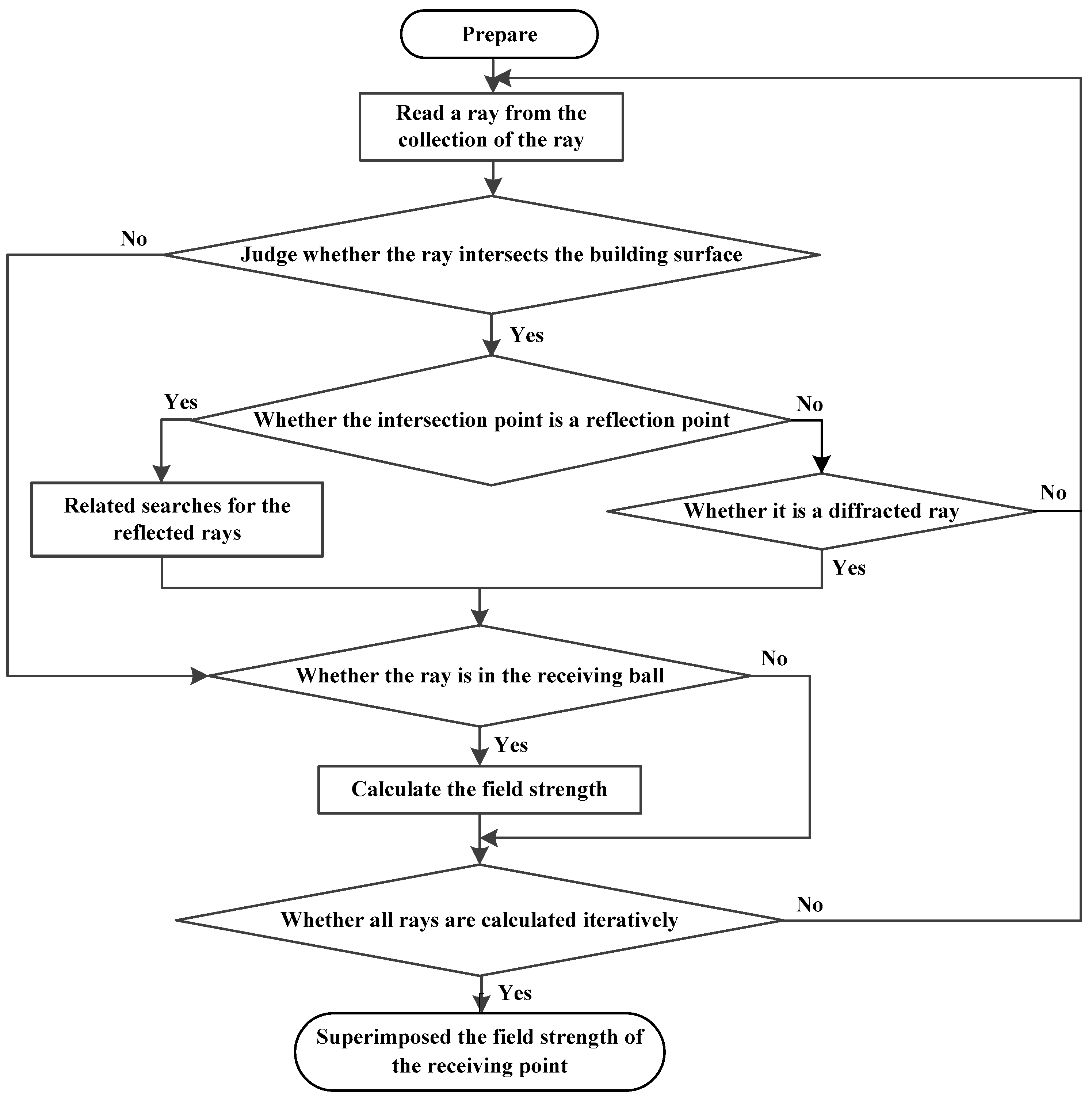
- 1.
- Preparation work. There are three main parts. First, the environmental data file must be read, including all the vertex coordinates of the building and the outer normal vector of the wall. Second, various electromagnetic parameters must be initialized, such as the height of the transmitting and receiving antennas, frequency, emission power, wavelength, dielectric constant, and conductivity. Third, the influence of different number of rays on the accuracy of the electric field must be tested by subdividing the polyhedron to generate different types of rays. Furthermore, the regular icosahedron is used.
- 2.
- Direct rays must be assessed to determine whether the receiving antenna is within the line of sight (LOS) of the transmitting antenna.
- 3.
- The reflected and diffracted rays must be detected. The rays that enter the receiving ball after one reflection and diffraction must be identified.
- 4.
- The following must be detected: first-order diffraction ray and one diffraction ray followed by a reflected ray.
- 5.
- Multiple reflections for up to fifth order reflection rays must be detected.
- 6.
- Subsequent calculations. The electric field strength and synthesis of each ray based on the ray path must be calculated. Thus, the path loss is obtained at the receiving point. A brief flow diagram of the 3D ray launching method is shown in Figure 1.
2.2. Calculation of the Direct Wave Field
2.3. Calculation of the Reflected Field
2.4. Calculation of the Diffracted Field
3. Experimental Methods: Introduction to Channel Measurements at 39 GHz
3.1. Channel Measurement System at 39 GHz
3.2. Channel Measurement Procedure
4. Results and Discussion: Comparison of Theory and Experiments
4.1. Path Loss without Consideration of the Diffraction Effect
4.2. Path Loss Considering the Diffraction Effect
5. Conclusions
Author Contributions
Funding
Institutional Review Board Statement
Informed Consent Statement
Data Availability Statement
Acknowledgments
Conflicts of Interest
References
- Saha, R.K. 3D spatial reuse of multi-millimeter-wave spectra by ultra-dense in-building small cells for spectral and energy efficiencies of future 6g mobile networks. Energies 2020, 13, 1748. [Google Scholar] [CrossRef]
- Tavsanoglu, A.; Briso, C.; Carmena-Cabanillas, D.; Arancibia, R.B. Concepts of Hyperloop Wireless Communication at 1200 km/h: 5G, Wi-Fi, Propagation, Doppler and Handover. Energies 2021, 14, 983. [Google Scholar] [CrossRef]
- Zhao, X.; Du, F.; Geng, S.; Fu, Z.; Wang, Z.; Zhang, Y.; Zhou, Z.; Zhang, L.; Yang, L. Playback of 5G and beyond measured MIMO channels by an ANN-based modeling and simulation framework. IEEE J. Sel. Areas Commun. 2020, 38, 1945–1954. [Google Scholar] [CrossRef]
- Wu, Z.Z. Mobile Communication Radio Wave Propagation; Posts & TELECOM Press: Beijing, China, 2002. [Google Scholar]
- Yuan, Z.W. Theory and Method of Terminal Ray Tracing Positioning in Mobile Communication System; Publishing House of Electronics Industry: Beijing, China, 2007. [Google Scholar]
- ZTE. 5G Millimeter Wave Technology White Paper; ZTE: Shenzhen, China, 2020. [Google Scholar]
- Glassner, A.S. An Introduction to Ray Tracing; Academic Press Limited: London, UK, 1989. [Google Scholar]
- Yun, Z.; Iskander, M.F. Ray tracing for radio propagation modeling: Principles and applications. IEEE Access 2015, 3, 1089–1100. [Google Scholar] [CrossRef]
- Imai, T. A survey of efficient ray-tracing methods for mobile radio propagation analysis. IEICE Trans. Commun. 2016, E100–B, 666–679. [Google Scholar]
- He, D.; Ai, B.; Guan, K.; Wang, L.; Zhong, Z.; Kurner, T. The design and applications of high-performance ray-tracing simulation platform for 5G and beyond wireless communications: A tutorial. IEEE Commun. Surv. Tutor. 2018, 21, 10–27. [Google Scholar] [CrossRef]
- Del Corte-Valiente, A.; Gómez-Pulido, J.M.; Gutiérrez-Blanco, O.; Castillo-Sequera, J.L. Localization Approach Based on Ray-Tracing Simulations and Fingerprinting Methods for Indoor–Outdoor Scenarios. Energies 2019, 12, 2943. [Google Scholar] [CrossRef]
- Chen, Y.S.; Lai, F.P.; You, J.W. Analysis of antenna radiation characteristics using a hybrid ray tracing algorithm for indoor WiFi energy-harvesting rectennas. IEEE Access 2019, 7, 38833–38846. [Google Scholar] [CrossRef]
- Seidel, S.Y.; Rappaport, T.S. Site-specific propagation prediction for wireless in-building personal communication system design. IEEE Trans. Veh. Technol. 1994, 43, 879–891. [Google Scholar] [CrossRef]
- Durgin, G.; Patwari, N.; Rappaport, T.S. An advanced 3D ray launching method for wireless propagation prediction. IEEE Veh. Technol. Conf. Phoeniz. 1997, 2, 785. [Google Scholar]
- Horikoshi, J.; Tanaka, K.; Morinaga, T. 1.2 GHz band wave propagation measurement in concrete building for indoor radio communications. IEEE Trans. Veh. Technol. 1986, 35, 146–152. [Google Scholar] [CrossRef]
- Bultitude RJ, C.; Mahmoud SA Sullivan, W.A. A comparison of indoor radio propagation characteristics at 910 MHz and 1.75 GHz. IEEE J. Sel. Areas Commun. 1989, 7, 20–30. [Google Scholar] [CrossRef]
- Arnold, H.W.; Murray, R.R.; Cox, D.C. 815 MHz radio attenuation measured within two commercial buildings. IEEE Trans. Antennas Propagat. 1989, 37, 1335–1339. [Google Scholar] [CrossRef]
- Honcharenko, W.; Bertoni, H.L.; Dailing, J.L.; Qian, J.; Yee, H.D. Mechanisms governing UHF propagation on single floors in modern office buildings. IEEE Trans. Veh. Technol. 1992, 41, 496–504. [Google Scholar] [CrossRef]
- Ji, Z.; Li, B.H.; Wang, H.X. Prediction of propagating from outdoor to indoor sites by using ray-tracing method. J. China Inst. Commun. 2001, 22, 114–119. [Google Scholar]
- Schaubach, K.R.; Davis, N.J.; Rappaport, T.S. A Ray Tracing Method for Predicting Path Loss and Delay Spread in Microcellular Environments. In Proceedings of the Vehicular Technology Society 42nd VTS Conference-Frontiers of Technology, Denver, CO, USA, 10–13 May 1992; pp. 932–935. [Google Scholar]
- He, W.; Zhang, M.; Bo, Y. A Fast Ray-Tracing Software Package for Field Distribution Predictions. In Proceedings of the 2016 IEEE International Workshop on Electromagnetics: Applications and Student Innovation Competition (iWEM), Nanjing, China, 16–18 May 2016; pp. 1–3. [Google Scholar]
- Geok, T.K.; Hossain, F.; Chiat, A.T.W. A novel 3D ray launching technique for radio propagation prediction in indoor environments. PLoS ONE 2018, 13, e0201905. [Google Scholar] [CrossRef]
- Hossain, F.; Geok, T.K.; Rahman, T.A.; Hindia, M.N.; Dimyati, K.; Ahmed, S.; Tso, C.P.; Abd Rahman, N.Z. An efficient 3-D ray tracing method: Prediction of indoor radio propagation at 28 GHz in 5G network. Electronics 2019, 8, 286. [Google Scholar] [CrossRef]
- Erceg, V.; Rustako, A.J.; Roman, R.S. Diffraction around corners and its effects on the microcell coverage area in urban and suburban environments at 900 MHz, 2 GHz, and 4 GHz. IEEE Trans. Veh. Technol. 1994, 43, 762–766. [Google Scholar] [CrossRef]
- Zhang, Y.; Wu, J.; Guo, L.; Zhao, Z.; Lin, L.; Xu, B.; Zhang, R. The quasi 3-D ray tracing model in microcellular environment. Chin. J. Radio Sci. 2012, 27, 954. [Google Scholar]
- Zhang, M.G. Tropospheric Scattering; Publishing House of Electronics Industry: Beijing, China, 2004. [Google Scholar]
- Tan, S.Y.; Tan, H.S. A theory for propagation path-loss characteristics in a city-street grid. IEEE Trans. Electromagn. Compat. 1995, 37, 333–342. [Google Scholar] [CrossRef]
- Tan, S.Y.; Tan, H.S. UTD propagation model in an urban street scene for microcellular communications. IEEE Trans. Electromagn. Compat. 1993, 35, 423–428. [Google Scholar] [CrossRef]
- Robert, G. Uniform Geometrical Theory of Diffraction for an Edge in a Perfectly Conducting Surface. Proc. IEEE 1974, 62, 116–130. [Google Scholar]
- McNamara, D.A.; Malherbe, J.A.G.; Pistorius, C.W.I. Introduction to the Uniform Geometrical Theory of Diffraction; Artech House: Boston, MA, USA, 1990. [Google Scholar]
- Wang, M.G. The Geometric Diffraction Theory; Xidian University Press: Xi’an, China, 1994. [Google Scholar]
- Wu, J.F.; Cao, W.; Cheng, Y. A Two-Dimension Ray-Tracing Model for Microcellular Wave Propagation Prediction. J. Nanjing Univ. Posts Telecommun. 2001, 21, 45–51. [Google Scholar]

















| Parameters | Value |
|---|---|
| Frequency (GHz) | 39 |
| Bandwidth (GHz) | 1 |
| Transmitting power (dBm) | 0 |
| The height of receiver/transmitter antenna (m) | 1.5/9.0 |
| The transmitter and the gain (dBi) | Omnidirectional antenna/6.19 |
| The receiver and the gain (dBi) | Horn antenna/26.92 |
| The step of the receiver antenna (°) | 5° |
| Polarization mode of transmitting antenna | V |
| Polarization mode of receiving antenna | V |
| The Number of the Ray | RMSE (SP) | RMSE (PS) |
|---|---|---|
| 10,242 | 4.9240 | 6.3400 |
| 40,962 | 4.5106 | 5.8789 |
| 163,842 | 5.6778 | 7.8459 |
| 655,362 | 4.6707 | 6.6942 |
| 2,621,442 | 4.92323 | 6.1555 |
| The Number of Rays | RMSE (SP) | RMSE (PS) |
|---|---|---|
| 10,242 | 4.1386 | 5.5011 |
| 40,962 | 3.9318 | 5.7427 |
| 163,842 | 3.9212 | 5.3059 |
| 655,362 | 4.1032 | 3.9049 |
| 2,621,442 | 3.9704 | 4.6499 |
| The Number of the Ray | RMSE (SP) | RMSE (PS) |
|---|---|---|
| 10,242 | 8.8742 | 8.9469 |
| 40,962 | 9.6515 | 9.4241 |
| 163,842 | 8.5696 | 8.6053 |
| 655,362 | 8.5142 | 7.8922 |
| 2,621,442 | 12.5075 | 12.1358 |
Publisher’s Note: MDPI stays neutral with regard to jurisdictional claims in published maps and institutional affiliations. |
© 2021 by the authors. Licensee MDPI, Basel, Switzerland. This article is an open access article distributed under the terms and conditions of the Creative Commons Attribution (CC BY) license (https://creativecommons.org/licenses/by/4.0/).
Share and Cite
Hou, C.; Wu, Z.; Wu, J.; Cao, Y.; Lin, L.; Guo, X.; Lu, C. Researching on the Deterministic Channel Models for Urban Microcells Considering Diffraction Effects. Energies 2021, 14, 2143. https://doi.org/10.3390/en14082143
Hou C, Wu Z, Wu J, Cao Y, Lin L, Guo X, Lu C. Researching on the Deterministic Channel Models for Urban Microcells Considering Diffraction Effects. Energies. 2021; 14(8):2143. https://doi.org/10.3390/en14082143
Chicago/Turabian StyleHou, Chunzhi, Zhensen Wu, Jiaji Wu, Yunhua Cao, Leke Lin, Xiangming Guo, and Changsheng Lu. 2021. "Researching on the Deterministic Channel Models for Urban Microcells Considering Diffraction Effects" Energies 14, no. 8: 2143. https://doi.org/10.3390/en14082143
APA StyleHou, C., Wu, Z., Wu, J., Cao, Y., Lin, L., Guo, X., & Lu, C. (2021). Researching on the Deterministic Channel Models for Urban Microcells Considering Diffraction Effects. Energies, 14(8), 2143. https://doi.org/10.3390/en14082143
