Abstract
Increasing the field development efficiency of fractured reservoirs is a contemporary issue. This paper presents fundamental and exploratory research results in this field using modern high-tech experimental equipment from the “Arctic” Scientific Centre at the Saint Petersburg Mining University. Oil reserves in fractured reservoirs are enormous; however, they are classified as hard-to-recover. The before-mentioned reservoirs require a specific approach when selecting technologies to improve the efficiency of their development. In this paper, as a solution to the problem under discussion, we propose the use of a physicochemical method of developing fractured reservoirs based on the injection of a water shut-off agent to exclude highly permeable water-conducting fractures from the drainage process. This technology makes it possible to effectively include and develop previously undrained reservoir areas by directly controlling their filtration properties with the use of new highly efficient and ecologically safe chemical reagents and process fluids.
1. Introduction
The current state of oil and gas production can be characterized by a decrease in the share of classical pore reservoirs, a drop in well production rates, and an increase in water cut [1]. To restore hydrocarbon production rates [2], reserves previously seen as too complex for technological reasons are now being developed [3]. One such example for active development are fields in fractured reservoirs, which account for more than half of the world’s oil and gas reserves [4,5,6].
A key feature of fractured reservoirs is the significant effect on fluid filtration within their discrete systems, namely: fracture systems, open channel systems within the fracture system, stylolites and caverns [7]. The permeability of these systems is higher than that of the rock matrix [8], so the process of relocating oil and gas from them is more rapid. As a result, water begins to flow into the well preferentially through the fractures, without performing useful hydrocarbon displacement work [9].
It is possible to increase the oil displacement rate while maintaining profitable production rates, both by exposing the rock matrix to acid compositions [10], and by treating highly permeable fractured channels with water shut-off compositions [11]. However, despite the fact that there are many technologies and chemicals to combat well water flooding [12,13,14,15], most of them are designed for pore reservoir conditions [16,17,18] and their use is not always effective in environments with double porosity, in which the water shut-off material must penetrate water-saturated fractures without plugging the low-permeability matrix of the productive formation [19,20,21].
When carrying out water shut-off works in fractured reservoirs, it is necessary that the plugging material penetrates the fractures, but at the same time does not reduce the filtration characteristics of the porous medium [22]. In addition, the water shut-off composition should have a further selective effect, reducing the permeability of the water-saturated intervals of the formation to a greater extent than the oil-saturated ones [23,24].
For water shut-off works in fractured reservoir conditions, a plugging composition based on sodium silicate was developed [22]. An inorganic chromium salt (III) is used as the initiator of the formation structure, which makes it possible to produce gels using the total volume of the initial composition, regardless of the mineralization of the formation waters. By adding different crosslinking agent concentrations, it is possible to control and produce a wide range of strength and hardening times. The addition of polyhydric alcohol to the water shut-off composition significantly increased the strength of the gels and extended the range of their use to 100 °C.
2. Materials and Methods
Sodium powder glass (technical condition 2145-338-05133190-2008), chromic potassium alum (GOST 4162-79) [25], glycerin (GOST 6259-75) [26] and water were chosen as raw materials for the preparation of water shut-off composition.
Experimental studies of the water shut-off composition were carried out using high-tech modern equipment in the Enhanced Oil Recovery Laboratory equipment from the “Arctic” Scientific Centre at Saint Petersburg Mining University. The following characteristics were determined:
- Gelation time—for successful water shut-off operations, the gel must gain strength over a sufficient period to allow for its injection into the reservoir, but not more than 24 h (average down time after the completion of work before the use of the well);
- Plastic strength—a parameter that determines the ability of a gel to resist water breakthrough;
- The ability of the water shut-off composition to reduce the filtration characteristics of water-saturated and highly permeable reservoir systems in order to increase the oil displacement rate.
2.1. Determening Gelation Time
The gelation time was determined at different temperatures and for formulations with different initial chemical agents’ concentrations. After the preparation, the gel-forming composition was put in a heating cabinet with a predetermined required temperature, and the countdown was carried out until the moment of gelation. In order to determine the gelation moment, the glass with the test composition was slightly tilted every 5 min. The gel was considered to be formed when the meniscus position is unchanged relative to the containing glass beaker when the latter is tilted at an angle of 45° to the vertical. In this regard, the time was recorded. The time interval from the moment of preparation and installation of the composition to the fixation of the formed gel was taken equal to the gelation period of the waterproofing composition. The control of the glass contents during the tests determining the gelation time was carried out every 5 min for the next 5 h. If the gel did not form during this time, further control was carried out at least once every 20 min. If the composition did not turn into a gel within 24 h, then additional exposure was finished.
2.2. Determening Plasticstrength
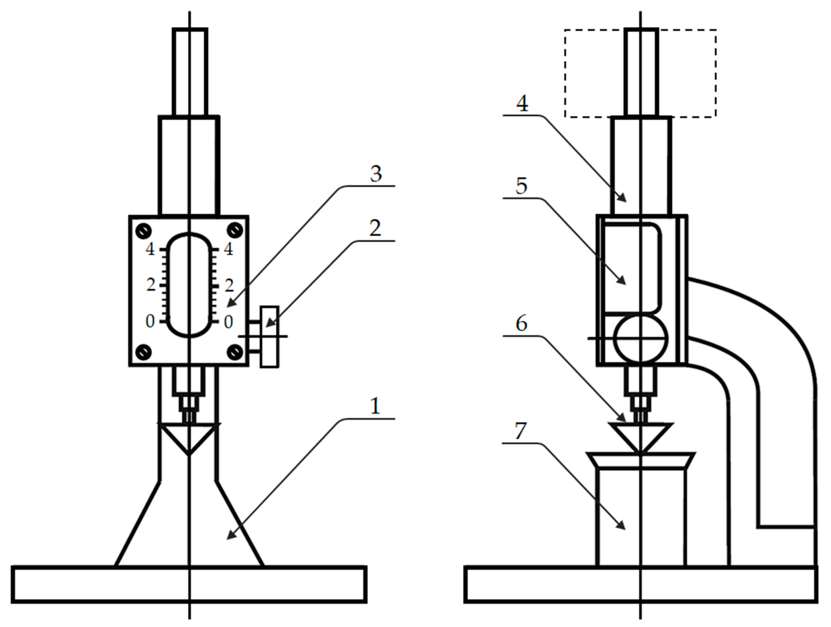
One of the defining characteristics of the plugging material is its ability to withstand water pressure in the area of the formation to be flushed, which is determined by its plastic strength. Plastic strength is the strength of the gel structure under plastic-viscous destruction and low shear rates, measured using the conical plastometer method developed by P.A. Rebinder (Figure 1) [24].
Figure 1.
Scheme of a conical plastometer: 1—frame; 2—clamp; 3—measuring scale; 4—rod; 5—vertical clip; 6—cone; 7—glass beaker with test gel.
The calculation of the plastic strength is performed using the following formulas:
where —plastic strength, Pa; —cone axial section angle at vertex 60°; —a coefficient depending on the angle of the axial section of the cone at its vertex, unit fraction; —submerged system weight, N; —depth of cone dip in gel, m.
The method for determining the plastic strength consists of assessing the penetration depth of a weighted cone (with a cone vertex angle of 60°) with a known mass into the study material under a constant load. For one formulation, the experiment is carried out 5 times, after which the arithmetic mean is calculated. The plastic strength is determined 24 h after the water shut-off composition has been prepared.
2.3. Filtration Study Methodology
In order to assess the ability of the water shut-off composition to reduce the filtration characteristics of water-saturated and highly permeable reservoir intervals, a number of filtration experiments were carried out on natural core samples. The preparation of core and reservoir fluid samples, as well as laboratory coreflood tests were performed in accordance with OST 39-195-86 [27] and OST 39-235-89 [28].
Coreflood tests used natural pore-type and fractured-pore type core samples. The core samples were prepared for coreflood tests according to GOST 26450.0-85 [29]. The reservoir properties were determined according to GOST 26450.1-85 [30] and GOST 26450.2-85 [31].
In modelling the fractured-porous reservoir type, a fracture was artificially created in the carbonate core samples (Figure 2). The core preparation method is as follows:
Figure 2.
Artificial fracture core model: 1—aluminum foil strips; 2—plastic heat shrink tube; 3—natural core sample.
- The core is cut into two identical halves;
- On the surface of the inside cut, two strips of aluminium foil [32] 5 mm wide and 3 layers thick are laid;
- Two parts of the core are fastened and placed in plastic shrink tube and fastened using a heat gun.
Coreflood tests of water shut-off composition on natural core samples were carried out with the FDES-645 filtration unit by Coretest Systems Corporation (USA).
The FDES-645 filtration unit allows many different types of experiments to be performed, by generating a fluid flow through a core sample at increased pressures and temperatures.
Coreflood tests were carried out using the following principle: constant flow rates with changing pressure. The main controlled parameter during the experiments was the change in the pressure drop, on the basis of which the change in the mobility of water or oil was determined as a result of employing the water shut-off composition.
The direction of injection and filtration of process fluids in the studied core samples corresponded to the real direction of reservoir fluids and injected water shut-off compositions in producing wells. Straight filtration corresponded to the process of fluid inflow from the formation into the well and, subsequently, to the “development” process of the well. Reverse filtration simulated the process of “isolation” of the water-cut interval of the bottomhole zone of the well, which consists of pumping five pore volumes of a water shut-off composition through the core sample.
In all filtration experiments, the core permeability factor was calculated using Darcy’s Law:
where —core permeability coefficient, m2; —fluid viscosity, Pa∙s; —core length, m; —given flow rate through the core, m3/s; —core sample cross-sectional area, m2; —pressure drop across the core sample at a given flow rate, Pa.
2.4. Methodology of Filtration Studies on Natural Core Samples of Pore and Fracture Type
The coreflood test methodology was as follows:
- The prepared natural core sample was saturated under vacuum according to a prepared formation water model. After saturation, the pore volume of the core was determined by weight.
- The saturated core sample was placed into the core holder of the FDES-645 filtration unit, where pressures were created simulating reservoir conditions [33].
- Filtration of water (or oil while modelling the oil-saturated interval of the productive formation) was carried out through the core sample. At the same time, the initial phase permeability of the core to the formation water was measured in a constant flow rate mode until the pressure gradient stabilized at an average reservoir temperature (37 °C) and reservoir pressure (20 MPa). Filtration was carried out in the “forward” direction.
- The investigated water shut-off composition was injected at a constant flow rate. The injection volume of the composition, measured by the weight at the core outlet was five times the pore volume of the core (i.e., the maximum possible at high injection pressures). Filtration was carried out in the “reverse” direction.
- After the shut-off composition was injected into the sample core, the temperature was increased to the average reservoir temperature (37 °C) and the system was maintained in a resting state. The holding time of the system at constant thermobaric conditions averaged 24 h.
- After holding the core sample at rest, the phase permeability with formation water was measured in a constant flow mode until the pressure gradient stabilized. Filtration was carried out in the “forward” direction.
- After measuring the phase permeability at a constant flow rate, a breaker fluid was injected, also at five times the pore volume of the core. Filtration was carried out in the “reverse” direction.
- After the breaker fluid was injected, the final phase permeability was measured at a constant flow rate until the pressure gradient stabilized. Filtration was carried out in the “forward” direction.
- The processing of the coreflood tests was as follows:
- The injection pressure gradient of the water shut-off composition was determined after one fifth and the full pore volumes worth of water had been pumped through;
- The initial shear pressure gradient of the water shut-off composition in the core was determined using water (or oil) at the last stage of the coreflood tests;
- The injection pressure gradient of the breaker fluid was determined after one fifth and the full pore volumes worth of water had been pumped through;
- The injection pressure gradient of water (or oil) was determined at the last stage of the coreflood tests;
- The residual resistance factor of the core sample after was calculated after its treatment with the investigated water shut-off composition:where —residual resistance factor after treatment with a water shut-off composition, unit fraction; —pressure gradient of water (or oil) injection into the core sample before the “isolation” process, Pa/m; —pressure gradient of water (or oil) injection into the core sample after the “isolation” process, Pa/m.
- the maximum resistance of the core sample was calculated after its treatment with the investigated water shut-off composition:where —maximum resistance factor injection of the water shut-off composition, unit fraction; —initial (maximum) gradient of the shear pressure of the gel in the core during water (or oil) filtration, Pa/m.
- the residual resistance factor of the core sample was calculated after its treatment with the d breaker fluid:where —residual resistance factor after injection of the breaker fluid, unit fraction; —pressure gradient of water (or oil) injection into the core sample after injection of the breaker fluid, Pa/m.
2.5. Methodology of Filtration Studies to Determine the Oil Displacement Rate from a Fractured Reservoir
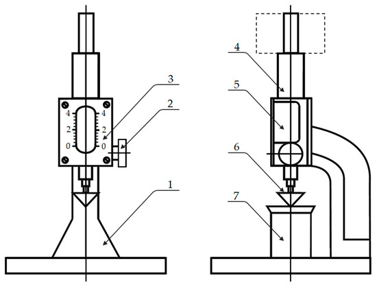
The investigations were carried out using a special unit, consisting of two core holders connected in parallel and a FDES-645 filtration unit (Figure 3). Oil-saturated reservoir rock samples were placed in the core holders, one of which included a highly permeable fracture, the second core sample simulated the pore reservoir. The experiment was carried out in the mode “constant flow rate—changing pressure drops”. That is, at all stages of the experiment, the flow rate was constant.
Figure 3.
Model of the experimental unit “heterogeneous reservoir”: 1—injection pump; 2—tank with fluid; 3—compressor 4—core holders; 5—measuring tank; 6—alloy steel tubes.
The coreflood test methodology was as follows:
- The prepared core samples are saturated under vacuum with the oil model. After saturation, the pore volume of the core is determined by weight.
- The saturated core samples are placed in core holders, where pressures are generated to simulate reservoir conditions.
- Water is injected simultaneously into both cores at a constant flow rate. At the same time, the volume of injected water and displaced oil from each core sample is measured. The injection of water is stopped after the displaced liquid has fully flushed.
- Five pore volumes of the investigated water shut-off composition are injected simultaneously into both samples of the core at a constant flow rate. In this case, the volume of liquid displaced from each core sample is fixed.
- After the shut-off composition injection process into the core samples, the temperature is brought up to simulate the average formation (37 °C) and the system is maintained in a resting state. The holding time of the system in thermobaric conditions is 24 h on average.
- After holding the core samples at rest, the injection of the water into both samples was repeated until the displaced liquid was completely flushed. The volume of injected water and displaced oil from each core sample were re-determined.
- The oil displacement rate for the fractured-porous reservoir model is calculated by:where —oil displacement rate by water, unitfraction; —volume of oil displaced from core samples, ml; —initial volume of oil in core samples, ml.
After the experiment, the dependent relationship between the oil displacement rate and the amount of injected pore volumes worth of water was calculated.
3. Results and Discussion
The dependent relationship between the strength and gel formation time of the water shut-off composition and the polyhydric alcohol concentration and temperature is shown in Figure 4 and Figure 5.
Figure 4.
Dependence of composition strength on the concentration of polyhydric alcohol and temperature.
Figure 5.
Dependence of the gel formation time of the composition on the concentration of polyhydric alcohol and temperature.
From the obtained dependencies of strength and the time of gel formation of the water shut-off composition to temperature it is possible to quickly determine the optimum concentration of reagents for specific geological conditions.
The results of the coreflood tests are presented in Table 1.
Table 1.
Results of coreflood tests.
The obtained data showed that the developed water shut-off composition, to a greater extent, reduces the permeability of water-saturated intervals as compared to oil-saturated ones (the residual resistance factor for a water-saturated sample is 293.75, for an oil-saturated sample—5.26). At the same time, it is possible to use a destructor in case of a decrease in oil production. The destructor allows us to restore the permeability of oil-saturated intervals without significantly decreasing hydraulic resistance in water-saturated intervals of the formation (after treatment with a destructor, the residual resistance factor for a water-saturated sample is 180.77, for an oil-saturated sample—1.19). Due to the dispersed phase contained in its composition, the gel-forming material does not penetrate the pore space. Still, at the same time, it is quickly filtered and effectively isolates fractures. Thus, the obtained data allow us to introduce the developed material’s high water shut-off properties in laboratory conditions.
In order to assess the influence of the developed composition on the development performance of fractured reservoirs, investigations were carried out to determine the oil displacement rate by water [34,35]. The dependence of the displacement ratio and water cut of the liquid on the volume of injected water are shown in Figure 6 and Figure 7, respectively.
Figure 6.
Dependence of the oil displacement rate on the number of pumped water volumes.
Figure 7.
Dependence of the water cut of fluid on the number of pumped water volumes.
It can be seen from the results of filtration studies that the use of the proposed water shut-off composition makes possible a water cut reduction from 99 to 75% within extracted products (Figure 7). In addition, only 7% of the oil was displaced from the reservoir model before the fracture interval was treated. After the fracture was isolated, the developed composition succeeded in displacing an additional 23% of the oil and bringing the oil displacement rate by water to 0.3 units (Figure 6).
By analysing the results of laboratory studies, it can be concluded that the developed clogging composition [35] can be used to combat the premature watering of wells in fractured reservoir conditions and to increase the technical and economic efficiency of field development. The use of this composition reduces the cost of lifting and utilizing associated water (produced), as well as achieving a more complete recovery of oil from the rock matrix.
Realization of the Proposed Technology on the Field
The technology of repair and insulation works in oil producing wells using the developed composition is as follows:
- Prior to the work on the well, a set of field geophysical tests is carried out, the results of which are used to determine the technical status of the production string, the mark of the current bottomhole, the inflow profile and the source of water cut in the well, on the basis of which the technological scheme of the work is selected;
- The tubing shoe rises to the interval with increased injectivity; the well is pressurized at 20% higher than the expected injection pressure of the water shut-off composition;
- The required volume of water shut-off composition is calculated;
- Fresh water is injected into the bottomhole formation zone before injection of the composition; injection of a buffer fluid allows the reduction of the concentration of polyvalent metal cations [36] in fluids saturating the bottomhole formation zone, and, as such, to prevent uncontrolled premature precipitation of sediment upon contact between formation water and water shut-off composition;
- The water shut-off composition is injected: to prevent the formation of induced fractures, the water shut-off composition is forced through with water (salinity no more than 20 g/L) with a flow rate not exceeding 80% of the normal injectivity of the well; the low viscosity of the composition (1–15 mPa·s) until the end of the induction period of gelation contributes to easy pumping into the formation and the creation of an extended water shut-off screen;
- After the pumping of water shut-off composition into the formation, the wellbore is washed with a fresh water solution and a technological pause is maintained for 3–4 h; at the end of the specified time, a breaker fluid (20% aqueous sodium hydroxide solution) with a volume of 0.1–0.2 m3 per 1 m of watering interval thickness is pumped into the well to clean the wellbore and restore the permeability of oil-saturated zones, then the wellbore is washed again with fresh water from alkali solution.
In cases where the composition is injected into insufficiently studied formations, an abnormally strong decrease in well injectivity is possible. There may be situations in which it is necessary to remove the gel formed in the formation, pipes, at the bottomhole, etc.
The optimal breaker agent is a 20% caustic soda solution (sodium hydroxide). Dissolving the gel requires the injection of the initial product in a volume equal to the volume of the gel to be removed and then maintain it in contact with the gel for one day. If the dissolving effect is insufficient for the required level of recovery of liquid filtration, the treatment is repeated. After each treatment, the well is flushed, forcing the destroyed gel into the formation by pumping water.
Washover can be a method to combat gel plugging of pipes and other underground equipment. In this case, washing should be carried out with the removal of the disintegrated gel to the surface. The recycled gel is collected in special containers and transported to a chemical waste landfill.
Due to the fact that when implementing the technology, an alkali solution is used as a breaker fluid, it is necessary to use equipment designed for the transportation of corrosive liquids. In this case, the equipment required for the injection of all chemical reagents into the reservoir will be similar to the equipment for acid treatment (Figure 8), which facilitates implementation due to the sufficient supply of this equipment in the oil fields of Russia.
Figure 8.
Technique placement scheme for pumping a water shut-off composition.
When carrying out water shut-off works on horizontal wells, technologies of water shut-off are of practical interest, including the injection of a water shut-off compositions into the water cut interval with a preliminary filling of the wellbore with a “liquid packer”, that is, an inert high-viscosity process fluid that prevents the penetration of the water shut-off composition into the non-water-cut part of the formation. Reverse oil-water emulsions of various viscosities and densities can be used as a “liquid packer”. These substances are widely used in the oil industry for well killing during well service operation, including in fractured reservoirs [37]. Their main technological advantage is their availability, ease of preparation and minimal impact on the filtration characteristics of the reservoir.
The technology used in carrying out water shut-off works using a liquid packer and water shut-off composition is conventionally divided into three stages. The first stage includes the injection of a liquid packer with the overlap of the remote part of the horizontal wellbore up to the isolation interval (Figure 9).
Figure 9.
Watering a horizontal well (a) and installing a temporary (liquid) packer (b).
During the second stage, the buffer solution and the required volume of water shut-off composition are injected into the watered fractured interval. After injection, a technological pause is maintained for complete structure formation and gel hardening (Figure 10).
Figure 10.
Injection of a water shut-off composition (a) followed by a technological pause (b).
During the third stage, a breaker fluid is injected to destroy the gel in the wellbore (to prevent the formation of “hydraulic gates”) and gel formed in oil-saturated intervals [38]. Gel destruction in oil-saturated formations can significantly increase the selectivity of the proposed method (Figure 11). After injection of the breaker fluid, the liquid packer is destroyed, and the well is developed and brought on to stable production.
Figure 11.
Gel breakdown in the wellbore and in oil-saturated intervals (a) and well development (b).
The consistency of these operations will ensure reliable water control without reducing oil production.
Further research will focus on the development of a technology for the joint use of the developed water shut-off composition and emulsion liquid packer, including the determination of the optimal composition and rheological properties [39,40,41,42,43] of the liquid packer.
4. Conclusions
Based on laboratory studies to improve the efficiency of developing fields with fractured reservoirs, the following conclusions can be drawn:
- A physicochemical technology has been developed to improve the efficiency of the development of fractured reservoirs by injecting into the reservoir a water shut-off composition with a wide-range regulated strength and a gel-forming period.
- Technological characteristics are determined depending on the concentration of reagents and temperature.
- The developed water shut-off composition effectively reduces the permeability of water-saturated fractures (residual resistance factor is 180 units), while it is not filtered into the pore space.
- According to the results of laboratory studies, the proposed technology allows a reduction in the water cut of the produced products by 24% and an increase in the oil displacement rate by water in a fractured-porous reservoir from 0.07 to 0.3.
- For operation in horizontal wells, a selective formation stimulation technology with the use of a “liquid packer” has been proposed, which protects the remote part of the wellbore from the action of a water shut-off composition.
5. Patents
Method for selective isolation of watered intervals of an oil reservoir. Available online: https://new.fips.ru/Archive/PAT/2014FULL/2014.12.27/DOC/RUNWC1/000/000/002/536/529/DOCUMENT.PDF (accessed on 15 October 2021).
Author Contributions
Conceptualization, D.M., V.D. and S.I.; methodology, V.D.; software, S.I.; validation, D.M. and V.D.; formal analysis, D.M.; investigation, V.D. and S.I.; resources, V.D. and S.I.; data curation, D.M.; writing—original draft preparation, V.D. and S.I.; writing—review and editing, D.M., V.D. and S.I.; visualization, S.I.; supervision, V.D.; project administration, S.I. All authors have read and agreed to the published version of the manuscript.
Funding
The research was performed at the expense of the subsidy for the state assignment in the field of scientific activity for 2021 No. FSRW-2020-0014.
Institutional Review Board Statement
Not applicable.
Informed Consent Statement
Not applicable.
Data Availability Statement
Not applicable.
Acknowledgments
The authors thank Saint Petersburg Mining University for enabling the laboratory experiments. The investigations were carried out using the equipment of the Scientific Center “Arctic” of Saint Petersburg Mining University.
Conflicts of Interest
The authors declare no conflict of interest.
References
- Molchanov, A.A.; Ageev, P.G. Implementation of new technology is a reliable method of extracting reserves remaining in hydro-carbon deposits. J. Min. Inst. 2017, 227, 530–539. [Google Scholar]
- Fetisov, V.; Mohammadi, A.H.; Pshenin, V.; Kupavykh, K.; Artyukh, D. Improving the economic efficiency of vapor recovery units at hydrocarbon loading terminals. Oil Gas Sci. Technol. 2021, 76, 38. [Google Scholar] [CrossRef]
- Dvoynikov, M.; Buslaev, G.; Kunshin, A.; Kraslawski, A.; Budovskaya, M. New concepts of hydrogen production and storage in Arctic region. Resources 2021, 10, 3. [Google Scholar] [CrossRef]
- Nikitin, M.N.; Petukhov, A.V. Gel-forming composition on sodium silicate base for water shutoff in complex structure fractured reservoir conditions. Pet. Eng. 2011, 5, 143–154. [Google Scholar]
- Golf-Rakht, T.D. Fundamentals of Fractured Reservoirs Engineering; Elsevier Publishing: Amsterdam, The Netherlands, 1982. [Google Scholar]
- Petukhov, A.V. Theory and Methodology of Studying the Structural-Spatial Zoning of Oil and Gas Fractured Reservoirs; Ukhta State Technical University Press: Ukhta, Russia, 2002. [Google Scholar]
- Reiss, L.H. The Reservoir Engineering Aspects of Fractured Formations; TECHNIP Editions: Paris, France, 1980. [Google Scholar]
- Chernyshov, S.E.; Repina, V.A.; Krysin, N.I.; Macdonald, D.I.M. Improving the efficiency of terrigenous oil-saturated reservoir development by the system of oriented selective slotted channels. J. Min. Inst. 2020, 246, 660–666. [Google Scholar] [CrossRef]
- Jia, H.; Chen, H.; Zhao, J.Z. Development of a highly elastic composite gel through novel intercalated crosslinking method for wellbore temporary plugging in high-temperature reservoirs. SPE J. 2021, 25, 2853–2866. [Google Scholar] [CrossRef]
- Jafarpour, H.; Moghadasi, J.; Khormali, A.; Petrakov, D.; Ashena, R. Increasing the stimulation efficiency of heterogeneous carbonate reservoirs by developing a multi-bached acid system. J. Pet. Sci. Eng. 2019, 172, 50–59. [Google Scholar] [CrossRef]
- Shagiakhmetov, A.M.; Raupov, I.R.; Terleyev, A.V. Investigation of selective properties of the gel-forming composition for the limitation of water inflow to carbonate reservoirs conditions. Int. J. Civ. Eng. Technol. 2019, 10, 485–492. [Google Scholar]
- Liu, T.; Leusheva, E.; Morenov, V.; Li, L.; Jiang, G.; Fang, C.; Zhang, L.; Zheng, S.; Yu, Y. Influence of polymer reagents in the drilling fluids on the efficiency of deviated and horizontal wells drilling. Energies 2020, 13, 4704. [Google Scholar] [CrossRef]
- Gabdulkhakov, R.R.; Rudko, V.V.; Povarov, V.G.; Ugolkov, V.L.; Pyagay, I.N.; Smyshlyaeva, K.I. Technology of petroleum needle coke production in processing of decantoil with the use of polystyrene as a polymeric mesogen additive. ACS Omega 2021, 30, 19995–20005. [Google Scholar] [CrossRef] [PubMed]
- Chen, X.; Paprouschi, A.; Elveny, M.; Podoprigora, D.; Korobov, G. A laboratory approach to enhance oil recovery factor in a low permeable reservoir by active carbonated water injection. Energy Rep. 2021, 7, 3149–3155. [Google Scholar] [CrossRef]
- Fetisov, V.; Tcvetkov, P.; Müller, J. Tariff approach to regulation of the European gas transportation system: Case of Nord Stream. Energy Rep. 2021, 7, 413–425. [Google Scholar] [CrossRef]
- Korolev, M.I.; Rogachev, M.K.; Tananykhin, D.S. Regulation of filtration characteristics of highly watered terrigenous formations using complex chemical compositions based on surfactants. J. Appl. Eng. Sci. 2020, 18, 147–156. [Google Scholar] [CrossRef] [Green Version]
- Zhang, C.; Long, X.; Tang, X.; Lekomtsev, A.; Korobov, G.Y. Implementation of water treatment processes to optimize the water saving in chemically enhanced oil recovery and hydraulic fracturing methods. Energy Rep. 2021, 7, 1720–1727. [Google Scholar] [CrossRef]
- Rogachev, M.K.; Nguyen, V.T.; Aleksandrov, A.N. Technology for preventing the wax deposit formation in gas-lift wells at offshore oil and gas fields in Vietnam. Energies 2021, 14, 5016. [Google Scholar] [CrossRef]
- Raupov, I.; Podoprigora, D. Laboratory researches of the polymeric composition in the pore space of bulk models. J. Appl. Eng. Res. 2017, 12, 365–371. [Google Scholar]
- Sultanbekov, R.R.; Nazarova, M.N. Preserving the quality of petroleum products when mixed in tanks. In Topical Issues of Rational Use of Natural Resources; Taylor & Francis: London, UK, 2020; pp. 914–919. [Google Scholar]
- Ketova, Y.A.; Bai, P.G.; Khizhnyak, G.P.; Gladkikh, Y.A.; Galkin, S.V. Testing of preformed particles polymer gel technology on core filtration models to limit water inflows. J. Min. Inst. 2020, 241, 91–96. [Google Scholar] [CrossRef]
- Kunakova, A.M.; Duryagin, V.N.; Strizhnev, K.V.; Mardashov, D.V.; Duryagina, A.M. Inorganic gel-forming composition for water shut-off in carbonate reservoir of fractured-porous type. Oil Ind. 2015, 11, 114–116. [Google Scholar]
- Casalini, A.; Lima, R. Water shut-off treatments in oilfield by micro and nano technology: A good way to get more oil and less water. In Proceedings of the SPE International Petroleum Exhibition & Conference, Abu Dhabi, United Arab Emirates, 13 November 2017; pp. 1–10. [Google Scholar]
- Sultanbekov, R.R.; Terekhin, R.D.; Nazarova, M.N. Stress-stain state of a vertical steel tank affected by bottom sediments in conditions of extreme temperature differences. In Advances in Raw Material Industries for Sustainable Development Goals; Taylor & Francis: London, UK, 2021; pp. 314–321. [Google Scholar]
- GOST 4162-79: Method Reagents. Chromium Potassium Alum. Specifications. Available online: https://docs.cntd.ru/document/1200017325 (accessed on 15 October 2021).
- GOST6259-75: Reagents. Glycerin. Specifications. Available online: https://docs.cntd.ru/document/1200017513 (accessed on 15 October 2021).
- OST 39-195-86: Oil. Method for Determining the Waterflood Oil Recovery Factor in Laboratory Conditions. Available online: https://files.stroyinf.ru/Index2/1/4293836/4293836586.htm (accessed on 15 October 2021).
- OST 39-235-89: Oil. Method for Determining Phase Permeabilities in Laboratory Conditions with Joint Stationary Filtration. Available online: https://files.stroyinf.ru/Index2/1/4293835/4293835487.htm (accessed on 15 October 2021).
- GOST 26450.0-85: Rocks. General Requirements for Sampling and Sample Preparation for Determination of Collecting Properties. Available online: https://docs.cntd.ru/document/1200023986 (accessed on 15 October 2021).
- GOST 26450.1-85: Rocks. Method for Determination of Open Porosity Coefficient by Fluid Saturation. Available online: https://docs.cntd.ru/document/1200023987 (accessed on 15 October 2021).
- GOST 26450.2-85: Rocks. Method for Determination of Absolute Gas Permeability Coefficient by Stationary and Non-Stationary Filtration. Available online: https://docs.cntd.ru/document/1200023988 (accessed on 15 October 2021).
- Savchenkov, S.A.; Bazhin, V.Y.; Povarov, V.G. Research on the process of gadolinium recovery from the melt of salts on formation of Mg–Zn–Gd master alloys for manufacturing of magnesium and aluminium special-purpose alloys. Non-Ferr. Met. 2020, 48, 35–40. [Google Scholar] [CrossRef]
- Aleksandrov, A.N.; Kishchenko, M.A.; Nguyen, V.T. Simulating the formation of wax deposits in wells using electric submersible pumps. In Advances in Raw Material Industries for Sustainable Development Goals; Taylor & Francis: London, UK, 2021; pp. 283–295. [Google Scholar]
- Khormali, A.; Sharifov, A.R.; Torba, D.I. Experimental and modeling study of asphaltene adsorption onto the reservoir rocks. Pet. Sci. Technol. 2018, 36, 1482–1489. [Google Scholar] [CrossRef]
- Method for Selective Isolation of Watered Intervals of an Oil Reservoir. Available online: https://new.fips.ru/Archive/PAT/2014FULL/2014.12.27/DOC/RUNWC1/000/000/002/536/529/DOCUMENT.PDF (accessed on 15 October 2021).
- Bazhin, V.Y.; Savchenkov, S.A.; Kosov, Y.I. Specificity of the titanium-powder alloying tablets usage in aluminium alloys. Non-Ferr. Met. 2016, 2, 52–56. [Google Scholar] [CrossRef]
- Saychenko, L.; Tananykhin, D.; Ashena, R. Prevention of scale in the downhole equipment and productive reservoir during the oil well operation. J. Appl. Eng. Sci. 2021, 19, 363–368. [Google Scholar] [CrossRef]
- Dvoynikov, M.V.; Sidorkin, D.I.; Kunshin, A.A.; Kovalev, D.A. Development of hydraulic turbodrills for deep well drilling. Appl. Sci. 2021, 16, 7517. [Google Scholar] [CrossRef]
- Gabdulkhakov, R.R.; Rudko, V.V.; Pyagay, I.N. Methods for modifying needle coke raw materials by introdusing additives of various origin (review). Fuel 2022, 310, 122265. [Google Scholar] [CrossRef]
- Gizatullin, R.R.; Budovskaya, M.E.; Dvoynikov, M.V. Development of detergent for drilling muds while directional drilling. In Advances in Raw Material Industries for Sustainable Development Goals; Taylor & Francis: London, UK, 2021; pp. 309–313. [Google Scholar]
- Beloglazov, I.; Morenov, V.; Leusheva, E.; Gudmestad, O.V. Modeling of heavy-oil flow with regard to their rheological properties. Energies 2021, 14, 359. [Google Scholar] [CrossRef]
- Nutskova, M.V.; Dvoynikov, M.V.; Budovskaya, M.E.; Sidorov, D.A.; Pantyukhin, A.A. Improving energy efficiency in well construction through the use of hydrocarbon-based muds and muds with improved lubricating properties. J. Phys. Conf. Ser. 2021, 1728, 012031. [Google Scholar] [CrossRef]
- Nikitin, M.; Saychenko, L. The rheological properties of abnormally viscous oil. Pet. Sci. Technol. 2018, 36, 136–140. [Google Scholar] [CrossRef]
Publisher’s Note: MDPI stays neutral with regard to jurisdictional claims in published maps and institutional affiliations. |
© 2021 by the authors. Licensee MDPI, Basel, Switzerland. This article is an open access article distributed under the terms and conditions of the Creative Commons Attribution (CC BY) license (https://creativecommons.org/licenses/by/4.0/).










