Next Article in Journal
In-Situ Measurement of Power Loss for Crystalline Silicon Modules Undergoing Thermal Cycling and Mechanical Loading Stress Testing
Next Article in Special Issue
Application of the Mechanical and Pressure Drop Tests to Determine the Sintering Temperature of Coal and Biomass Ash
Previous Article in Journal
Alternative Ways of Cooling a Passive School Building in Order to Maintain Thermal Comfort in Summer
Previous Article in Special Issue
Investigation of the Physico-Chemical Properties of the Products Obtained after Mixed Organic-Inorganic Leaching of Spent Li-Ion Batteries
 
 
Font Type:
Arial Georgia Verdana
Font Size:
Aa Aa Aa
Line Spacing:
Column Width:
Background:
Article

Energy-Saving Inertial Drive for Dual-Frequency Excitation of Vibrating Machines

1
Institute of Engineering Mechanics and Transport, Lviv Polytechnic National University, 79013 Lviv, Ukraine
2
Faculty of Geoengineering, Mining and Geology, Wroclaw University of Science and Technology, 50-370 Wroclaw, Poland
*
Author to whom correspondence should be addressed.
Energies 2021, 14(1), 71; https://doi.org/10.3390/en14010071
Submission received: 12 November 2020 / Revised: 18 December 2020 / Accepted: 23 December 2020 / Published: 25 December 2020
(This article belongs to the Special Issue Modelling and Calculation of Raw Material Industry)

Abstract

The low energy efficiency and excessive power of electric motors of large-scale vibrating machines for processing bulk materials motivated a new design of the inertial drive. This drive consists of one motor and two coaxial unbalanced masses, whose rotational frequencies are related in the ratio 2:1. This approach allows for a generation of the excitation force with variable amplitude and frequency, which changes depending on the inertial characteristics and shaft rotation frequency and does not relate to the phase difference of the unbalanced masses. Because of this, the symmetry axis of the resulting vector hodograph can be changed. The spectral composition of the exciting force up to 200 Hz contains higher harmonics, the energy share of which is 25.4% from the 2nd harmonic and 14.1% from the 3rd and higher harmonics that correspondingly improves bulk material treatment in comparison to single-frequency vibrators. The finite element model is used for checking the strength capacity of the most loaded units of a dual-frequency drive. Its use allows the realization of complex trajectories of motion that are more technologically efficient for variable parameters of the treated media and energy saving in sieving screens and other vibrating machines.

1. Introduction

Vibrating screens, conveyors, rammers, and other various bulk materials processing machines are widely used in mining, metallurgical, construction, and other industries. Unfortunately, until now the energy efficiency of existing vibrating machines is low enough and the energy consumed by electric motors is spent on heating bearings and suspension units of inertial vibrators, and only small part actually results in useful work. This is because media consisting of separate particles can dynamically change their spatial distribution structure, physical and mechanical characteristics during screening, transportation or compaction.
Because of the abovementioned factors, the efficiency of vibrating machines with fixed oscillation parameters decreases. The required additional process control and changes in the technology and parameters of vibrating machines usually leads to practical difficulties, as it is necessary to ensure the uncertain values of the relevant parameters (amplitude and frequency of oscillations) within the appropriate limits.
Besides, the power of the electric motors of the most frequently used above-resonance vibrating machines needs to increase by 30–50% (depending on machine design) to pass the main resonance of the machine structure and to prevent Sommerfeld effect manifested in the form of the non-ideal (limited power) drive restraining around the critical range of rotation speed [1]. Upon passing resonance range of speed, electric drives spend excessive energy for excitation of vibrating machines, e.g., sieving screens. Additional power of the electric motors of inertial vibrators causes the installation of more expensive bearings and other elements of structure with a greater carrying capacity that increases the overall cost of machines.
Following the theory and practice of bulk media separation and transportation, it is recommended to implement higher values of accelerations and displacements. However, according to the practical observations given in a review [2], doubling of vibrator motor speed quadruples stress on elements, doubling of stroke length doubles the stress, and even a 10% increase in vibrator rotor speed halves the shaft bearings life. Hence, the trivial approaches to inertial vibrator design by increasing power and rotation velocity are impractical and lead to higher energy consumption and cause more frequent failures due to cyclic fatigue, while diagnostics is difficult due to action of high amplitude periodical excitation [3,4].
Like the solution for a problem of the increasing technological and energetic efficiency of vibrating machines, the task involves developing inertial drives with a simple design but with regulated operating modes and the possibility to provide complicated trajectories of vibrating surface motion. Those drives should provide a wider spectrum of vibrations excited without additional motors and energy consumption.

2. State of the Art in Design of Inertial Drives

The analysis of recent studies indicated the main directions in the development of new types of inertial drives for vibrating machines working in various technological chains. This primarily applies to more complex trajectories and poly-frequency oscillations of the moving bodies.
The electromagnetic or hydraulic drives are more easily controlled and preferable for use in some types of resonant vibrating machines, which, even when excited by unbalanced drives have much less energy consumption [5]. In [6,7], the asymmetric elastic piecewise-linear characteristics have been synthesized for the realization of the two-frequency resonant operation modes of the two-mass vibratory machines with pulse electromagnetic disturbance. Due to this, the corresponding operation modes with vibration impacts having a wide spectrum were obtained. However, electromagnetic drives are not a common case for a majority of industrial plants. Their implementation is rather assumed for manual vibrating tools of small power. In contrast, inertial drives are widely used in the majority of industrial vibration machines.
Depending on the technological process and design of the vibration machine, several separated vibrators may be installed [8]. There are obligatory requirements to ensure their stable synchronous rotations, which can be provided by kinematic links via gears or dynamically. In some types of machines, the in-phase rotation is required at multiple frequencies [9,10], as well as implementing the mentioned elliptical trajectories under conditions of gradual wear and cyclic fatigue of supporting springs [11].
An important point in the studies is the analysis of dynamical processes taking into account the electromechanical characteristics of the drive [12,13] for its sufficiency and avoidance of negative effects during the motor start-up and passing resonances of the machine. It should be noted that there are sufficient conditions under which stable synchronization takes place [14]. In this case, in contrast to a single-frequency system, it is more effective to provide dual-frequency oscillations of technological machines [15,16]. For this purpose, resonant machines with multiple frequencies and with clearly established values of multiple harmonics of the oscillations at the corresponding frequencies are proposed [17]. To control these machines, it is ultimately necessary to implement adaptive and synchronized drives.
Following the task of implementing complex oscillation trajectories, some studies take into account the influence of changes in frequencies and initial phases of rotation of individual motors on the trajectory of vibrating surfaces. Provision of elliptical and circular trajectories has led to the use of three [18] and even four [19] electric motors in systems. This significantly complicates the design and process of equipment management, and increases its cost. In contrast, dual-frequency systems with a single motor are more attractive. For example, such solutions are based on the combined use of automatic balancing and synchronization [20,21]. Therefore, the use of one electric motor is a priority in any case.
The different features of double or more rotors for designing dual-frequency inertial drives are considered in [22,23,24,25]. Dynamic characteristics analysis of a single motor and coaxial dual-rotor systems with inter-shaft bearings are represented in [26,27] and issues related to friction and shaft imbalance are investigated. Excitation of poly-harmonic vibrations in single-body vibration machine with inertia drive due to non-linearity in the elastic clutch is investigated in [28]. Design of nonlinear anti-resonance vibrating screen is described in [29]. A changeable amplitude-frequency mode is implemented in [30] for the vertical concrete compactor using interfered fields of vibration waves. An energy-saving vibration unit with a poly-phase spectrum of vibrations is proposed in [31].
Searching the patents within the class B06B1 categories: 162 (making use of masses with adjustable amount of eccentricity), 161 (adjustable systems, i.e., where amplitude or direction of the frequency of vibration can be varied) and 166 (systems, where the phase-angle of masses mounted on counter-rotating shafts, can be varied) have discovered new types of vibrators and methods of bulk material fractions separation based on impulsive force generation, e.g., KROOSH screening technology [32]. Their vibrating separator [33] contains a source of single-frequency vibration excitation but special adapters generate mechanical impulses with a wide-range random spectrum. This provides continuous self-cleaning of the vibrating surfaces and intensive disaggregation of the sieved material.
In any type of rotating vibration machine, to provide reliable operation, it is necessary to analyze the most loaded elements for strength capacity and durability under operating conditions using an FEM-based CAE-calculation systems [34].

3. Methodology of Design

In this section, the new design is represented of dual-frequency unbalanced inertial drive, its kinematic and force generation functions as well as spectral components of the resulting force vector.

3.1. Structural Scheme and Design of the Drive

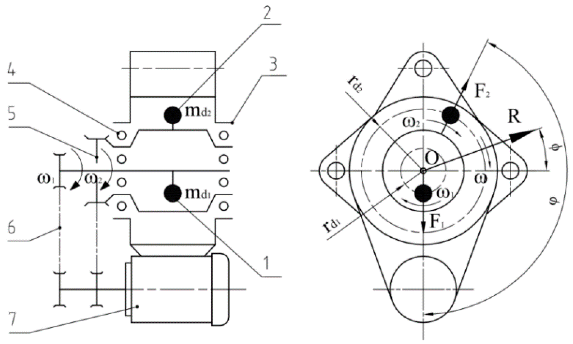
After considering several constructive schemes of dual-frequency inertial vibrating drives, the final design is selected and shown in Figure 1. The drive contains two independently and coaxially mounted unbalanced masses 1 and 2, which are placed in a single housing 3 through the bearing supports 4. The outer housing 3 has mounting locations for mounting on the vibrating machine. The two gears 5 and 6 rotate unbalanced masses 1 and 2 from one electric motor 7. Masses 1 and 2 can be independently installed with the corresponding phase shift φ = φ1φ2, which determines the behavior of the vibration system.
Due to the rotation of individual unbalanced masses, the resulting vector R is created and applied to the common axis of rotation with the corresponding phase angle ϕ.

3.2. Determination of Force and Kinematic Characteristics

The resulting vector of the excitation force R is defined as the vector sum of the two inertial forces components:
R = F m 1 + F m 2
Components of inertial forces of individual unbalanced masses
| F m 1 |   = F 1 sin ( ω 1 t   + φ 1 )
| F m 2 |   = F 2 sin ( ω 2 t   + φ 2 )
where φ1 and φ2—the corresponding initial phase angles.
Amplitude values of inertial forces due to the rotation of unbalanced masses:
F 1 = m d 1 ω 1 2 r d 1 ;
F 2 = m d 2 ω 2 2 r d 2 .
The vector sum (1) can be represented as the following dependence taking into account the periodic functions of inertial components:
R ( t )   =   F 1 2   + F 2 2   +   2 F 1 F 2 cos ( ω 2 t   ω 1 t   + φ 2 φ 1 ) .
The resulting instantaneous phase ϕ(t) is the angle of the resulting force vector R(t) rotation around the axis:
F x ( t )   = F 1 cos ( ω 1 t   + φ 1 ) + F 2 cos ( ω 2 t   + φ 2 ) ;
F y ( t )   = F 1 sin ( ω 1 t   + φ 1 ) + F 2 sin ( ω 2 t   + φ 2 ) ;
ϕ ( t )   =   a n g l e [ F x ( t ) , F y ( t ) ] .
A time-varying angular velocity ω(t) of the radius vector is defined as the derivative of the angle of rotation:
  ω ( t )   =   d d t ϕ ( t )   =   F 1 2 ω 1 + F 2 2 ω 2 + F 1 F 2 cos ( ω 1 t ω 2 t + φ 1 φ 2 ) ( ω 1 + ω 2 ) F 1 2 + F 2 2 + 2 F 1 F 2 cos ( ω 1 t ω 2 t + φ 1 φ 2 )
The obtained analytical dependences are time-varying force and kinematical parameters functions of the inertial vibrator. They functionally take into account all the design characteristics of unbalanced masses, their initial position, and velocity of shaft rotation. The technical parameters of the considered design of vibrator and corresponding amplitudes of generated inertial forces are given in Table 1. The 3D model of dual-frequency vibrator assembled with a motor is shown in Figure 2.

4. Results of Inertial Drive Simulation

The use of the obtained calculation Formulas (1)–(10) allows us to investigate the advantages and particular features of the proposed design solution. Taking into account the set values of unbalanced masses (see Table 1), their rotation speeds, and initial phases, it is possible to synthesize specific kinematic characteristics and trajectories that will determine the functionality of the proposed design solution.

4.1. Analysis of Force and Phase Relations

The derived functional dependences (6) and (9) can be combined into the form of a polar graph R(φ), which allows to estimate the changes in the amplitude of the resulting force and to construct a required trajectory of oscillations about the common axis of unbalanced masses rotation. It turns out that the phase shift angle allows us to change the location of the symmetry plane of the hodograph of the resulting force vector.
Consider the influence of the phase shift angle between unbalanced masses in Figure 3. For the first case of phase difference (φ1 = 0° and φ2 = 90°), perturbation force is symmetrical about the horizontal direction and for the second case (φ1 = 90° and φ2 = 0°), the drive produces symmetric oscillations in the projection on the vertical axis.
Depending on the purpose of the vibrating installation, the required values of the initial phases can be selected. The asymmetric law of oscillation in the projection of the resulting vector on the corresponding axis will cause the effect of transportation along this axis. Therefore, the use of the phase shift angle like in Figure 3a will lead to the appearance of transporting the bulk media along the axis, which is required for the vibrating screens. For stationary vibrating tables, a phase shift should be used, like in Figure 3b, as there should be no asymmetric oscillations in the axial direction to avoid the movement of the media in the filled compaction form.
Regardless of the set initial value of the phase shift angle φ, developed drive produces the periodic resulting force, which varies within a range R(t) = 3.55–8.32 kN (see Figure 4a) and instant frequency range ω(t) = 51.7–202.0 rad/s (see Figure 4b) with median value about 179.2 rad/s.
The resulting perturbation according to Equation (2) and Figure 4a is asymmetric and periodic. However, as it turned out, its maximum value Rmax = 8.32 kN does not depend on the difference in the angle of phase shift but depends on the inertial characteristics of unbalanced masses and their rotational frequencies.
The spectral composition of the resulting force is shown in Figure 5. The effective range is limited to 200 Hz for the assumed frequencies of shafts rotation. In addition to the two frequencies of excitation with the main peaks about 26 Hz and 51 Hz, the higher harmonics are also excited due to non-symmetrical waveform of resulting force.
The amplitudes and corresponding energy share of these harmonics (from 3rd to 7th) in the resulting force is about 14.1%. If to compare with a single-frequency vibrator, the contribution of the 2nd–7th harmonics increases to 25.4%. This means that for lower supplied power of the electrical motor in a vibration machine, it can demonstrate the same efficiency of media treatment. This is because of the fine fractions of bulk materials prone to aggregation require a higher frequency of, e.g., sieving screen, vibration or more amplitude of working surface displacement that supposes more energy consumption of the electrical motor. Therefore, the efficiency of the technological process can be enhanced by the proposed drive, due to a wider poly-frequency range of treated media excitation always having variable physical properties (size of particles, hardness, and water content).
The non-linear relation of resulting inertial force R(t) and instant frequency ω(t) is shown in Figure 6. In contrast, the power characteristic of industrial single-frequency vibrators has the form of a point at this diagram. Using such graphs, designers can synthesize working characteristics of dual-frequency vibrators depending on specific requirements of technological processes.

4.2. FEM Analysis of the Vibrator Units

Taking into account that sieving screens are usually above resonance machines, there is no threat of higher harmonics matching with machine main natural modes of vibration, which may cause overloading of its structural elements. Besides the technological and energetic advantages, the proposed inertial drive will spread out the supplied electrical motor energy among several frequencies of vibration, and in such a way, the dangerous amplitudes of machine transient resonances will be significantly reduced during start-up and slow down. Nevertheless, the reliability of vibrating machines greatly depends on the right choice of bearings and their load capacity under the action of significant periodical radial forces. Therefore, the main units of the developed drive are checked by FEM simulations. A detailed FEM analysis of strength capacity is carried out based on values of reactions in the bearings supports of coaxially rotating masses.
The main elements of a dual-frequency inertial vibrator (see Figure 7) are the central unbalanced shaft and unbalanced frame, on the edges of which two unbalanced masses are installed. Inertial force F1 of the unbalanced shaft produces the reaction forces RA and RB in the supports. They act as the additional impacts on unbalanced frame loaded by their inertial force F2. The values of the reactions in the supports of the unbalanced frame RC and RD are accounted for together with reaction forces RA and RB for the selection of bearings in the supports of the vibrator shaft.
The resulting periodic force of the vibrator R(t) acting on the vibrating machine served to check its strength by FEM simulation. According to the results of the model analysis (see Figure 8), the values of the maximum von Mises equivalent stresses 40.96 MPa in the inner unbalanced shaft and 5.46 MPa in outer unbalanced housing do not exceed the endurance limits of structural steel under cyclic fatigue, which is the condition of durable and stable drive operation.
Besides, based on the reaction forces used in calculations of strength capacity, the power losses for rolling friction are also estimated in bearings of shafts supports. Results are summarized in Table 2.
In general, the presented design of a dual-frequency vibrating drive with variable kinematic and force characteristics can work as an autonomous unit on the industrial vibration machines. It can also be equipped with an internal combustion engine. In manual vibrating machines, poly-frequency vibration is better for perception by operators.

5. Discussion and Conclusions

Although different types of treated media activation principles have been proposed in many published studies and declared in patents, the main amount of bulk materials processing in industrial plants is still provided by the rotating unbalanced vibrators. The efficiency of bulk media sieving, compaction and transportation machines is made low enough by the energy consumed in electrical inertial actuators. Also, the well-known Sommerfeld effect requires additional power of electric motors to pass resonance ranges of rotation speeds which correspond to the main natural modes of machines’ structural vibrations.
The implementation of electromagnetic and other types of excitation in resonant types of vibrating machines, which consume much less energy than conventional above-resonant machines, is a rare case for industrial plants. The standard approach to activate the treatment process of prone to aggregation fine fractions is to increase the amplitude and acceleration of oscillated media. This approach significantly (power function of rotation speed) reduces service time of bearings and increases the overall cost of vibrating machines.
To solve these problems, recent developments of vibratory units and corresponding technologies are directed to dual and multi-frequency excitation by different methods. High-frequency, up to ultrasound range, activators are used including devices generating impact forces with a wideband spectrum of random oscillations. However, tuning of such devices for the required elliptical trajectory of particles motion is difficult for realization.
The proposed design of a dual-frequency vibrating drive includes only a single motor and allows the realization of complex trajectories of working surfaces with a variable force both in amplitude value (3.55–8.32 kN) and in the frequency of oscillations (51.7–202.0 rad/s).
The investigated exemplary design of inertial drive showed that the maximum value Rmax = 8.32 kN does not depend on the difference in the angle of phase shift between two unbalanced masses, but depends on their inertial characteristics and rotational frequencies. This design can be easily scaled to implement in large-size vibrating machines.
Due to a created special waveform, the amplitude and corresponding energy ratio of high harmonics excited in the resulting force are about 14.1% for dual-frequency vibration and about 25.4% if compared with a single-frequency vibrator. Such redistribution of supplied to electrical motor energy allows less dangerous passing of transient modes for the above resonance industrial machines. Besides, the poly-frequency vibration with moderate amplitudes of harmonics is better for perception by operators and allows them to achieve better energy efficiency.
The finite element model simulations of a dual-frequency inertial drive allowed us to check the strength capacity of the most loaded units to provide their durable operation. Power losses due to rolling friction in the bearing supports correspond to the generally assumed values in machine design and do not cause additional energy consumption. Instead, only one electrical motor implementation for dual-frequency force generation significantly reduces the power losses in the inertial drive.
Such variable periodic characteristics allow the implementation of technological systems that will be more efficient at energy consumption and processing materials with uncertain physical and mechanical characteristics in contrast to systems with constant kinematic and force generation parameters.

Author Contributions

Conceptualization, V.G. and I.K.; methodology, V.G.; software, P.K. and V.G.; validation, P.K., and V.G.; resources, R.Z.; writing—original draft preparation, P.K.; writing—review and editing, V.G.; project administration, funding acquisition, R.Z. All authors have read and agreed to the published version of the manuscript.

Funding

This activity has received partial funding from the European Institute of Innovation and Technology (EIT), a body of the European Union, under the Horizon 2020, the EU Framework Programme for Research and Innovation. This work is supported by EIT RawMaterials GmbH under Framework Partnership Agreements No. 18253 (OPMO. Operation monitoring of mineral crushing machinery).

Data Availability Statement

The data presented in this study are available on request from the corresponding author.

Conflicts of Interest

The authors declare no conflict of interest.

References

  1. Palacios, J.L.; Balthazar, J.M.; Brasil, R.M.L.R.F. A short note on a nonlinear system vibrations under two non-ideal excitations. J. Braz. Soc. Mech. Sci. Eng. 2003, 25, 391–395. [Google Scholar] [CrossRef][Green Version]
  2. Shah, K.P. Construction, Working and Maintenance of Electric Vibrators and Vibrating Screens. Available online: www.practicalmaintenance.net (accessed on 5 November 2020).
  3. Gasior, K.; Urbanska, H.; Grzesiek, A.; Zimroz, R.; Wyłomańska, A. Identification, decomposition and segmentation of impulsive vibration signals with deterministic components—A sieving screen case study. Sensors 2020, 20, 5648. [Google Scholar] [CrossRef] [PubMed]
  4. Krot, P.; Zimroz, R. Methods of springs failures diagnostics in ore processing vibrating screens. IOP Conf. Ser. Earth Environ. Sci. 2019, 362, 1–9. [Google Scholar] [CrossRef]
  5. Lyan, I.P.; Panovko, G.Y.; Shokhin, A.E. On the issue of energy consumption of vibration technological machines. IOP Conf. Ser. Mater. Sci. Eng. 2020, 747, 012055. [Google Scholar] [CrossRef]
  6. Gursky, V.; Kuzio, I.; Korendiy, V. Optimal synthesis and implementation of resonant vibratory systems. Univ. J. Mech. Eng. 2018, 6, 38–46. [Google Scholar] [CrossRef]
  7. Kuzio, I.V.; Lanets, O.V.; Gursky, V.M. Substantiation of technological efficiency of two-frequency resonant vibration machines with pulse electromagnetic disturbance. Nauk. Visnyk Natsionalnoho Hirnychoho Universytetu 2013, 3, 71–77. [Google Scholar]
  8. Chen, B.; Yan, J.; Yin, Z.; Tamma, K.K. A new study on dynamic adjustment of vibration direction angle for dual-motor-driven vibrating screen. Proc. Inst. Mech. Eng. Part E J. Process Mech. Eng. 2020. [CrossRef]
  9. Zou, M.; Fang, P.; Peng, H.; Hou, D.; Du, M.; Hou, Y. Study on synchronization characteristics for self-synchronous vibration system with dual-frequency and dual-motor excitation. J. Mech. Sci. Technol. 2019, 33, 1065–1078. [Google Scholar] [CrossRef]
  10. Zou, M.; Fang, P.; Hou, Y.; Wang, Y.; Hou, D.; Peng, H. Synchronization analysis of two eccentric rotors with double-frequency excitation considering sliding mode control. Commun. Nonlinear Sci. Numer. Simul. 2021, 92, 105458. [Google Scholar] [CrossRef]
  11. Krot, P.; Zimroz, R.; Michalak, A.; Wodecki, J.; Ogonowski, S.; Drozda, M.; Jach, M. Development and verification of the diagnostic model of the sieving screen. Shock Vib. 2020, 2020, e8015465. [Google Scholar] [CrossRef]
  12. Blekhman, I.I.; Semenov, Y.A.; Yaroshevych, M.P. On the possibility of designing adaptive vibration machinery using self-synchronizing exciters. In Advanced Technologies in Robotics and Intelligent Systems; Misyurin, S.Y., Arakelian, V., Avetisyan, A.I., Eds.; Springer: Cham, Switzerland, 2020; pp. 231–236. [Google Scholar] [CrossRef]
  13. Hou, Y.J.; Liu, Q.Y. The electromechanical dynamics simulation of complex frequency vibrating screen with two-motor-driving. Appl. Mech. Mater. 2013, 271–272, 1211–1217. [Google Scholar] [CrossRef]
  14. Yang, D. The Self-Synchronization theory of a vibrating system by two-motor driven with isolation frame. Appl. Mech. Mater. 2014, 602–605, 1490–1494. [Google Scholar] [CrossRef]
  15. Hou, Y.J.; Gao, J.; Liang, J. Dynamics Simulation for Solid Conveyance of Dual-Frequency Vibrating Screen. Adv. Sci. Lett. 2012, 15, 391–395. [Google Scholar] [CrossRef]
  16. Hou, Y.J.; Fang, P.; Liu, Q.Y. Motion simulation of dual-frequency vibrating screen. Appl. Mech. Mater. 2012, 204–208, 4916–4921. [Google Scholar] [CrossRef]
  17. Gursky, V.M.; Kuzio, I.V.; Lanets, O.S.; Kisala, P.; Tolegenova, A.; Syzdykpayeva, A. Implementation of dual-frequency resonant vibratory machines with pulsed electromagnetic drive. Przegląd Elektrotechniczny 2019, 1, 41–46. [Google Scholar] [CrossRef]
  18. Zou, M.; Fang, P.; Hou, Y.; Chai, G.; Chen, J. Self-synchronization theory of tri-motor excitation with double-frequency in far resonance system. Proc. Inst. Mech. Eng. Part C J. Mech. Eng. Sci. 2020, 234, 3166–3184. [Google Scholar] [CrossRef]
  19. Kong, X.; Zhang, X.; Chen, X.; Wen, B.; Wang, B. Phase and speed synchronization control of four eccentric rotors driven by induction motors in a linear vibratory feeder with unknown time-varying load torques using adaptive sliding mode control algorithm. J. Sound Vib. 2016, 370, 23–42. [Google Scholar] [CrossRef]
  20. Filimonikhin, G.; Yatsun, V.V.; Dumenko, K. Research into excitation of dual frequency vibrational-rotational vibrations of screen duct by ball-type auto-balancer. East.-Eur. J. Enterp. Technol. 2016, 3, 47. [Google Scholar] [CrossRef]
  21. Yatsun, V.V.; Filimonikhin, G.; Dumenko, K.; Nevdakha, A. Search for dual-frequency motion modes of dual-mass vibratory machine with vibration exciter in the form of passive auto-balancer. East.-Eur. J. Enterp. Technol. 2018, 1, 47–54. [Google Scholar] [CrossRef]
  22. Lawinska, K.; Modrzewski, R.; Wodzinski, P. Results of mineral aggregates tests on double-frequency screen. Min. Sci. 2014, 21, 129–138. [Google Scholar]
  23. Modrzewski, R.; Wodzinski, P. Grained material classification on a double frequency screen. Physicochem. Probl. Miner. Process. 2011, 46, 5–12. [Google Scholar]
  24. Malewski, J. Control of the screening process in multi-deck screens. Min. Sci. 2016, 23, 95–106. [Google Scholar] [CrossRef]
  25. Luo, T.; Gan, X.; Luo, W. Nonlinear dynamics simulation of compacting mechanism with double-eccentric vibrator of asphalt-paver. In Proceedings of the International Conference on Intelligent Computation Technology and Automation, Changsha, China, 11–12 May 2010; pp. 800–803. [Google Scholar] [CrossRef]
  26. Wang, N.; Jiang, D.; Xu, H. Dynamic characteristics analysis of a dual-rotor system with inter-shaft bearing. Proc. Inst. Mech. Eng. Part G J. Aerosp. Eng. 2017, 233, 1147–1158. [Google Scholar] [CrossRef]
  27. Wang, N.; Jiang, D.; Behdinan, K. Vibration response analysis of rubbing faults on a dual-rotor bearing system. Arch. Appl. Mech. 2017, 87, 1–17. [Google Scholar] [CrossRef]
  28. Bukin, S.L.; Kondrakhin, V.P.; Belovodsky, V.N.; Khomenko, V.N. Excitation of polyharmonic vibrations in single-body vibration machine with inertia drive and elastic clutch. J. Min. Sci. 2014, 50, 101–107. [Google Scholar] [CrossRef]
  29. Belovodskiy, V.N.; Bukin, S.L.; Sukhorukov, M.Y. Nonlinear antiresonance vibrating screen. In Advances in Mechanisms Design. Mechanisms and Machine Science; Beran, J., Bílek, M., Hejnova, M., Zabka, P., Eds.; Springer: Dordrecht, The Netherlands, 2012; Volume 8, pp. 167–173. [Google Scholar] [CrossRef]
  30. Maslov, A.; Batsaikhan, J. The research of the operating mode of the concrete mixture plane depth compactor with a circular vibration exciter. Acad. J. Ser. Ind. Mach. Build. Civ. Eng. 2019, 1, 5–12. [Google Scholar] [CrossRef]
  31. Nazarenko, I.; Svidersky, A.; Kostenyuk, A.; Dedov, O.; Kyzminec, N.; Slipetskyi, V. Determination of the workflow of energy-saving vibration unit with polyphase spectrum of vibrations. East.-Eur. J Enterp. Technol. 2020, 1, 43–49. [Google Scholar] [CrossRef]
  32. KROOSH Screening Technology. Available online: http://kroosh.com/technology (accessed on 5 November 2020).
  33. Kroosh, I.; Obodan, Y. Vibrating Separator for Dimensional Separation of Bulk Substances (Options). Patent of Ukraine UA105212 C2, Priority, 17 October 2011. [Google Scholar]
  34. Hou, Y.J.; Fang, P.; Zeng, L. Finite element analysis of dual-frequency vibrating screen. Adv. Mater. Res. 2012, 479–481, 2124–2128. [Google Scholar] [CrossRef]
Figure 1. The design concept of the inertial dual-frequency drive.
Figure 1. The design concept of the inertial dual-frequency drive.
Energies 14 00071 g001
Figure 2. General view of dual-frequency vibrator assembled with a motor.
Figure 2. General view of dual-frequency vibrator assembled with a motor.
Energies 14 00071 g002
Figure 3. Projections of the resulting force vector for different phase shift angles: (a) φ1 = 0° and φ2 = 90°; (b) φ1 = 90° and φ2 = 0°.
Figure 3. Projections of the resulting force vector for different phase shift angles: (a) φ1 = 0° and φ2 = 90°; (b) φ1 = 90° and φ2 = 0°.
Energies 14 00071 g003
Figure 4. Time-series: (a) resulting force and angle of its rotation; (b) angular velocity.
Figure 4. Time-series: (a) resulting force and angle of its rotation; (b) angular velocity.
Energies 14 00071 g004
Figure 5. Power spectral density of a resulting force generated by dual-frequency vibrator and energy shares of higher harmonics.
Figure 5. Power spectral density of a resulting force generated by dual-frequency vibrator and energy shares of higher harmonics.
Energies 14 00071 g005
Figure 6. Nonlinear relation of resulting inertial force and rotation frequency.
Figure 6. Nonlinear relation of resulting inertial force and rotation frequency.
Energies 14 00071 g006
Figure 7. The scheme of reactions forces in the supports of a dual-frequency inertial vibrator.
Figure 7. The scheme of reactions forces in the supports of a dual-frequency inertial vibrator.
Energies 14 00071 g007
Figure 8. The results of the calculation of equivalent stresses in unbalanced masses: (a) inner unbalanced shaft, (b) outer unbalanced housing.
Figure 8. The results of the calculation of equivalent stresses in unbalanced masses: (a) inner unbalanced shaft, (b) outer unbalanced housing.
Energies 14 00071 g008
Table 1. Characteristics of imbalances and amplitudes of generated inertial forces.
Table 1. Characteristics of imbalances and amplitudes of generated inertial forces.
Massω, [rad/s]md, [kg]rd × 10−3, [m]F, [kN]
13143.96.22.38
215711.021.95.94
Table 2. Power losses on rolling friction in bearings.
Table 2. Power losses on rolling friction in bearings.
Pos.Rotation
Velocity
ω, [rad/s]
Diameter
d, [mm]
Reaction
Force
R, [kN]
Coefficient
of Friction
Moment of Friction
M, [Nm]
Power Loss
P, [W]
A314452.0040.00150.06821.35
B314450.5340.00150.0185.65
C1571205.0830.00401.22191.54
D1571203.2360.00400.78122.46
Publisher’s Note: MDPI stays neutral with regard to jurisdictional claims in published maps and institutional affiliations.

Share and Cite

MDPI and ACS Style

Gursky, V.; Kuzio, I.; Krot, P.; Zimroz, R. Energy-Saving Inertial Drive for Dual-Frequency Excitation of Vibrating Machines. Energies 2021, 14, 71. https://doi.org/10.3390/en14010071

AMA Style

Gursky V, Kuzio I, Krot P, Zimroz R. Energy-Saving Inertial Drive for Dual-Frequency Excitation of Vibrating Machines. Energies. 2021; 14(1):71. https://doi.org/10.3390/en14010071

Chicago/Turabian Style

Gursky, Volodymyr, Igor Kuzio, Pavlo Krot, and Radoslaw Zimroz. 2021. "Energy-Saving Inertial Drive for Dual-Frequency Excitation of Vibrating Machines" Energies 14, no. 1: 71. https://doi.org/10.3390/en14010071

APA Style

Gursky, V., Kuzio, I., Krot, P., & Zimroz, R. (2021). Energy-Saving Inertial Drive for Dual-Frequency Excitation of Vibrating Machines. Energies, 14(1), 71. https://doi.org/10.3390/en14010071

Note that from the first issue of 2016, this journal uses article numbers instead of page numbers. See further details here.

Article Metrics

Back to TopTop