Performance of Supercritical CO2 Power Cycle and Its Turbomachinery with the Printed Circuit Heat Exchanger with Straight and Zigzag Channels
Abstract
1. Introduction
2. Numerical Models and Methodology
2.1. Mathematical Model for PCHE Design and Analysis Code (PCHE-DAC)
Validation for the PCHE Design and Analysis Code (PCHE-DAC)
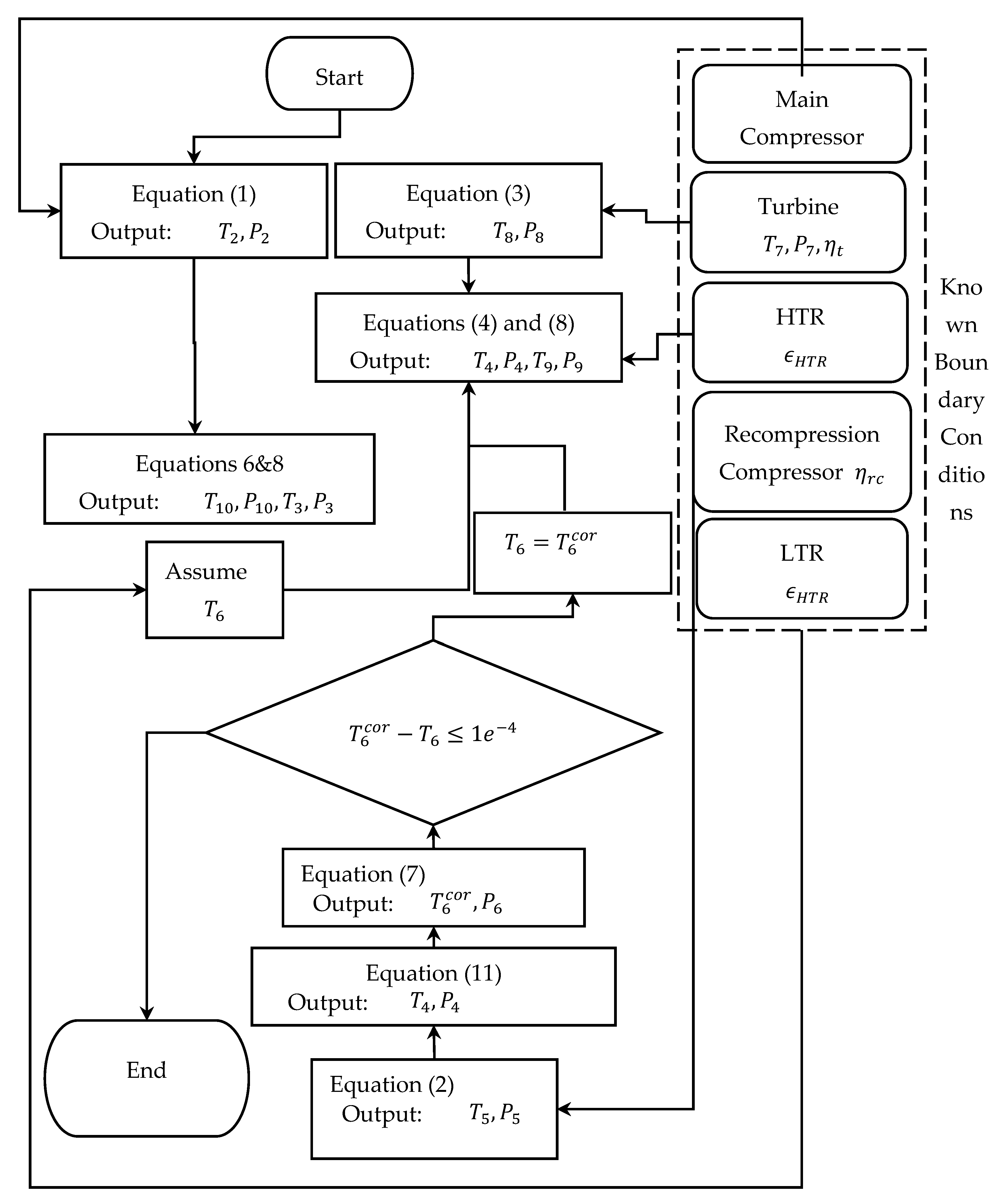
2.2. Model for Cycle Simulation and Analysis Code (CSAC)
2.2.1. Turbomachinery Models
2.2.2. Recuperator Models
2.3. Heat Exchanger Optimization Based on Cycle Performance
3. Result
3.1. Characteristics of the PCHEs
Comparison of Heat Exchanger Designs with Straight and Zigzag Channels
3.2. Cycle simulations Results
3.3. Heat Exchanger Optimization Results
4. Conclusions
- For the same heat load, PCHEs with zigzag-channel configuration are computed to be approximately one third the size of PCHE with straight-channel configuration reasoned by the superior heat transfer characteristics associated with the zigzag channels. This in turn, reduces the pressure drop across the PCHEs with zigzag-channel in comparison with the PCHEs with straight-channel even though the friction factor for the latter is lower than the former.
- For both channel configurations, the heat exchanger size increases with an increase in the design value for effectiveness. It decreases with a decrease in the design value for the inlet Reynolds number. The pressure drops increase by increasing both and in both hot and cold side channels of the heat exchanger and vice versa. The pressure drop for the PCHE on the cold side is only slightly higher for straight-channel geometry than for zigzag-channel geometry. However, the heat exchanger’s hot side’s pressure drop was three times higher for the straight-channel geometry than for the zigzag-channel geometry. Similar results were reported for the heat exchanger’s size by Saeed et al. [29]; however, they did not note the channel’s geometry’s effect on the component size.
- Due to the high-pressure drop in PCHEs with a straight-channel configuration, available pressure across the turbine is significantly smaller in the than with a zigzag-channel configuration. Further load on the recompression compressor can be reduced significantly if PCHE designs with straight channels are replaced with zigzag-channels. In contrast, the main-compressor load was found to be independent of the PCHE design as inlet conditions were kept constant for the current study.
- PCHEs with a zigzag-channel configuration with design values for the inlet Reynolds number and heat exchanger effectiveness ranging from to and , respectively, are optimal for the and provide a good compromise between cycle efficiency and layout size.
Author Contributions
Funding
Conflicts of Interest
Nomenclature
| f | relative pressure loss |
| h | |
| k | |
| Prandtl number | |
| Re | Reynolds number |
| q | heat transfer from hot to cold side through a cell [kW] |
| Q | total heat transferred [kW] |
| T | temperature [K] |
| power [W] | |
| x | split mass fraction |
| Greek symbols | |
| effectiveness | |
| efficiency | |
| Sub- and Superscripts | |
| 0, 1, 2, −10 | state points |
| cyc | cycle |
| cold | cold side |
| C | compressor |
| hot | hot side |
| HTR | high-temperature recuperator |
| ith | ith cell |
| cell | |
| LTR | low-temperature recuperator |
| m | mechanical, meridional |
| min | minimum |
| MC | main compressor |
| RC | recompression compressor |
| T | turbine |
| th | thermal |
References
- Brun, K.; Friedman, P.; Dennis, R. (Eds.) Fundamentals and Applications of Supercritical Carbon Dioxide (sCO2) Based Power Cycles; Woodhead Publishing: Sawston, UK, 2017. [Google Scholar]
- Saeed, M.; Khatoon, S.; Kim, M.-H. Design optimization and performance analysis of a supercritical carbon dioxide recompression Brayton cycle based on the detailed models of the cycle components. Energy Convers. Manag. 2019, 196, 242–260. [Google Scholar] [CrossRef]
- Manente, G.; Costa, M. On the Conceptual Design of Novel Supercritical CO2 Power Cycles for Waste Heat Recovery. Energies 2020, 13, 370. [Google Scholar] [CrossRef]
- Ahn, Y.; Bae, S.J.; Kim, M.; Cho, S.K.; Baik, S.; Lee, J.I.; Cha, J.E. Review of supercritical CO2 power cycle technology and current status of research and development. Nucl. Eng. Technol. 2015, 47, 647–661. [Google Scholar] [CrossRef]
- Feher, E.G. The supercritical thermodynamic power cycle. Energy Convers. 1968, 8, 85–90. [Google Scholar] [CrossRef]
- Pham, H.S.; Alpy, N.; Ferrasse, J.H.; Boutin, O.; Quenaut, J.; Tothill, M.; Haubensack, D.; Saez, M. Mapping of the thermodynamic performance of the supercritical CO2 cycle and optimisation for a small modular reactor and a sodium-cooled fast reactor. Energy 2015, 87, 412–424. [Google Scholar] [CrossRef]
- Turchi, C.S.; Ma, Z.; Neises, T.W.; Wagner, M.J. Thermodynamic study of advanced supercritical carbon dioxide power cycles for concentrating solar power systems. J. Sol. Energy Eng. 2013, 135, 375–383. [Google Scholar] [CrossRef]
- Reyes-Belmonte, M.A.; Sebastián, A.; Romero, M.; González-Aguilar, J. Optimization of a recompression supercritical carbon dioxide cycle for an innovative central receiver solar power plant. Energy 2016, 112, 17–27. [Google Scholar] [CrossRef]
- Al-Sulaiman, F.A.; Atif, M. Performance comparison of different supercritical carbon dioxide Brayton cycles integrated with a solar power tower. Energy 2015, 82, 61–71. [Google Scholar] [CrossRef]
- Wang, J.; Wang, J.; Lund, P.D.; Zhu, H. Thermal Performance Analysis of a Direct-Heated Recompression Supercritical Carbon Dioxide Brayton Cycle Using Solar Concentrators. Energies 2019, 12, 4358. [Google Scholar] [CrossRef]
- Khan, M.N.; Osman, M.; Alharbi, A.R.; Gorji, M.R.; Alarifi, I.M. Improving the efficiency of gas turbine-air bottoming combined cycle by heat exchangers and bypass control valves. Phys. Scr. 2020, 95, 45701. [Google Scholar] [CrossRef]
- Chauhan, P.R.; Kumar, K.; Kumar, R.; Rahimi-Gorji, M.; Bharj, R.S. Effect of Thermophysical Property Variation on Entropy Generation towards Micro-Scale. J. Non-Equilib. Thermodyn. 2019, 45, 1–17. [Google Scholar] [CrossRef]
- Sarkar, J.; Bhattacharyya, S. Optimization of recompression S-CO2 power cycle with reheating. Energy Convers. Manag. 2009, 50, 1939–1945. [Google Scholar] [CrossRef]
- Sharma, O.P.; Kaushik, S.C.; Manjunath, K. Thermodynamic analysis and optimization of a supercritical CO2 regenerative recompression Brayton cycle coupled with a marine gas turbine for shipboard waste heat recovery. Therm. Sci. Eng. Prog. 2017, 3, 62–74. [Google Scholar] [CrossRef]
- Sarkar, J. Second law analysis of supercritical CO2 recompression Brayton cycle. Energy 2009, 34, 1172–1178. [Google Scholar] [CrossRef]
- Crespi, F.; Gavagnin, G.; Sánchez, D.; Martínez, G.S. Supercritical carbon dioxide cycles for power generation: A review. Appl. Energy 2017, 195, 152–183. [Google Scholar] [CrossRef]
- Conboy, T.; Wright, S.; Pasch, J.; Fleming, D.; Rochau, G.; Fuller, R. Performance characteristics of an operating supercritical CO2 Brayton cycle. J. Eng. Gas Turbines Power 2012, 134, 111703–111715. [Google Scholar] [CrossRef]
- Coco-Enríquez, L.; Muñoz-Antón, J.; Martínez-Val, J.M. New text comparison between CO2 and other supercritical working fluids (ethane, Xe, CH4 and N2) in line-focusing solar power plants coupled to supercritical Brayton power cycles. Int. J. Hydrog. Energy 2017, 42, 17611–17631. [Google Scholar] [CrossRef]
- Saeed, M.; Kim, M. Analysis of a recompression supercritical carbon dioxide power cycle with an integrated turbine design/optimization algorithm. Energy 2018, 165, 93–111. [Google Scholar] [CrossRef]
- Li, H.; Su, W.; Cao, L.; Chang, F.; Xia, W.; Dai, Y. Preliminary conceptual design and thermodynamic comparative study on vapor absorption refrigeration cycles integrated with a supercritical CO2 power cycle. Energy Convers. Manag. 2018, 161, 162–171. [Google Scholar] [CrossRef]
- Wang, K.; He, Y.L.; Zhu, H.H. Integration between supercritical CO2 Brayton cycles and molten salt solar power towers: A review and a comprehensive comparison of different cycle layouts. Appl. Energy 2017, 195, 819–836. [Google Scholar] [CrossRef]
- Wang, X.; Liu, Q.; Lei, J.; Han, W.; Jin, H. Investigation of thermodynamic performances for two-stage recompression supercritical CO2 Brayton cycle with high temperature thermal energy storage system. Energy Convers. Manag. 2018, 165, 477–487. [Google Scholar] [CrossRef]
- Song, J.; Li, X.; Ren, X.; Gu, C. Performance analysis and parametric optimization of supercritical carbon dioxide (S-CO2) cycle with bottoming Organic Rankine Cycle (ORC). Energy 2018, 143, 406–416. [Google Scholar] [CrossRef]
- Muñoz, M.; Rovira, A.; Sánchez, C.; Montes, M.J. Off-design analysis of a Hybrid Rankine-Brayton cycle used as the power block of a solar thermal power plant. Energy 2017, 134, 369–381. [Google Scholar] [CrossRef]
- Kim, Y.M.; Sohn, J.L.; Yoon, E.S. Supercritical CO2 Rankine cycles for waste heat recovery from gas turbine. Energy 2017, 118, 893–905. [Google Scholar] [CrossRef]
- Luu, M.T.; Milani, D.; McNaughton, R.; Abbas, A. Analysis for flexible operation of supercritical CO2 Brayton cycle integrated with solar thermal systems. Energy 2017, 124, 752–771. [Google Scholar] [CrossRef]
- Saeed, M.; Berrouk, A.S.; Salman Siddiqui, M.; Ali Awais, A. Effect of Printed Circuit Heat Exchanger’s Different Designs on the Performance of Supercritical Carbon Dioxide Brayton Cycle. Appl. Therm. Eng. 2020, 179, 115758. [Google Scholar] [CrossRef]
- Saeed, M.; Berrouk, A.S.; Salman Siddiqui, M.; Ali Awais, A. Numerical investigation of thermal and hydraulic characteristics of sCO2-water printed circuit heat exchangers with zigzag channels. Energy Convers. Manag. 2020, 224, 113375. [Google Scholar] [CrossRef]
- Salim, M.S.; Saeed, M.; Kim, M.-H. Performance Analysis of the Supercritical Carbon Dioxide Re-compression Brayton Cycle. Appl. Sci. 2020, 10, 1129. [Google Scholar] [CrossRef]
- Ha, S.T.; Ngo, L.C.; Saeed, M.; Jeon, B.J.; Choi, H. A comparative study between partitioned and monolithic methods for the problems with 3D fluid-structure interaction of blood vessels. J. Mech. Sci. Technol. 2017, 31, 281–287. [Google Scholar] [CrossRef]
- Gnielinski, V. New equations for heat and mass transfer in turbulent pipe and channel flow. Int. Chem. Eng. 1976, 16, 359–368. [Google Scholar]
- Ishizuka, T.; Kato, Y.; Muto, Y.; Nikitin, K.; Tri, N.L.; Hashimoto, H. Thermal-hydraulic characteristic of a printed circuit heat exchanger in a supercritical CO2 loop. In Proceedings of the 11th International Topical Meeting on Nuclear Reactor Thermal-Hydraulics (NURETH-11), Avignon, France, 2–6 October 2005. [Google Scholar]
- Kim, S.G.; Lee, Y.; Ahn, Y.; Lee, J.I. CFD aided approach to design printed circuit heat exchangers for supercritical CO2 Brayton cycle application. Ann. Nucl. Energy 2016, 92, 175–185. [Google Scholar] [CrossRef]
- Saeed, M.; Kim, M.-H. Thermal-hydraulic analysis of sinusoidal fin-based printed circuit heat exchangers for supercritical CO2 Brayton cycle. Energy Convers. Manag. 2019, 193, 124–139. [Google Scholar] [CrossRef]
- Saeed, M.; Kim, M.-H. Thermal and hydraulic performance of SCO2 PCHE with different fin configurations. Appl. Therm. Eng. 2017, 127, 975–985. [Google Scholar] [CrossRef]
- Crespi, F.; Sánchez, D.; Rodríguez, J.M.; Gavagnin, G. Fundamental thermo-economic approach to selecting sCO2 power cycles for CSP applications. Energy Procedia 2017, 129, 963–970. [Google Scholar] [CrossRef]
- Lee, J. Design Methodology of Supercritical CO2 Brayton Cycle Turbomachineries. In Proceedings of the ASME Turbo Expo 2012: Turbine Technical Conference and Exposition, Copenhagen, Denmark, 11–15 June 2016. [Google Scholar]
- Wang, K.; He, Y.-L. Thermodynamic analysis and optimization of a molten salt solar power tower integrated with a recompression supercritical CO2 Brayton cycle based on integrated modeling. Energy Convers. Manag. 2017, 135, 336–350. [Google Scholar] [CrossRef]
- Bahamonde Noriega, J.S. Design Method for s-CO2 Gas Turbine Power Plants Integration of Thermodynamic Analysis and Components Design for Advanced Applications; P&E-2530; Delft University of Technology: Delft, The Netherlands, 2012. [Google Scholar]
- Zhang, X.; Sun, X.; Christensen, R.N.; Anderson, M.; Carlson, M. Optimization of S-Shaped Fin Channels in a Printed Circuit Heat Exchanger for Supercritical CO2 Test Loop. In Proceedings of the 5th International Supercritical CO2 Power Cycles Symposium, San Antonio, TX, USA, 29–31 March 2016. [Google Scholar]
- Shen, X.; Yang, H.; Chen, J.; Zhu, X.; Du, Z. Aerodynamic shape optimization of non-straight small wind turbine blades. Energy Convers. Manag. 2016, 119, 266–278. [Google Scholar] [CrossRef]
- Saeed, M.; Kim, M.-H. Heat transfer enhancement using nanofluids (Al2O3-H2O) in mini-channel heatsinks. Int. J. Heat Mass Transf. 2018, 120, 671–682. [Google Scholar] [CrossRef]
- Saeed, M.; Kim, M. Numerical study on thermal hydraulic performance of water cooled mini-channel heat sinks. Int. J. Refrig. 2016, 69, 147–164. [Google Scholar] [CrossRef]






















| Configuration | Correlations | Channel Geometry |
|---|---|---|
| Genelisi [32] | ![]() | |
| Ishizuka et al. [33] | ![]() | |
| Kim et al. [34] | ) | |
| Saeed and Kim [35] | ) |
| Hot Side | Cold Side | ||||
|---|---|---|---|---|---|
| 2520 | 279.9 | 0.0001445 | 8353.22 | 107.9 | 0.0003152 |
| PCHE-DAC | Experimental Results | % Difference | |
|---|---|---|---|
| 169.20 | 161.5 | 4.5% | |
| 142.90 | 141.1 | 5.18% |
| Parameters | Values |
|---|---|
| Compressor inlet Temperature () | 308 |
| Compressor inlet pressure () [kPa] | 7500 |
| Cycle pressure ratio () | 3.2 |
| Turbine inlet temperature | 1073 |
| Design Variable | Symbols | Upper Bounds | Lower Bounds |
|---|---|---|---|
| Effectiveness of the heat exchanger () | x1 | 0.99 | 0.8 |
| Inlet Reynolds number | x2 | 30,000 | 60,000 |
| Split mass fraction | x3 | 0.50 | 0.95 |
| Channel configuration | x4 | Zigzag channel, | Straight-channel |
| S. No. | x | Re | Channel Configuration | Volume | ||
|---|---|---|---|---|---|---|
| 1.000 | 0.989 | 0.714 | 25,250.4 | Zigzag-channel | 0.560 | 0.614 |
| 2.000 | 0.989 | 0.714 | 25,250.4 | Zigzag-channel | 0.560 | 0.614 |
| 3.000 | 0.947 | 0.756 | 28,404.9 | Zigzag-channel | 0.547 | 0.318 |
| 4.000 | 0.969 | 0.731 | 28,382.4 | Zigzag-channel | 0.553 | 0.400 |
| 5.000 | 0.958 | 0.733 | 28,769.8 | Zigzag-channel | 0.549 | 0.351 |
| 6.000 | 0.986 | 0.716 | 25,454.2 | Zigzag-channel | 0.559 | 0.578 |
| 7.000 | 0.941 | 0.749 | 32,573.3 | Zigzag-channel | 0.543 | 0.270 |
| 8.000 | 0.811 | 0.798 | 32,479.6 | Zigzag-channel | 0.519 | 0.124 |
| 9.000 | 0.968 | 0.726 | 26,006.3 | Zigzag-channel | 0.553 | 0.429 |
| 10.000 | 0.931 | 0.769 | 36,265.9 | Zigzag-channel | 0.539 | 0.224 |
| 11.000 | 0.900 | 0.762 | 32,191.4 | Zigzag-channel | 0.532 | 0.201 |
| 12.000 | 0.800 | 0.825 | 58,820.2 | Zigzag-channel | 0.510 | 0.071 |
| 13.000 | 0.979 | 0.724 | 25,540.3 | Zigzag-channel | 0.558 | 0.504 |
| 14.000 | 0.870 | 0.796 | 31,450.6 | Zigzag-channel | 0.532 | 0.170 |
| 15.000 | 0.946 | 0.743 | 30,291.1 | Zigzag-channel | 0.545 | 0.297 |
| 16.000 | 0.889 | 0.783 | 41,244.1 | Zigzag-channel | 0.530 | 0.150 |
| 17.000 | 0.981 | 0.721 | 27,993.8 | Zigzag-channel | 0.556 | 0.478 |
| 18.000 | 0.983 | 0.715 | 25,414.4 | Zigzag-channel | −0.558 | 0.542 |
Publisher’s Note: MDPI stays neutral with regard to jurisdictional claims in published maps and institutional affiliations. |
© 2020 by the authors. Licensee MDPI, Basel, Switzerland. This article is an open access article distributed under the terms and conditions of the Creative Commons Attribution (CC BY) license (http://creativecommons.org/licenses/by/4.0/).
Share and Cite
Saeed, M.; Alawadi, K.; Kim, S.C. Performance of Supercritical CO2 Power Cycle and Its Turbomachinery with the Printed Circuit Heat Exchanger with Straight and Zigzag Channels. Energies 2021, 14, 62. https://doi.org/10.3390/en14010062
Saeed M, Alawadi K, Kim SC. Performance of Supercritical CO2 Power Cycle and Its Turbomachinery with the Printed Circuit Heat Exchanger with Straight and Zigzag Channels. Energies. 2021; 14(1):62. https://doi.org/10.3390/en14010062
Chicago/Turabian StyleSaeed, Muhammed, Khaled Alawadi, and Sung Chul Kim. 2021. "Performance of Supercritical CO2 Power Cycle and Its Turbomachinery with the Printed Circuit Heat Exchanger with Straight and Zigzag Channels" Energies 14, no. 1: 62. https://doi.org/10.3390/en14010062
APA StyleSaeed, M., Alawadi, K., & Kim, S. C. (2021). Performance of Supercritical CO2 Power Cycle and Its Turbomachinery with the Printed Circuit Heat Exchanger with Straight and Zigzag Channels. Energies, 14(1), 62. https://doi.org/10.3390/en14010062



