Toward the Optimal Operation of Hybrid Renewable Energy Resources in Microgrids
Abstract
1. Introduction
2. Related Work
3. Methodology for Hybrid Renewable Energy Resources Optimization in Microgrids
4. Problem Formulation of Hybrid Renewable Energy Resource Optimization in Microgrids
4.1. Objective Function and Constraint Modeling
4.2. Energy Management and Optimal Operation Algorithm
| Algorithm 1 Balance formulation between renewable and non-renewable sources |
| 1: Input Parameters: |
| 2: |
| 3: Output: |
| 4: Initialize DGoutput0 ←760 |
| 5: SoC 0 ←0.5 |
| 6: for All in Dataset do |
| 7: |
| 8: |
| 9: if SoCi > 0.9 |
| 10: |
| 11: |
| 12: |
| 13: endif |
| 14: if |
| 15: |
| 16: |
| 17: |
| 18: |
| 19: endif |
| 20: if 0.1 |
| 21: |
| 22: endif |
| 23: if |
| 24: |
| 25: endif |
| 26: endfor |
| 27: |
| 28: |
| 29: if |
| 30: |
| 31: else |
| 32: |
5. Design of Hybrid Renewable Energy Resource Optimization in Microgrids
5.1. Design Based on State Modeling
5.2. Design Based on Class Modeling
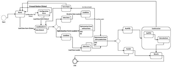
5.3. Design Based on Sequence Modeling
6. Execution Model of Proposed System
7. Performance Analysis
7.1. Operational Cost
7.2. Renewable Energy Penetration
8. Conclusions
Author Contributions
Funding
Conflicts of Interest
Nomenclature
| Renewable Energy Suppression | |
| Total cost, which includes all incumbent costs | |
| The initial installation cost | |
| The operational cost | |
| Maintenance cost | |
| Wind turbine capacity | |
| Per unit cost of wind turbine | |
| The total capacity of photovoltaic (solar arrays) | |
| Per unit cost of photovoltaic array | |
| The total cost of storage capacity | |
| Per unit cost of storage | |
| Diesel generator operation cost | |
| Renewable energy operation cost | |
| Total cost of all diesel generators | |
| The output cost of the ith diesel generator | |
| Manufacturing constants for diesel generators | |
| Manufacturing constants for photovoltaic | |
| Manufacturing constants for wind turbines | |
| Per unit operational and management cost of wind turbine | |
| Per unit operational and management cost of photovoltaic | |
| Per unit operational and management cost of diesel generators | |
| Per unit operational and management cost of storage systems | |
| The achieved amount of renewable energy penetration | |
| The desired renewable energy penetration | |
| Range specifier, i.e., if the desired REP is 65%, and α is 3, the REP achieved should be in the range (62%,68%) | |
| The output of first-level PSO which are used as decision variables for EMS algorithm | |
| The state ofharging level of storage systems, i.e., battery | |
| RE | Renewable energy |
| PSO | Particle swarm optimization |
| HRES | Hybrid renewable energy systems |
| PV | Photovoltaic |
| WT | Wind turbine |
| AMPL | A Mathematical Programming Language |
| rPSO | Recursive PSO |
| EMS | Energy management system |
| MPC | Model predictive control |
| ANN | Artificial neural networks |
References
- Eastin, J.; Grundmann, R.; Prakash, A. The two limits debates: Limits to Growth and climate change. Futures 2011, 43, 16–26. [Google Scholar] [CrossRef]
- Al-Saleh, Y. Renewable energy scenarios for major oil-producing nations: The case of Saudi Arabia. Futures 2009, 41, 650–662. [Google Scholar] [CrossRef]
- Bajpai, P.; Dash, V. Hybrid renewable energy systems for power generation in stand-alone applications: A review. Renew. Sustain. Energy Rev. 2012, 16, 2926–2939. [Google Scholar] [CrossRef]
- Deshmukh, M.; Deshmukh, S. Modeling of hybrid renewable energy systems. Renew. Sustain. Energy Rev. 2008, 12, 235–249. [Google Scholar] [CrossRef]
- García-Vera, Y.E.; Dufo-López, R.; Bernal-Agustín, J.L. Energy management in microgrids with renewable energy sources: A literature review. Appl. Sci. 2019, 9, 3854. [Google Scholar] [CrossRef]
- Lotfi, H.; Khodaei, A. Hybrid AC/DC microgrid planning. Energy 2017, 118, 37–46. [Google Scholar] [CrossRef]
- Ramli, M.A.; Bouchekara, H.; Alghamdi, A.S. Optimal sizing of PV/wind/diesel hybrid microgrid system using multi-objective self-adaptive differential evolution algorithm. Renew. Energy 2018, 121, 400–411. [Google Scholar] [CrossRef]
- Entsoe Transparency Platform. Available online: https://transparency.entsoe.eu (accessed on 4 October 2020).
- Zhou, W.; Lou, C.; Li, Z.; Lu, L.; Yang, H. Current status of research on optimum sizing of stand-alone hybrid solar–wind power generation systems. Appl. Energy 2010, 87, 380–389. [Google Scholar] [CrossRef]
- Hongxing, Y.; Lu, L.; Zhou, W. A novel optimization sizing model for hybrid solar-wind power generation system. Sol. Energy 2007, 81, 76–84. [Google Scholar]
- Tooryan, F.; Collins, E.R.; Ahmadi, A.; Rangarajan, S.S. Distributed generators optimal sizing and placement in a microgrid using PSO. In Proceedings of the IEEE 6th International Conference on Renewable Energy Research and Applications (ICRERA), San Diego, CA, USA, 5–8 November 2017; pp. 614–619. [Google Scholar]
- Rastegarfar, N.; Kashanizadeh, B.; Vakilian, M.; Barband, S. Optimal placement of fast charging station in a typical microgrid in Iran. In Proceedings of the 10th International Conference on the European Energy Market (EEM), Stockholm, Sweden, 27–31 May 2013; pp. 1–7. [Google Scholar]
- Wu, J.; Guan, X. Coordinated multi-microgrids optimal control algorithm for smart distribution management system. IEEE Trans. Smart Grid 2013, 4, 2174–2181. [Google Scholar] [CrossRef]
- Kriett, P.O.; Salani, M. Optimal control of a residential microgrid. Energy 2012, 42, 321–330. [Google Scholar] [CrossRef]
- Minchala-Avila, L.I.; Garza-Castañón, L.E.; Vargas-Martínez, A.; Zhang, Y. A review of optimal control techniques applied to the energy management and control of microgrids. Procedia Comput. Sci. 2015, 52, 780–787. [Google Scholar] [CrossRef]
- Shi, W.; Xie, X.; Chu, C.-C.; Gadh, R. Distributed optimal energy management in microgrids. IEEE Trans. Smart Grid 2014, 6, 1137–1146. [Google Scholar] [CrossRef]
- García-Vera, Y.E.; Dufo-López, R.; Bernal-Agustín, J.L. Optimization of isolated hybrid microgrids with renewable energy based on different battery models and technologies. Energies 2020, 13, 581. [Google Scholar] [CrossRef]
- Dursun, E.; Kilic, O. Comparative evaluation of different power management strategies of a stand-alone PV/Wind/PEMFC hybrid power system. Int. J. Electr. Power Energy Syst. 2012, 34, 81–89. [Google Scholar] [CrossRef]
- Wang, X.; Palazoglu, A.; El-Farra, N.H. Operational optimization and demand response of hybrid renewable energy systems. Appl. Energy 2015, 143, 324–335. [Google Scholar] [CrossRef]
- Sharafi, M.; ElMekkawy, T.Y.; Bibeau, E.L. Optimal design of hybrid renewable energy systems in buildings with low to high renewable energy ratio. Renew. Energy 2015, 83, 1026–1042. [Google Scholar] [CrossRef]
- Milan, C.; Bojesen, C.; Nielsen, M.P. A cost optimization model for 100% renewable residential energy supply systems. Energy 2012, 48, 118–127. [Google Scholar] [CrossRef]
- Dagdougui, H.; Minciardi, R.; Ouammi, A.; Robba, M.; Sacile, R. Modeling and optimization of a hybrid system for the energy supply of a “Green” building. Energy Convers. Manag. 2012, 64, 351–363. [Google Scholar] [CrossRef]
- Lee, K.-H.; Lee, D.-W.; Baek, N.-C.; Kwon, H.-M.; Lee, C.-J. Preliminary determination of optimal size for renewable energy resources in buildings using RETScreen. Energy 2012, 47, 83–96. [Google Scholar] [CrossRef]
- Prasad, G.R.K.D.S.; Vijaya Kumar Reddy, K.; Saibabu, C. Integration of renewable energy sources in Zero energy buildings with economical and environmental aspects by using HOMER. Int. J. Adv. Eng. Sci. Technol. 2011, 9, 212–217. [Google Scholar]
- Jiang, Z.; Rahimi-Eichi, H. Design, modeling and simulation of a green building energy system. In Proceedings of the IEEE Power & Energy Society General Meeting, Calgary, AB, Canada, 26–30 July 2009; pp. 1–7. [Google Scholar] [CrossRef]
- Chouder, A.; Silvestre, S.; Sadaoui, N.; Rahmani, L. Modeling and simulation of a grid connected PV system based on the evaluation of main PV module parameters. Simul. Model. Pract. Theory 2012, 20, 46–58. [Google Scholar] [CrossRef]
- Das, D.; Esmaili, R.; Xu, L.; Nichols, D. An optimal design of a grid connected hybrid wind/photovoltaic/fuel cell system for distributed energy production. In Proceedings of the 31st Annual Conference of IEEE Industrial Electronics Society, Raleigh, NC, USA, 6–10 November 2005; p. 6. [Google Scholar]
- De Soto, W.; Klein, S.; Beckman, W. Improvement and validation of a model for photovoltaic array performance. Sol. Energy 2006, 80, 78–88. [Google Scholar] [CrossRef]
- Salam, Z.; Ishaque, K.; Taheri, H. An improved two-diode photovoltaic (PV) model for PV system. In Proceedings of the 2010 Joint International Conference on Power Electronics, Drives and Energy Systems & 2010 Power India, Institute of Electrical and Electronics Engineers (IEEE), New Delhi, India, 20–23 December 2010; pp. 1–5. [Google Scholar]
- Scheffler, M.; Colombo, P. Cellular Ceramics: Structure, Manufacturing, Properties and Applications; John Wiley & Sons: Oxford, UK, 2006. [Google Scholar]
- Habib, M.; Said, S.; El-Hadidy, M.; Al-Zaharna, I. Optimization procedure of a hybrid photovoltaic wind energy system. Energy 1999, 24, 919–929. [Google Scholar] [CrossRef]
- Evans, D. Simplified method for predicting photovoltaic array output. Sol. Energy 1981, 27, 555–560. [Google Scholar] [CrossRef]
- Shahinzadeh, H.; Moazzami, M.; Fathi, S.H.; Gharehpetian, G.B. Optimal sizing and energy management of a grid-connected microgrid using HOMER software. In Proceedings of the 2016 Smart Grids Conference (SGC), Kerman, Iran, 20–21 December 2016; pp. 1–6. [Google Scholar]
- Rousis, A.O.; Tzelepis, D.; Konstantelos, I.; Booth, C.; Strbac, G. Design of a hybrid AC/DC microgrid using HOMER pro: Case study on an islanded residential application. Inventions 2018, 3, 55. [Google Scholar] [CrossRef]
- Massucco, S.; Pongiglione, P.; Saviozzi, M.; Silvestro, F.; Almaleck, P.; Serra, P. Algorithm for optimal microgrid operation and control with adaptable constraints and flexible objective function. In Proceedings of the IEEE 5th International Forum on Research and Technology for Society and Industry (RTSI), Firenze, Italy, 9 September 2019; pp. 97–102. [Google Scholar]
- Adjei, B.A.; Donkoh, E.K.; Otoo, D.; Owusu-Ansah, E.D.-G.J.; Mahama, F. Optimization of A Grid-Connected Photovoltaic System in a Densely Populated Residential Community. J. Adv. Math. Comput. Sci. 2019, 1–16. [Google Scholar] [CrossRef]
- Bahramirad, S.; Reder, W.; Khodaei, A. Reliability-constrained optimal sizing of energy storage system in a microgrid. IEEE Trans. Smart Grid 2012, 3, 2056–2062. [Google Scholar] [CrossRef]
- Chen, C.; Duan, S.; Cai, T.; Liu, B.; Hu, G. Smart energy management system for optimal microgrid economic operation. IET Renew. Power Gener. 2011, 5, 258–267. [Google Scholar] [CrossRef]
- Olivares, D.E.; Canizares, C.A.; Kazerani, M. A Centralized energy management system for isolated microgrids. IEEE Trans. Smart Grid 2014, 5, 1864–1875. [Google Scholar] [CrossRef]











| Technology | Description |
|---|---|
| Operating System | Windows 10 |
| Programming Language | C#. NET |
| Libraries | PSO, GA, BAT |
| Server | Flask Server |
| Persistence | File-based |
| Core Programming Language | C# |
Publisher’s Note: MDPI stays neutral with regard to jurisdictional claims in published maps and institutional affiliations. |
© 2020 by the authors. Licensee MDPI, Basel, Switzerland. This article is an open access article distributed under the terms and conditions of the Creative Commons Attribution (CC BY) license (http://creativecommons.org/licenses/by/4.0/).
Share and Cite
Ahmad, S.; Ullah, I.; Jamil, F.; Kim, D. Toward the Optimal Operation of Hybrid Renewable Energy Resources in Microgrids. Energies 2020, 13, 5482. https://doi.org/10.3390/en13205482
Ahmad S, Ullah I, Jamil F, Kim D. Toward the Optimal Operation of Hybrid Renewable Energy Resources in Microgrids. Energies. 2020; 13(20):5482. https://doi.org/10.3390/en13205482
Chicago/Turabian StyleAhmad, Shabir, Israr Ullah, Faisal Jamil, and DoHyeun Kim. 2020. "Toward the Optimal Operation of Hybrid Renewable Energy Resources in Microgrids" Energies 13, no. 20: 5482. https://doi.org/10.3390/en13205482
APA StyleAhmad, S., Ullah, I., Jamil, F., & Kim, D. (2020). Toward the Optimal Operation of Hybrid Renewable Energy Resources in Microgrids. Energies, 13(20), 5482. https://doi.org/10.3390/en13205482

