Investigation of Deterministic, Statistical and Parametric NB-PLC Channel Modeling Techniques for Advanced Metering Infrastructure
Abstract
1. Introduction
1.1. Mian Contribution
1.2. Paper Structure
2. Related Work
3. Channel Modeling of NB-PLC for AMI in Medium Voltage Network
4. Characterization of Medium Voltage NB-PLC Network
4.1. Resistance Variations Law
4.2. Modeling of Impedances for Medium Voltage NB-PLC Network
- Constant LV and MV Networks: The constant LV and MV network includes the fixed values of transmission lines and access impedances parameters.
- FS LV and MV Network: The FS parameters includes the values of transmission lines and access impedances that varies with an increase of frequency of NB-PLC signal.
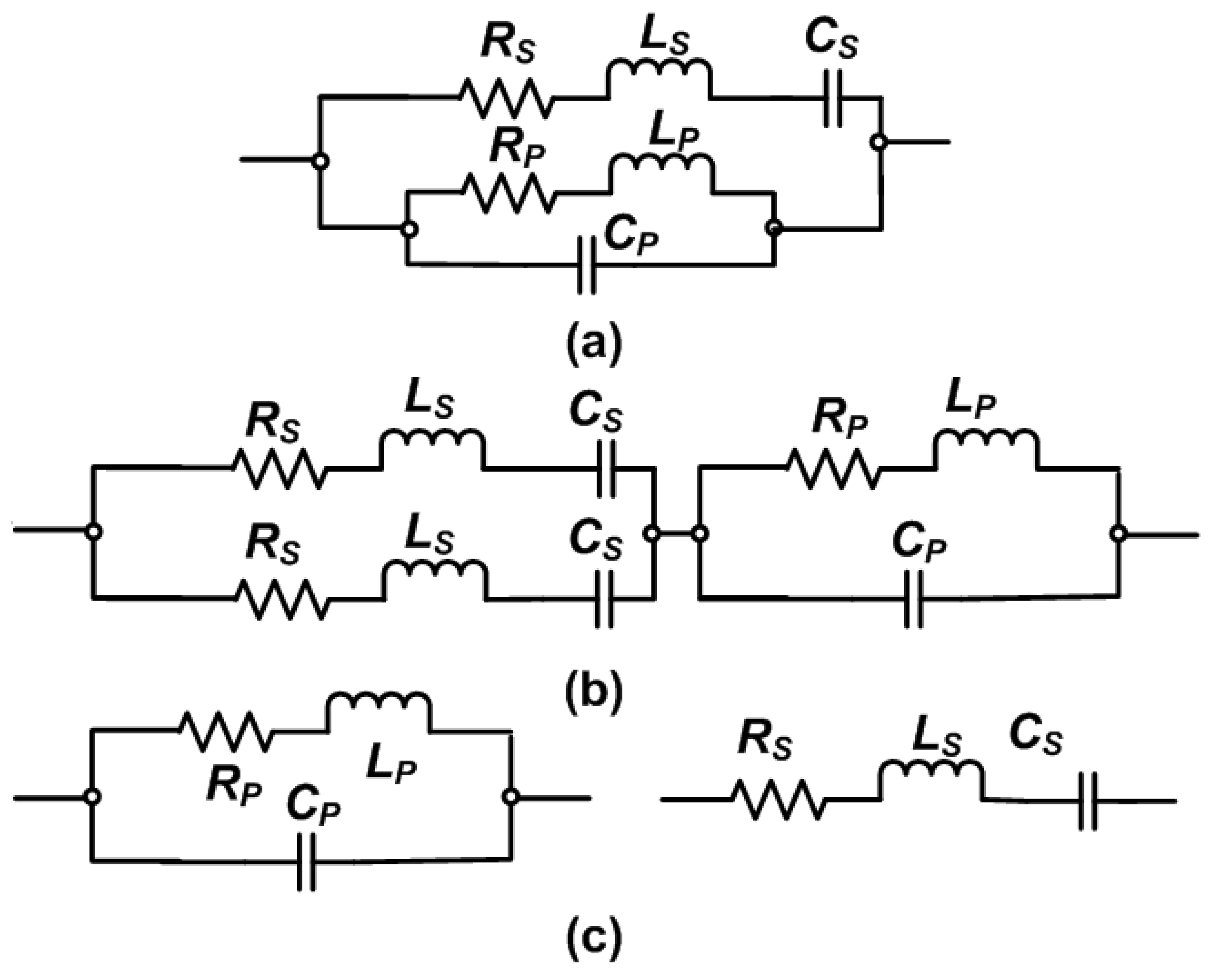
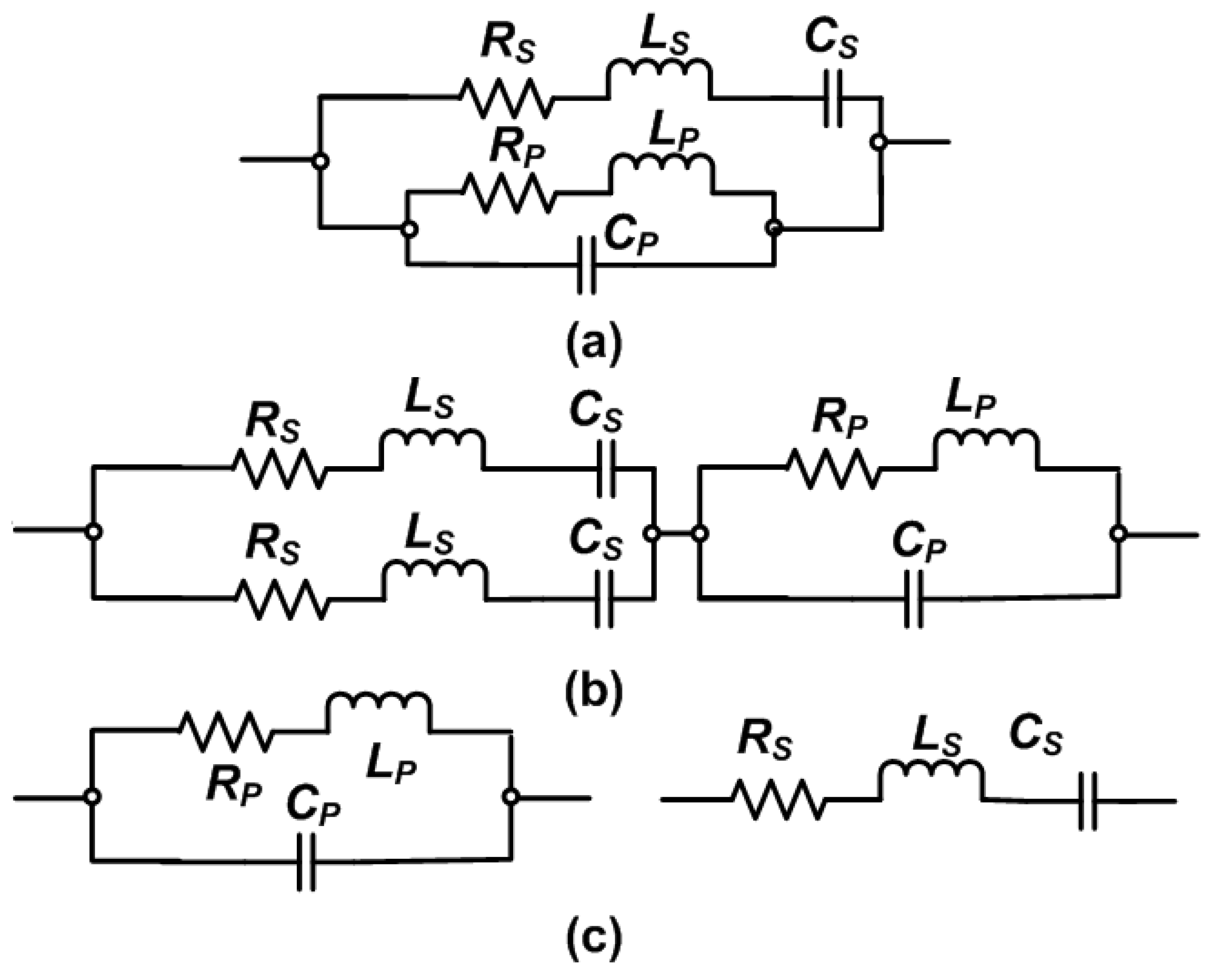
4.2.1. Type 1 Circuit
4.2.2. Type 2 Circuit
4.2.3. Type 3 Circuit
4.2.4. Input Impedance of MV Network
4.3. Discussion of Results on Impedance Variations of NB-PLC Network
4.3.1. Discussion on Constant NB-PLC Network Impedances
4.3.2. Discussion on Frequency Selective LV and MV Network Impedances
5. Methodologies to Determine NB-PLC Transfer Functions
5.1. Transmission Line Theory
5.2. Multipath Signal Propagation Model
5.3. Proposed Simulink Model for Medium Voltage NB-PLC Network
5.3.1. Capacitive Coupling Device
6. Results and Discussion of MV NB-PLC Channel Transfer Functions
6.1. Transmission Line Theory Based Transfer Functions
6.2. Multipath Signal Propagation Model Based Transfer Function
6.3. Proposed Simulink Model Based Transfer Function
6.4. Box Plot Analysis for Attenuation Profiles
7. Conclusions
Author Contributions
Acknowledgments
Conflicts of Interest
Abbreviations
| AAC | All aluminium conductor |
| ACSR | Aluminium conductors steel reinforced |
| AMI | Advanced metering infrastructure |
| CCD | Capacitive coupling device |
| FS | Frequency selective |
| HDR | High data rate |
| LDR | Low data rate |
| LV | low voltage |
| MV | Medium voltage |
| NB-PLC | Narrowband power line communications |
| PLC | Power line communication |
| SG | Smart grid |
| TL | Transmission line |
References
- Masood, B.; Baig, S. Standardization and deployment scenario of next generation NB-PLC technologies. Renew. Sustain. Energy Rev. 2016, 65, 1033–1047. [Google Scholar] [CrossRef]
- Althaher, S.; Mancarella, P.; Mutale, J. Automated demand response from home energy management system under dynamic pricing and power and comfort constraints. IEEE Trans. Smart Grid 2015, 6, 1874–1883. [Google Scholar] [CrossRef]
- Goldfisher, S.; Tanabe, S. IEEE 1901 access system: An overview of its uniqueness and motivation. IEEE Commun. Mag. 2010, 48, 150–157. [Google Scholar] [CrossRef]
- Smith, R.; Meng, K.; Dong, Z.; Simpson, R. Demand response: A strategy to address residential air-conditioning peak load in Australia. J. Mod. Power Syst. Clean Energy 2013, 1, 223–230. [Google Scholar] [CrossRef]
- Yan, B.L.H.; Chen, S.; Zhong, M.; Li, D.; Jiang, L.; He, G. Future evolution of automated demand response system in smart grid for low-carbon economy. J. Mod. Power Syst. Clean Energy 2015, 3, 72–81. [Google Scholar] [CrossRef]
- Masood, B.; Usman, M.; Gul, M.U.; Khan, W.A. Measurements and characterization of power transformer and low voltage access network for NB-PLC. Int. J. Commun. Syst. 2017, 30, e3344. [Google Scholar] [CrossRef]
- Sharma, S.K.; Chandra, A.; Saad, M.; Lefebvre, S.; Asber, D.; Lenoir, L. Voltage flicker mitigation employing smart loads with high penetration of renewable energy in distribution systems. IEEE Trans. Sustain. Energy 2017, 8, 414–424. [Google Scholar] [CrossRef]
- Gatsis, N.; Giannakis, G.B. Residential load control: Distributed scheduling and convergence with lost AMI messages. IEEE Trans. Smart Grid 2012, 3, 770–786. [Google Scholar] [CrossRef]
- Zimmermann, M.; Dostert, K. A Multipath Model for the Powerline Channel. IEEE Trans. Commun. 2002, 50, 553–559. [Google Scholar] [CrossRef]
- Zimmermann, M.; Dostert, K. Analysis and modeling of impulsive noise in broad-band powerline communications. IEEE Trans. Electromagn. Compat. 2002, 44, 249–258. [Google Scholar] [CrossRef]
- Philipps, H. Modelling of Powerline Communication Channels. In Proceedings of the 3rd International Symposium on Powerline Communications and Its Applications, Lancaster, UK, 30 March–1 April 1999; pp. 14–21. [Google Scholar]
- Matthias, G.; Rapp, M.; Dostert, K. Power line channel characteristics and their effect on communication system design. IEEE Commun. Mag. 2004, 42, 78–86. [Google Scholar]
- Masood, B.; Usman, M.; Din, F.U.; Haider, A. Effect of transient and non-transient models on the performance of PLC. Telecommun. Syst. 2016, 65, 55–64. [Google Scholar] [CrossRef]
- Masood, B.; Baig, S. Channel Modeling of NB-PLC for Smart Grid. In Proceedings of the 2015 IEEE Symposium on Computers and Communications (ISCC), Larnaca, Cyprus, 6–9 July 2015. [Google Scholar]
- Banwell, T.; Galli, S. A Novel Approach to the Modeling of the Indoor Power Line Channel Part I: Circuit analysis and Companion Model. IEEE Trans. Power Deliv. 2005, 20, 655–663. [Google Scholar] [CrossRef]
- Galli, S.; Banwell, T. A novel approach to the modeling of the indoor power line channel part II: Transfer function and its properties. IEEE Trans. Power Deliv. 2005, 20, 1869–1878. [Google Scholar] [CrossRef]
- Sung, T.E.; Scaglione, A.; Galli, S. Time-Varying Power Line Block Transmission Models over Doubly Selective Channels. In Proceedings of the 2008 IEEE International Symposium on Power Line Communications and Its Applications, Jeju City, Korea, 2–4 April 2008. [Google Scholar]
- Anatory, J.; Theethayi, N.; Thottappillil, R. Power-Line Communication Channel Model for Interconnected Networks–Part I: Two-Conductor System. IEEE Trans. Power Deliv. 2009, 24, 118–123. [Google Scholar] [CrossRef]
- Anatory, J.; Theethayi, N.; Thottappillil, R. Power-Line Communication Channel Model for Interconnected Networks—Part II: Multiconductor System. IEEE Trans. Power Deliv. 2009, 24, 124–128. [Google Scholar] [CrossRef]
- Tonello, A.M.; Versolatto, F. Bottom-Up Statistical PLC Channel Modeling—Part I: Random Topology Model and Efficient Transfer Function Computation. IEEE Trans. Power Deliv. 2011, 26, 891–898. [Google Scholar] [CrossRef]
- Tonello, A.M.; Versolatto, F. Bottom-Up Statistical PLC Channel Modeling—Part II: Inferring the Statistics. IEEE Trans. Power Deliv. 2010, 25, 2356–2363. [Google Scholar] [CrossRef]
- Tonello, A.M.; Versolatto, F. New Results on Top-down and Bottom-up Statistical PLC Channel Modeling. In Proceedings of the 2009 Third Workshop on Power Line Communications, Udine, Italy, 1–2 October 2009. [Google Scholar]
- Cataliotti, A.; Cara, D.D.; Fiorelli, R.; Tine, G. Power-Line Communication in Medium-Voltage System: Simulation Model and Onfield Experimental Tests. IEEE Trans. Power Deliv. 2012, 27, 62–69. [Google Scholar] [CrossRef]
- Artale, G.; Cataliotti, A.; Fiorelli, R.; Tine, G. Secondary substation power line communications for medium voltage smart grids. In Proceedings of the 2012 IEEE International Workshop on Applied Measurements for Power Systems (AMPS), Aachen, Germany, 26–28 September 2012. [Google Scholar]
- Chu, G.; Li, J.; Liu, W. Narrow Band Power Line Channel Characteristics for Low Voltage Access Network in China. In Proceedings of the 2013 IEEE 17th International Symposium on Power Line Communications and Its Applications, Johannesburg, South Africa, 24–27 March 2013. [Google Scholar]
- Bausch, J.; Kistner, T.; Babic, M.; Dostert, K. Characteristics of indoor power line channels in the frequency range 50–500 kHz. In Proceedings of the 2006 IEEE International Symposium on Power Line Communications and Its Applications, Orlando, FL, USA, 26–29 March 2006. [Google Scholar]
- Canete, F.J.; Cortes, J.A.; Diez, L.; Entrambasaguas, J.T. A channel model proposal for indoor Power Line Communications. IEEE Commun. Mag. 2011, 49, 166–174. [Google Scholar] [CrossRef]
- Dong, L.; BaoHui, Z.; DongWen, N.; Bo, Z.Q.; Klimek, A. Design and implement of adaptive BFSK PLC system for medium voltage powerline communication. In Proceedings of the 45th International Universities Power Engineering Conference UPEC2010, Cardiff, Wales, UK, 31 August–3 September 2010. [Google Scholar]
- Cataliotti, A.; Cosentino, V.; Cara, D.D.; Tine, G. Oil-Filled MV/LV Power-Transformer Behavior in Narrow-Band Power-Line Communication Systems. IEEE Trans. Instrum. Meas. 2012, 61, 2642–2652. [Google Scholar] [CrossRef]
- Cataliotti, A.; Cosentino, V.; Cara, D.D.; Tinè, G. Simulation and Laboratory Experimental Tests of a Line to Shield Medium-Voltage Power-Line Communication System. IEEE Trans. Power Deliv. 2011, 26, 2011. [Google Scholar] [CrossRef]
- Masood, B.; Haider, A.; Baig, S. Modeling and Characterization of Low Voltage Access Network for Narrowband Powerline Communications. J. Electr. Eng. Technol. 2017, 12, 443–450. [Google Scholar] [CrossRef]
- Masood, B.; Ellahi, M.; Khan, W.A.; Akram, W.; Usman, M.; Gul, M.T. Characterization and Field Measurements of NB-PLC for LV Network. J. Electr. Eng. Technol. 2018, 13, 521–531. [Google Scholar]
- Cataliotti, A.; Daidone, A.; Tinè, G. A Medium-Voltage Cables Model for Power-Line Communication. IEEE Trans. Power Deliv. 2009, 24, 129–135. [Google Scholar] [CrossRef]
- Benato, R.; Caldon, R. Frequency Characteristics Measurement of Overhead High-Voltage Power-Line in Low Radio-Frequency Range. IEEE Trans. Power Deliv. 2007, 22, 575–583. [Google Scholar] [CrossRef]
- Kim, I.H.; Kim, W.; Park, B. Channel measurements and field tests of Narrowband Power Line Communication over Korean underground LV Power Lines. In Proceedings of the 18th IEEE International Symposium on Power Line Communications and Its Applications, Glasgow, UK, 30 March–2 April 2014. [Google Scholar]
- Cataliotti, A.; Cosentino, V.; Cara, D.D.; Tine, G. Measurement issues for the characterization of medium voltage grids communications. IEEE Trans. Instrum. Meas. 2013, 62, 2185–2196. [Google Scholar] [CrossRef]











| Type of PLC Model | Main Contributors | Key Features of Proposed Work | Ref. |
|---|---|---|---|
| Deterministic PLC Channel Models | Stefano Galli et al. | • Multiconductor transmission line theory approach for coupled circuits • Analyzed the behavior of PLC for differential and pair mode circuits • Proposed a cascaded two port network model technique for efficient PLC | [14,15,16] |
| Justinian Anatory et al. | • Modeled the transfer function of PLC channel • Derived the single phase PLC channel with interconnection by incorporating the various loads at different branches • Proposed model is validated with Transients Program–Electromagnetic Transients Program (ATP–EMTP) | [17,18,19] | |
| Statistical PLC Channel Models | Zimmermann et al. | • Multipath model • Caters the attenuation caused due to reflections and power line • Incorporated delays due to length of line | [9,10] |
| Andrea M. Tonello et al. | • Proposed a bottom-up PLC channel simulator • Derived in-home PLC channel model for Europe • Sophisticated computation method for channel transfer function • ABCD matrix based method is also proposed | [20,21,22] | |
| Measured PLC Channel Models | Antonio Cataliotti, et al. | • Catered the issues involved in NB-PLC channel measurements • Proposed the suitable procedural techniques for modeling and characterization of power system components within the frequency of interest | [23,28,29,30] |
| Parametric PLC Channel Models | Canete et al. | • Impedance modeling for low voltage indoor PLC network • Proposed a simulator | [27] |
| Bilal Masood et al. | • Frequency selectivity is added in resistance, conductance and impedances • Compared the transfer functions obtained from constant impedances with frequency selective impedances • Simulation and measurements for the channel modeling of LV NB-PLC system | [6,13,14,31,32] |
| Conductor Type/Standard | Nominal/ Section Area | No./Nominal Diameter of Wires | Approximate Overall Diameter | Nominal DC Resistance at 20 C | Current Rating | L | C | |
|---|---|---|---|---|---|---|---|---|
| Aluminium (No./mm) | Steel (No./mm) | mm | /km | Amps | H/m | pF/m | ||
| Ant-BS 215 | 52.8 | 7/3.10 | - | 9.30 | 0.54190 | 175 | 0.93 | 12.6 |
| Wolf BS 215 | 212.10 | 30/2.59 | 7/2.5 | 18.13 | 0.1828 | 351 | 1.22 | 9.45 |
| Lynex BS 215 | 226.2 | 30/2.79 | 7/2.7 | 19.53 | 0.1576 | 384 | 1.20 | 9.58 |
| Panther BS 215 | 261.5 | 30/3.0 | 7/3 | 21.0 | 0.1363 | 420 | 1.15 | 9.8 |
| Parametric Values of Attenuation | |||||
|---|---|---|---|---|---|
| k = 1 | S/m | ||||
| Path Parameters | |||||
| i | i | ||||
| 1 | 0.70 | 750 | 3 | −0.20 | 200 |
| 2 | 0.35 | 1000 | 4 | 0.06 | 225 |
| Supplying Transformers | Active and Reactive Power Ratios of Connected RLC Load of LV Network | ||
|---|---|---|---|
| Active Power (kW) | Reactive Power | ||
| (+VAR) | (−VAR) | ||
| 150 kVA | 140 | 25 | 85 |
| 200 kVA | 190 | 30 | 75 |
| 250 kVA | 245 | 20 | 90 |
| Isolation Transformer | RLC Branch Parameters | MV Series Ls Cs Parameters | |||||
|---|---|---|---|---|---|---|---|
| Magnetization Resistance, | Inductance, [] | Turn Ratio | R [k] | L [] | C [nF] | [] | nF |
| 85 | 425 | 1:1 | 45 | 180 | 20 | 75 | 90 |
© 2020 by the authors. Licensee MDPI, Basel, Switzerland. This article is an open access article distributed under the terms and conditions of the Creative Commons Attribution (CC BY) license (http://creativecommons.org/licenses/by/4.0/).
Share and Cite
Masood, B.; Khan, M.A.; Baig, S.; Song, G.; Rehman, A.U.; Rehman, S.U.; Asif, R.M.; Rasheed, M.B. Investigation of Deterministic, Statistical and Parametric NB-PLC Channel Modeling Techniques for Advanced Metering Infrastructure. Energies 2020, 13, 3098. https://doi.org/10.3390/en13123098
Masood B, Khan MA, Baig S, Song G, Rehman AU, Rehman SU, Asif RM, Rasheed MB. Investigation of Deterministic, Statistical and Parametric NB-PLC Channel Modeling Techniques for Advanced Metering Infrastructure. Energies. 2020; 13(12):3098. https://doi.org/10.3390/en13123098
Chicago/Turabian StyleMasood, Bilal, M. Arif Khan, Sobia Baig, Guobing Song, Ateeq Ur Rehman, Saif Ur Rehman, Rao M. Asif, and Muhammad Babar Rasheed. 2020. "Investigation of Deterministic, Statistical and Parametric NB-PLC Channel Modeling Techniques for Advanced Metering Infrastructure" Energies 13, no. 12: 3098. https://doi.org/10.3390/en13123098
APA StyleMasood, B., Khan, M. A., Baig, S., Song, G., Rehman, A. U., Rehman, S. U., Asif, R. M., & Rasheed, M. B. (2020). Investigation of Deterministic, Statistical and Parametric NB-PLC Channel Modeling Techniques for Advanced Metering Infrastructure. Energies, 13(12), 3098. https://doi.org/10.3390/en13123098

