Novel Cyclic Blade Pitching Mechanism for Wind and Tidal Energy Turbine Applications
Abstract
1. Introduction
2. Conceptualization
3. Mechanism
4. Theoretical Formulation
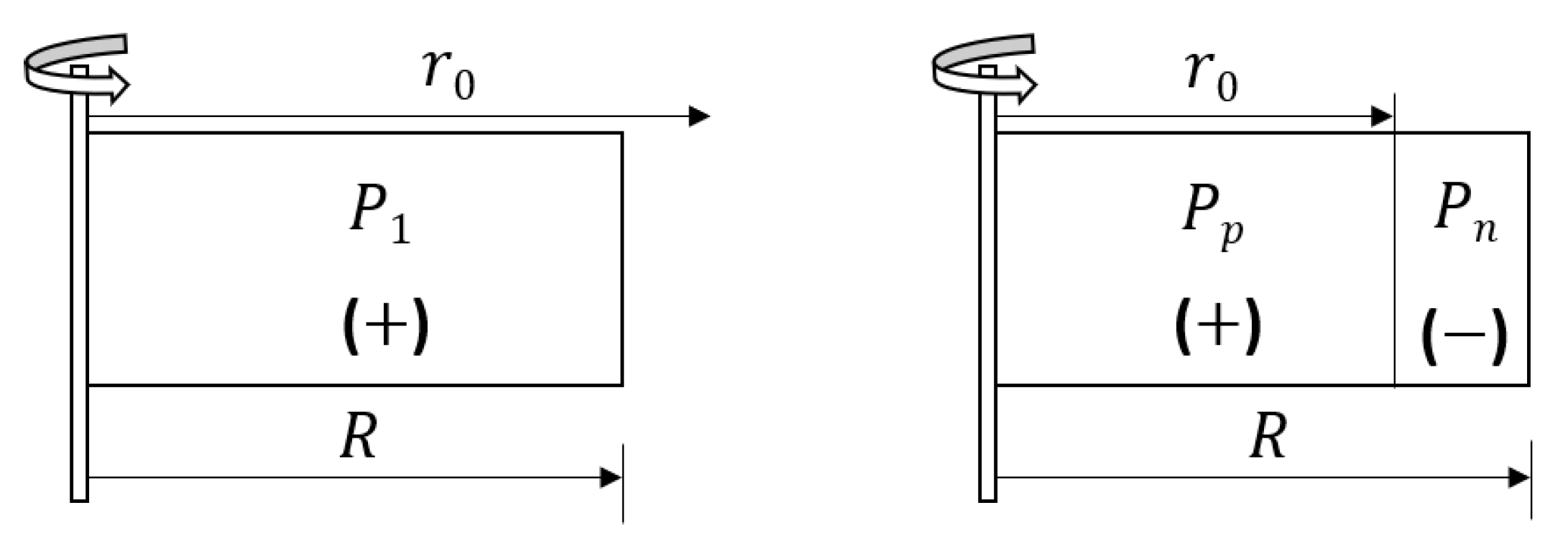
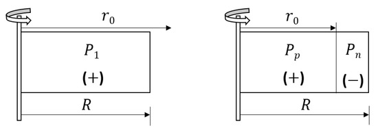
4.1. Static Analysis
4.2. Dynamic Analysis
5. Theoretical Results
5.1. Static Characteristics
5.2. Dynamic Characteristics
5.3. Optimal CPT Configuration
6. Experiments
6.1. Results
6.2. Comparison to Savonius
7. Conclusions
- A functional vertical axis drag turbine that uses blade pitching to achieve negligible recovery stroke losses is conceptualized and built. A novel dual-cam mechanism to achieve the custom blade pitching motion is also developed.
- A theoretical model of the turbine is developed and validated by testing prototypes in a wind tunnel and a water channel. The developed equations show that the CPT turbine has 7% higher and more uniform static torque coefficient values and indicate a better dynamic performance compared to Savonius.
- Optimization of turbine parameters indicates that an active drive stroke angle of and a tip speed ratio of result in optimal turbine performance.
- Wind tunnel experiments show that long and narrow continuous blade shapes with less area towards blade tips result in better power performance of the turbine.
- Water channel turbine speed measurements together with the static torque measurements indicate a higher CPT power performance than a Savonius turbine. Furthermore, CPT performs even better with airfoil cross-sectioned blades than with flat plate blades.
Author Contributions
Funding
Acknowledgments
Conflicts of Interest
References
- Lau, L.C.; Lee, K.T.; Mohamed, A.R. Global warming mitigation and renewable energy policy development from the Kyoto Protocol to the Copenhagen Accord—A comment. Renew. Sustain. Energy Rev. 2012, 16, 5280–5284. [Google Scholar] [CrossRef]
- Mukhopadhyay, K.; Forssell, O. An empirical investigation of air pollution from fossil fuel combustion and its impact on health in India during 1973–1974 to 1996–1997. Ecol. Econ. 2005, 55, 235–250. [Google Scholar] [CrossRef]
- Singh, B.R.; Singh, O. Global trends of fossil fuel reserves and climate change in the 21st century. In Fossil Fuel and the Environment; InTech: London, UK, 2012. [Google Scholar]
- Carrasco, J.M.; Franquelo, L.G.; Bialasiewicz, J.T.; Galván, E.; PortilloGuisado, R.C.; Prats, M.M.; León, J.I.; Moreno-Alfonso, N. Power-electronic systems for the grid integration of renewable energy sources: A survey. IEEE Trans. Ind. Electron. 2006, 53, 1002–1016. [Google Scholar] [CrossRef]
- GWEC. Global Wind Report: Annual Market Update 2015. 2014. Available online: http://gwec. net/global-figures/graphs/ (accessed on 18 May 2017).
- Adib, R.; Murdock, H.; Appavou, F.; Brown, A.; Epp, B.; Leidreiter, A.; Lins, C.; Murdock, H.; Musolino, E.; Petrichenko, K.; et al. Renewables 2015 Global Status Report; REN21 Secretariat: Paris, France, 2015. [Google Scholar]
- Rourke, F.O.; Boyle, F.; Reynolds, A. Tidal energy update 2009. Appl. Energy 2010, 87, 398–409. [Google Scholar] [CrossRef]
- Schubel, P.; Crossley, R. Wind Turbine Blade Design. Energies 2012, 5, 3425–3449. [Google Scholar] [CrossRef]
- Gasch, R.; Twele, J. Wind Power Plants, Fundamentals, Design, Construction and Operation; Springer: Berlin, Germany, 2012. [Google Scholar]
- Savonius, S. The S-rotor and its applications. Mech. Eng. 1931, 53, 333–338. [Google Scholar]
- Ricci, R.; Romagnoli, R.; Montelpare, S.; Vitali, D. Experimental study on a Savonius wind rotor for street lighting systems. Appl. Energy 2016, 161, 143–152. [Google Scholar] [CrossRef]
- D’Alessandro, V.; Montelpare, S.; Ricci, R.; Secchiaroli, A. Unsteady Aerodynamics of a Savonius wind rotor: A new computational approach for the simulation of energy performance. Energy 2010, 35, 3349–3363. [Google Scholar] [CrossRef]
- Akwa, J.; Vielmo, H.; Petry, A. A review on the performance of Savonius wind turbines. Renew. Sustain. Energy Rev. 2012, 16, 3054–3064. [Google Scholar] [CrossRef]
- Trevor, L. Wind Energy Engineering, A Handbook for Onshore and Offshore Wind Turbines; Academic Press, Elsevier: Cambridge, MA, USA, 2017. [Google Scholar]
- Golecha, K.; Eldho, T.; Prabhu, S. Influence of the deflector plate on the performance of modified Savonius water turbine. Appl. Energy 2011, 88, 3207–3217. [Google Scholar] [CrossRef]
- Kamoji, M.; Kedare, S.; Prabhu, S. Performance tests on helical Savonius rotors. Renew. Energy 2009, 34, 521–529. [Google Scholar] [CrossRef]
- Kacprzak, K.; Liskiewicz, G.; Sobczak, K. Numerical investigation of conventional and modified Savonius wind turbines. Renew. Energy 2013, 60, 578–585. [Google Scholar] [CrossRef]
- Mohamed, M.; Janiga, G.; Pap, E.; Thevenin, D. Optimization of Savonius turbines using an obstacle shielding the returning blade. Renew. Energy 2010, 35, 2618–2626. [Google Scholar] [CrossRef]
- Alaimo, A.; Esposito, A.; Milazzo, A.; Orlando, C.; Trentacosti, F. On the Effect of Slotted Blades on Savonius Wind Generator Performances by CFD Analysis. Energies 2013, 6, 6335–6351. [Google Scholar] [CrossRef]
- Wenehenubun, F.; Saputra, A.; Sutanto, H. An experimental study on the performance of Savonius wind turbines related with the number of blades. Energy Procedia 2015, 68, 297–304. [Google Scholar] [CrossRef]
- Al-Faruk, A.; Sharifian, A. Geometrical optimization of a swirling Savonius wind turbine using an open jet wind tunnel. Alex. Eng. J. 2016, 55, 2055–2064. [Google Scholar] [CrossRef]
- Altan, B.D.; Atılgan, M.; Özdamar, A. An experimental study on improvement of a Savonius rotor performance with curtaining. Exp. Therm. Fluid Sci. 2008, 32, 1673–1678. [Google Scholar] [CrossRef]
- Weiss, S.B. Vertical Axis Wind Turbine with Continuous Blade Angle Adjustment. Master’s Thesis, Massachusetts Institute of Technology, Cambridge, MA, USA, 2010. [Google Scholar]
- Cooper, P.; Kennedy, O. Development and analysis of a novel vertical axis wind turbine. In Proceedings Solar 2004—Life, The Universe and Renewables; In Australian and New Zealand Solar Energy Society (ANZSES): Perth, Australia, 2004; pp. 1–9. [Google Scholar]
- Muller, G.; Jentsch, F.; Stoddart, E. Vertical axis resistance type wind turbines for use in buildings. Renew. Energy 2009, 34, 1407–1412. [Google Scholar] [CrossRef]
- Prasad Rao, J. Cyclic Pitch Turbines. Ph.D. Thesis, Rutgers, The State University of New Jersey, New Brunswick, NJ, USA, 2018. [Google Scholar]
- Rao, J.P.; Diez, F.J. Development of a Cyclic Pitch Turbine. In Proceedings of the ASME/JSME/KSME Joint Fluids Engineering Conference, Seoul, Korea, 26–31 July 2015. [Google Scholar]
- Caplan, N.; Gardner, T.N. A fluid dynamic investigation of the Big Blade and Macon oar blade designs in rowing propulsion. J. Sports Sci. 2007, 25, 643–650. [Google Scholar] [CrossRef] [PubMed]
- Brown, R. The flight of birds. Biol. Rev. 1963, 38, 460–489. [Google Scholar] [CrossRef]
- Ortiz, X.; Hemmatti, A.; Rival, D.; Wood, D. Instantaneous forces and moments on inclined flat plates. In Proceedings of the Seventh International Colloquium on Bluff Body Aerodynamics and Applications (BBAA7), Shanghai, China, 2–6 September 2012; pp. 2–6. [Google Scholar]
- Mueller, T.J.; Torres, G.E. Aerodynamics of Low Aspect Ratio Wings at Low Reynolds Numbers with Applications to Micro Air Vehicle Design and Optimization; Technical Report; University of Notre Dame: Notre Dame, IN, USA, 2001. [Google Scholar]
- Munson, B.R.; Young, D.F.; Okiishi, T.H.; Huebsch, W.W. Fundamentals of Fluid Mechanics; John Wiley & Sons: Hoboken, NJ, USA, 1998; Volume 69, Chapter 9. [Google Scholar]
- Nedić, J.; Ganapathisubramani, B.; Vassilicos, J. Drag and near wake characteristics of flat plates normal to the flow with fractal edge geometries. Fluid Dyn. Res. 2013, 45, 061406. [Google Scholar] [CrossRef]
- Sadraey, M. Aircraft Performance: Analysis; VDM Publishing: Saarbrucken, Germany, 2009; Chapter 3. [Google Scholar]
- Ali, M.H. Experimental comparison study for Savonius wind turbine of two & three blades at low wind speed. Int. J. Mod. Eng. Res. 2013, 3, 2978–2986. [Google Scholar]
- Rao, J.P.; Villegas, A.; Diez, F.J. Theoretical Analysis of a Cyclic Pitch Turbine. In Proceedings of the ASME 2016 Fluids Engineering Division Summer Meeting, Washington, DC, USA, 10–14 July 2016. [Google Scholar]
- Zhao, Z.; Zheng, Y.; Xu, X.; Liu, W.; Hu, G. Research on the improvement of the performance of Savonius rotor based on numerical study. In Proceedings of the International Conference on Sustainable Power Generation and Supply, SUPERGEN’09, Nanjing, China, 6–7 April 2009; pp. 1–6. [Google Scholar]
- Kang, C.; Liu, H.; Yang, X. Review of fluid dynamics aspects of Savonius-rotor-based vertical-axis wind rotors. Renew. Sustain. Energy Rev. 2014, 33, 499–508. [Google Scholar] [CrossRef]
- Ross, I.; Altman, A. Wind tunnel blockage corrections: Review and application to Savonius vertical-axis wind turbines. J. Wind Eng. Ind. Aerodyn. 2011, 99, 523–538. [Google Scholar] [CrossRef]
- Mahmoud, N.; El-Haroun, A.; Wahba, E.; Nasef, M. An experimental study on improvement of Savonius rotor performance. Alex. Eng. J. 2012, 51, 19–25. [Google Scholar] [CrossRef]
- Kadam, A.; Patil, S. A review study on Savonius wind rotors for accessing the power performance. IOSR J. Mech. Civ. Eng. 2013, 5, 18–24. [Google Scholar]
- Bowen, A.; Huskey, A.; Link, H.; Sinclair, K.; Forsyth, T.; Jager, D.; van Dam, J.; Smith, J. Small Wind Turbine Testing Results from the National Renewable Energy Lab; Technical Report; National Renewable Energy Lab. (NREL): Golden, CO, USA, 2009. [Google Scholar]
- Rao, J.P.; Diez, F.J. Experimental Analysis of a Cyclic Pitch Turbine. In Proceedings of the ASME 2017 Fluids Engineering Division Summer Meeting, Waikoloa, HI, USA, 30 July–3 August 2017. [Google Scholar]
























| S.No. | Shape | Length | Root Width | Mid Width | Tip Width | Area | 
|---|---|---|---|---|---|---|
| 1 | Rectangle 1 | 160 | 60 | 60 | 60 | 9600 | 
| 2 | Rectangle 2 | 160 | 30 | 30 | 30 | 4800 | 
| 3 | Rectangle 3 | 80 | 120 | 120 | 120 | 9600 | 
| 4 | Rectangle 4 | 80 | 60 | 60 | 60 | 4800 | 
| 5 | Rectangle Holes | 160 | 60 | 60 | 60 | 9600 | 
| 6 | Trapezoid 1 | 160 | 90 | 60 | 30 | 9600 | 
| 7 | Trapezoid 2 | 160 | 30 | 60 | 90 | 9600 | 
| 8 | Diamond | 160 | 30 | 75 | 30 | 9600 | 
| 9 | T Shape 1 | 160 | 120 | 30 | 30 | 9600 | 
| 10 | T Shape 2 | 160 | 30 | 30 | 120 | 9600 | 
| 11 | Plus shape | 160 | 30 | 120 | 30 | 9600 | 
© 2018 by the authors. Licensee MDPI, Basel, Switzerland. This article is an open access article distributed under the terms and conditions of the Creative Commons Attribution (CC BY) license (http://creativecommons.org/licenses/by/4.0/).
Share and Cite
Prasad Rao, J.; Diez, F.J. Novel Cyclic Blade Pitching Mechanism for Wind and Tidal Energy Turbine Applications. Energies 2018, 11, 3328. https://doi.org/10.3390/en11123328
Prasad Rao J, Diez FJ. Novel Cyclic Blade Pitching Mechanism for Wind and Tidal Energy Turbine Applications. Energies. 2018; 11(12):3328. https://doi.org/10.3390/en11123328
Chicago/Turabian StylePrasad Rao, Jubilee, and Francisco J. Diez. 2018. "Novel Cyclic Blade Pitching Mechanism for Wind and Tidal Energy Turbine Applications" Energies 11, no. 12: 3328. https://doi.org/10.3390/en11123328
APA StylePrasad Rao, J., & Diez, F. J. (2018). Novel Cyclic Blade Pitching Mechanism for Wind and Tidal Energy Turbine Applications. Energies, 11(12), 3328. https://doi.org/10.3390/en11123328
 
        

 
       